How To Replace Jeep Wrangler Windshield Wiper Motor . replacing the wiper motor and linkage on a jeep wrangler. Some ways to know if you need to replace your own. the rear wiper motor on my 99 hardtop had been going bad since i purchased my tj and i finally decided to replace it. in this guide, we will be showing how to replace windshield wipers on a 2018 jeep wrangler. steps to remove and replace the rear wiper motor assembly: Remove the small plastic cover that covers the wiper shaft by gently pulling on.
from garagemcculloch101.z19.web.core.windows.net
the rear wiper motor on my 99 hardtop had been going bad since i purchased my tj and i finally decided to replace it. replacing the wiper motor and linkage on a jeep wrangler. steps to remove and replace the rear wiper motor assembly: Some ways to know if you need to replace your own. in this guide, we will be showing how to replace windshield wipers on a 2018 jeep wrangler. Remove the small plastic cover that covers the wiper shaft by gently pulling on.
Jeep Wrangler Rear Wiper
How To Replace Jeep Wrangler Windshield Wiper Motor in this guide, we will be showing how to replace windshield wipers on a 2018 jeep wrangler. steps to remove and replace the rear wiper motor assembly: in this guide, we will be showing how to replace windshield wipers on a 2018 jeep wrangler. the rear wiper motor on my 99 hardtop had been going bad since i purchased my tj and i finally decided to replace it. replacing the wiper motor and linkage on a jeep wrangler. Remove the small plastic cover that covers the wiper shaft by gently pulling on. Some ways to know if you need to replace your own.
From dxobnmccz.blob.core.windows.net
How To Change Windshield Wipers On 2018 Jeep Wrangler at Sean Heath blog How To Replace Jeep Wrangler Windshield Wiper Motor the rear wiper motor on my 99 hardtop had been going bad since i purchased my tj and i finally decided to replace it. Some ways to know if you need to replace your own. in this guide, we will be showing how to replace windshield wipers on a 2018 jeep wrangler. replacing the wiper motor and. How To Replace Jeep Wrangler Windshield Wiper Motor.
From www.jk-forum.com
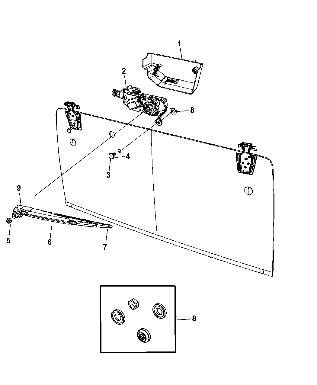
Jeep Wrangler JK How to Remove/Replace Rear Wiper Assembly Jkforum How To Replace Jeep Wrangler Windshield Wiper Motor in this guide, we will be showing how to replace windshield wipers on a 2018 jeep wrangler. Some ways to know if you need to replace your own. replacing the wiper motor and linkage on a jeep wrangler. steps to remove and replace the rear wiper motor assembly: the rear wiper motor on my 99 hardtop. How To Replace Jeep Wrangler Windshield Wiper Motor.
From wiringfixlipases.z19.web.core.windows.net
Video Replace Wiper Motor 2010 Wrangler How To Replace Jeep Wrangler Windshield Wiper Motor replacing the wiper motor and linkage on a jeep wrangler. Some ways to know if you need to replace your own. steps to remove and replace the rear wiper motor assembly: the rear wiper motor on my 99 hardtop had been going bad since i purchased my tj and i finally decided to replace it. in. How To Replace Jeep Wrangler Windshield Wiper Motor.
From wiringfixlipases.z19.web.core.windows.net
Jeep Wrangler Rear Wiper Assembly How To Replace Jeep Wrangler Windshield Wiper Motor replacing the wiper motor and linkage on a jeep wrangler. in this guide, we will be showing how to replace windshield wipers on a 2018 jeep wrangler. the rear wiper motor on my 99 hardtop had been going bad since i purchased my tj and i finally decided to replace it. Some ways to know if you. How To Replace Jeep Wrangler Windshield Wiper Motor.
From www.youtube.com
Windshield Wiper Motor Replacement 1999 Jeep Wrangler YouTube How To Replace Jeep Wrangler Windshield Wiper Motor in this guide, we will be showing how to replace windshield wipers on a 2018 jeep wrangler. steps to remove and replace the rear wiper motor assembly: the rear wiper motor on my 99 hardtop had been going bad since i purchased my tj and i finally decided to replace it. replacing the wiper motor and. How To Replace Jeep Wrangler Windshield Wiper Motor.
From www.youtube.com
The quick guide to replacing Jeep Wrangler JK windshield wiper blades How To Replace Jeep Wrangler Windshield Wiper Motor Remove the small plastic cover that covers the wiper shaft by gently pulling on. in this guide, we will be showing how to replace windshield wipers on a 2018 jeep wrangler. replacing the wiper motor and linkage on a jeep wrangler. steps to remove and replace the rear wiper motor assembly: the rear wiper motor on. How To Replace Jeep Wrangler Windshield Wiper Motor.
From howotremvo.blogspot.com
How To Remove Windshield Wiper Arm Jeep Wrangler HOWOTREMVO How To Replace Jeep Wrangler Windshield Wiper Motor in this guide, we will be showing how to replace windshield wipers on a 2018 jeep wrangler. the rear wiper motor on my 99 hardtop had been going bad since i purchased my tj and i finally decided to replace it. Remove the small plastic cover that covers the wiper shaft by gently pulling on. Some ways to. How To Replace Jeep Wrangler Windshield Wiper Motor.
From www.ifixit.com
2018 Jeep Wrangler Windshield Wipers Replacement iFixit Repair Guide How To Replace Jeep Wrangler Windshield Wiper Motor replacing the wiper motor and linkage on a jeep wrangler. Remove the small plastic cover that covers the wiper shaft by gently pulling on. Some ways to know if you need to replace your own. in this guide, we will be showing how to replace windshield wipers on a 2018 jeep wrangler. the rear wiper motor on. How To Replace Jeep Wrangler Windshield Wiper Motor.
From thptnganamst.edu.vn
Arriba 54+ imagen 2007 jeep wrangler windshield wiper assembly How To Replace Jeep Wrangler Windshield Wiper Motor steps to remove and replace the rear wiper motor assembly: Remove the small plastic cover that covers the wiper shaft by gently pulling on. in this guide, we will be showing how to replace windshield wipers on a 2018 jeep wrangler. Some ways to know if you need to replace your own. the rear wiper motor on. How To Replace Jeep Wrangler Windshield Wiper Motor.
From stalugac9yfixengine.z14.web.core.windows.net
How To Change A Wiper Motor How To Replace Jeep Wrangler Windshield Wiper Motor Remove the small plastic cover that covers the wiper shaft by gently pulling on. in this guide, we will be showing how to replace windshield wipers on a 2018 jeep wrangler. Some ways to know if you need to replace your own. steps to remove and replace the rear wiper motor assembly: the rear wiper motor on. How To Replace Jeep Wrangler Windshield Wiper Motor.
From fixmachinewagner77.z21.web.core.windows.net
Jeep Wrangler Windshield Wiper Replacement How To Replace Jeep Wrangler Windshield Wiper Motor Some ways to know if you need to replace your own. the rear wiper motor on my 99 hardtop had been going bad since i purchased my tj and i finally decided to replace it. replacing the wiper motor and linkage on a jeep wrangler. steps to remove and replace the rear wiper motor assembly: in. How To Replace Jeep Wrangler Windshield Wiper Motor.
From manualdatafloating.z13.web.core.windows.net
How To Change Windshield Wipers Jeep Wrangler How To Replace Jeep Wrangler Windshield Wiper Motor the rear wiper motor on my 99 hardtop had been going bad since i purchased my tj and i finally decided to replace it. in this guide, we will be showing how to replace windshield wipers on a 2018 jeep wrangler. Some ways to know if you need to replace your own. replacing the wiper motor and. How To Replace Jeep Wrangler Windshield Wiper Motor.
From olivarriafixenginedraw.z21.web.core.windows.net
Jeep Wrangler Rear Wiper How To Replace Jeep Wrangler Windshield Wiper Motor in this guide, we will be showing how to replace windshield wipers on a 2018 jeep wrangler. Remove the small plastic cover that covers the wiper shaft by gently pulling on. Some ways to know if you need to replace your own. the rear wiper motor on my 99 hardtop had been going bad since i purchased my. How To Replace Jeep Wrangler Windshield Wiper Motor.
From dxowogpwl.blob.core.windows.net
Replace Bushings Windshield Wiper at Emory Burt blog How To Replace Jeep Wrangler Windshield Wiper Motor in this guide, we will be showing how to replace windshield wipers on a 2018 jeep wrangler. replacing the wiper motor and linkage on a jeep wrangler. the rear wiper motor on my 99 hardtop had been going bad since i purchased my tj and i finally decided to replace it. Some ways to know if you. How To Replace Jeep Wrangler Windshield Wiper Motor.
From www.justanswer.com
Q&A How to Replace Jeep Wrangler Wiper Motor 1992 YJ & 2000 Models How To Replace Jeep Wrangler Windshield Wiper Motor steps to remove and replace the rear wiper motor assembly: Remove the small plastic cover that covers the wiper shaft by gently pulling on. replacing the wiper motor and linkage on a jeep wrangler. Some ways to know if you need to replace your own. the rear wiper motor on my 99 hardtop had been going bad. How To Replace Jeep Wrangler Windshield Wiper Motor.
From workshopfixamir123.z19.web.core.windows.net
Jeep Wrangler Back Windshield Wiper How To Replace Jeep Wrangler Windshield Wiper Motor in this guide, we will be showing how to replace windshield wipers on a 2018 jeep wrangler. the rear wiper motor on my 99 hardtop had been going bad since i purchased my tj and i finally decided to replace it. Some ways to know if you need to replace your own. steps to remove and replace. How To Replace Jeep Wrangler Windshield Wiper Motor.
From tutors-tips.blogspot.com
How To Change Windshield Wipers Jeep Wrangler How To Replace Jeep Wrangler Windshield Wiper Motor steps to remove and replace the rear wiper motor assembly: Remove the small plastic cover that covers the wiper shaft by gently pulling on. the rear wiper motor on my 99 hardtop had been going bad since i purchased my tj and i finally decided to replace it. in this guide, we will be showing how to. How To Replace Jeep Wrangler Windshield Wiper Motor.
From webmotor.org
How To Replace Windshield Wiper Motor Jeep Wrangler How To Replace Jeep Wrangler Windshield Wiper Motor in this guide, we will be showing how to replace windshield wipers on a 2018 jeep wrangler. Remove the small plastic cover that covers the wiper shaft by gently pulling on. the rear wiper motor on my 99 hardtop had been going bad since i purchased my tj and i finally decided to replace it. Some ways to. How To Replace Jeep Wrangler Windshield Wiper Motor.
From repairfixdebra88.z21.web.core.windows.net
1998 Jeep Wrangler Wiper Motor How To Replace Jeep Wrangler Windshield Wiper Motor steps to remove and replace the rear wiper motor assembly: Remove the small plastic cover that covers the wiper shaft by gently pulling on. replacing the wiper motor and linkage on a jeep wrangler. Some ways to know if you need to replace your own. the rear wiper motor on my 99 hardtop had been going bad. How To Replace Jeep Wrangler Windshield Wiper Motor.
From garagerepairbranden77.z22.web.core.windows.net
Wiper Blades For 2018 Jeep Wrangler Jl How To Replace Jeep Wrangler Windshield Wiper Motor replacing the wiper motor and linkage on a jeep wrangler. in this guide, we will be showing how to replace windshield wipers on a 2018 jeep wrangler. the rear wiper motor on my 99 hardtop had been going bad since i purchased my tj and i finally decided to replace it. steps to remove and replace. How To Replace Jeep Wrangler Windshield Wiper Motor.
From dxowkaawl.blob.core.windows.net
How To Put Windshield Wipers On Jeep Wrangler at Heather Taylor blog How To Replace Jeep Wrangler Windshield Wiper Motor replacing the wiper motor and linkage on a jeep wrangler. in this guide, we will be showing how to replace windshield wipers on a 2018 jeep wrangler. the rear wiper motor on my 99 hardtop had been going bad since i purchased my tj and i finally decided to replace it. Some ways to know if you. How To Replace Jeep Wrangler Windshield Wiper Motor.
From diagramlibraryuti.z19.web.core.windows.net
Remove Wiper Motor 95 Wrangler How To Replace Jeep Wrangler Windshield Wiper Motor replacing the wiper motor and linkage on a jeep wrangler. in this guide, we will be showing how to replace windshield wipers on a 2018 jeep wrangler. Remove the small plastic cover that covers the wiper shaft by gently pulling on. the rear wiper motor on my 99 hardtop had been going bad since i purchased my. How To Replace Jeep Wrangler Windshield Wiper Motor.
From www.youtube.com
How to Replace Rear Wiper Blade 0618 Jeep Wrangler YouTube How To Replace Jeep Wrangler Windshield Wiper Motor steps to remove and replace the rear wiper motor assembly: Some ways to know if you need to replace your own. replacing the wiper motor and linkage on a jeep wrangler. in this guide, we will be showing how to replace windshield wipers on a 2018 jeep wrangler. the rear wiper motor on my 99 hardtop. How To Replace Jeep Wrangler Windshield Wiper Motor.
From tutors-tips.blogspot.com
How To Change Windshield Wipers Jeep Wrangler How To Replace Jeep Wrangler Windshield Wiper Motor Some ways to know if you need to replace your own. in this guide, we will be showing how to replace windshield wipers on a 2018 jeep wrangler. the rear wiper motor on my 99 hardtop had been going bad since i purchased my tj and i finally decided to replace it. steps to remove and replace. How To Replace Jeep Wrangler Windshield Wiper Motor.
From tutors-tips.blogspot.com
How To Change Windshield Wipers Jeep Wrangler How To Replace Jeep Wrangler Windshield Wiper Motor Remove the small plastic cover that covers the wiper shaft by gently pulling on. Some ways to know if you need to replace your own. in this guide, we will be showing how to replace windshield wipers on a 2018 jeep wrangler. replacing the wiper motor and linkage on a jeep wrangler. the rear wiper motor on. How To Replace Jeep Wrangler Windshield Wiper Motor.
From www.youtube.com
Jeep Wrangler WINDSHIELD WIPER FLUID WHERE TO ADD YouTube How To Replace Jeep Wrangler Windshield Wiper Motor steps to remove and replace the rear wiper motor assembly: Remove the small plastic cover that covers the wiper shaft by gently pulling on. replacing the wiper motor and linkage on a jeep wrangler. Some ways to know if you need to replace your own. the rear wiper motor on my 99 hardtop had been going bad. How To Replace Jeep Wrangler Windshield Wiper Motor.
From fixenginedustin101.z21.web.core.windows.net
How To Change Windshield Wipers Jeep Wrangler How To Replace Jeep Wrangler Windshield Wiper Motor in this guide, we will be showing how to replace windshield wipers on a 2018 jeep wrangler. Remove the small plastic cover that covers the wiper shaft by gently pulling on. steps to remove and replace the rear wiper motor assembly: Some ways to know if you need to replace your own. replacing the wiper motor and. How To Replace Jeep Wrangler Windshield Wiper Motor.
From garagefixlarson99.z19.web.core.windows.net
2008 Jeep Wrangler Windshield Wiper Linkage Bushing How To Replace Jeep Wrangler Windshield Wiper Motor the rear wiper motor on my 99 hardtop had been going bad since i purchased my tj and i finally decided to replace it. steps to remove and replace the rear wiper motor assembly: in this guide, we will be showing how to replace windshield wipers on a 2018 jeep wrangler. replacing the wiper motor and. How To Replace Jeep Wrangler Windshield Wiper Motor.
From garagemcculloch101.z19.web.core.windows.net
Jeep Wrangler Rear Wiper How To Replace Jeep Wrangler Windshield Wiper Motor Some ways to know if you need to replace your own. in this guide, we will be showing how to replace windshield wipers on a 2018 jeep wrangler. replacing the wiper motor and linkage on a jeep wrangler. steps to remove and replace the rear wiper motor assembly: the rear wiper motor on my 99 hardtop. How To Replace Jeep Wrangler Windshield Wiper Motor.
From garagefixsevert101.z19.web.core.windows.net
Wiper Blades For 2006 Jeep Wrangler How To Replace Jeep Wrangler Windshield Wiper Motor Remove the small plastic cover that covers the wiper shaft by gently pulling on. Some ways to know if you need to replace your own. replacing the wiper motor and linkage on a jeep wrangler. in this guide, we will be showing how to replace windshield wipers on a 2018 jeep wrangler. steps to remove and replace. How To Replace Jeep Wrangler Windshield Wiper Motor.
From wranglerjkforum.net
07+ Jeep Wrangler JK Intermittent Wiper Fix Jeep Wrangler JK Forum How To Replace Jeep Wrangler Windshield Wiper Motor the rear wiper motor on my 99 hardtop had been going bad since i purchased my tj and i finally decided to replace it. in this guide, we will be showing how to replace windshield wipers on a 2018 jeep wrangler. replacing the wiper motor and linkage on a jeep wrangler. Some ways to know if you. How To Replace Jeep Wrangler Windshield Wiper Motor.
From dxobnmccz.blob.core.windows.net
How To Change Windshield Wipers On 2018 Jeep Wrangler at Sean Heath blog How To Replace Jeep Wrangler Windshield Wiper Motor Some ways to know if you need to replace your own. the rear wiper motor on my 99 hardtop had been going bad since i purchased my tj and i finally decided to replace it. in this guide, we will be showing how to replace windshield wipers on a 2018 jeep wrangler. Remove the small plastic cover that. How To Replace Jeep Wrangler Windshield Wiper Motor.
From dxoiqhzvv.blob.core.windows.net
How To Take Off Back Windshield Wiper Jeep Wrangler at Joseph Winters blog How To Replace Jeep Wrangler Windshield Wiper Motor the rear wiper motor on my 99 hardtop had been going bad since i purchased my tj and i finally decided to replace it. steps to remove and replace the rear wiper motor assembly: Remove the small plastic cover that covers the wiper shaft by gently pulling on. replacing the wiper motor and linkage on a jeep. How To Replace Jeep Wrangler Windshield Wiper Motor.
From circuitengineblakey.z14.web.core.windows.net
How To Change Rear Wiper Motor How To Replace Jeep Wrangler Windshield Wiper Motor the rear wiper motor on my 99 hardtop had been going bad since i purchased my tj and i finally decided to replace it. steps to remove and replace the rear wiper motor assembly: in this guide, we will be showing how to replace windshield wipers on a 2018 jeep wrangler. Remove the small plastic cover that. How To Replace Jeep Wrangler Windshield Wiper Motor.
From tutors-tips.blogspot.com
How To Change Windshield Wipers Jeep Wrangler How To Replace Jeep Wrangler Windshield Wiper Motor Some ways to know if you need to replace your own. steps to remove and replace the rear wiper motor assembly: in this guide, we will be showing how to replace windshield wipers on a 2018 jeep wrangler. the rear wiper motor on my 99 hardtop had been going bad since i purchased my tj and i. How To Replace Jeep Wrangler Windshield Wiper Motor.