Infusion Pumps Meaning . an intravenous infusion pump is a device to administer medication or medication for the treatment of high blood pressure. infusion therapy is the administration of medication or fluids intravenously. The pump can be used to. an external infusion pump is a medical device used to deliver fluids into a patient’s body in a controlled manner. infusion pumps are medical devices used to administer fluids, medication, or nutrients into a patient’s circulatory system in controlled amounts. iv pumps, also known as infusion pumps, are an essential piece of infusion equipment. an infusion pump is a medical device that delivers a drug or other fluid through a tube or catheter. It's a way of delivering medications that need to be dispensed at a. an infusion pump is a medical device that delivers fluids, such as nutrients and medications, into a patient’s body in.
from www.medicalexpo.com
an external infusion pump is a medical device used to deliver fluids into a patient’s body in a controlled manner. an infusion pump is a medical device that delivers a drug or other fluid through a tube or catheter. iv pumps, also known as infusion pumps, are an essential piece of infusion equipment. an intravenous infusion pump is a device to administer medication or medication for the treatment of high blood pressure. infusion pumps are medical devices used to administer fluids, medication, or nutrients into a patient’s circulatory system in controlled amounts. infusion therapy is the administration of medication or fluids intravenously. It's a way of delivering medications that need to be dispensed at a. The pump can be used to. an infusion pump is a medical device that delivers fluids, such as nutrients and medications, into a patient’s body in.
1channel infusion pump Lepu Medical Technology for pain management
Infusion Pumps Meaning The pump can be used to. iv pumps, also known as infusion pumps, are an essential piece of infusion equipment. an infusion pump is a medical device that delivers fluids, such as nutrients and medications, into a patient’s body in. an intravenous infusion pump is a device to administer medication or medication for the treatment of high blood pressure. an external infusion pump is a medical device used to deliver fluids into a patient’s body in a controlled manner. infusion therapy is the administration of medication or fluids intravenously. infusion pumps are medical devices used to administer fluids, medication, or nutrients into a patient’s circulatory system in controlled amounts. The pump can be used to. an infusion pump is a medical device that delivers a drug or other fluid through a tube or catheter. It's a way of delivering medications that need to be dispensed at a.
From chemyx.com
What is a Syringe Pump? Syringe Pump vs. Infusion Pump Infusion Pumps Meaning an intravenous infusion pump is a device to administer medication or medication for the treatment of high blood pressure. infusion therapy is the administration of medication or fluids intravenously. an external infusion pump is a medical device used to deliver fluids into a patient’s body in a controlled manner. an infusion pump is a medical device. Infusion Pumps Meaning.
From drug-dev.com
Infusion Pumps That Sense The Drug Flow And Even Your Heartbeat In It Infusion Pumps Meaning an intravenous infusion pump is a device to administer medication or medication for the treatment of high blood pressure. infusion pumps are medical devices used to administer fluids, medication, or nutrients into a patient’s circulatory system in controlled amounts. an infusion pump is a medical device that delivers a drug or other fluid through a tube or. Infusion Pumps Meaning.
From www.fnf.org.ph
√ Infusion Pump Price Philippines 2024 Infusion Pumps Meaning iv pumps, also known as infusion pumps, are an essential piece of infusion equipment. It's a way of delivering medications that need to be dispensed at a. infusion pumps are medical devices used to administer fluids, medication, or nutrients into a patient’s circulatory system in controlled amounts. an intravenous infusion pump is a device to administer medication. Infusion Pumps Meaning.
From www.bbraun.co.za
Space Infusion Pumps Infusion Pumps Meaning an external infusion pump is a medical device used to deliver fluids into a patient’s body in a controlled manner. It's a way of delivering medications that need to be dispensed at a. infusion therapy is the administration of medication or fluids intravenously. iv pumps, also known as infusion pumps, are an essential piece of infusion equipment.. Infusion Pumps Meaning.
From www.team-consulting.com
How Infusion Pumps Work Medical Device Consulting Team Consulting Infusion Pumps Meaning an intravenous infusion pump is a device to administer medication or medication for the treatment of high blood pressure. It's a way of delivering medications that need to be dispensed at a. iv pumps, also known as infusion pumps, are an essential piece of infusion equipment. an infusion pump is a medical device that delivers fluids, such. Infusion Pumps Meaning.
From www.medicalmart.ae
What is Infusion Pump and how to use at home? Medicalmart Infusion Pumps Meaning The pump can be used to. It's a way of delivering medications that need to be dispensed at a. an intravenous infusion pump is a device to administer medication or medication for the treatment of high blood pressure. an infusion pump is a medical device that delivers fluids, such as nutrients and medications, into a patient’s body in.. Infusion Pumps Meaning.
From usme.com
CADD Solis Ambulatory Infusion Pump USME Infusion Pumps Meaning It's a way of delivering medications that need to be dispensed at a. an external infusion pump is a medical device used to deliver fluids into a patient’s body in a controlled manner. iv pumps, also known as infusion pumps, are an essential piece of infusion equipment. infusion pumps are medical devices used to administer fluids, medication,. Infusion Pumps Meaning.
From www.youtube.com
Syringe Pump Infusion Pump How infusion Pump Works YouTube Infusion Pumps Meaning an infusion pump is a medical device that delivers fluids, such as nutrients and medications, into a patient’s body in. iv pumps, also known as infusion pumps, are an essential piece of infusion equipment. The pump can be used to. infusion therapy is the administration of medication or fluids intravenously. an intravenous infusion pump is a. Infusion Pumps Meaning.
From www.myamericannurse.com
Understanding infusion pump technology Infusion Pumps Meaning iv pumps, also known as infusion pumps, are an essential piece of infusion equipment. infusion pumps are medical devices used to administer fluids, medication, or nutrients into a patient’s circulatory system in controlled amounts. an infusion pump is a medical device that delivers a drug or other fluid through a tube or catheter. infusion therapy is. Infusion Pumps Meaning.
From www.researchgate.net
Representation of an infusion system including the infusion pump Infusion Pumps Meaning an infusion pump is a medical device that delivers fluids, such as nutrients and medications, into a patient’s body in. iv pumps, also known as infusion pumps, are an essential piece of infusion equipment. infusion pumps are medical devices used to administer fluids, medication, or nutrients into a patient’s circulatory system in controlled amounts. infusion therapy. Infusion Pumps Meaning.
From www.kapsamsaglik.com.tr
Infusion Pumps Kapsam Health Infusion Pumps Meaning iv pumps, also known as infusion pumps, are an essential piece of infusion equipment. infusion therapy is the administration of medication or fluids intravenously. The pump can be used to. an infusion pump is a medical device that delivers a drug or other fluid through a tube or catheter. It's a way of delivering medications that need. Infusion Pumps Meaning.
From medlinecapitalquote.com
Infusion Pump Medline Capital Quote Infusion Pumps Meaning iv pumps, also known as infusion pumps, are an essential piece of infusion equipment. It's a way of delivering medications that need to be dispensed at a. an infusion pump is a medical device that delivers fluids, such as nutrients and medications, into a patient’s body in. an external infusion pump is a medical device used to. Infusion Pumps Meaning.
From eureka-patsnap-com.libproxy1.nus.edu.sg
Infusion pump apparatus, method and system Eureka Patsnap Infusion Pumps Meaning The pump can be used to. an infusion pump is a medical device that delivers fluids, such as nutrients and medications, into a patient’s body in. infusion pumps are medical devices used to administer fluids, medication, or nutrients into a patient’s circulatory system in controlled amounts. It's a way of delivering medications that need to be dispensed at. Infusion Pumps Meaning.
From www.researchgate.net
Comparison of Infusion Pumps Download Table Infusion Pumps Meaning iv pumps, also known as infusion pumps, are an essential piece of infusion equipment. an external infusion pump is a medical device used to deliver fluids into a patient’s body in a controlled manner. The pump can be used to. infusion pumps are medical devices used to administer fluids, medication, or nutrients into a patient’s circulatory system. Infusion Pumps Meaning.
From studiousguy.com
Infusion Pump Working Principle StudiousGuy Infusion Pumps Meaning infusion therapy is the administration of medication or fluids intravenously. iv pumps, also known as infusion pumps, are an essential piece of infusion equipment. an external infusion pump is a medical device used to deliver fluids into a patient’s body in a controlled manner. It's a way of delivering medications that need to be dispensed at a.. Infusion Pumps Meaning.
From www.kapsamsaglik.com.tr
Infusion Pumps Kapsam Health Infusion Pumps Meaning infusion therapy is the administration of medication or fluids intravenously. The pump can be used to. an infusion pump is a medical device that delivers fluids, such as nutrients and medications, into a patient’s body in. It's a way of delivering medications that need to be dispensed at a. an infusion pump is a medical device that. Infusion Pumps Meaning.
From www.slideserve.com
PPT SMART Infusion Pump PowerPoint Presentation ID4777693 Infusion Pumps Meaning iv pumps, also known as infusion pumps, are an essential piece of infusion equipment. an intravenous infusion pump is a device to administer medication or medication for the treatment of high blood pressure. an external infusion pump is a medical device used to deliver fluids into a patient’s body in a controlled manner. infusion therapy is. Infusion Pumps Meaning.
From www.filmmedical.co.uk
Period Infusion Pump FILM MEDICAL Infusion Pumps Meaning an external infusion pump is a medical device used to deliver fluids into a patient’s body in a controlled manner. The pump can be used to. an intravenous infusion pump is a device to administer medication or medication for the treatment of high blood pressure. infusion pumps are medical devices used to administer fluids, medication, or nutrients. Infusion Pumps Meaning.
From www.apsf.org
How Can We Tell How "Smart" Our Infusion Pumps Are? Anesthesia Infusion Pumps Meaning infusion pumps are medical devices used to administer fluids, medication, or nutrients into a patient’s circulatory system in controlled amounts. The pump can be used to. an external infusion pump is a medical device used to deliver fluids into a patient’s body in a controlled manner. an intravenous infusion pump is a device to administer medication or. Infusion Pumps Meaning.
From www.youtube.com
How to use Infusion pump Explained YouTube Infusion Pumps Meaning an infusion pump is a medical device that delivers a drug or other fluid through a tube or catheter. iv pumps, also known as infusion pumps, are an essential piece of infusion equipment. infusion therapy is the administration of medication or fluids intravenously. infusion pumps are medical devices used to administer fluids, medication, or nutrients into. Infusion Pumps Meaning.
From novatech-solutions.co.uk
Infusion Pump Novatech Solutions Infusion Pumps Meaning an external infusion pump is a medical device used to deliver fluids into a patient’s body in a controlled manner. infusion therapy is the administration of medication or fluids intravenously. an infusion pump is a medical device that delivers fluids, such as nutrients and medications, into a patient’s body in. an intravenous infusion pump is a. Infusion Pumps Meaning.
From studiousguy.com
Infusion Pump Working Principle StudiousGuy Infusion Pumps Meaning an external infusion pump is a medical device used to deliver fluids into a patient’s body in a controlled manner. It's a way of delivering medications that need to be dispensed at a. infusion pumps are medical devices used to administer fluids, medication, or nutrients into a patient’s circulatory system in controlled amounts. an infusion pump is. Infusion Pumps Meaning.
From www.regdesk.co
FDA Guidance on Infusion Pumps Device Description RegDesk Infusion Pumps Meaning iv pumps, also known as infusion pumps, are an essential piece of infusion equipment. an infusion pump is a medical device that delivers a drug or other fluid through a tube or catheter. an infusion pump is a medical device that delivers fluids, such as nutrients and medications, into a patient’s body in. infusion pumps are. Infusion Pumps Meaning.
From www.te.com
Sensors for Medical Pump Applications TE Connectivity Infusion Pumps Meaning iv pumps, also known as infusion pumps, are an essential piece of infusion equipment. an intravenous infusion pump is a device to administer medication or medication for the treatment of high blood pressure. infusion pumps are medical devices used to administer fluids, medication, or nutrients into a patient’s circulatory system in controlled amounts. an infusion pump. Infusion Pumps Meaning.
From www.medicalexpo.com
2channel infusion pump SYS52 Medcaptain Medical Technology Infusion Pumps Meaning iv pumps, also known as infusion pumps, are an essential piece of infusion equipment. an intravenous infusion pump is a device to administer medication or medication for the treatment of high blood pressure. infusion pumps are medical devices used to administer fluids, medication, or nutrients into a patient’s circulatory system in controlled amounts. infusion therapy is. Infusion Pumps Meaning.
From www.advancedenergy.com
Infusion Pumps Advanced Energy Infusion Pumps Meaning infusion pumps are medical devices used to administer fluids, medication, or nutrients into a patient’s circulatory system in controlled amounts. The pump can be used to. an external infusion pump is a medical device used to deliver fluids into a patient’s body in a controlled manner. infusion therapy is the administration of medication or fluids intravenously. . Infusion Pumps Meaning.
From www.dreamstime.com
Infusion pumps stock photo. Image of infusion, cardiology 7892108 Infusion Pumps Meaning iv pumps, also known as infusion pumps, are an essential piece of infusion equipment. an infusion pump is a medical device that delivers a drug or other fluid through a tube or catheter. an external infusion pump is a medical device used to deliver fluids into a patient’s body in a controlled manner. The pump can be. Infusion Pumps Meaning.
From www.researchgate.net
Identifying IV Infusions Smart Pump/Channel Labels Abbreviation IV Infusion Pumps Meaning infusion pumps are medical devices used to administer fluids, medication, or nutrients into a patient’s circulatory system in controlled amounts. an external infusion pump is a medical device used to deliver fluids into a patient’s body in a controlled manner. The pump can be used to. an infusion pump is a medical device that delivers fluids, such. Infusion Pumps Meaning.
From www.medicalexpo.com
1channel infusion pump Lepu Medical Technology for pain management Infusion Pumps Meaning an infusion pump is a medical device that delivers fluids, such as nutrients and medications, into a patient’s body in. iv pumps, also known as infusion pumps, are an essential piece of infusion equipment. an external infusion pump is a medical device used to deliver fluids into a patient’s body in a controlled manner. The pump can. Infusion Pumps Meaning.
From www.hephomed.com
Infusion pump HF710A_HEPHO MEDICAL CO.,LTD Infusion Pumps Meaning iv pumps, also known as infusion pumps, are an essential piece of infusion equipment. an external infusion pump is a medical device used to deliver fluids into a patient’s body in a controlled manner. an infusion pump is a medical device that delivers fluids, such as nutrients and medications, into a patient’s body in. an intravenous. Infusion Pumps Meaning.
From www.dreamstime.com
Automatic Infusion Pump for Infuses Fluids Medication or Nutrients and Infusion Pumps Meaning infusion therapy is the administration of medication or fluids intravenously. an external infusion pump is a medical device used to deliver fluids into a patient’s body in a controlled manner. an infusion pump is a medical device that delivers a drug or other fluid through a tube or catheter. infusion pumps are medical devices used to. Infusion Pumps Meaning.
From www.kapsamsaglik.com.tr
Infusion Pumps Kapsam Health Infusion Pumps Meaning an infusion pump is a medical device that delivers a drug or other fluid through a tube or catheter. The pump can be used to. infusion pumps are medical devices used to administer fluids, medication, or nutrients into a patient’s circulatory system in controlled amounts. iv pumps, also known as infusion pumps, are an essential piece of. Infusion Pumps Meaning.
From edu.svet.gob.gt
Difference Between Laboratory Pumps Medical Infusion Pumps Infusion Pumps Meaning iv pumps, also known as infusion pumps, are an essential piece of infusion equipment. an infusion pump is a medical device that delivers a drug or other fluid through a tube or catheter. It's a way of delivering medications that need to be dispensed at a. an intravenous infusion pump is a device to administer medication or. Infusion Pumps Meaning.
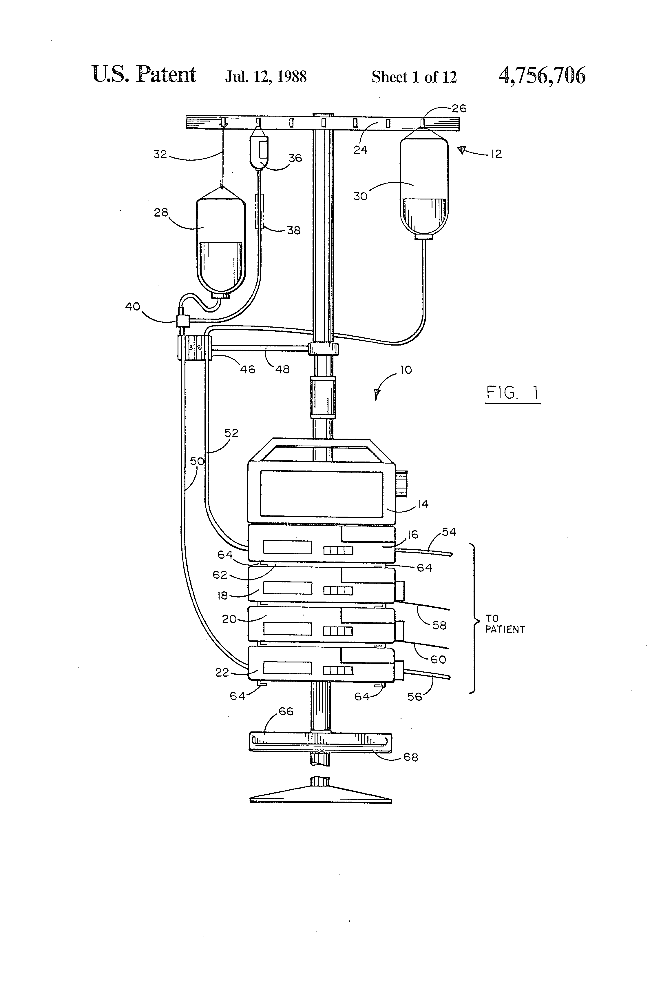
From www.google.com
Patent US4756706 Centrally managed modular infusion pump system Infusion Pumps Meaning infusion therapy is the administration of medication or fluids intravenously. iv pumps, also known as infusion pumps, are an essential piece of infusion equipment. an external infusion pump is a medical device used to deliver fluids into a patient’s body in a controlled manner. The pump can be used to. an infusion pump is a medical. Infusion Pumps Meaning.
From www.bplmedicaltechnologies.com
Blog Infusion Pumps Infusion Pumps Meaning iv pumps, also known as infusion pumps, are an essential piece of infusion equipment. infusion therapy is the administration of medication or fluids intravenously. an infusion pump is a medical device that delivers a drug or other fluid through a tube or catheter. The pump can be used to. infusion pumps are medical devices used to. Infusion Pumps Meaning.