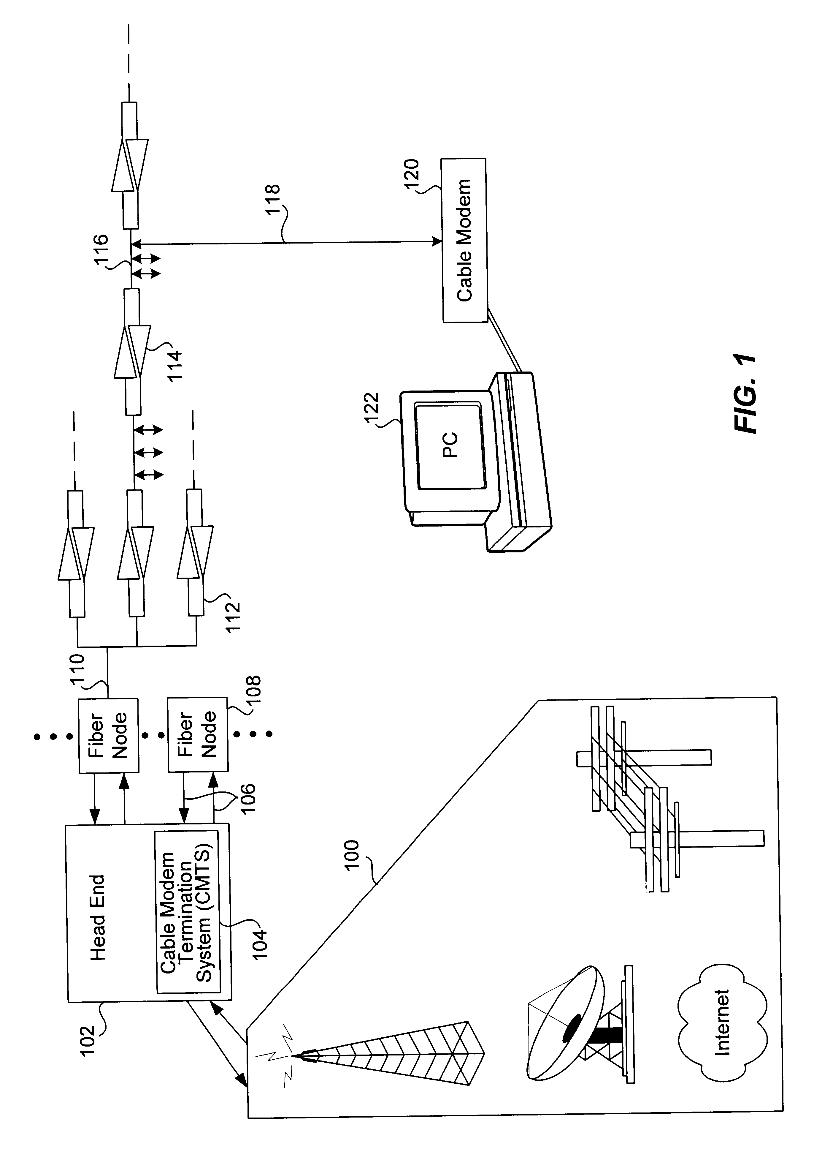
Modem Current Draw . If the router uses 2 amps and 5 volts, its wattage would be 10w. Then, to see how much energy it uses in a day, you would then use this formula: The actual power consumption depends on factors like network traffic, connected devices, and the router’s operational mode. Power (in watts) × hours used. The reason for the higher input power rating, other than the efficiency loss of the circuit, is that ul requires the unit remain safe. Click calculate to find the energy. 24 rows refer to the table below for details about energy efficiency, ports, features, and power usage of your centurylink modem or wireless. Learn more about the energy use of your internet equipment.
from www.freepik.com
The actual power consumption depends on factors like network traffic, connected devices, and the router’s operational mode. Power (in watts) × hours used. Learn more about the energy use of your internet equipment. Click calculate to find the energy. The reason for the higher input power rating, other than the efficiency loss of the circuit, is that ul requires the unit remain safe. Then, to see how much energy it uses in a day, you would then use this formula: If the router uses 2 amps and 5 volts, its wattage would be 10w. 24 rows refer to the table below for details about energy efficiency, ports, features, and power usage of your centurylink modem or wireless.
Premium Vector Signal modem wifi continuous line drawing element
Modem Current Draw Click calculate to find the energy. Click calculate to find the energy. If the router uses 2 amps and 5 volts, its wattage would be 10w. The actual power consumption depends on factors like network traffic, connected devices, and the router’s operational mode. 24 rows refer to the table below for details about energy efficiency, ports, features, and power usage of your centurylink modem or wireless. Power (in watts) × hours used. The reason for the higher input power rating, other than the efficiency loss of the circuit, is that ul requires the unit remain safe. Then, to see how much energy it uses in a day, you would then use this formula: Learn more about the energy use of your internet equipment.
From www.gettyimages.com
41 Modem Drawing Stock Photos, HighRes Pictures, and Images Getty Images Modem Current Draw The actual power consumption depends on factors like network traffic, connected devices, and the router’s operational mode. Click calculate to find the energy. Learn more about the energy use of your internet equipment. The reason for the higher input power rating, other than the efficiency loss of the circuit, is that ul requires the unit remain safe. 24 rows refer. Modem Current Draw.
From www.vecteezy.com
Single one line drawing 5G modem. 5G technology concept. Continuous Modem Current Draw The actual power consumption depends on factors like network traffic, connected devices, and the router’s operational mode. Learn more about the energy use of your internet equipment. Click calculate to find the energy. The reason for the higher input power rating, other than the efficiency loss of the circuit, is that ul requires the unit remain safe. If the router. Modem Current Draw.
From www.dreamstime.com
Modem with Antenna. Vector Drawing Stock Vector Illustration of Modem Current Draw Then, to see how much energy it uses in a day, you would then use this formula: The reason for the higher input power rating, other than the efficiency loss of the circuit, is that ul requires the unit remain safe. Power (in watts) × hours used. If the router uses 2 amps and 5 volts, its wattage would be. Modem Current Draw.
From www.dreamstime.com
Modem with Antenna. Vector Drawing Stock Vector Illustration of hand Modem Current Draw The actual power consumption depends on factors like network traffic, connected devices, and the router’s operational mode. Then, to see how much energy it uses in a day, you would then use this formula: If the router uses 2 amps and 5 volts, its wattage would be 10w. The reason for the higher input power rating, other than the efficiency. Modem Current Draw.
From www.custompcreview.com
Difference Between Modem, Router and Switch, Explained Custom PC Review Modem Current Draw If the router uses 2 amps and 5 volts, its wattage would be 10w. Click calculate to find the energy. Then, to see how much energy it uses in a day, you would then use this formula: 24 rows refer to the table below for details about energy efficiency, ports, features, and power usage of your centurylink modem or wireless.. Modem Current Draw.
From smartnetworkgeek.com
8 Effective Home Network Setup Diagram For Your House In 2023 Smart Modem Current Draw The actual power consumption depends on factors like network traffic, connected devices, and the router’s operational mode. Click calculate to find the energy. 24 rows refer to the table below for details about energy efficiency, ports, features, and power usage of your centurylink modem or wireless. If the router uses 2 amps and 5 volts, its wattage would be 10w.. Modem Current Draw.
From www.vectorstock.com
Modem drawing isolated hand drawn engraved style Vector Image Modem Current Draw 24 rows refer to the table below for details about energy efficiency, ports, features, and power usage of your centurylink modem or wireless. Then, to see how much energy it uses in a day, you would then use this formula: Click calculate to find the energy. The actual power consumption depends on factors like network traffic, connected devices, and the. Modem Current Draw.
From www.istockphoto.com
Drawing Of Modem Illustrations, RoyaltyFree Vector Graphics & Clip Art Modem Current Draw Learn more about the energy use of your internet equipment. If the router uses 2 amps and 5 volts, its wattage would be 10w. Click calculate to find the energy. Then, to see how much energy it uses in a day, you would then use this formula: Power (in watts) × hours used. The reason for the higher input power. Modem Current Draw.
From paintingvalley.com
Modem Drawing at Explore collection of Modem Drawing Modem Current Draw Learn more about the energy use of your internet equipment. If the router uses 2 amps and 5 volts, its wattage would be 10w. 24 rows refer to the table below for details about energy efficiency, ports, features, and power usage of your centurylink modem or wireless. Then, to see how much energy it uses in a day, you would. Modem Current Draw.
From www.appgecet.co.in
What is Modem draw block diagram and explain its working? AP PGECET Modem Current Draw The reason for the higher input power rating, other than the efficiency loss of the circuit, is that ul requires the unit remain safe. If the router uses 2 amps and 5 volts, its wattage would be 10w. 24 rows refer to the table below for details about energy efficiency, ports, features, and power usage of your centurylink modem or. Modem Current Draw.
From www.bh-automation.com
HART modem Basic electrical design drawing. Modem Current Draw Click calculate to find the energy. The reason for the higher input power rating, other than the efficiency loss of the circuit, is that ul requires the unit remain safe. If the router uses 2 amps and 5 volts, its wattage would be 10w. 24 rows refer to the table below for details about energy efficiency, ports, features, and power. Modem Current Draw.
From www.alamy.com
Wireless router vector sketch Stock Vector Image & Art Alamy Modem Current Draw Click calculate to find the energy. The actual power consumption depends on factors like network traffic, connected devices, and the router’s operational mode. Then, to see how much energy it uses in a day, you would then use this formula: Power (in watts) × hours used. 24 rows refer to the table below for details about energy efficiency, ports, features,. Modem Current Draw.
From paintingvalley.com
Modem Drawing at Explore collection of Modem Drawing Modem Current Draw 24 rows refer to the table below for details about energy efficiency, ports, features, and power usage of your centurylink modem or wireless. The actual power consumption depends on factors like network traffic, connected devices, and the router’s operational mode. Learn more about the energy use of your internet equipment. Then, to see how much energy it uses in a. Modem Current Draw.
From learndiagram.com
Modem Router Diagram Learn Diagram Modem Current Draw Click calculate to find the energy. The reason for the higher input power rating, other than the efficiency loss of the circuit, is that ul requires the unit remain safe. If the router uses 2 amps and 5 volts, its wattage would be 10w. Learn more about the energy use of your internet equipment. The actual power consumption depends on. Modem Current Draw.
From www.dreamstime.com
Modem with Antenna. Vector Drawing Stock Vector Illustration of Modem Current Draw 24 rows refer to the table below for details about energy efficiency, ports, features, and power usage of your centurylink modem or wireless. If the router uses 2 amps and 5 volts, its wattage would be 10w. Power (in watts) × hours used. The actual power consumption depends on factors like network traffic, connected devices, and the router’s operational mode.. Modem Current Draw.
From www.gettyimages.com
41 Modem Drawing Stock Photos, HighRes Pictures, and Images Getty Images Modem Current Draw If the router uses 2 amps and 5 volts, its wattage would be 10w. The actual power consumption depends on factors like network traffic, connected devices, and the router’s operational mode. Power (in watts) × hours used. The reason for the higher input power rating, other than the efficiency loss of the circuit, is that ul requires the unit remain. Modem Current Draw.
From getdrawings.com
Modem Drawing at GetDrawings Free download Modem Current Draw If the router uses 2 amps and 5 volts, its wattage would be 10w. Click calculate to find the energy. The reason for the higher input power rating, other than the efficiency loss of the circuit, is that ul requires the unit remain safe. Then, to see how much energy it uses in a day, you would then use this. Modem Current Draw.
From www.gettyimages.dk
Modem Drawing Photos and Premium High Res Pictures Getty Images Modem Current Draw If the router uses 2 amps and 5 volts, its wattage would be 10w. Click calculate to find the energy. The actual power consumption depends on factors like network traffic, connected devices, and the router’s operational mode. Learn more about the energy use of your internet equipment. Power (in watts) × hours used. 24 rows refer to the table below. Modem Current Draw.
From www.dreamstime.com
Modem with Antenna. Vector Drawing Stock Vector Illustration of port Modem Current Draw The reason for the higher input power rating, other than the efficiency loss of the circuit, is that ul requires the unit remain safe. Click calculate to find the energy. Then, to see how much energy it uses in a day, you would then use this formula: Power (in watts) × hours used. 24 rows refer to the table below. Modem Current Draw.
From clipartmag.com
Modem Drawing Free download on ClipArtMag Modem Current Draw Click calculate to find the energy. The actual power consumption depends on factors like network traffic, connected devices, and the router’s operational mode. Power (in watts) × hours used. Learn more about the energy use of your internet equipment. 24 rows refer to the table below for details about energy efficiency, ports, features, and power usage of your centurylink modem. Modem Current Draw.
From www.vedantu.com
What is MODEM? Draw its block diagram and explain its working. Modem Current Draw Power (in watts) × hours used. 24 rows refer to the table below for details about energy efficiency, ports, features, and power usage of your centurylink modem or wireless. Learn more about the energy use of your internet equipment. If the router uses 2 amps and 5 volts, its wattage would be 10w. Then, to see how much energy it. Modem Current Draw.
From paintingvalley.com
Modem Drawing at Explore collection of Modem Drawing Modem Current Draw Power (in watts) × hours used. Then, to see how much energy it uses in a day, you would then use this formula: 24 rows refer to the table below for details about energy efficiency, ports, features, and power usage of your centurylink modem or wireless. The reason for the higher input power rating, other than the efficiency loss of. Modem Current Draw.
From www.shutterstock.com
Wifi Router Modem Doodle Hand Drawn 库存矢量图(免版税)1954692127 Shutterstock Modem Current Draw If the router uses 2 amps and 5 volts, its wattage would be 10w. 24 rows refer to the table below for details about energy efficiency, ports, features, and power usage of your centurylink modem or wireless. Learn more about the energy use of your internet equipment. Click calculate to find the energy. Then, to see how much energy it. Modem Current Draw.
From www.shutterstock.com
Hand Draw Sketch Modem Router Vectors Stock Vector (Royalty Free Modem Current Draw The reason for the higher input power rating, other than the efficiency loss of the circuit, is that ul requires the unit remain safe. Then, to see how much energy it uses in a day, you would then use this formula: Power (in watts) × hours used. The actual power consumption depends on factors like network traffic, connected devices, and. Modem Current Draw.
From paintingvalley.com
Modem Drawing at Explore collection of Modem Drawing Modem Current Draw 24 rows refer to the table below for details about energy efficiency, ports, features, and power usage of your centurylink modem or wireless. Power (in watts) × hours used. Click calculate to find the energy. Then, to see how much energy it uses in a day, you would then use this formula: If the router uses 2 amps and 5. Modem Current Draw.
From paintingvalley.com
Modem Drawing at Explore collection of Modem Drawing Modem Current Draw Then, to see how much energy it uses in a day, you would then use this formula: Learn more about the energy use of your internet equipment. 24 rows refer to the table below for details about energy efficiency, ports, features, and power usage of your centurylink modem or wireless. If the router uses 2 amps and 5 volts, its. Modem Current Draw.
From www.alamyimages.fr
Drawing router connection modem Banque d'images vectorielles Modem Current Draw The actual power consumption depends on factors like network traffic, connected devices, and the router’s operational mode. Click calculate to find the energy. 24 rows refer to the table below for details about energy efficiency, ports, features, and power usage of your centurylink modem or wireless. Learn more about the energy use of your internet equipment. If the router uses. Modem Current Draw.
From paintingvalley.com
Modem Drawing at Explore collection of Modem Drawing Modem Current Draw Then, to see how much energy it uses in a day, you would then use this formula: The actual power consumption depends on factors like network traffic, connected devices, and the router’s operational mode. Learn more about the energy use of your internet equipment. If the router uses 2 amps and 5 volts, its wattage would be 10w. Power (in. Modem Current Draw.
From hxedpdlmt.blob.core.windows.net
Modem Computer Drawing at Kimberly Kulik blog Modem Current Draw If the router uses 2 amps and 5 volts, its wattage would be 10w. The actual power consumption depends on factors like network traffic, connected devices, and the router’s operational mode. Click calculate to find the energy. 24 rows refer to the table below for details about energy efficiency, ports, features, and power usage of your centurylink modem or wireless.. Modem Current Draw.
From www.dreamstime.com
Doodle Modem Router Icon or Logo, Hand Drawn with Thin Black Line Modem Current Draw The reason for the higher input power rating, other than the efficiency loss of the circuit, is that ul requires the unit remain safe. The actual power consumption depends on factors like network traffic, connected devices, and the router’s operational mode. If the router uses 2 amps and 5 volts, its wattage would be 10w. Learn more about the energy. Modem Current Draw.
From www.appgecet.co.in
What is Modem draw block diagram and explain its working? AP PGECET Modem Current Draw If the router uses 2 amps and 5 volts, its wattage would be 10w. Then, to see how much energy it uses in a day, you would then use this formula: The reason for the higher input power rating, other than the efficiency loss of the circuit, is that ul requires the unit remain safe. Power (in watts) × hours. Modem Current Draw.
From www.freepik.com
Premium Vector Signal modem wifi continuous line drawing element Modem Current Draw 24 rows refer to the table below for details about energy efficiency, ports, features, and power usage of your centurylink modem or wireless. Power (in watts) × hours used. Then, to see how much energy it uses in a day, you would then use this formula: If the router uses 2 amps and 5 volts, its wattage would be 10w.. Modem Current Draw.
From www.youtube.com
How to draw a Modem/Router Mastering Modem/Router Illustrations A Modem Current Draw Power (in watts) × hours used. The actual power consumption depends on factors like network traffic, connected devices, and the router’s operational mode. If the router uses 2 amps and 5 volts, its wattage would be 10w. 24 rows refer to the table below for details about energy efficiency, ports, features, and power usage of your centurylink modem or wireless.. Modem Current Draw.
From getdrawings.com
Modem Drawing at GetDrawings Free download Modem Current Draw Then, to see how much energy it uses in a day, you would then use this formula: If the router uses 2 amps and 5 volts, its wattage would be 10w. Learn more about the energy use of your internet equipment. The actual power consumption depends on factors like network traffic, connected devices, and the router’s operational mode. 24 rows. Modem Current Draw.
From paintingvalley.com
Modem Drawing at Explore collection of Modem Drawing Modem Current Draw The actual power consumption depends on factors like network traffic, connected devices, and the router’s operational mode. The reason for the higher input power rating, other than the efficiency loss of the circuit, is that ul requires the unit remain safe. If the router uses 2 amps and 5 volts, its wattage would be 10w. 24 rows refer to the. Modem Current Draw.