System Steering Wheel Loader . Specialized farm simulation gear with 900˚wheel, rugged pedals, and complete side. Precise and sensitive control of steering. testing the steering system of a cat wheel loader (it28g). High breakout force makes this wheel loader ideal for tough digging. innovative steering system with joystick integrated into the operator's seat. Simulation wheel, pedals and side panel control deck. introduction to wheel loader steering, discussing the kinematics and mechanics behind this complex vehicle.
from 777parts.net
introduction to wheel loader steering, discussing the kinematics and mechanics behind this complex vehicle. Precise and sensitive control of steering. Specialized farm simulation gear with 900˚wheel, rugged pedals, and complete side. Simulation wheel, pedals and side panel control deck. High breakout force makes this wheel loader ideal for tough digging. testing the steering system of a cat wheel loader (it28g). innovative steering system with joystick integrated into the operator's seat.
STEERING WHEEL (COLUMN AND ORBITAL) Wheel Loader Komatsu WA3205L
System Steering Wheel Loader testing the steering system of a cat wheel loader (it28g). testing the steering system of a cat wheel loader (it28g). Specialized farm simulation gear with 900˚wheel, rugged pedals, and complete side. introduction to wheel loader steering, discussing the kinematics and mechanics behind this complex vehicle. Simulation wheel, pedals and side panel control deck. Precise and sensitive control of steering. High breakout force makes this wheel loader ideal for tough digging. innovative steering system with joystick integrated into the operator's seat.
From www.equipmentworld.com
Deere unveils redesigned 344L loader with Articulation Plus steering at System Steering Wheel Loader introduction to wheel loader steering, discussing the kinematics and mechanics behind this complex vehicle. testing the steering system of a cat wheel loader (it28g). Simulation wheel, pedals and side panel control deck. innovative steering system with joystick integrated into the operator's seat. Specialized farm simulation gear with 900˚wheel, rugged pedals, and complete side. Precise and sensitive control. System Steering Wheel Loader.
From heavy-loaders.com
1600kg Wheel Loader Hongyuan System Steering Wheel Loader Specialized farm simulation gear with 900˚wheel, rugged pedals, and complete side. introduction to wheel loader steering, discussing the kinematics and mechanics behind this complex vehicle. Precise and sensitive control of steering. Simulation wheel, pedals and side panel control deck. High breakout force makes this wheel loader ideal for tough digging. testing the steering system of a cat wheel. System Steering Wheel Loader.
From www.wheelsandfields.com
The new 5axle control steeringsystem from Thaler loaders Wheels System Steering Wheel Loader introduction to wheel loader steering, discussing the kinematics and mechanics behind this complex vehicle. Simulation wheel, pedals and side panel control deck. innovative steering system with joystick integrated into the operator's seat. High breakout force makes this wheel loader ideal for tough digging. Specialized farm simulation gear with 900˚wheel, rugged pedals, and complete side. testing the steering. System Steering Wheel Loader.
From www.forconstructionpros.com
Liebherr Now Offers Joystick Steering for Wheel Loaders For System Steering Wheel Loader innovative steering system with joystick integrated into the operator's seat. testing the steering system of a cat wheel loader (it28g). High breakout force makes this wheel loader ideal for tough digging. Simulation wheel, pedals and side panel control deck. Specialized farm simulation gear with 900˚wheel, rugged pedals, and complete side. introduction to wheel loader steering, discussing the. System Steering Wheel Loader.
From 777parts.net
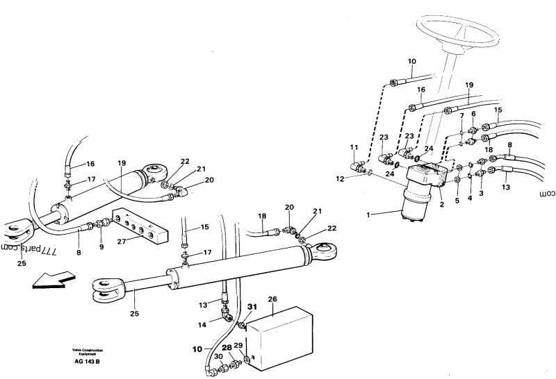
Steering system Wheel Loaders Volvo L70C Steering Steering System Steering Wheel Loader testing the steering system of a cat wheel loader (it28g). innovative steering system with joystick integrated into the operator's seat. High breakout force makes this wheel loader ideal for tough digging. Precise and sensitive control of steering. Simulation wheel, pedals and side panel control deck. introduction to wheel loader steering, discussing the kinematics and mechanics behind this. System Steering Wheel Loader.
From shanzhong.en.made-in-china.com
FourWheel Steering System for Hydraulic SideMoving Backhoe Loaders System Steering Wheel Loader testing the steering system of a cat wheel loader (it28g). Specialized farm simulation gear with 900˚wheel, rugged pedals, and complete side. Precise and sensitive control of steering. innovative steering system with joystick integrated into the operator's seat. Simulation wheel, pedals and side panel control deck. High breakout force makes this wheel loader ideal for tough digging. introduction. System Steering Wheel Loader.
From www.semanticscholar.org
Figure 1 from A Novel HighEfficiency Wheel Loader Power Steering System Steering Wheel Loader introduction to wheel loader steering, discussing the kinematics and mechanics behind this complex vehicle. Specialized farm simulation gear with 900˚wheel, rugged pedals, and complete side. Simulation wheel, pedals and side panel control deck. testing the steering system of a cat wheel loader (it28g). High breakout force makes this wheel loader ideal for tough digging. innovative steering system. System Steering Wheel Loader.
From shanzhong.en.made-in-china.com
Factory Supply Directly 8 Ton 9 Ton 10 Ton Wheel Backhoe Loaders System Steering Wheel Loader innovative steering system with joystick integrated into the operator's seat. introduction to wheel loader steering, discussing the kinematics and mechanics behind this complex vehicle. High breakout force makes this wheel loader ideal for tough digging. Precise and sensitive control of steering. testing the steering system of a cat wheel loader (it28g). Simulation wheel, pedals and side panel. System Steering Wheel Loader.
From 777parts.net
STEERING WHEEL (COLUMN AND ORBITAL) Wheel Loader Komatsu WA3205L System Steering Wheel Loader Precise and sensitive control of steering. testing the steering system of a cat wheel loader (it28g). introduction to wheel loader steering, discussing the kinematics and mechanics behind this complex vehicle. High breakout force makes this wheel loader ideal for tough digging. innovative steering system with joystick integrated into the operator's seat. Specialized farm simulation gear with 900˚wheel,. System Steering Wheel Loader.
From 777parts.net
STEERING WHEEL Wheel Loader Komatsu WA1801LC STEERING CONTROL System Steering Wheel Loader testing the steering system of a cat wheel loader (it28g). introduction to wheel loader steering, discussing the kinematics and mechanics behind this complex vehicle. High breakout force makes this wheel loader ideal for tough digging. Specialized farm simulation gear with 900˚wheel, rugged pedals, and complete side. Precise and sensitive control of steering. Simulation wheel, pedals and side panel. System Steering Wheel Loader.
From www.bossmachinery.nl
Caterpillar 966H FULL STEERING Wheel Loader Boss Machinery System Steering Wheel Loader introduction to wheel loader steering, discussing the kinematics and mechanics behind this complex vehicle. High breakout force makes this wheel loader ideal for tough digging. Specialized farm simulation gear with 900˚wheel, rugged pedals, and complete side. Simulation wheel, pedals and side panel control deck. Precise and sensitive control of steering. innovative steering system with joystick integrated into the. System Steering Wheel Loader.
From www.youtube.com
Steering Advantages of Rigid Wheel Loaders YouTube System Steering Wheel Loader innovative steering system with joystick integrated into the operator's seat. testing the steering system of a cat wheel loader (it28g). Precise and sensitive control of steering. High breakout force makes this wheel loader ideal for tough digging. Specialized farm simulation gear with 900˚wheel, rugged pedals, and complete side. Simulation wheel, pedals and side panel control deck. introduction. System Steering Wheel Loader.
From www.autorepairmanuals.ws
CAT WHEEL LOADER 992G Complete Training Course Auto Repair Manual System Steering Wheel Loader introduction to wheel loader steering, discussing the kinematics and mechanics behind this complex vehicle. innovative steering system with joystick integrated into the operator's seat. Precise and sensitive control of steering. testing the steering system of a cat wheel loader (it28g). Specialized farm simulation gear with 900˚wheel, rugged pedals, and complete side. High breakout force makes this wheel. System Steering Wheel Loader.
From 777parts.net
Steering Valve, Steering Wheel and Steering Column BACKHOE, LOADER System Steering Wheel Loader testing the steering system of a cat wheel loader (it28g). Specialized farm simulation gear with 900˚wheel, rugged pedals, and complete side. innovative steering system with joystick integrated into the operator's seat. Precise and sensitive control of steering. Simulation wheel, pedals and side panel control deck. High breakout force makes this wheel loader ideal for tough digging. introduction. System Steering Wheel Loader.
From www.youtube.com
All Wheel Steering system a new technology and how does it works YouTube System Steering Wheel Loader Precise and sensitive control of steering. Specialized farm simulation gear with 900˚wheel, rugged pedals, and complete side. Simulation wheel, pedals and side panel control deck. introduction to wheel loader steering, discussing the kinematics and mechanics behind this complex vehicle. High breakout force makes this wheel loader ideal for tough digging. innovative steering system with joystick integrated into the. System Steering Wheel Loader.
From www.mdpi.com
Energies Free FullText Research on Steering Vibration Analysis of System Steering Wheel Loader Precise and sensitive control of steering. High breakout force makes this wheel loader ideal for tough digging. Specialized farm simulation gear with 900˚wheel, rugged pedals, and complete side. innovative steering system with joystick integrated into the operator's seat. testing the steering system of a cat wheel loader (it28g). Simulation wheel, pedals and side panel control deck. introduction. System Steering Wheel Loader.
From www.researchgate.net
Structure diagram of an articulated steering wheel loader and initial System Steering Wheel Loader Specialized farm simulation gear with 900˚wheel, rugged pedals, and complete side. Simulation wheel, pedals and side panel control deck. innovative steering system with joystick integrated into the operator's seat. introduction to wheel loader steering, discussing the kinematics and mechanics behind this complex vehicle. High breakout force makes this wheel loader ideal for tough digging. testing the steering. System Steering Wheel Loader.
From twentywheels.com
Earth Force 4 Wheel Drive 4 Wheel Steering Backhoe Loader System Steering Wheel Loader High breakout force makes this wheel loader ideal for tough digging. introduction to wheel loader steering, discussing the kinematics and mechanics behind this complex vehicle. testing the steering system of a cat wheel loader (it28g). Simulation wheel, pedals and side panel control deck. Specialized farm simulation gear with 900˚wheel, rugged pedals, and complete side. Precise and sensitive control. System Steering Wheel Loader.
From www.heavyequipmentguide.ca
Liebherr introduces assistance system, joystick steering for wheel System Steering Wheel Loader innovative steering system with joystick integrated into the operator's seat. Precise and sensitive control of steering. Simulation wheel, pedals and side panel control deck. High breakout force makes this wheel loader ideal for tough digging. Specialized farm simulation gear with 900˚wheel, rugged pedals, and complete side. introduction to wheel loader steering, discussing the kinematics and mechanics behind this. System Steering Wheel Loader.
From www.international-construction.com
Wheeled loaders innovations abound International Construction System Steering Wheel Loader testing the steering system of a cat wheel loader (it28g). Simulation wheel, pedals and side panel control deck. introduction to wheel loader steering, discussing the kinematics and mechanics behind this complex vehicle. innovative steering system with joystick integrated into the operator's seat. High breakout force makes this wheel loader ideal for tough digging. Precise and sensitive control. System Steering Wheel Loader.
From www.youtube.com
Mechanical Engineering Project All wheel steering system with System Steering Wheel Loader Simulation wheel, pedals and side panel control deck. Specialized farm simulation gear with 900˚wheel, rugged pedals, and complete side. High breakout force makes this wheel loader ideal for tough digging. testing the steering system of a cat wheel loader (it28g). Precise and sensitive control of steering. introduction to wheel loader steering, discussing the kinematics and mechanics behind this. System Steering Wheel Loader.
From 777parts.com
Steering system Wheel Loaders Volvo L50B System Steering Wheel Loader introduction to wheel loader steering, discussing the kinematics and mechanics behind this complex vehicle. Specialized farm simulation gear with 900˚wheel, rugged pedals, and complete side. Simulation wheel, pedals and side panel control deck. testing the steering system of a cat wheel loader (it28g). Precise and sensitive control of steering. innovative steering system with joystick integrated into the. System Steering Wheel Loader.
From www.dreamstime.com
Operating Control Panels and Steering Wheel in Loader Machine Stock System Steering Wheel Loader Specialized farm simulation gear with 900˚wheel, rugged pedals, and complete side. Precise and sensitive control of steering. Simulation wheel, pedals and side panel control deck. High breakout force makes this wheel loader ideal for tough digging. innovative steering system with joystick integrated into the operator's seat. introduction to wheel loader steering, discussing the kinematics and mechanics behind this. System Steering Wheel Loader.
From 777parts.net
Steering Wheel (Tilt) LOADER John Deere 210K LOADER 210K Tractor System Steering Wheel Loader High breakout force makes this wheel loader ideal for tough digging. innovative steering system with joystick integrated into the operator's seat. introduction to wheel loader steering, discussing the kinematics and mechanics behind this complex vehicle. Simulation wheel, pedals and side panel control deck. Specialized farm simulation gear with 900˚wheel, rugged pedals, and complete side. testing the steering. System Steering Wheel Loader.
From 777parts.net
STEERING WHEEL AND COLUMN(50001) Wheel Loader Komatsu WA2503X System Steering Wheel Loader Simulation wheel, pedals and side panel control deck. testing the steering system of a cat wheel loader (it28g). Precise and sensitive control of steering. Specialized farm simulation gear with 900˚wheel, rugged pedals, and complete side. High breakout force makes this wheel loader ideal for tough digging. introduction to wheel loader steering, discussing the kinematics and mechanics behind this. System Steering Wheel Loader.
From shanzhong.en.made-in-china.com
8ton 9ton 10ton Wheel Backhoe Loaders Excavator Product with 4X4 Four System Steering Wheel Loader Simulation wheel, pedals and side panel control deck. High breakout force makes this wheel loader ideal for tough digging. innovative steering system with joystick integrated into the operator's seat. introduction to wheel loader steering, discussing the kinematics and mechanics behind this complex vehicle. testing the steering system of a cat wheel loader (it28g). Specialized farm simulation gear. System Steering Wheel Loader.
From www.youtube.com
Homemade wheel loader Steering system first test YouTube System Steering Wheel Loader Simulation wheel, pedals and side panel control deck. innovative steering system with joystick integrated into the operator's seat. introduction to wheel loader steering, discussing the kinematics and mechanics behind this complex vehicle. Specialized farm simulation gear with 900˚wheel, rugged pedals, and complete side. High breakout force makes this wheel loader ideal for tough digging. testing the steering. System Steering Wheel Loader.
From volvoceblog.com
Wheel Loader Operator Tips How to Load Trucks with Added Efficiency System Steering Wheel Loader Precise and sensitive control of steering. introduction to wheel loader steering, discussing the kinematics and mechanics behind this complex vehicle. High breakout force makes this wheel loader ideal for tough digging. innovative steering system with joystick integrated into the operator's seat. testing the steering system of a cat wheel loader (it28g). Specialized farm simulation gear with 900˚wheel,. System Steering Wheel Loader.
From www.zetamacchine.com
Wheel loaders CAT 962 K Full steering !!! Zeta Macchine System Steering Wheel Loader Simulation wheel, pedals and side panel control deck. High breakout force makes this wheel loader ideal for tough digging. Specialized farm simulation gear with 900˚wheel, rugged pedals, and complete side. introduction to wheel loader steering, discussing the kinematics and mechanics behind this complex vehicle. testing the steering system of a cat wheel loader (it28g). Precise and sensitive control. System Steering Wheel Loader.
From shanzhong.en.made-in-china.com
8 Ton 9 Ton 10 Ton Wheel Backhoe Loaders Excavator Product with 4X4 System Steering Wheel Loader Specialized farm simulation gear with 900˚wheel, rugged pedals, and complete side. Precise and sensitive control of steering. innovative steering system with joystick integrated into the operator's seat. Simulation wheel, pedals and side panel control deck. High breakout force makes this wheel loader ideal for tough digging. testing the steering system of a cat wheel loader (it28g). introduction. System Steering Wheel Loader.
From shanzhong.en.made-in-china.com
Backhoe Loaders From Shandong Heavy Industries, Luxury HighEnd Four System Steering Wheel Loader Simulation wheel, pedals and side panel control deck. innovative steering system with joystick integrated into the operator's seat. Specialized farm simulation gear with 900˚wheel, rugged pedals, and complete side. testing the steering system of a cat wheel loader (it28g). Precise and sensitive control of steering. High breakout force makes this wheel loader ideal for tough digging. introduction. System Steering Wheel Loader.
From www.youtube.com
Cara Kerja Sistem Steering Wheel Loader YouTube System Steering Wheel Loader Specialized farm simulation gear with 900˚wheel, rugged pedals, and complete side. introduction to wheel loader steering, discussing the kinematics and mechanics behind this complex vehicle. testing the steering system of a cat wheel loader (it28g). Simulation wheel, pedals and side panel control deck. Precise and sensitive control of steering. High breakout force makes this wheel loader ideal for. System Steering Wheel Loader.
From www.autorepairmanuals.ws
CAT Advance Training Steering System Components, Power TrainWheel System Steering Wheel Loader introduction to wheel loader steering, discussing the kinematics and mechanics behind this complex vehicle. High breakout force makes this wheel loader ideal for tough digging. Precise and sensitive control of steering. Simulation wheel, pedals and side panel control deck. Specialized farm simulation gear with 900˚wheel, rugged pedals, and complete side. testing the steering system of a cat wheel. System Steering Wheel Loader.
From www.researchgate.net
Structure diagram of an articulated steering wheel loader and initial System Steering Wheel Loader Precise and sensitive control of steering. testing the steering system of a cat wheel loader (it28g). High breakout force makes this wheel loader ideal for tough digging. introduction to wheel loader steering, discussing the kinematics and mechanics behind this complex vehicle. Specialized farm simulation gear with 900˚wheel, rugged pedals, and complete side. Simulation wheel, pedals and side panel. System Steering Wheel Loader.
From shandongweiyang.en.made-in-china.com
Wy877h Backhoe Loader Equipped with Multifunctional Bucket, Four Wheel System Steering Wheel Loader Specialized farm simulation gear with 900˚wheel, rugged pedals, and complete side. Simulation wheel, pedals and side panel control deck. High breakout force makes this wheel loader ideal for tough digging. Precise and sensitive control of steering. testing the steering system of a cat wheel loader (it28g). introduction to wheel loader steering, discussing the kinematics and mechanics behind this. System Steering Wheel Loader.