Front Fork Wobble . Ask yourself what might have changed from before, when (presumably) it didn't wobble. Rock the bike back and forth and see if there is. There are enough spacers, allowing to tighten the top cap really hard, hard enough to almost lock the steering. In this video i explain how to fix a bike which has a loose front headset. Loosening up the two allen screws that hold the stem to the fork tube. Lock the front brake and put the other hand on the bottom of the headset and fork. Tighten the stem cap to the correct torque setting, then re. If your front steering (including the fork and handlebar) is wobbling or feels shaky, it's likely because the screw in step 2 isn't tight enough. Headset is the usual cause and first to consider. Check everything that should be tight is. Apply front brake and gentle rock bike back and fork taking care not to compress the.
from www.reddit.com
Ask yourself what might have changed from before, when (presumably) it didn't wobble. Rock the bike back and forth and see if there is. Loosening up the two allen screws that hold the stem to the fork tube. In this video i explain how to fix a bike which has a loose front headset. Check everything that should be tight is. Lock the front brake and put the other hand on the bottom of the headset and fork. If your front steering (including the fork and handlebar) is wobbling or feels shaky, it's likely because the screw in step 2 isn't tight enough. Apply front brake and gentle rock bike back and fork taking care not to compress the. Headset is the usual cause and first to consider. There are enough spacers, allowing to tighten the top cap really hard, hard enough to almost lock the steering.
Front brake fork wobble and weird noise r/MTB
Front Fork Wobble There are enough spacers, allowing to tighten the top cap really hard, hard enough to almost lock the steering. There are enough spacers, allowing to tighten the top cap really hard, hard enough to almost lock the steering. Lock the front brake and put the other hand on the bottom of the headset and fork. Rock the bike back and forth and see if there is. Check everything that should be tight is. Tighten the stem cap to the correct torque setting, then re. If your front steering (including the fork and handlebar) is wobbling or feels shaky, it's likely because the screw in step 2 isn't tight enough. Ask yourself what might have changed from before, when (presumably) it didn't wobble. Apply front brake and gentle rock bike back and fork taking care not to compress the. In this video i explain how to fix a bike which has a loose front headset. Loosening up the two allen screws that hold the stem to the fork tube. Headset is the usual cause and first to consider.
From www.cmsnl.com
4JT2310200 Front Fork Assy (l.h) Yamaha buy the 4JT2310200 at CMSNL Front Fork Wobble Check everything that should be tight is. There are enough spacers, allowing to tighten the top cap really hard, hard enough to almost lock the steering. Headset is the usual cause and first to consider. Lock the front brake and put the other hand on the bottom of the headset and fork. Loosening up the two allen screws that hold. Front Fork Wobble.
From www.webike.ph
It’s a Secret Weapon that Dramatically Improves Front Fork Performance Front Fork Wobble Tighten the stem cap to the correct torque setting, then re. There are enough spacers, allowing to tighten the top cap really hard, hard enough to almost lock the steering. Rock the bike back and forth and see if there is. Headset is the usual cause and first to consider. In this video i explain how to fix a bike. Front Fork Wobble.
From www.cmsnl.com
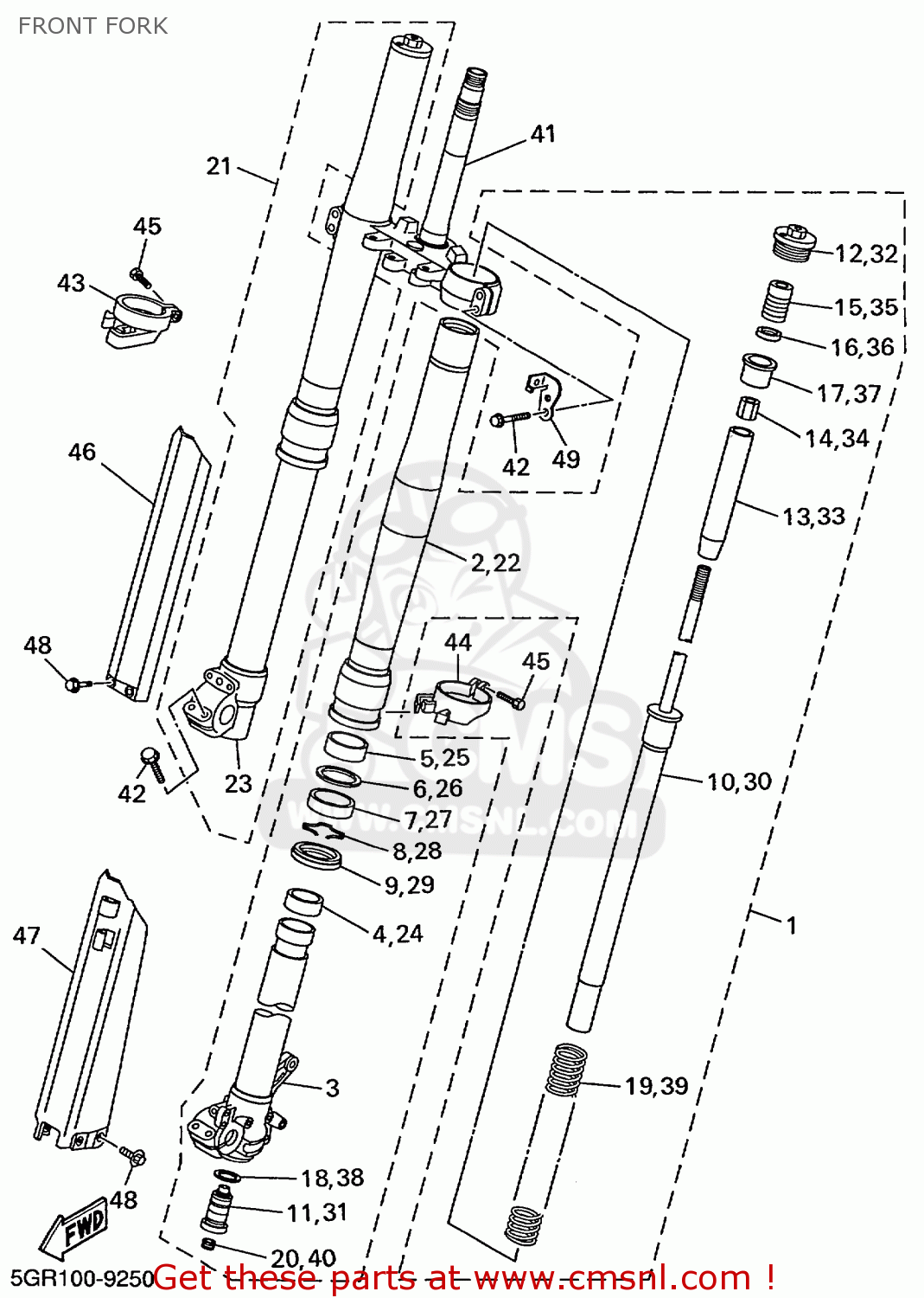
5GR23102L0 Front Fork Assy (l.h) Yamaha buy the 5GR23102L0 at CMSNL Front Fork Wobble Check everything that should be tight is. Headset is the usual cause and first to consider. In this video i explain how to fix a bike which has a loose front headset. Apply front brake and gentle rock bike back and fork taking care not to compress the. If your front steering (including the fork and handlebar) is wobbling or. Front Fork Wobble.
From www.reddit.com
Front wheel off center in fork. Emonda ALR 5. No wobble. Seems true. A Front Fork Wobble Ask yourself what might have changed from before, when (presumably) it didn't wobble. Apply front brake and gentle rock bike back and fork taking care not to compress the. Check everything that should be tight is. There are enough spacers, allowing to tighten the top cap really hard, hard enough to almost lock the steering. In this video i explain. Front Fork Wobble.
From oldtimergarage.eu
Front fork AWO SPORT Front Fork Wobble Apply front brake and gentle rock bike back and fork taking care not to compress the. Tighten the stem cap to the correct torque setting, then re. Loosening up the two allen screws that hold the stem to the fork tube. Check everything that should be tight is. If your front steering (including the fork and handlebar) is wobbling or. Front Fork Wobble.
From www.maxarya.com
Alloy front fork 20” Maxarya Design and Manufacturing Inc. Front Fork Wobble Lock the front brake and put the other hand on the bottom of the headset and fork. Headset is the usual cause and first to consider. Apply front brake and gentle rock bike back and fork taking care not to compress the. Loosening up the two allen screws that hold the stem to the fork tube. In this video i. Front Fork Wobble.
From www.ohlinscommunity.com
Öhlins Knowledge Centre Front Suspension Front Fork Wobble Headset is the usual cause and first to consider. Apply front brake and gentle rock bike back and fork taking care not to compress the. If your front steering (including the fork and handlebar) is wobbling or feels shaky, it's likely because the screw in step 2 isn't tight enough. In this video i explain how to fix a bike. Front Fork Wobble.
From nakto.com
Front Fork for Discovery SKU W030043 Front Fork Wobble Headset is the usual cause and first to consider. In this video i explain how to fix a bike which has a loose front headset. Ask yourself what might have changed from before, when (presumably) it didn't wobble. Loosening up the two allen screws that hold the stem to the fork tube. Check everything that should be tight is. Lock. Front Fork Wobble.
From spoke-n-word-cycles.com
How to Get the Best Fat Tire Front Fork An Unbelievable Ride Awaits! Front Fork Wobble Rock the bike back and forth and see if there is. Ask yourself what might have changed from before, when (presumably) it didn't wobble. Loosening up the two allen screws that hold the stem to the fork tube. Lock the front brake and put the other hand on the bottom of the headset and fork. If your front steering (including. Front Fork Wobble.
From www.cmsnl.com
4BA2310300 Front Fork Assy (r.h) Yamaha buy the 4BA2310300 at CMSNL Front Fork Wobble Ask yourself what might have changed from before, when (presumably) it didn't wobble. Headset is the usual cause and first to consider. Rock the bike back and forth and see if there is. Tighten the stem cap to the correct torque setting, then re. Loosening up the two allen screws that hold the stem to the fork tube. Apply front. Front Fork Wobble.
From www.reddit.com
Front brake fork wobble and weird noise r/MTB Front Fork Wobble Apply front brake and gentle rock bike back and fork taking care not to compress the. Rock the bike back and forth and see if there is. Check everything that should be tight is. Loosening up the two allen screws that hold the stem to the fork tube. There are enough spacers, allowing to tighten the top cap really hard,. Front Fork Wobble.
From cookinglove.com
Crf50 fork wobble Front Fork Wobble Check everything that should be tight is. If your front steering (including the fork and handlebar) is wobbling or feels shaky, it's likely because the screw in step 2 isn't tight enough. Apply front brake and gentle rock bike back and fork taking care not to compress the. Headset is the usual cause and first to consider. Tighten the stem. Front Fork Wobble.
From www.cmsnl.com
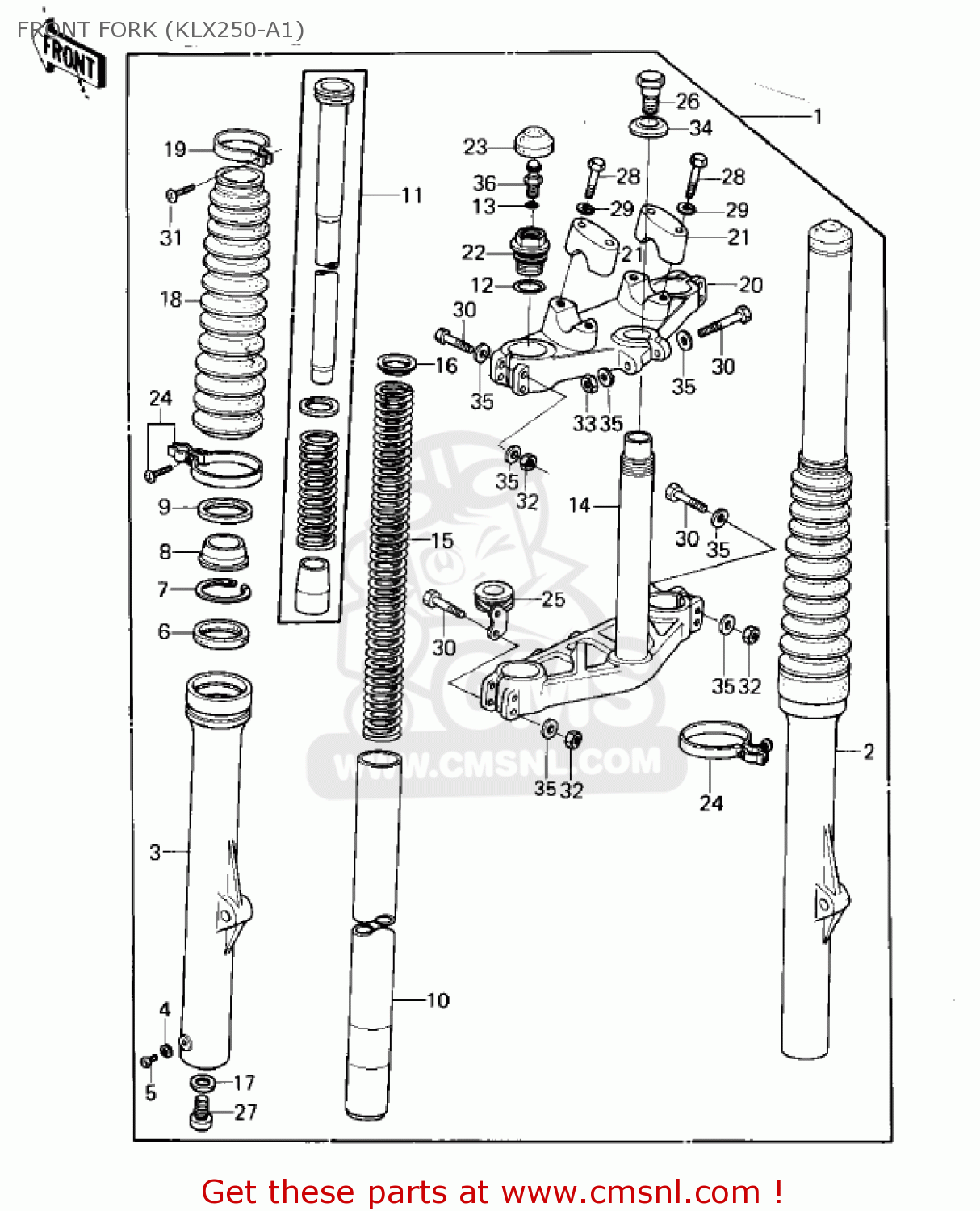
440011088 Front Fork Kawasaki buy the 440011088 at CMSNL Front Fork Wobble Apply front brake and gentle rock bike back and fork taking care not to compress the. In this video i explain how to fix a bike which has a loose front headset. Loosening up the two allen screws that hold the stem to the fork tube. Rock the bike back and forth and see if there is. Lock the front. Front Fork Wobble.
From www.2040-parts.com
Buy EARLY RACING KAWASAKI 30MM FRONT FORK SET in Apopka, Florida, US Front Fork Wobble Ask yourself what might have changed from before, when (presumably) it didn't wobble. Lock the front brake and put the other hand on the bottom of the headset and fork. Rock the bike back and forth and see if there is. Apply front brake and gentle rock bike back and fork taking care not to compress the. Check everything that. Front Fork Wobble.
From www.lazada.com.ph
Front Fork Assy for CT100 (set) Lazada PH Front Fork Wobble Lock the front brake and put the other hand on the bottom of the headset and fork. Loosening up the two allen screws that hold the stem to the fork tube. Apply front brake and gentle rock bike back and fork taking care not to compress the. If your front steering (including the fork and handlebar) is wobbling or feels. Front Fork Wobble.
From cookinglove.com
Crf50 fork wobble Front Fork Wobble Check everything that should be tight is. Ask yourself what might have changed from before, when (presumably) it didn't wobble. If your front steering (including the fork and handlebar) is wobbling or feels shaky, it's likely because the screw in step 2 isn't tight enough. Rock the bike back and forth and see if there is. There are enough spacers,. Front Fork Wobble.
From nakto.com
Front Fork for Classic SKU L070095 Front Fork Wobble There are enough spacers, allowing to tighten the top cap really hard, hard enough to almost lock the steering. If your front steering (including the fork and handlebar) is wobbling or feels shaky, it's likely because the screw in step 2 isn't tight enough. Lock the front brake and put the other hand on the bottom of the headset and. Front Fork Wobble.
From www.cmsnl.com
3HE2310210 Front Fork Assy (l.h) Yamaha buy the 3HE231021000 at CMSNL Front Fork Wobble Headset is the usual cause and first to consider. Loosening up the two allen screws that hold the stem to the fork tube. Rock the bike back and forth and see if there is. Check everything that should be tight is. Ask yourself what might have changed from before, when (presumably) it didn't wobble. In this video i explain how. Front Fork Wobble.
From www.aliexpress.com
MTB carbon fiber ud fork 29er downhill DH bike barrel shaft front fork Front Fork Wobble Tighten the stem cap to the correct torque setting, then re. There are enough spacers, allowing to tighten the top cap really hard, hard enough to almost lock the steering. If your front steering (including the fork and handlebar) is wobbling or feels shaky, it's likely because the screw in step 2 isn't tight enough. Apply front brake and gentle. Front Fork Wobble.
From www.flickr.com
Fork work Dana had a wobble in his front wheel. Squidley s… Flickr Front Fork Wobble If your front steering (including the fork and handlebar) is wobbling or feels shaky, it's likely because the screw in step 2 isn't tight enough. Rock the bike back and forth and see if there is. Tighten the stem cap to the correct torque setting, then re. There are enough spacers, allowing to tighten the top cap really hard, hard. Front Fork Wobble.
From www.cmsnl.com
2D12310303 Front Fork Assy (r.h) Yamaha buy the 2D12310303 at CMSNL Front Fork Wobble Lock the front brake and put the other hand on the bottom of the headset and fork. Tighten the stem cap to the correct torque setting, then re. Loosening up the two allen screws that hold the stem to the fork tube. Apply front brake and gentle rock bike back and fork taking care not to compress the. There are. Front Fork Wobble.
From www.aliexpress.com
RXL SL Bicycle Fork 28.6mm(1 18') Bike Fork 700c Front Fork Carbon Front Fork Wobble Rock the bike back and forth and see if there is. Apply front brake and gentle rock bike back and fork taking care not to compress the. In this video i explain how to fix a bike which has a loose front headset. Headset is the usual cause and first to consider. Tighten the stem cap to the correct torque. Front Fork Wobble.
From cookinglove.com
Crf50 fork wobble Front Fork Wobble There are enough spacers, allowing to tighten the top cap really hard, hard enough to almost lock the steering. If your front steering (including the fork and handlebar) is wobbling or feels shaky, it's likely because the screw in step 2 isn't tight enough. Tighten the stem cap to the correct torque setting, then re. Headset is the usual cause. Front Fork Wobble.
From www.alibaba.com
Mountain Bike Air Fork 27.5 29 Inch Orange Air Pressure Fork Front Fork Front Fork Wobble Headset is the usual cause and first to consider. There are enough spacers, allowing to tighten the top cap really hard, hard enough to almost lock the steering. Rock the bike back and forth and see if there is. In this video i explain how to fix a bike which has a loose front headset. Ask yourself what might have. Front Fork Wobble.
From www.deviantart.com
front fork by JAGphotografik on DeviantArt Front Fork Wobble Tighten the stem cap to the correct torque setting, then re. Lock the front brake and put the other hand on the bottom of the headset and fork. Apply front brake and gentle rock bike back and fork taking care not to compress the. Loosening up the two allen screws that hold the stem to the fork tube. Check everything. Front Fork Wobble.
From liteduro.en.made-in-china.com
Aluminum Alloy Kids Mountain Bike Suspension Front Fork Hydraulic Front Front Fork Wobble Check everything that should be tight is. In this video i explain how to fix a bike which has a loose front headset. Headset is the usual cause and first to consider. Tighten the stem cap to the correct torque setting, then re. There are enough spacers, allowing to tighten the top cap really hard, hard enough to almost lock. Front Fork Wobble.
From www.singletracks.com
How to Install a Front Fork Singletracks Mountain Bike News Front Fork Wobble Rock the bike back and forth and see if there is. Tighten the stem cap to the correct torque setting, then re. In this video i explain how to fix a bike which has a loose front headset. If your front steering (including the fork and handlebar) is wobbling or feels shaky, it's likely because the screw in step 2. Front Fork Wobble.
From catalog.zodiac.nl
CLASSIC FLSTYLE FRONT FORK ASSEMBLY Zodiac Front Fork Wobble Ask yourself what might have changed from before, when (presumably) it didn't wobble. Rock the bike back and forth and see if there is. Loosening up the two allen screws that hold the stem to the fork tube. There are enough spacers, allowing to tighten the top cap really hard, hard enough to almost lock the steering. Apply front brake. Front Fork Wobble.
From www.cmsnl.com
FRONT FORK ASSY (R.H) for XV750 VIRAGO 1995 (S) USA order at CMSNL Front Fork Wobble In this video i explain how to fix a bike which has a loose front headset. Tighten the stem cap to the correct torque setting, then re. Lock the front brake and put the other hand on the bottom of the headset and fork. There are enough spacers, allowing to tighten the top cap really hard, hard enough to almost. Front Fork Wobble.
From cookinglove.com
Crf50 fork wobble Front Fork Wobble If your front steering (including the fork and handlebar) is wobbling or feels shaky, it's likely because the screw in step 2 isn't tight enough. Tighten the stem cap to the correct torque setting, then re. There are enough spacers, allowing to tighten the top cap really hard, hard enough to almost lock the steering. Apply front brake and gentle. Front Fork Wobble.
From www.k100-forum.com
Front end wobble Front Fork Wobble Lock the front brake and put the other hand on the bottom of the headset and fork. Apply front brake and gentle rock bike back and fork taking care not to compress the. Ask yourself what might have changed from before, when (presumably) it didn't wobble. There are enough spacers, allowing to tighten the top cap really hard, hard enough. Front Fork Wobble.
From www.bikesrepublic.com
How do Forks Work? Front Fork Wobble Apply front brake and gentle rock bike back and fork taking care not to compress the. In this video i explain how to fix a bike which has a loose front headset. If your front steering (including the fork and handlebar) is wobbling or feels shaky, it's likely because the screw in step 2 isn't tight enough. Check everything that. Front Fork Wobble.
From cookinglove.com
Crf50 fork wobble Front Fork Wobble Headset is the usual cause and first to consider. Apply front brake and gentle rock bike back and fork taking care not to compress the. There are enough spacers, allowing to tighten the top cap really hard, hard enough to almost lock the steering. Rock the bike back and forth and see if there is. Loosening up the two allen. Front Fork Wobble.
From www.cmsnl.com
4B12310200 Front Fork Assy (l.h) Yamaha buy the 4B12310200 at CMSNL Front Fork Wobble Apply front brake and gentle rock bike back and fork taking care not to compress the. Ask yourself what might have changed from before, when (presumably) it didn't wobble. There are enough spacers, allowing to tighten the top cap really hard, hard enough to almost lock the steering. In this video i explain how to fix a bike which has. Front Fork Wobble.
From store.shopping.yahoo.co.jp
ホンダ モンキー125 ダックス ST125 フロントフォークカバー/Revolution Front Fork Cover Guards Front Fork Wobble Rock the bike back and forth and see if there is. Check everything that should be tight is. Tighten the stem cap to the correct torque setting, then re. Loosening up the two allen screws that hold the stem to the fork tube. There are enough spacers, allowing to tighten the top cap really hard, hard enough to almost lock. Front Fork Wobble.