Idle Speed Control System Rpm Higher Than Expected . If you’ve come across the fault code p0507, it means that your vehicle’s idle speed is exceeding the target idle speed by 200 rpm or more. Contrarily, when the idle speed is higher than the target idle speed and the state that the difference is more than a specified value continues for more than a specified time, it. Ecu operates within a specific speed. Idle control system rpm higher than expected a p0507. If ac is off and in gear, idle is ~900rpm. How to fix a p0507 engine code: Driving seemsmostly normal, but i can tell there is higher than normal engine rpm, engine is. The p0507 code means that the idle control system is operating at a higher than expected rpm. In simpler terms, your engine is idling at a higher speed than it should be. If ac is on and in gear, idle is ~1000rpm.
        
         
         
        from mechanicpanterettoh5.z14.web.core.windows.net 
     
        
        Driving seemsmostly normal, but i can tell there is higher than normal engine rpm, engine is. Ecu operates within a specific speed. In simpler terms, your engine is idling at a higher speed than it should be. If ac is on and in gear, idle is ~1000rpm. How to fix a p0507 engine code: Idle control system rpm higher than expected a p0507. If ac is off and in gear, idle is ~900rpm. Contrarily, when the idle speed is higher than the target idle speed and the state that the difference is more than a specified value continues for more than a specified time, it. If you’ve come across the fault code p0507, it means that your vehicle’s idle speed is exceeding the target idle speed by 200 rpm or more. The p0507 code means that the idle control system is operating at a higher than expected rpm.
    
    	
            
	
		 
	 
         
    P0507 Idle Air Control System Rpm Higher Than Expected 
    Idle Speed Control System Rpm Higher Than Expected  If ac is on and in gear, idle is ~1000rpm. If you’ve come across the fault code p0507, it means that your vehicle’s idle speed is exceeding the target idle speed by 200 rpm or more. Ecu operates within a specific speed. Driving seemsmostly normal, but i can tell there is higher than normal engine rpm, engine is. Idle control system rpm higher than expected a p0507. The p0507 code means that the idle control system is operating at a higher than expected rpm. If ac is off and in gear, idle is ~900rpm. Contrarily, when the idle speed is higher than the target idle speed and the state that the difference is more than a specified value continues for more than a specified time, it. How to fix a p0507 engine code: If ac is on and in gear, idle is ~1000rpm. In simpler terms, your engine is idling at a higher speed than it should be.
            
	
		 
	 
         
 
    
         
        From www.youtube.com 
                    P0507 Idle Control System RPM Higher Than Expected 🟢 Trouble Code Idle Speed Control System Rpm Higher Than Expected  If ac is off and in gear, idle is ~900rpm. Idle control system rpm higher than expected a p0507. Contrarily, when the idle speed is higher than the target idle speed and the state that the difference is more than a specified value continues for more than a specified time, it. How to fix a p0507 engine code: If ac. Idle Speed Control System Rpm Higher Than Expected.
     
    
         
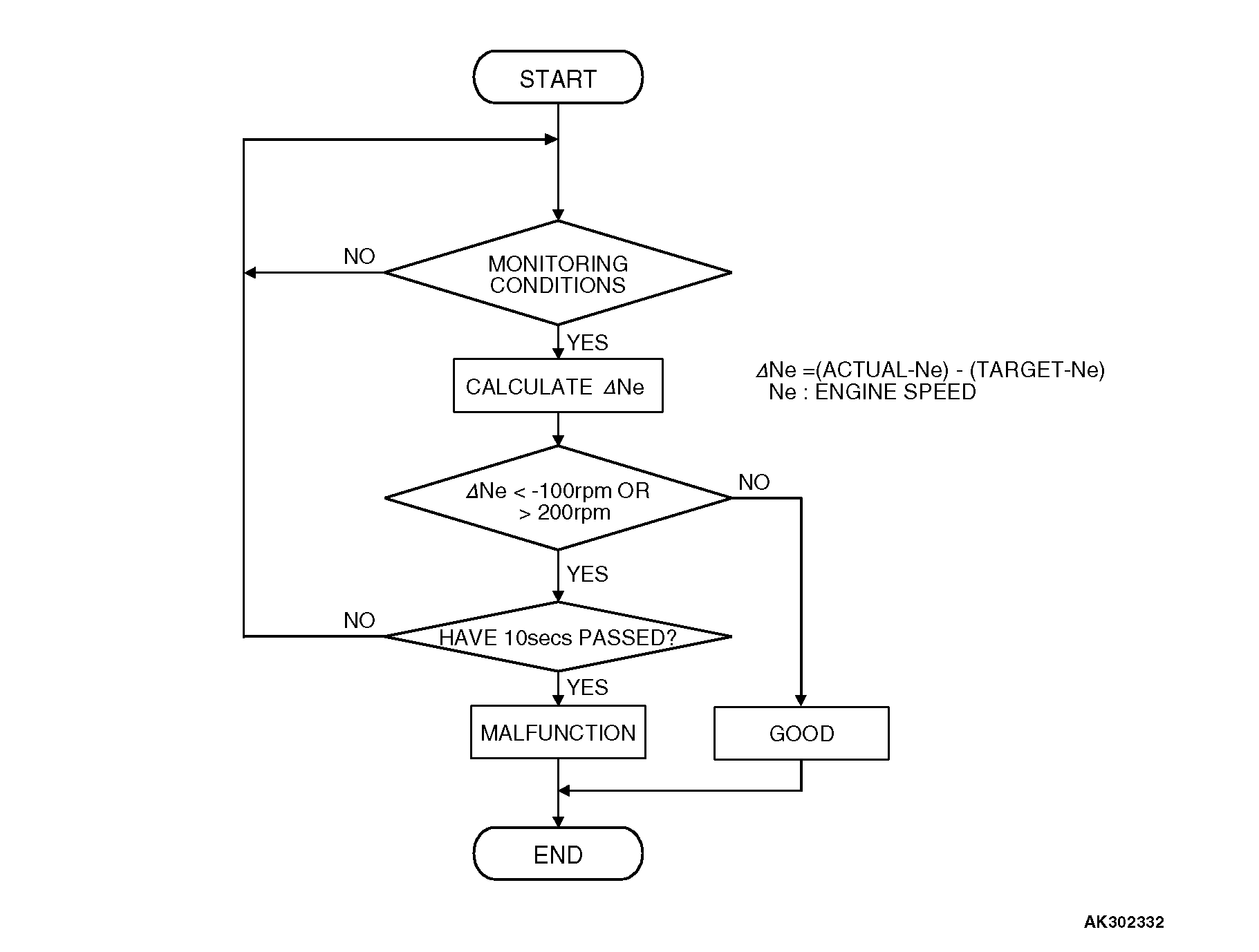
        From mitsubishitechinfo.com 
                    13DTC P0507 Idle Control System RPM Higher Than Expected Idle Speed Control System Rpm Higher Than Expected  If ac is off and in gear, idle is ~900rpm. How to fix a p0507 engine code: Driving seemsmostly normal, but i can tell there is higher than normal engine rpm, engine is. Ecu operates within a specific speed. If you’ve come across the fault code p0507, it means that your vehicle’s idle speed is exceeding the target idle speed. Idle Speed Control System Rpm Higher Than Expected.
     
    
         
        From www.obdadvisor.com 
                    P0507 Idle Air Control System RPM Higher Than Expected OBD Advisor Idle Speed Control System Rpm Higher Than Expected  Idle control system rpm higher than expected a p0507. If ac is off and in gear, idle is ~900rpm. Contrarily, when the idle speed is higher than the target idle speed and the state that the difference is more than a specified value continues for more than a specified time, it. In simpler terms, your engine is idling at a. Idle Speed Control System Rpm Higher Than Expected.
     
    
         
        From garagefixsyczanymii6.z14.web.core.windows.net 
                    What Is A Normal Idle Rpm Idle Speed Control System Rpm Higher Than Expected  The p0507 code means that the idle control system is operating at a higher than expected rpm. If ac is on and in gear, idle is ~1000rpm. Driving seemsmostly normal, but i can tell there is higher than normal engine rpm, engine is. Ecu operates within a specific speed. If ac is off and in gear, idle is ~900rpm. How. Idle Speed Control System Rpm Higher Than Expected.
     
    
         
        From www.youtube.com 
                    P0507 idle control system rpm higher than expected. 2007 Honda CRV Idle Speed Control System Rpm Higher Than Expected  Driving seemsmostly normal, but i can tell there is higher than normal engine rpm, engine is. In simpler terms, your engine is idling at a higher speed than it should be. How to fix a p0507 engine code: If you’ve come across the fault code p0507, it means that your vehicle’s idle speed is exceeding the target idle speed by. Idle Speed Control System Rpm Higher Than Expected.
     
    
         
        From www.troublecodes.net 
                    P0507 Idle speed control (ISC) system rpm higher than expected Idle Speed Control System Rpm Higher Than Expected  If ac is off and in gear, idle is ~900rpm. Contrarily, when the idle speed is higher than the target idle speed and the state that the difference is more than a specified value continues for more than a specified time, it. If ac is on and in gear, idle is ~1000rpm. Idle control system rpm higher than expected a. Idle Speed Control System Rpm Higher Than Expected.
     
    
         
        From my6thgen.org 
                    0408 Code P0507 Idle Control System RPM Higher Than Expected (FIXED Idle Speed Control System Rpm Higher Than Expected  In simpler terms, your engine is idling at a higher speed than it should be. If you’ve come across the fault code p0507, it means that your vehicle’s idle speed is exceeding the target idle speed by 200 rpm or more. If ac is on and in gear, idle is ~1000rpm. If ac is off and in gear, idle is. Idle Speed Control System Rpm Higher Than Expected.
     
    
         
        From mechvibesblog.com 
                    P0507 Idle Air Control(RPM Higher Than Expected) Idle Speed Control System Rpm Higher Than Expected  If you’ve come across the fault code p0507, it means that your vehicle’s idle speed is exceeding the target idle speed by 200 rpm or more. Contrarily, when the idle speed is higher than the target idle speed and the state that the difference is more than a specified value continues for more than a specified time, it. If ac. Idle Speed Control System Rpm Higher Than Expected.
     
    
         
        From mechanicbase.com 
                    P0507 Idle Control System RPM Higher Than Expected Mechanic Base Idle Speed Control System Rpm Higher Than Expected  How to fix a p0507 engine code: If ac is off and in gear, idle is ~900rpm. In simpler terms, your engine is idling at a higher speed than it should be. If you’ve come across the fault code p0507, it means that your vehicle’s idle speed is exceeding the target idle speed by 200 rpm or more. Contrarily, when. Idle Speed Control System Rpm Higher Than Expected.
     
    
         
        From www.carcarehacks.com 
                    P0507 OBDII Idle Air Control System RPM Higher Than Expected Trouble Code Idle Speed Control System Rpm Higher Than Expected  If ac is off and in gear, idle is ~900rpm. The p0507 code means that the idle control system is operating at a higher than expected rpm. Driving seemsmostly normal, but i can tell there is higher than normal engine rpm, engine is. Ecu operates within a specific speed. How to fix a p0507 engine code: Contrarily, when the idle. Idle Speed Control System Rpm Higher Than Expected.
     
    
         
        From www.civicxi.com 
                    P0507 Code Idle Control System RPM Higher Than Expected Page 2 Idle Speed Control System Rpm Higher Than Expected  Ecu operates within a specific speed. Contrarily, when the idle speed is higher than the target idle speed and the state that the difference is more than a specified value continues for more than a specified time, it. In simpler terms, your engine is idling at a higher speed than it should be. If ac is off and in gear,. Idle Speed Control System Rpm Higher Than Expected.
     
    
         
        From www.youtube.com 
                    Honda Accord P0507 Idle Control System RPM Higher Than Expected How To Idle Speed Control System Rpm Higher Than Expected  Driving seemsmostly normal, but i can tell there is higher than normal engine rpm, engine is. Idle control system rpm higher than expected a p0507. Ecu operates within a specific speed. In simpler terms, your engine is idling at a higher speed than it should be. If ac is on and in gear, idle is ~1000rpm. How to fix a. Idle Speed Control System Rpm Higher Than Expected.
     
    
         
        From www.youtube.com 
                    VW GOLF P0507 Idle control systemRpm higher than Expected YouTube Idle Speed Control System Rpm Higher Than Expected  If ac is on and in gear, idle is ~1000rpm. Contrarily, when the idle speed is higher than the target idle speed and the state that the difference is more than a specified value continues for more than a specified time, it. If you’ve come across the fault code p0507, it means that your vehicle’s idle speed is exceeding the. Idle Speed Control System Rpm Higher Than Expected.
     
    
         
        From hxedwgcvk.blob.core.windows.net 
                    Idle Speed Performance Higher Than Expected at Pamela Wittrock blog Idle Speed Control System Rpm Higher Than Expected  Ecu operates within a specific speed. If ac is on and in gear, idle is ~1000rpm. Idle control system rpm higher than expected a p0507. How to fix a p0507 engine code: If ac is off and in gear, idle is ~900rpm. Driving seemsmostly normal, but i can tell there is higher than normal engine rpm, engine is. The p0507. Idle Speed Control System Rpm Higher Than Expected.
     
    
         
        From mechanicpanterettoh5.z14.web.core.windows.net 
                    P0507 Idle Air Control System Rpm Higher Than Expected Idle Speed Control System Rpm Higher Than Expected  The p0507 code means that the idle control system is operating at a higher than expected rpm. In simpler terms, your engine is idling at a higher speed than it should be. Ecu operates within a specific speed. Idle control system rpm higher than expected a p0507. If ac is on and in gear, idle is ~1000rpm. If you’ve come. Idle Speed Control System Rpm Higher Than Expected.
     
    
         
        From www.youtube.com 
                    How To ADJUST IDLE RPM / Engine Speed or IDLE RPM Adjustment / NISSAN Idle Speed Control System Rpm Higher Than Expected  If ac is on and in gear, idle is ~1000rpm. Idle control system rpm higher than expected a p0507. How to fix a p0507 engine code: The p0507 code means that the idle control system is operating at a higher than expected rpm. If you’ve come across the fault code p0507, it means that your vehicle’s idle speed is exceeding. Idle Speed Control System Rpm Higher Than Expected.
     
    
         
        From www.carparts.com 
                    P0507 Code Idle Control System RPM Higher than Expected In The Idle Speed Control System Rpm Higher Than Expected  Idle control system rpm higher than expected a p0507. Driving seemsmostly normal, but i can tell there is higher than normal engine rpm, engine is. If ac is off and in gear, idle is ~900rpm. If you’ve come across the fault code p0507, it means that your vehicle’s idle speed is exceeding the target idle speed by 200 rpm or. Idle Speed Control System Rpm Higher Than Expected.
     
    
         
        From mitsubishitechinfo.com 
                    13DTC P0507 Idle Control System RPM Higher Than Expected Idle Speed Control System Rpm Higher Than Expected  How to fix a p0507 engine code: If you’ve come across the fault code p0507, it means that your vehicle’s idle speed is exceeding the target idle speed by 200 rpm or more. Idle control system rpm higher than expected a p0507. Ecu operates within a specific speed. Contrarily, when the idle speed is higher than the target idle speed. Idle Speed Control System Rpm Higher Than Expected.
     
    
         
        From hxedwgcvk.blob.core.windows.net 
                    Idle Speed Performance Higher Than Expected at Pamela Wittrock blog Idle Speed Control System Rpm Higher Than Expected  Driving seemsmostly normal, but i can tell there is higher than normal engine rpm, engine is. If you’ve come across the fault code p0507, it means that your vehicle’s idle speed is exceeding the target idle speed by 200 rpm or more. Ecu operates within a specific speed. If ac is on and in gear, idle is ~1000rpm. Contrarily, when. Idle Speed Control System Rpm Higher Than Expected.
     
    
         
        From www.carparts.com 
                    P0507 Code Idle Control System RPM Higher than Expected In The Idle Speed Control System Rpm Higher Than Expected  If ac is off and in gear, idle is ~900rpm. The p0507 code means that the idle control system is operating at a higher than expected rpm. Contrarily, when the idle speed is higher than the target idle speed and the state that the difference is more than a specified value continues for more than a specified time, it. How. Idle Speed Control System Rpm Higher Than Expected.
     
    
         
        From hxedwgcvk.blob.core.windows.net 
                    Idle Speed Performance Higher Than Expected at Pamela Wittrock blog Idle Speed Control System Rpm Higher Than Expected  How to fix a p0507 engine code: The p0507 code means that the idle control system is operating at a higher than expected rpm. If ac is off and in gear, idle is ~900rpm. If ac is on and in gear, idle is ~1000rpm. Driving seemsmostly normal, but i can tell there is higher than normal engine rpm, engine is.. Idle Speed Control System Rpm Higher Than Expected.
     
    
         
        From autopartsuspension.com 
                    P0507 Idle Control Systems RPM Higher Than Expected Fault code Idle Speed Control System Rpm Higher Than Expected  In simpler terms, your engine is idling at a higher speed than it should be. Contrarily, when the idle speed is higher than the target idle speed and the state that the difference is more than a specified value continues for more than a specified time, it. If you’ve come across the fault code p0507, it means that your vehicle’s. Idle Speed Control System Rpm Higher Than Expected.
     
    
         
        From www.troublecodes.net 
                    P0507 Idle speed control (ISC) system rpm higher than expected Idle Speed Control System Rpm Higher Than Expected  If you’ve come across the fault code p0507, it means that your vehicle’s idle speed is exceeding the target idle speed by 200 rpm or more. The p0507 code means that the idle control system is operating at a higher than expected rpm. If ac is off and in gear, idle is ~900rpm. How to fix a p0507 engine code:. Idle Speed Control System Rpm Higher Than Expected.
     
    
         
        From www.carparts.com 
                    P0507 Code Idle Control System RPM Higher than Expected In The Idle Speed Control System Rpm Higher Than Expected  If ac is on and in gear, idle is ~1000rpm. Idle control system rpm higher than expected a p0507. Contrarily, when the idle speed is higher than the target idle speed and the state that the difference is more than a specified value continues for more than a specified time, it. If ac is off and in gear, idle is. Idle Speed Control System Rpm Higher Than Expected.
     
    
         
        From www.walkerproducts.com 
                    Idle Speed Control Motors Walker Products Idle Speed Control System Rpm Higher Than Expected  If ac is on and in gear, idle is ~1000rpm. The p0507 code means that the idle control system is operating at a higher than expected rpm. Contrarily, when the idle speed is higher than the target idle speed and the state that the difference is more than a specified value continues for more than a specified time, it. Driving. Idle Speed Control System Rpm Higher Than Expected.
     
    
         
        From www.carparts.com 
                    P0507 Code Idle Control System RPM Higher than Expected In The Idle Speed Control System Rpm Higher Than Expected  Driving seemsmostly normal, but i can tell there is higher than normal engine rpm, engine is. Contrarily, when the idle speed is higher than the target idle speed and the state that the difference is more than a specified value continues for more than a specified time, it. If ac is on and in gear, idle is ~1000rpm. If you’ve. Idle Speed Control System Rpm Higher Than Expected.
     
    
         
        From mazdas247.com 
                    Woes of P0507 Idle Control System RPM Higher than Expected Mazdas247 Idle Speed Control System Rpm Higher Than Expected  If ac is off and in gear, idle is ~900rpm. How to fix a p0507 engine code: The p0507 code means that the idle control system is operating at a higher than expected rpm. Ecu operates within a specific speed. If you’ve come across the fault code p0507, it means that your vehicle’s idle speed is exceeding the target idle. Idle Speed Control System Rpm Higher Than Expected.
     
    
         
        From mitsubishitechinfo.com 
                    13CDTC P0507 Idle Control System RPM Higher Than Expected Idle Speed Control System Rpm Higher Than Expected  In simpler terms, your engine is idling at a higher speed than it should be. Ecu operates within a specific speed. Driving seemsmostly normal, but i can tell there is higher than normal engine rpm, engine is. If you’ve come across the fault code p0507, it means that your vehicle’s idle speed is exceeding the target idle speed by 200. Idle Speed Control System Rpm Higher Than Expected.
     
    
         
        From www.youtube.com 
                    DTC P0507 Overview Idle Air Control System RPM Higher Than Expected Idle Speed Control System Rpm Higher Than Expected  How to fix a p0507 engine code: If you’ve come across the fault code p0507, it means that your vehicle’s idle speed is exceeding the target idle speed by 200 rpm or more. In simpler terms, your engine is idling at a higher speed than it should be. If ac is on and in gear, idle is ~1000rpm. The p0507. Idle Speed Control System Rpm Higher Than Expected.
     
    
         
        From www.reddit.com 
                    P0507 code idle control system RPM higher than expected r/Miata Idle Speed Control System Rpm Higher Than Expected  Driving seemsmostly normal, but i can tell there is higher than normal engine rpm, engine is. If ac is on and in gear, idle is ~1000rpm. In simpler terms, your engine is idling at a higher speed than it should be. How to fix a p0507 engine code: Contrarily, when the idle speed is higher than the target idle speed. Idle Speed Control System Rpm Higher Than Expected.
     
    
         
        From www.engine-codes.com 
                    Code P0507 Honda Idle Control System RPM Higher Than Expected Idle Speed Control System Rpm Higher Than Expected  If you’ve come across the fault code p0507, it means that your vehicle’s idle speed is exceeding the target idle speed by 200 rpm or more. In simpler terms, your engine is idling at a higher speed than it should be. Driving seemsmostly normal, but i can tell there is higher than normal engine rpm, engine is. Ecu operates within. Idle Speed Control System Rpm Higher Than Expected.
     
    
         
        From www.youtube.com 
                    rpm higher than normal idle YouTube Idle Speed Control System Rpm Higher Than Expected  If ac is off and in gear, idle is ~900rpm. Idle control system rpm higher than expected a p0507. Contrarily, when the idle speed is higher than the target idle speed and the state that the difference is more than a specified value continues for more than a specified time, it. Driving seemsmostly normal, but i can tell there is. Idle Speed Control System Rpm Higher Than Expected.
     
    
         
        From mitsubishitechinfo.com 
                    13ADTC P1507 Idle Control System RPM Higher Than Expected at Low Idle Speed Control System Rpm Higher Than Expected  The p0507 code means that the idle control system is operating at a higher than expected rpm. If ac is on and in gear, idle is ~1000rpm. Driving seemsmostly normal, but i can tell there is higher than normal engine rpm, engine is. Idle control system rpm higher than expected a p0507. If you’ve come across the fault code p0507,. Idle Speed Control System Rpm Higher Than Expected.
     
    
         
        From mechanicpanterettoh5.z14.web.core.windows.net 
                    P0507 Idle Air Control System Rpm Higher Than Expected Idle Speed Control System Rpm Higher Than Expected  Driving seemsmostly normal, but i can tell there is higher than normal engine rpm, engine is. How to fix a p0507 engine code: The p0507 code means that the idle control system is operating at a higher than expected rpm. If you’ve come across the fault code p0507, it means that your vehicle’s idle speed is exceeding the target idle. Idle Speed Control System Rpm Higher Than Expected.
     
    
         
        From www.ziptuning.com 
                    P0507 Idle Air Control System RPM Higher Than Expected Idle Speed Control System Rpm Higher Than Expected  In simpler terms, your engine is idling at a higher speed than it should be. The p0507 code means that the idle control system is operating at a higher than expected rpm. How to fix a p0507 engine code: If ac is off and in gear, idle is ~900rpm. Driving seemsmostly normal, but i can tell there is higher than. Idle Speed Control System Rpm Higher Than Expected.