Concrete Forms To Buy . get free shipping on qualified concrete forms products or buy online pick up in store today in the building materials. designed to strengthen the overall support when using several brands of concrete form tubes. lightweight, single use forms for column applications. Our concrete forming systems are durable, cost effective and a superior. 12 construction form is the fast, economical way to pour concrete columns, footings and piers. Concrete curb forms construct steps,. Find the right building supplies. simplify your concrete design project with concrete forms and sonotubes in a variety of sizes at the home depot canada. Made from multiple layers of high quality fiber. duraform® has been the leader in commercial concrete forms since 1957. It is also a great way to store everything from carpets to wine. choose from a variety of plastic and steel concrete forms at constructioncomplete.
from www.thebigblockcompany.com
Find the right building supplies. designed to strengthen the overall support when using several brands of concrete form tubes. choose from a variety of plastic and steel concrete forms at constructioncomplete. get free shipping on qualified concrete forms products or buy online pick up in store today in the building materials. Made from multiple layers of high quality fiber. duraform® has been the leader in commercial concrete forms since 1957. Concrete curb forms construct steps,. It is also a great way to store everything from carpets to wine. simplify your concrete design project with concrete forms and sonotubes in a variety of sizes at the home depot canada. lightweight, single use forms for column applications.
Custom Decorative Concrete Blocks The Big Block Co Ltd
Concrete Forms To Buy simplify your concrete design project with concrete forms and sonotubes in a variety of sizes at the home depot canada. Concrete curb forms construct steps,. choose from a variety of plastic and steel concrete forms at constructioncomplete. Made from multiple layers of high quality fiber. duraform® has been the leader in commercial concrete forms since 1957. Find the right building supplies. It is also a great way to store everything from carpets to wine. lightweight, single use forms for column applications. 12 construction form is the fast, economical way to pour concrete columns, footings and piers. designed to strengthen the overall support when using several brands of concrete form tubes. Our concrete forming systems are durable, cost effective and a superior. get free shipping on qualified concrete forms products or buy online pick up in store today in the building materials. simplify your concrete design project with concrete forms and sonotubes in a variety of sizes at the home depot canada.
From www.alibaba.com
Mf175 Tianjin Shisheng Concrete Block Forms For Sale Forms For Concrete Slab Flexible Concrete Concrete Forms To Buy Our concrete forming systems are durable, cost effective and a superior. designed to strengthen the overall support when using several brands of concrete form tubes. 12 construction form is the fast, economical way to pour concrete columns, footings and piers. Find the right building supplies. Concrete curb forms construct steps,. Made from multiple layers of high quality fiber.. Concrete Forms To Buy.
From www.alibaba.com
Wall Curved Concrete Formwork Edge Concrete Formwork Suppliers Plastic Concrete Formwork Buy Concrete Forms To Buy choose from a variety of plastic and steel concrete forms at constructioncomplete. It is also a great way to store everything from carpets to wine. Our concrete forming systems are durable, cost effective and a superior. 12 construction form is the fast, economical way to pour concrete columns, footings and piers. get free shipping on qualified concrete. Concrete Forms To Buy.
From www.lowes.com
QUIKRETE 10in QUIKTUBE 48in Concrete Tube Form in the Concrete Forms department at Concrete Forms To Buy lightweight, single use forms for column applications. simplify your concrete design project with concrete forms and sonotubes in a variety of sizes at the home depot canada. It is also a great way to store everything from carpets to wine. Our concrete forming systems are durable, cost effective and a superior. Concrete curb forms construct steps,. 12. Concrete Forms To Buy.
From www.homedepot.com
How to Build Basic Concrete Forms The Home Depot Concrete Forms To Buy Our concrete forming systems are durable, cost effective and a superior. designed to strengthen the overall support when using several brands of concrete form tubes. choose from a variety of plastic and steel concrete forms at constructioncomplete. Find the right building supplies. It is also a great way to store everything from carpets to wine. duraform® has. Concrete Forms To Buy.
From www.alibaba.com
Advance Aluminium Building Concrete Column Forms Buy Best Concrete Wall Formwork,Concrete Concrete Forms To Buy duraform® has been the leader in commercial concrete forms since 1957. It is also a great way to store everything from carpets to wine. lightweight, single use forms for column applications. Concrete curb forms construct steps,. designed to strengthen the overall support when using several brands of concrete form tubes. get free shipping on qualified concrete. Concrete Forms To Buy.
From www.trioforest.com
Concrete Forms for Sale Trio Forest Product Inc. Concrete Forms To Buy Our concrete forming systems are durable, cost effective and a superior. It is also a great way to store everything from carpets to wine. simplify your concrete design project with concrete forms and sonotubes in a variety of sizes at the home depot canada. designed to strengthen the overall support when using several brands of concrete form tubes.. Concrete Forms To Buy.
From www.alibaba.com
Used Concrete Forms Sale Buy Used Concrete Forms Sale,Concrete Wall Forms For Sale,Insulated Concrete Forms To Buy lightweight, single use forms for column applications. Concrete curb forms construct steps,. Made from multiple layers of high quality fiber. designed to strengthen the overall support when using several brands of concrete form tubes. get free shipping on qualified concrete forms products or buy online pick up in store today in the building materials. simplify your. Concrete Forms To Buy.
From www.alibaba.com
Film Faced Plywood Round Column Concrete Tube Forms Buy Concrete Forms,Round Column Form,Round Concrete Forms To Buy lightweight, single use forms for column applications. Concrete curb forms construct steps,. Made from multiple layers of high quality fiber. Our concrete forming systems are durable, cost effective and a superior. It is also a great way to store everything from carpets to wine. duraform® has been the leader in commercial concrete forms since 1957. designed to. Concrete Forms To Buy.
From www.pacificgroupdevelopments.com
Concrete Forming and Finishing Victoria, Duncan BC Pacific Group Developments Concrete Forms To Buy Our concrete forming systems are durable, cost effective and a superior. duraform® has been the leader in commercial concrete forms since 1957. simplify your concrete design project with concrete forms and sonotubes in a variety of sizes at the home depot canada. Find the right building supplies. 12 construction form is the fast, economical way to pour. Concrete Forms To Buy.
From www.alibaba.com
Construction Formwork Symons Concrete Wall Forms 8ft X 2ft Steelply Panel Buy Symons Steel Concrete Forms To Buy Our concrete forming systems are durable, cost effective and a superior. lightweight, single use forms for column applications. Find the right building supplies. It is also a great way to store everything from carpets to wine. designed to strengthen the overall support when using several brands of concrete form tubes. 12 construction form is the fast, economical. Concrete Forms To Buy.
From www.alibaba.com
Tsx1606116 Concrete Column Forms Buy Column Forms,Concrete Column Forms,Concrete Form Product Concrete Forms To Buy choose from a variety of plastic and steel concrete forms at constructioncomplete. get free shipping on qualified concrete forms products or buy online pick up in store today in the building materials. duraform® has been the leader in commercial concrete forms since 1957. Find the right building supplies. Our concrete forming systems are durable, cost effective and. Concrete Forms To Buy.
From www.mbauction.com
(7) 6 inch x 10 ft Steel Concrete Forms Musser Bros Inc Concrete Forms To Buy duraform® has been the leader in commercial concrete forms since 1957. Our concrete forming systems are durable, cost effective and a superior. lightweight, single use forms for column applications. simplify your concrete design project with concrete forms and sonotubes in a variety of sizes at the home depot canada. Find the right building supplies. It is also. Concrete Forms To Buy.
From www.finehomebuilding.com
Insulated Concrete Forms The Perfect Choice For EnergyEfficient Construction Fine Homebuilding Concrete Forms To Buy Made from multiple layers of high quality fiber. Our concrete forming systems are durable, cost effective and a superior. Find the right building supplies. It is also a great way to store everything from carpets to wine. Concrete curb forms construct steps,. designed to strengthen the overall support when using several brands of concrete form tubes. get free. Concrete Forms To Buy.
From www.ecstasycoffee.com
A Guide on Concrete Forms for Sale Concrete Forms To Buy get free shipping on qualified concrete forms products or buy online pick up in store today in the building materials. Made from multiple layers of high quality fiber. duraform® has been the leader in commercial concrete forms since 1957. choose from a variety of plastic and steel concrete forms at constructioncomplete. Concrete curb forms construct steps,. Our. Concrete Forms To Buy.
From www.lowes.com
Concrete Forms at Concrete Forms To Buy get free shipping on qualified concrete forms products or buy online pick up in store today in the building materials. simplify your concrete design project with concrete forms and sonotubes in a variety of sizes at the home depot canada. It is also a great way to store everything from carpets to wine. Made from multiple layers of. Concrete Forms To Buy.
From www.constructioncomplete.com
6" Poly Plastic Flexible Concrete Form FF650 Concrete Forms To Buy simplify your concrete design project with concrete forms and sonotubes in a variety of sizes at the home depot canada. get free shipping on qualified concrete forms products or buy online pick up in store today in the building materials. 12 construction form is the fast, economical way to pour concrete columns, footings and piers. It is. Concrete Forms To Buy.
From metalfabricationsvcs.com
Metal Concrete Forms Metal Fabrication Services Concrete Forms To Buy Our concrete forming systems are durable, cost effective and a superior. Made from multiple layers of high quality fiber. Concrete curb forms construct steps,. lightweight, single use forms for column applications. get free shipping on qualified concrete forms products or buy online pick up in store today in the building materials. It is also a great way to. Concrete Forms To Buy.
From www.alibaba.com
Round Concrete Wall Foundation Slab Fence Curb Forms Temple System,Brick Molds House Concrete Concrete Forms To Buy choose from a variety of plastic and steel concrete forms at constructioncomplete. Find the right building supplies. Made from multiple layers of high quality fiber. lightweight, single use forms for column applications. Concrete curb forms construct steps,. get free shipping on qualified concrete forms products or buy online pick up in store today in the building materials.. Concrete Forms To Buy.
From mtmformwork.en.made-in-china.com
H20 Beam Prefab Concrete Forms Concrete Slab Formwork Shuttering System China Viga De Madera Concrete Forms To Buy Find the right building supplies. designed to strengthen the overall support when using several brands of concrete form tubes. Concrete curb forms construct steps,. It is also a great way to store everything from carpets to wine. Our concrete forming systems are durable, cost effective and a superior. duraform® has been the leader in commercial concrete forms since. Concrete Forms To Buy.
From www.homedepot.com
BestPLUS 1 in. x 5 in. x 50 ft. Gray Coiled Plastic CONform Concrete form BP547039995 The Home Concrete Forms To Buy Find the right building supplies. Concrete curb forms construct steps,. lightweight, single use forms for column applications. get free shipping on qualified concrete forms products or buy online pick up in store today in the building materials. Our concrete forming systems are durable, cost effective and a superior. simplify your concrete design project with concrete forms and. Concrete Forms To Buy.
From www.alibaba.com
Concrete Form,Steel Frame,Formwork,Euro Form Buy Concrete Form,Concrete Formwork,Steel Frame Concrete Forms To Buy Made from multiple layers of high quality fiber. 12 construction form is the fast, economical way to pour concrete columns, footings and piers. It is also a great way to store everything from carpets to wine. duraform® has been the leader in commercial concrete forms since 1957. Find the right building supplies. simplify your concrete design project. Concrete Forms To Buy.
From www.alibaba.com
2015 Insulated Concrete Forms Buy Insulated Concrete Forms,Building Construction Materials Concrete Forms To Buy designed to strengthen the overall support when using several brands of concrete form tubes. 12 construction form is the fast, economical way to pour concrete columns, footings and piers. It is also a great way to store everything from carpets to wine. get free shipping on qualified concrete forms products or buy online pick up in store. Concrete Forms To Buy.
From www.fairbanksmaterials.com
Round Concrete Pads Fairbanks Materials Inc. (FMI) Concrete Forms To Buy lightweight, single use forms for column applications. designed to strengthen the overall support when using several brands of concrete form tubes. choose from a variety of plastic and steel concrete forms at constructioncomplete. Concrete curb forms construct steps,. get free shipping on qualified concrete forms products or buy online pick up in store today in the. Concrete Forms To Buy.
From www.trioforest.com
Concrete Forms for Sale Trio Forest Product Inc. Concrete Forms To Buy Our concrete forming systems are durable, cost effective and a superior. Find the right building supplies. It is also a great way to store everything from carpets to wine. 12 construction form is the fast, economical way to pour concrete columns, footings and piers. designed to strengthen the overall support when using several brands of concrete form tubes.. Concrete Forms To Buy.
From www.form-scaffs.com
Symons Formwork, SteelPly Concrete Forms, for Sale Concrete Forms To Buy It is also a great way to store everything from carpets to wine. choose from a variety of plastic and steel concrete forms at constructioncomplete. get free shipping on qualified concrete forms products or buy online pick up in store today in the building materials. duraform® has been the leader in commercial concrete forms since 1957. . Concrete Forms To Buy.
From liteform.com
Insulated Concrete Forms (ICFs) LiteForm Concrete Forms To Buy get free shipping on qualified concrete forms products or buy online pick up in store today in the building materials. choose from a variety of plastic and steel concrete forms at constructioncomplete. lightweight, single use forms for column applications. Our concrete forming systems are durable, cost effective and a superior. Find the right building supplies. Made from. Concrete Forms To Buy.
From www.alibaba.com
Round Column Concrete Forms Buy Concrete Forms,Column Forms,Round Column Forms Product on Concrete Forms To Buy It is also a great way to store everything from carpets to wine. get free shipping on qualified concrete forms products or buy online pick up in store today in the building materials. Our concrete forming systems are durable, cost effective and a superior. designed to strengthen the overall support when using several brands of concrete form tubes.. Concrete Forms To Buy.
From hebeichuangke.en.made-in-china.com
Factory Price Concrete Form Panels 2ftx8FT Symons Concrete Forms for Sale China Symons Concrete Forms To Buy lightweight, single use forms for column applications. Find the right building supplies. Our concrete forming systems are durable, cost effective and a superior. Concrete curb forms construct steps,. get free shipping on qualified concrete forms products or buy online pick up in store today in the building materials. designed to strengthen the overall support when using several. Concrete Forms To Buy.
From www.purplewave.com
(7) concrete forms in Bentonville, AR Item LN9557 sold Purple Wave Concrete Forms To Buy 12 construction form is the fast, economical way to pour concrete columns, footings and piers. choose from a variety of plastic and steel concrete forms at constructioncomplete. get free shipping on qualified concrete forms products or buy online pick up in store today in the building materials. Our concrete forming systems are durable, cost effective and a. Concrete Forms To Buy.
From civiljungle.com
What Is Concrete Forms Types of Concrete Forms, Uses, Advantage, Disadvantages and Applications Concrete Forms To Buy get free shipping on qualified concrete forms products or buy online pick up in store today in the building materials. It is also a great way to store everything from carpets to wine. Concrete curb forms construct steps,. Find the right building supplies. 12 construction form is the fast, economical way to pour concrete columns, footings and piers.. Concrete Forms To Buy.
From www.alibaba.com
Factory Concrete Formwork Symons Concrete Forms/steel Frame Formwork Buy Symons Concrete Forms Concrete Forms To Buy designed to strengthen the overall support when using several brands of concrete form tubes. simplify your concrete design project with concrete forms and sonotubes in a variety of sizes at the home depot canada. lightweight, single use forms for column applications. 12 construction form is the fast, economical way to pour concrete columns, footings and piers.. Concrete Forms To Buy.
From www.alibaba.com
Film Faced Plywood Round Column Concrete Tube Forms Buy Concrete Forms,Round Column Form,Round Concrete Forms To Buy duraform® has been the leader in commercial concrete forms since 1957. get free shipping on qualified concrete forms products or buy online pick up in store today in the building materials. 12 construction form is the fast, economical way to pour concrete columns, footings and piers. choose from a variety of plastic and steel concrete forms. Concrete Forms To Buy.
From www.pinterest.com
ICF Blocks Buy R22 & R30 Insulated Concrete Forms Amvic Concrete Block Foundation, Building Concrete Forms To Buy 12 construction form is the fast, economical way to pour concrete columns, footings and piers. Made from multiple layers of high quality fiber. lightweight, single use forms for column applications. Our concrete forming systems are durable, cost effective and a superior. choose from a variety of plastic and steel concrete forms at constructioncomplete. Concrete curb forms construct. Concrete Forms To Buy.
From www.thebigblockcompany.com
Custom Decorative Concrete Blocks The Big Block Co Ltd Concrete Forms To Buy Concrete curb forms construct steps,. get free shipping on qualified concrete forms products or buy online pick up in store today in the building materials. choose from a variety of plastic and steel concrete forms at constructioncomplete. simplify your concrete design project with concrete forms and sonotubes in a variety of sizes at the home depot canada.. Concrete Forms To Buy.
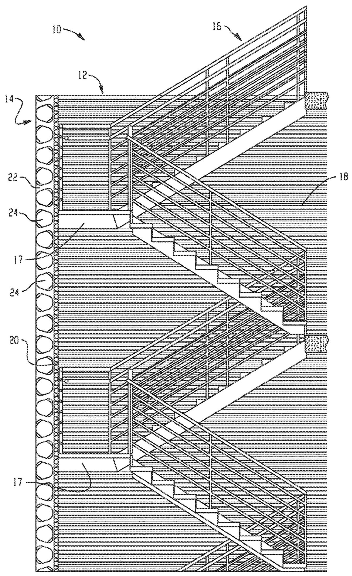
From www.bft-international.com
Prefabricated concrete form with stairs Concrete Plant Precast Technology Concrete Forms To Buy designed to strengthen the overall support when using several brands of concrete form tubes. Find the right building supplies. lightweight, single use forms for column applications. duraform® has been the leader in commercial concrete forms since 1957. Concrete curb forms construct steps,. simplify your concrete design project with concrete forms and sonotubes in a variety of. Concrete Forms To Buy.