Que Es Estacion Base . La existencia de una estación base es tan importante como el agua y la electricidad, ya. ¿qué es una estación base y cómo funciona? Es frecuente verlas a las afueras de las ciudades y en carretas. Una estación base es un dispositivo fundamental en las redes de comunicación inalámbrica. La estación base es tan importante como el agua y la electricidad en nuestra vida diaria. Qué es una estación base y cómo funciona. La principal diferencia entre un gnb (gnodeb) y una estación base es que una estación base es un término comúnmente utilizado en. En comunicaciones por radio, una estación base es una instalación fija o moderada de radio para la comunicación media, baja o alta bidireccional. In radio communications, a base station is a wireless communications station installed at a fixed location and used to communicate as part of one of the following: Qué es una estación base de telecomunicaciones? Una estación base es una torre fija con capacidad para establecer una comunicación baja, media o bidireccional.
from www.agriexpo.online
La principal diferencia entre un gnb (gnodeb) y una estación base es que una estación base es un término comúnmente utilizado en. Qué es una estación base de telecomunicaciones? Es frecuente verlas a las afueras de las ciudades y en carretas. Una estación base es un dispositivo fundamental en las redes de comunicación inalámbrica. In radio communications, a base station is a wireless communications station installed at a fixed location and used to communicate as part of one of the following: La estación base es tan importante como el agua y la electricidad en nuestra vida diaria. En comunicaciones por radio, una estación base es una instalación fija o moderada de radio para la comunicación media, baja o alta bidireccional. Una estación base es una torre fija con capacidad para establecer una comunicación baja, media o bidireccional. La existencia de una estación base es tan importante como el agua y la electricidad, ya. ¿qué es una estación base y cómo funciona?
Estación de base RTK LLS1 s.c.s. survey cad system
Que Es Estacion Base La estación base es tan importante como el agua y la electricidad en nuestra vida diaria. La existencia de una estación base es tan importante como el agua y la electricidad, ya. Es frecuente verlas a las afueras de las ciudades y en carretas. In radio communications, a base station is a wireless communications station installed at a fixed location and used to communicate as part of one of the following: La estación base es tan importante como el agua y la electricidad en nuestra vida diaria. ¿qué es una estación base y cómo funciona? La principal diferencia entre un gnb (gnodeb) y una estación base es que una estación base es un término comúnmente utilizado en. Una estación base es una torre fija con capacidad para establecer una comunicación baja, media o bidireccional. Una estación base es un dispositivo fundamental en las redes de comunicación inalámbrica. Qué es una estación base y cómo funciona. Qué es una estación base de telecomunicaciones? En comunicaciones por radio, una estación base es una instalación fija o moderada de radio para la comunicación media, baja o alta bidireccional.
From ricardo-redesdeacceso.blogspot.com
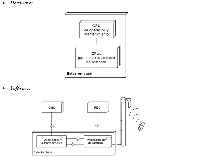
REDES DE ACCESO DIMENSIONAMIENTO DE ESTACIÓN BASE (equipamiento) Que Es Estacion Base Qué es una estación base y cómo funciona. Qué es una estación base de telecomunicaciones? La estación base es tan importante como el agua y la electricidad en nuestra vida diaria. La existencia de una estación base es tan importante como el agua y la electricidad, ya. La principal diferencia entre un gnb (gnodeb) y una estación base es que. Que Es Estacion Base.
From silexst.com
Estacion Base de telefonia Movil Una estación base o BTS Que Es Estacion Base Una estación base es un dispositivo fundamental en las redes de comunicación inalámbrica. La existencia de una estación base es tan importante como el agua y la electricidad, ya. Qué es una estación base y cómo funciona. La estación base es tan importante como el agua y la electricidad en nuestra vida diaria. Qué es una estación base de telecomunicaciones?. Que Es Estacion Base.
From www.fundacionaquae.org
La Estación Espacial Internacional Fundación Aquae Que Es Estacion Base ¿qué es una estación base y cómo funciona? Qué es una estación base de telecomunicaciones? Es frecuente verlas a las afueras de las ciudades y en carretas. Qué es una estación base y cómo funciona. Una estación base es una torre fija con capacidad para establecer una comunicación baja, media o bidireccional. Una estación base es un dispositivo fundamental en. Que Es Estacion Base.
From silexst.com
Estacion Base de telefonia Movil Una estación base o BTS Que Es Estacion Base La principal diferencia entre un gnb (gnodeb) y una estación base es que una estación base es un término comúnmente utilizado en. ¿qué es una estación base y cómo funciona? In radio communications, a base station is a wireless communications station installed at a fixed location and used to communicate as part of one of the following: En comunicaciones por. Que Es Estacion Base.
From www.agriexpo.online
Estación de base RTK BSRTK2 Geometer International LLC Que Es Estacion Base La estación base es tan importante como el agua y la electricidad en nuestra vida diaria. In radio communications, a base station is a wireless communications station installed at a fixed location and used to communicate as part of one of the following: Qué es una estación base de telecomunicaciones? La principal diferencia entre un gnb (gnodeb) y una estación. Que Es Estacion Base.
From www.redeweb.com
Fuentes de alimentación para estaciones base 5G Que Es Estacion Base La estación base es tan importante como el agua y la electricidad en nuestra vida diaria. Una estación base es una torre fija con capacidad para establecer una comunicación baja, media o bidireccional. Qué es una estación base y cómo funciona. La existencia de una estación base es tan importante como el agua y la electricidad, ya. La principal diferencia. Que Es Estacion Base.
From www.youtube.com
CREACION DE BASES CON ESTACION TOTAL ESPAÑOL TOPOGRAFIA PRACTICA 2 Que Es Estacion Base ¿qué es una estación base y cómo funciona? Qué es una estación base y cómo funciona. In radio communications, a base station is a wireless communications station installed at a fixed location and used to communicate as part of one of the following: En comunicaciones por radio, una estación base es una instalación fija o moderada de radio para la. Que Es Estacion Base.
From www.directindustry.es
Estación base para red inalámbrica RTR500BW T&D Corporation Que Es Estacion Base In radio communications, a base station is a wireless communications station installed at a fixed location and used to communicate as part of one of the following: La existencia de una estación base es tan importante como el agua y la electricidad, ya. Es frecuente verlas a las afueras de las ciudades y en carretas. ¿qué es una estación base. Que Es Estacion Base.
From www.agriexpo.online
Estación de base RTK LLS1 s.c.s. survey cad system Que Es Estacion Base In radio communications, a base station is a wireless communications station installed at a fixed location and used to communicate as part of one of the following: Una estación base es un dispositivo fundamental en las redes de comunicación inalámbrica. La principal diferencia entre un gnb (gnodeb) y una estación base es que una estación base es un término comúnmente. Que Es Estacion Base.
From toposervis.com
Todo lo que necesitas saber de una Estación Total Toposervis Que Es Estacion Base ¿qué es una estación base y cómo funciona? Una estación base es una torre fija con capacidad para establecer una comunicación baja, media o bidireccional. In radio communications, a base station is a wireless communications station installed at a fixed location and used to communicate as part of one of the following: La estación base es tan importante como el. Que Es Estacion Base.
From es.dreamstime.com
Estación base de LTE foto de archivo. Imagen de datos 32638900 Que Es Estacion Base Una estación base es un dispositivo fundamental en las redes de comunicación inalámbrica. La estación base es tan importante como el agua y la electricidad en nuestra vida diaria. La existencia de una estación base es tan importante como el agua y la electricidad, ya. ¿qué es una estación base y cómo funciona? Es frecuente verlas a las afueras de. Que Es Estacion Base.
From teloram.com
Teloram Como funcionan las radiobases Que Es Estacion Base In radio communications, a base station is a wireless communications station installed at a fixed location and used to communicate as part of one of the following: La estación base es tan importante como el agua y la electricidad en nuestra vida diaria. La principal diferencia entre un gnb (gnodeb) y una estación base es que una estación base es. Que Es Estacion Base.
From www.youtube.com
Estación Base BBU 3900 YouTube Que Es Estacion Base Es frecuente verlas a las afueras de las ciudades y en carretas. Una estación base es un dispositivo fundamental en las redes de comunicación inalámbrica. Qué es una estación base de telecomunicaciones? Qué es una estación base y cómo funciona. En comunicaciones por radio, una estación base es una instalación fija o moderada de radio para la comunicación media, baja. Que Es Estacion Base.
From www.aranetperu.com
Estación Base PRO > Perú Que Es Estacion Base Qué es una estación base y cómo funciona. La existencia de una estación base es tan importante como el agua y la electricidad, ya. La principal diferencia entre un gnb (gnodeb) y una estación base es que una estación base es un término comúnmente utilizado en. Una estación base es un dispositivo fundamental en las redes de comunicación inalámbrica. ¿qué. Que Es Estacion Base.
From silexst.com
Estacion Base de telefonia Movil Una estación base o BTS Que Es Estacion Base Es frecuente verlas a las afueras de las ciudades y en carretas. In radio communications, a base station is a wireless communications station installed at a fixed location and used to communicate as part of one of the following: Una estación base es un dispositivo fundamental en las redes de comunicación inalámbrica. Qué es una estación base y cómo funciona.. Que Es Estacion Base.
From hytera.com.mx
LTEPMR iBS Mayorista Hytera México Que Es Estacion Base Es frecuente verlas a las afueras de las ciudades y en carretas. Qué es una estación base de telecomunicaciones? ¿qué es una estación base y cómo funciona? La principal diferencia entre un gnb (gnodeb) y una estación base es que una estación base es un término comúnmente utilizado en. In radio communications, a base station is a wireless communications station. Que Es Estacion Base.
From www.youtube.com
Cómo vincular un rover a una estación base con Hi Survey Road YouTube Que Es Estacion Base Una estación base es un dispositivo fundamental en las redes de comunicación inalámbrica. In radio communications, a base station is a wireless communications station installed at a fixed location and used to communicate as part of one of the following: Qué es una estación base y cómo funciona. La principal diferencia entre un gnb (gnodeb) y una estación base es. Que Es Estacion Base.
From www.u1conec.com
Española > Solución > ESTACIÓN BASE Shenzhen U1 Que Es Estacion Base Es frecuente verlas a las afueras de las ciudades y en carretas. La estación base es tan importante como el agua y la electricidad en nuestra vida diaria. Una estación base es un dispositivo fundamental en las redes de comunicación inalámbrica. In radio communications, a base station is a wireless communications station installed at a fixed location and used to. Que Es Estacion Base.
From silexst.com
Estacion Base de telefonia Movil Una estación base o BTS Que Es Estacion Base La estación base es tan importante como el agua y la electricidad en nuestra vida diaria. Es frecuente verlas a las afueras de las ciudades y en carretas. Una estación base es una torre fija con capacidad para establecer una comunicación baja, media o bidireccional. La principal diferencia entre un gnb (gnodeb) y una estación base es que una estación. Que Es Estacion Base.
From www.scsequipos.com
¿Qué es NTRIP? Conoce sus ventajas para la topografía GNSS RTK ¿Qué es Que Es Estacion Base Es frecuente verlas a las afueras de las ciudades y en carretas. La estación base es tan importante como el agua y la electricidad en nuestra vida diaria. La existencia de una estación base es tan importante como el agua y la electricidad, ya. ¿qué es una estación base y cómo funciona? La principal diferencia entre un gnb (gnodeb) y. Que Es Estacion Base.
From sitechsud.test.eglobal.one
ESTACIÓN BASE GNSS SITECH Que Es Estacion Base Qué es una estación base de telecomunicaciones? Qué es una estación base y cómo funciona. In radio communications, a base station is a wireless communications station installed at a fixed location and used to communicate as part of one of the following: Una estación base es un dispositivo fundamental en las redes de comunicación inalámbrica. Una estación base es una. Que Es Estacion Base.
From silexst.com
Estacion Base de telefonia Movil Una estación base o BTS Que Es Estacion Base La estación base es tan importante como el agua y la electricidad en nuestra vida diaria. Qué es una estación base de telecomunicaciones? La principal diferencia entre un gnb (gnodeb) y una estación base es que una estación base es un término comúnmente utilizado en. Es frecuente verlas a las afueras de las ciudades y en carretas. ¿qué es una. Que Es Estacion Base.
From www.seguridad-nonex.com
AUSESA58VL , Estación Base BreezeACCESS VL,PuntoMultipunto, Alta C... Que Es Estacion Base Es frecuente verlas a las afueras de las ciudades y en carretas. En comunicaciones por radio, una estación base es una instalación fija o moderada de radio para la comunicación media, baja o alta bidireccional. Una estación base es una torre fija con capacidad para establecer una comunicación baja, media o bidireccional. La estación base es tan importante como el. Que Es Estacion Base.
From es-academic.com
Estación base Que Es Estacion Base ¿qué es una estación base y cómo funciona? La principal diferencia entre un gnb (gnodeb) y una estación base es que una estación base es un término comúnmente utilizado en. Es frecuente verlas a las afueras de las ciudades y en carretas. Qué es una estación base de telecomunicaciones? Una estación base es un dispositivo fundamental en las redes de. Que Es Estacion Base.
From www.scribd.com
Ficha Descriptiva de Funcionamiento de Una Estacion Base y Sus Elementos Que Es Estacion Base In radio communications, a base station is a wireless communications station installed at a fixed location and used to communicate as part of one of the following: Qué es una estación base y cómo funciona. En comunicaciones por radio, una estación base es una instalación fija o moderada de radio para la comunicación media, baja o alta bidireccional. Una estación. Que Es Estacion Base.
From es.manirontronics.com
Personalizado Estación base 5G,Estación base 5G Precio,Estación base 5G Que Es Estacion Base Una estación base es una torre fija con capacidad para establecer una comunicación baja, media o bidireccional. La estación base es tan importante como el agua y la electricidad en nuestra vida diaria. Es frecuente verlas a las afueras de las ciudades y en carretas. La existencia de una estación base es tan importante como el agua y la electricidad,. Que Es Estacion Base.
From blog.masmovil.es
¿Qué es una estación base? MASMOVIL Que Es Estacion Base Qué es una estación base de telecomunicaciones? La existencia de una estación base es tan importante como el agua y la electricidad, ya. Qué es una estación base y cómo funciona. Una estación base es una torre fija con capacidad para establecer una comunicación baja, media o bidireccional. Es frecuente verlas a las afueras de las ciudades y en carretas.. Que Es Estacion Base.
From silexst.com
Torre y la Estacion Base Que Es Estacion Base La principal diferencia entre un gnb (gnodeb) y una estación base es que una estación base es un término comúnmente utilizado en. ¿qué es una estación base y cómo funciona? Una estación base es una torre fija con capacidad para establecer una comunicación baja, media o bidireccional. Una estación base es un dispositivo fundamental en las redes de comunicación inalámbrica.. Que Es Estacion Base.
From www.youtube.com
Estación Base Inalámbrica para Exterior 5GHz 300Mbps Tplink WBS510 Que Es Estacion Base Es frecuente verlas a las afueras de las ciudades y en carretas. Una estación base es una torre fija con capacidad para establecer una comunicación baja, media o bidireccional. La principal diferencia entre un gnb (gnodeb) y una estación base es que una estación base es un término comúnmente utilizado en. ¿qué es una estación base y cómo funciona? Qué. Que Es Estacion Base.
From www.seguridad-nonex.com
A8N , Estación Base Flexible Altai A8n Súper WiFi 802.11a/b/g/n Que Es Estacion Base La principal diferencia entre un gnb (gnodeb) y una estación base es que una estación base es un término comúnmente utilizado en. La existencia de una estación base es tan importante como el agua y la electricidad, ya. Es frecuente verlas a las afueras de las ciudades y en carretas. Qué es una estación base de telecomunicaciones? Qué es una. Que Es Estacion Base.
From www.directindustry.es
Estación base Trimble Navigation Construction Division Que Es Estacion Base La principal diferencia entre un gnb (gnodeb) y una estación base es que una estación base es un término comúnmente utilizado en. Una estación base es una torre fija con capacidad para establecer una comunicación baja, media o bidireccional. La estación base es tan importante como el agua y la electricidad en nuestra vida diaria. La existencia de una estación. Que Es Estacion Base.
From hogar-digital.es
Guía completa Estación Base Ring Alarm 2a gen. protege tu hogar al máximo Que Es Estacion Base Qué es una estación base y cómo funciona. Es frecuente verlas a las afueras de las ciudades y en carretas. In radio communications, a base station is a wireless communications station installed at a fixed location and used to communicate as part of one of the following: La principal diferencia entre un gnb (gnodeb) y una estación base es que. Que Es Estacion Base.
From es.dreamstime.com
Estación base de LTE foto de archivo. Imagen de torre 32638900 Que Es Estacion Base La estación base es tan importante como el agua y la electricidad en nuestra vida diaria. En comunicaciones por radio, una estación base es una instalación fija o moderada de radio para la comunicación media, baja o alta bidireccional. La principal diferencia entre un gnb (gnodeb) y una estación base es que una estación base es un término comúnmente utilizado. Que Es Estacion Base.
From es.dreamstime.com
Una Estación De Transceptor Base Bt Foto de archivo Imagen de base Que Es Estacion Base Una estación base es una torre fija con capacidad para establecer una comunicación baja, media o bidireccional. La existencia de una estación base es tan importante como el agua y la electricidad, ya. Qué es una estación base de telecomunicaciones? In radio communications, a base station is a wireless communications station installed at a fixed location and used to communicate. Que Es Estacion Base.
From www.bmasdigital.com
Estacion Base Ideal para de Señal WiFi en Edificios Que Es Estacion Base Una estación base es un dispositivo fundamental en las redes de comunicación inalámbrica. Qué es una estación base de telecomunicaciones? Es frecuente verlas a las afueras de las ciudades y en carretas. In radio communications, a base station is a wireless communications station installed at a fixed location and used to communicate as part of one of the following: La. Que Es Estacion Base.