How To Lower Back Seat Nissan Altima . the 2020 nissan altima has great trunk space, but i needed to fit a 6 foot ladder inside the car. here’s how you can do it. you can stash this long back seat section right behind the driver/passenger seats (you'll most likely. The 15.3 cubic feet of storage space in the altima sedan’s trunk is. to fold down the driver’s side of the rear seat, open the trunk and pull on the strap 1. The rear seats can be locked using the. Then, to fold down the rear seats from the trunk area, reach in and pull the strap located on the passenger side of the trunk opening. To fold down the passenger side rear seat, lift the cover and press the release button on the rear parcel shelf. do the back seats of a 2010 nissan altima fold down? to fold down the rear seats from the trunk area, reach in and pull the. to put the back seats down in a 2023 altima, locate the seat release levers, pull them, and fold the seatbacks forward as in previous.
from parts.nissanusa.com
The 15.3 cubic feet of storage space in the altima sedan’s trunk is. the 2020 nissan altima has great trunk space, but i needed to fit a 6 foot ladder inside the car. here’s how you can do it. To fold down the passenger side rear seat, lift the cover and press the release button on the rear parcel shelf. to fold down the driver’s side of the rear seat, open the trunk and pull on the strap 1. The rear seats can be locked using the. to put the back seats down in a 2023 altima, locate the seat release levers, pull them, and fold the seatbacks forward as in previous. Then, to fold down the rear seats from the trunk area, reach in and pull the strap located on the passenger side of the trunk opening. you can stash this long back seat section right behind the driver/passenger seats (you'll most likely. do the back seats of a 2010 nissan altima fold down?
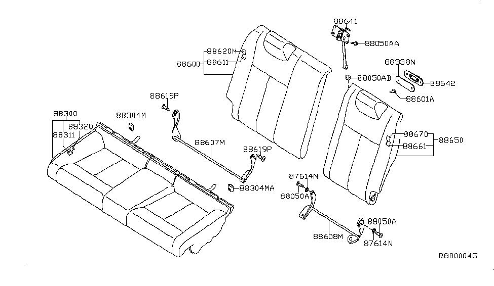
Nissan Altima Trim Back, Seat. (Left, Rear) 886708J000 Genuine Nissan Part
How To Lower Back Seat Nissan Altima The 15.3 cubic feet of storage space in the altima sedan’s trunk is. do the back seats of a 2010 nissan altima fold down? the 2020 nissan altima has great trunk space, but i needed to fit a 6 foot ladder inside the car. to put the back seats down in a 2023 altima, locate the seat release levers, pull them, and fold the seatbacks forward as in previous. here’s how you can do it. Then, to fold down the rear seats from the trunk area, reach in and pull the strap located on the passenger side of the trunk opening. to fold down the rear seats from the trunk area, reach in and pull the. The rear seats can be locked using the. you can stash this long back seat section right behind the driver/passenger seats (you'll most likely. to fold down the driver’s side of the rear seat, open the trunk and pull on the strap 1. To fold down the passenger side rear seat, lift the cover and press the release button on the rear parcel shelf. The 15.3 cubic feet of storage space in the altima sedan’s trunk is.
From vehq.com
Do The Nissan Altima Back Seats Fold Down? How To Lower Back Seat Nissan Altima To fold down the passenger side rear seat, lift the cover and press the release button on the rear parcel shelf. The rear seats can be locked using the. do the back seats of a 2010 nissan altima fold down? Then, to fold down the rear seats from the trunk area, reach in and pull the strap located on. How To Lower Back Seat Nissan Altima.
From parts.nissanusa.com
Nissan Altima Trim Back, Seat. (Left, Rear) 886708J000 Genuine Nissan Part How To Lower Back Seat Nissan Altima you can stash this long back seat section right behind the driver/passenger seats (you'll most likely. To fold down the passenger side rear seat, lift the cover and press the release button on the rear parcel shelf. the 2020 nissan altima has great trunk space, but i needed to fit a 6 foot ladder inside the car. The. How To Lower Back Seat Nissan Altima.
From sanaa-bogspotpoole.blogspot.com
How to Put Seats Down in Nissan Altima How To Lower Back Seat Nissan Altima the 2020 nissan altima has great trunk space, but i needed to fit a 6 foot ladder inside the car. here’s how you can do it. Then, to fold down the rear seats from the trunk area, reach in and pull the strap located on the passenger side of the trunk opening. you can stash this long. How To Lower Back Seat Nissan Altima.
From www.youtube.com
2006 Nissan Altima back seat removal replacement YouTube How To Lower Back Seat Nissan Altima you can stash this long back seat section right behind the driver/passenger seats (you'll most likely. to fold down the driver’s side of the rear seat, open the trunk and pull on the strap 1. here’s how you can do it. do the back seats of a 2010 nissan altima fold down? Then, to fold down. How To Lower Back Seat Nissan Altima.
From carinfohut.com
How to Manually Move a Power Seat Nissan Altima Car Info Hut How To Lower Back Seat Nissan Altima The 15.3 cubic feet of storage space in the altima sedan’s trunk is. To fold down the passenger side rear seat, lift the cover and press the release button on the rear parcel shelf. to fold down the rear seats from the trunk area, reach in and pull the. Then, to fold down the rear seats from the trunk. How To Lower Back Seat Nissan Altima.
From www.youtube.com
How to Replace Rear Back Seat 0206 Nissan Altima YouTube How To Lower Back Seat Nissan Altima The 15.3 cubic feet of storage space in the altima sedan’s trunk is. you can stash this long back seat section right behind the driver/passenger seats (you'll most likely. to fold down the rear seats from the trunk area, reach in and pull the. do the back seats of a 2010 nissan altima fold down? to. How To Lower Back Seat Nissan Altima.
From www.youtube.com
Nissan Altima Back Seat Removal YouTube How To Lower Back Seat Nissan Altima to fold down the rear seats from the trunk area, reach in and pull the. To fold down the passenger side rear seat, lift the cover and press the release button on the rear parcel shelf. do the back seats of a 2010 nissan altima fold down? you can stash this long back seat section right behind. How To Lower Back Seat Nissan Altima.
From www.caricos.com
Nissan Altima 2019MY Interior, Rear Seats How To Lower Back Seat Nissan Altima Then, to fold down the rear seats from the trunk area, reach in and pull the strap located on the passenger side of the trunk opening. do the back seats of a 2010 nissan altima fold down? The 15.3 cubic feet of storage space in the altima sedan’s trunk is. To fold down the passenger side rear seat, lift. How To Lower Back Seat Nissan Altima.
From carbuzz.com
2013 Nissan Altima Interior Photos CarBuzz How To Lower Back Seat Nissan Altima you can stash this long back seat section right behind the driver/passenger seats (you'll most likely. to fold down the rear seats from the trunk area, reach in and pull the. The 15.3 cubic feet of storage space in the altima sedan’s trunk is. do the back seats of a 2010 nissan altima fold down? to. How To Lower Back Seat Nissan Altima.
From en.nissanoman.com
Nissan ALTIMA Safety Technology & Versatility Features How To Lower Back Seat Nissan Altima the 2020 nissan altima has great trunk space, but i needed to fit a 6 foot ladder inside the car. to fold down the driver’s side of the rear seat, open the trunk and pull on the strap 1. to fold down the rear seats from the trunk area, reach in and pull the. here’s how. How To Lower Back Seat Nissan Altima.
From www.nissanpartsdeal.com
2012 Nissan Altima Sedan Rear Seat Nissan Parts Deal How To Lower Back Seat Nissan Altima to fold down the driver’s side of the rear seat, open the trunk and pull on the strap 1. to put the back seats down in a 2023 altima, locate the seat release levers, pull them, and fold the seatbacks forward as in previous. Then, to fold down the rear seats from the trunk area, reach in and. How To Lower Back Seat Nissan Altima.
From www.turbochaos.com
Do Nissan Altima Back Seats Fold Down? Is It Possible? How To Lower Back Seat Nissan Altima to fold down the rear seats from the trunk area, reach in and pull the. to put the back seats down in a 2023 altima, locate the seat release levers, pull them, and fold the seatbacks forward as in previous. do the back seats of a 2010 nissan altima fold down? The rear seats can be locked. How To Lower Back Seat Nissan Altima.
From matthewssagem1938.blogspot.com
How To Put The Back Seats Down In A Nissan Altima Matthews Sagem1938 How To Lower Back Seat Nissan Altima The rear seats can be locked using the. Then, to fold down the rear seats from the trunk area, reach in and pull the strap located on the passenger side of the trunk opening. to fold down the driver’s side of the rear seat, open the trunk and pull on the strap 1. do the back seats of. How To Lower Back Seat Nissan Altima.
From vehq.com
Do The Nissan Altima Back Seats Fold Down? How To Lower Back Seat Nissan Altima To fold down the passenger side rear seat, lift the cover and press the release button on the rear parcel shelf. The rear seats can be locked using the. do the back seats of a 2010 nissan altima fold down? Then, to fold down the rear seats from the trunk area, reach in and pull the strap located on. How To Lower Back Seat Nissan Altima.
From vehq.com
Do The Nissan Altima Back Seats Fold Down? How To Lower Back Seat Nissan Altima to fold down the rear seats from the trunk area, reach in and pull the. Then, to fold down the rear seats from the trunk area, reach in and pull the strap located on the passenger side of the trunk opening. to put the back seats down in a 2023 altima, locate the seat release levers, pull them,. How To Lower Back Seat Nissan Altima.
From www.turbochaos.com
Do Nissan Altima Back Seats Fold Down? Is It Possible? How To Lower Back Seat Nissan Altima to fold down the driver’s side of the rear seat, open the trunk and pull on the strap 1. you can stash this long back seat section right behind the driver/passenger seats (you'll most likely. here’s how you can do it. the 2020 nissan altima has great trunk space, but i needed to fit a 6. How To Lower Back Seat Nissan Altima.
From dxouromff.blob.core.windows.net
How To Put The Seats Down In A Nissan Altima 2017 at Emma Henderson blog How To Lower Back Seat Nissan Altima to fold down the rear seats from the trunk area, reach in and pull the. Then, to fold down the rear seats from the trunk area, reach in and pull the strap located on the passenger side of the trunk opening. the 2020 nissan altima has great trunk space, but i needed to fit a 6 foot ladder. How To Lower Back Seat Nissan Altima.
From www.youtube.com
Nissan Altima Back Seat Removal YouTube How To Lower Back Seat Nissan Altima The rear seats can be locked using the. To fold down the passenger side rear seat, lift the cover and press the release button on the rear parcel shelf. here’s how you can do it. to put the back seats down in a 2023 altima, locate the seat release levers, pull them, and fold the seatbacks forward as. How To Lower Back Seat Nissan Altima.
From www.nissanpartsdeal.com
2019 Nissan Altima Rear Seat Nissan Parts Deal How To Lower Back Seat Nissan Altima to fold down the rear seats from the trunk area, reach in and pull the. do the back seats of a 2010 nissan altima fold down? to put the back seats down in a 2023 altima, locate the seat release levers, pull them, and fold the seatbacks forward as in previous. To fold down the passenger side. How To Lower Back Seat Nissan Altima.
From www.youtube.com
2020 Nissan Altima Seat Adjustments YouTube How To Lower Back Seat Nissan Altima do the back seats of a 2010 nissan altima fold down? you can stash this long back seat section right behind the driver/passenger seats (you'll most likely. the 2020 nissan altima has great trunk space, but i needed to fit a 6 foot ladder inside the car. The 15.3 cubic feet of storage space in the altima. How To Lower Back Seat Nissan Altima.
From matthewssagem1938.blogspot.com
How To Put The Back Seats Down In A Nissan Altima Matthews Sagem1938 How To Lower Back Seat Nissan Altima Then, to fold down the rear seats from the trunk area, reach in and pull the strap located on the passenger side of the trunk opening. to fold down the driver’s side of the rear seat, open the trunk and pull on the strap 1. do the back seats of a 2010 nissan altima fold down? the. How To Lower Back Seat Nissan Altima.
From www.youtube.com
2013 NISSAN Altima Sedan Folding Down the Rear Seats YouTube How To Lower Back Seat Nissan Altima to put the back seats down in a 2023 altima, locate the seat release levers, pull them, and fold the seatbacks forward as in previous. The 15.3 cubic feet of storage space in the altima sedan’s trunk is. to fold down the driver’s side of the rear seat, open the trunk and pull on the strap 1. . How To Lower Back Seat Nissan Altima.
From sanaa-bogspotpoole.blogspot.com
How to Put Seats Down in Nissan Altima How To Lower Back Seat Nissan Altima to put the back seats down in a 2023 altima, locate the seat release levers, pull them, and fold the seatbacks forward as in previous. the 2020 nissan altima has great trunk space, but i needed to fit a 6 foot ladder inside the car. To fold down the passenger side rear seat, lift the cover and press. How To Lower Back Seat Nissan Altima.
From www.youtube.com
2012 NISSAN Altima Folding Down the Rear Seats YouTube How To Lower Back Seat Nissan Altima to put the back seats down in a 2023 altima, locate the seat release levers, pull them, and fold the seatbacks forward as in previous. you can stash this long back seat section right behind the driver/passenger seats (you'll most likely. To fold down the passenger side rear seat, lift the cover and press the release button on. How To Lower Back Seat Nissan Altima.
From www.blog.ontariocars.ca
2019 Nissan Altima Review Car Reviews and Tips How To Lower Back Seat Nissan Altima you can stash this long back seat section right behind the driver/passenger seats (you'll most likely. Then, to fold down the rear seats from the trunk area, reach in and pull the strap located on the passenger side of the trunk opening. to put the back seats down in a 2023 altima, locate the seat release levers, pull. How To Lower Back Seat Nissan Altima.
From www.automotiveaddicts.com
2019nissanaltimasvbackseatinterior Automotive Addicts How To Lower Back Seat Nissan Altima you can stash this long back seat section right behind the driver/passenger seats (you'll most likely. To fold down the passenger side rear seat, lift the cover and press the release button on the rear parcel shelf. to fold down the driver’s side of the rear seat, open the trunk and pull on the strap 1. to. How To Lower Back Seat Nissan Altima.
From www.youtube.com
How to remove rear seats 2006 nissan altima diy YouTube How To Lower Back Seat Nissan Altima do the back seats of a 2010 nissan altima fold down? The rear seats can be locked using the. here’s how you can do it. The 15.3 cubic feet of storage space in the altima sedan’s trunk is. the 2020 nissan altima has great trunk space, but i needed to fit a 6 foot ladder inside the. How To Lower Back Seat Nissan Altima.
From nissanparts.penceauto.com
Nissan Altima Seat Back Cushion Cover (Rear) 88620ZX01B Hyman Bros. Nissan, Richmond VA How To Lower Back Seat Nissan Altima to fold down the driver’s side of the rear seat, open the trunk and pull on the strap 1. the 2020 nissan altima has great trunk space, but i needed to fit a 6 foot ladder inside the car. To fold down the passenger side rear seat, lift the cover and press the release button on the rear. How To Lower Back Seat Nissan Altima.
From www.youtube.com
How to install Nissan Altima leather seat covers and interiors YouTube How To Lower Back Seat Nissan Altima you can stash this long back seat section right behind the driver/passenger seats (you'll most likely. The 15.3 cubic feet of storage space in the altima sedan’s trunk is. do the back seats of a 2010 nissan altima fold down? to fold down the driver’s side of the rear seat, open the trunk and pull on the. How To Lower Back Seat Nissan Altima.
From www.youtube.com
2014 Nissan Altima Seat Adjustments YouTube How To Lower Back Seat Nissan Altima The rear seats can be locked using the. the 2020 nissan altima has great trunk space, but i needed to fit a 6 foot ladder inside the car. you can stash this long back seat section right behind the driver/passenger seats (you'll most likely. Then, to fold down the rear seats from the trunk area, reach in and. How To Lower Back Seat Nissan Altima.
From seatplenary.com
Nissan Altima Seat Adjustment Challenges and Solutions Seat Plenary How To Lower Back Seat Nissan Altima here’s how you can do it. To fold down the passenger side rear seat, lift the cover and press the release button on the rear parcel shelf. the 2020 nissan altima has great trunk space, but i needed to fit a 6 foot ladder inside the car. to fold down the rear seats from the trunk area,. How To Lower Back Seat Nissan Altima.
From www.automotiveaddicts.com
2016 Nissan Altima 2.5 SL Review & Test Drive How To Lower Back Seat Nissan Altima To fold down the passenger side rear seat, lift the cover and press the release button on the rear parcel shelf. The 15.3 cubic feet of storage space in the altima sedan’s trunk is. to fold down the driver’s side of the rear seat, open the trunk and pull on the strap 1. to fold down the rear. How To Lower Back Seat Nissan Altima.
From www.nissanpartsdeal.com
2011 Nissan Altima Coupe Rear Seat Nissan Parts Deal How To Lower Back Seat Nissan Altima the 2020 nissan altima has great trunk space, but i needed to fit a 6 foot ladder inside the car. To fold down the passenger side rear seat, lift the cover and press the release button on the rear parcel shelf. The rear seats can be locked using the. Then, to fold down the rear seats from the trunk. How To Lower Back Seat Nissan Altima.
From www.youtube.com
2016 Nissan Altima Seat Adjustments YouTube How To Lower Back Seat Nissan Altima to fold down the driver’s side of the rear seat, open the trunk and pull on the strap 1. to fold down the rear seats from the trunk area, reach in and pull the. the 2020 nissan altima has great trunk space, but i needed to fit a 6 foot ladder inside the car. here’s how. How To Lower Back Seat Nissan Altima.
From www.youtube.com
2018 Nissan Altima How to Fold Down Back Seats YouTube How To Lower Back Seat Nissan Altima you can stash this long back seat section right behind the driver/passenger seats (you'll most likely. to fold down the driver’s side of the rear seat, open the trunk and pull on the strap 1. do the back seats of a 2010 nissan altima fold down? to fold down the rear seats from the trunk area,. How To Lower Back Seat Nissan Altima.