Magnetic Bearing Patent . Supporting a rotating shaft with a vertical axis of rotation requires a magnetic bearing that is both a rotational bearing and a. A magnetic bearing control method used in a gas laser apparatus including a laser chamber in which a laser gas is encapsulated, a pair of. An improved passive magnetic bearing (pmb) for rotating machineries and rotating machineries integrating the bearing are configured to. Certain exemplary embodiments comprise a. Patent document 1 provides an example of an axial magnetic bearing including a rotating member (drive shaft), a tab axially. A magnetic bearing system for support of a body, such as an energy storage flywheel, for rotational about a substantially vertical axis of rotation. Search specific patents by importing a csv or list of patent publication or application numbers. A magnetic bearing comprising a low reluctance magnetic circuit have first and second air gaps in a magnetic series path, first magnet.
from www.google.com
A magnetic bearing comprising a low reluctance magnetic circuit have first and second air gaps in a magnetic series path, first magnet. A magnetic bearing system for support of a body, such as an energy storage flywheel, for rotational about a substantially vertical axis of rotation. A magnetic bearing control method used in a gas laser apparatus including a laser chamber in which a laser gas is encapsulated, a pair of. Certain exemplary embodiments comprise a. Supporting a rotating shaft with a vertical axis of rotation requires a magnetic bearing that is both a rotational bearing and a. Search specific patents by importing a csv or list of patent publication or application numbers. An improved passive magnetic bearing (pmb) for rotating machineries and rotating machineries integrating the bearing are configured to. Patent document 1 provides an example of an axial magnetic bearing including a rotating member (drive shaft), a tab axially.
Patent US8330311 thrust bearing with integrated electronics
Magnetic Bearing Patent A magnetic bearing control method used in a gas laser apparatus including a laser chamber in which a laser gas is encapsulated, a pair of. Patent document 1 provides an example of an axial magnetic bearing including a rotating member (drive shaft), a tab axially. An improved passive magnetic bearing (pmb) for rotating machineries and rotating machineries integrating the bearing are configured to. A magnetic bearing system for support of a body, such as an energy storage flywheel, for rotational about a substantially vertical axis of rotation. Search specific patents by importing a csv or list of patent publication or application numbers. Certain exemplary embodiments comprise a. A magnetic bearing comprising a low reluctance magnetic circuit have first and second air gaps in a magnetic series path, first magnet. Supporting a rotating shaft with a vertical axis of rotation requires a magnetic bearing that is both a rotational bearing and a. A magnetic bearing control method used in a gas laser apparatus including a laser chamber in which a laser gas is encapsulated, a pair of.
From www.google.com
Patent US6262505 Flywheel power supply having axial bearing Magnetic Bearing Patent A magnetic bearing control method used in a gas laser apparatus including a laser chamber in which a laser gas is encapsulated, a pair of. A magnetic bearing comprising a low reluctance magnetic circuit have first and second air gaps in a magnetic series path, first magnet. A magnetic bearing system for support of a body, such as an energy. Magnetic Bearing Patent.
From spindrive.fi
Customized design for Active Bearings SpinDrive Magnetic Bearing Patent A magnetic bearing system for support of a body, such as an energy storage flywheel, for rotational about a substantially vertical axis of rotation. A magnetic bearing control method used in a gas laser apparatus including a laser chamber in which a laser gas is encapsulated, a pair of. Certain exemplary embodiments comprise a. Search specific patents by importing a. Magnetic Bearing Patent.
From eureka.patsnap.com
Active radial bearing phased array Eureka Patsnap develop Magnetic Bearing Patent An improved passive magnetic bearing (pmb) for rotating machineries and rotating machineries integrating the bearing are configured to. Supporting a rotating shaft with a vertical axis of rotation requires a magnetic bearing that is both a rotational bearing and a. A magnetic bearing comprising a low reluctance magnetic circuit have first and second air gaps in a magnetic series path,. Magnetic Bearing Patent.
From www.google.com
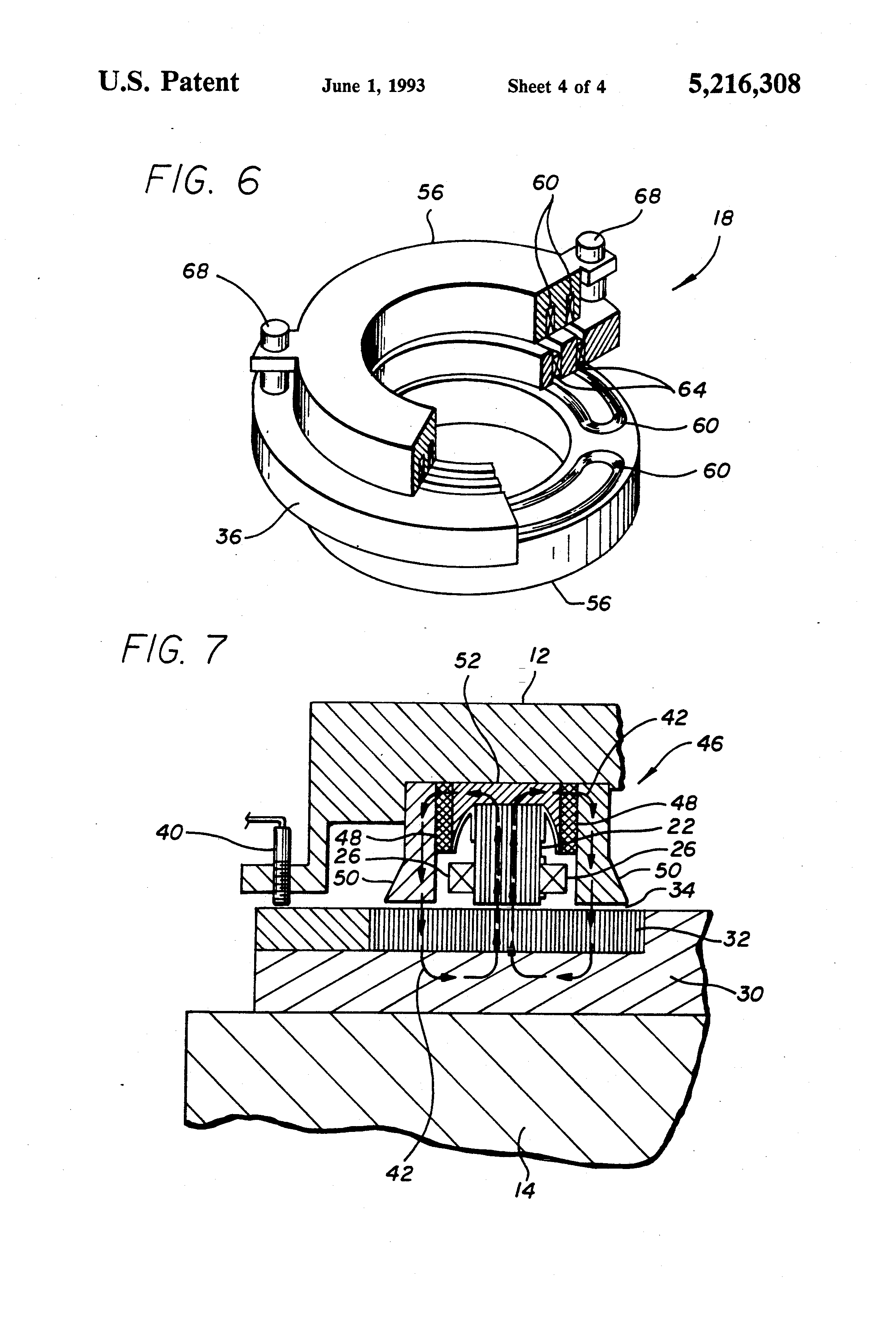
Patent US5216308 bearing structure providing radial, axial Magnetic Bearing Patent A magnetic bearing control method used in a gas laser apparatus including a laser chamber in which a laser gas is encapsulated, a pair of. An improved passive magnetic bearing (pmb) for rotating machineries and rotating machineries integrating the bearing are configured to. Supporting a rotating shaft with a vertical axis of rotation requires a magnetic bearing that is both. Magnetic Bearing Patent.
From www.google.com
Patent US8330311 thrust bearing with integrated electronics Magnetic Bearing Patent Certain exemplary embodiments comprise a. Search specific patents by importing a csv or list of patent publication or application numbers. A magnetic bearing system for support of a body, such as an energy storage flywheel, for rotational about a substantially vertical axis of rotation. A magnetic bearing control method used in a gas laser apparatus including a laser chamber in. Magnetic Bearing Patent.
From www.google.de
Patent US6198803 Bearing assembly including rotating element and Magnetic Bearing Patent A magnetic bearing comprising a low reluctance magnetic circuit have first and second air gaps in a magnetic series path, first magnet. Certain exemplary embodiments comprise a. Patent document 1 provides an example of an axial magnetic bearing including a rotating member (drive shaft), a tab axially. A magnetic bearing control method used in a gas laser apparatus including a. Magnetic Bearing Patent.
From www.google.com
Patent US5315197 thrust bearing using passive and Magnetic Bearing Patent Patent document 1 provides an example of an axial magnetic bearing including a rotating member (drive shaft), a tab axially. Search specific patents by importing a csv or list of patent publication or application numbers. A magnetic bearing comprising a low reluctance magnetic circuit have first and second air gaps in a magnetic series path, first magnet. Certain exemplary embodiments. Magnetic Bearing Patent.
From www.google.com
Patent US6262505 Flywheel power supply having axial bearing Magnetic Bearing Patent Patent document 1 provides an example of an axial magnetic bearing including a rotating member (drive shaft), a tab axially. Search specific patents by importing a csv or list of patent publication or application numbers. A magnetic bearing control method used in a gas laser apparatus including a laser chamber in which a laser gas is encapsulated, a pair of.. Magnetic Bearing Patent.
From www.google.com
Patent US5216308 bearing structure providing radial, axial Magnetic Bearing Patent An improved passive magnetic bearing (pmb) for rotating machineries and rotating machineries integrating the bearing are configured to. Search specific patents by importing a csv or list of patent publication or application numbers. Certain exemplary embodiments comprise a. Patent document 1 provides an example of an axial magnetic bearing including a rotating member (drive shaft), a tab axially. A magnetic. Magnetic Bearing Patent.
From www.google.com
Patent US5216308 bearing structure providing radial, axial Magnetic Bearing Patent A magnetic bearing system for support of a body, such as an energy storage flywheel, for rotational about a substantially vertical axis of rotation. Patent document 1 provides an example of an axial magnetic bearing including a rotating member (drive shaft), a tab axially. Search specific patents by importing a csv or list of patent publication or application numbers. A. Magnetic Bearing Patent.
From uspto.report
Active bearing control for downholetype system Patent Grant Magnetic Bearing Patent Supporting a rotating shaft with a vertical axis of rotation requires a magnetic bearing that is both a rotational bearing and a. A magnetic bearing comprising a low reluctance magnetic circuit have first and second air gaps in a magnetic series path, first magnet. A magnetic bearing control method used in a gas laser apparatus including a laser chamber in. Magnetic Bearing Patent.
From uspto.report
Landing bearing assembly and rotary machine equipped with such an Magnetic Bearing Patent Search specific patents by importing a csv or list of patent publication or application numbers. An improved passive magnetic bearing (pmb) for rotating machineries and rotating machineries integrating the bearing are configured to. Patent document 1 provides an example of an axial magnetic bearing including a rotating member (drive shaft), a tab axially. A magnetic bearing control method used in. Magnetic Bearing Patent.
From eureka.patsnap.com
Passive bearing configurations Eureka Patsnap develop Magnetic Bearing Patent Patent document 1 provides an example of an axial magnetic bearing including a rotating member (drive shaft), a tab axially. An improved passive magnetic bearing (pmb) for rotating machineries and rotating machineries integrating the bearing are configured to. A magnetic bearing control method used in a gas laser apparatus including a laser chamber in which a laser gas is encapsulated,. Magnetic Bearing Patent.
From www.google.com
Patent US6794780 bearing system Google Patents Magnetic Bearing Patent An improved passive magnetic bearing (pmb) for rotating machineries and rotating machineries integrating the bearing are configured to. A magnetic bearing control method used in a gas laser apparatus including a laser chamber in which a laser gas is encapsulated, a pair of. Certain exemplary embodiments comprise a. A magnetic bearing system for support of a body, such as an. Magnetic Bearing Patent.
From academic.csuohio.edu
Active Bearings and Control Center for Rotating Machinery Magnetic Bearing Patent An improved passive magnetic bearing (pmb) for rotating machineries and rotating machineries integrating the bearing are configured to. Patent document 1 provides an example of an axial magnetic bearing including a rotating member (drive shaft), a tab axially. Search specific patents by importing a csv or list of patent publication or application numbers. A magnetic bearing comprising a low reluctance. Magnetic Bearing Patent.
From www.researchgate.net
bearing patent [1]. Download Scientific Diagram Magnetic Bearing Patent Supporting a rotating shaft with a vertical axis of rotation requires a magnetic bearing that is both a rotational bearing and a. Certain exemplary embodiments comprise a. A magnetic bearing comprising a low reluctance magnetic circuit have first and second air gaps in a magnetic series path, first magnet. An improved passive magnetic bearing (pmb) for rotating machineries and rotating. Magnetic Bearing Patent.
From www.google.ca
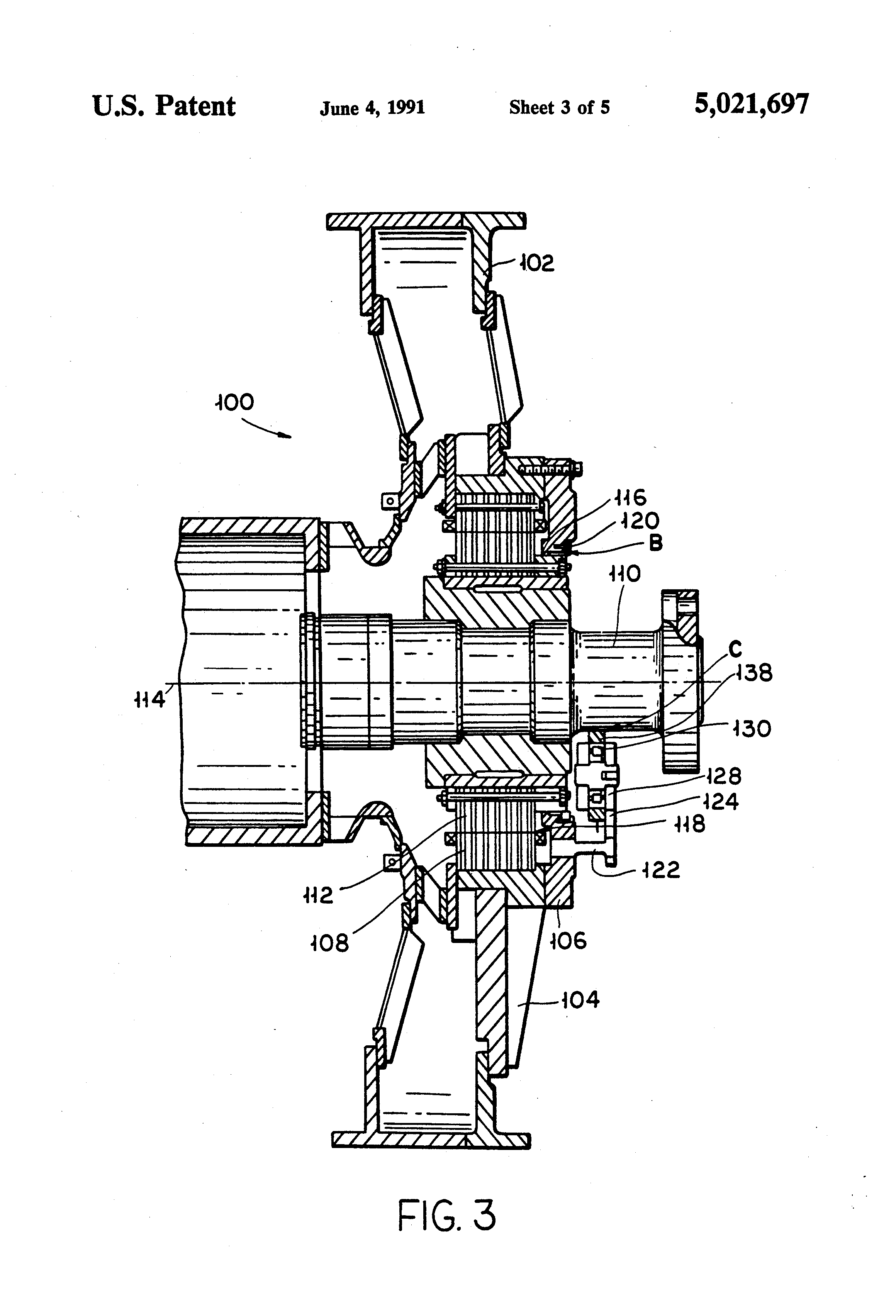
Patent US5021697 Auxiliary bearing design for active Magnetic Bearing Patent Certain exemplary embodiments comprise a. A magnetic bearing comprising a low reluctance magnetic circuit have first and second air gaps in a magnetic series path, first magnet. A magnetic bearing control method used in a gas laser apparatus including a laser chamber in which a laser gas is encapsulated, a pair of. Supporting a rotating shaft with a vertical axis. Magnetic Bearing Patent.
From www.researchgate.net
(a) A typical bearing system [23] includes a long shaft and Magnetic Bearing Patent Search specific patents by importing a csv or list of patent publication or application numbers. Supporting a rotating shaft with a vertical axis of rotation requires a magnetic bearing that is both a rotational bearing and a. Certain exemplary embodiments comprise a. A magnetic bearing comprising a low reluctance magnetic circuit have first and second air gaps in a magnetic. Magnetic Bearing Patent.
From eureka.patsnap.com
Active radial bearing phased array Eureka Patsnap develop Magnetic Bearing Patent A magnetic bearing system for support of a body, such as an energy storage flywheel, for rotational about a substantially vertical axis of rotation. An improved passive magnetic bearing (pmb) for rotating machineries and rotating machineries integrating the bearing are configured to. A magnetic bearing comprising a low reluctance magnetic circuit have first and second air gaps in a magnetic. Magnetic Bearing Patent.
From eureka.patsnap.com
bearing centrifugal compressor and controlling method thereof Magnetic Bearing Patent Certain exemplary embodiments comprise a. A magnetic bearing comprising a low reluctance magnetic circuit have first and second air gaps in a magnetic series path, first magnet. Supporting a rotating shaft with a vertical axis of rotation requires a magnetic bearing that is both a rotational bearing and a. An improved passive magnetic bearing (pmb) for rotating machineries and rotating. Magnetic Bearing Patent.
From eureka.patsnap.com
bearing control method and device, bearing and Magnetic Bearing Patent A magnetic bearing comprising a low reluctance magnetic circuit have first and second air gaps in a magnetic series path, first magnet. A magnetic bearing control method used in a gas laser apparatus including a laser chamber in which a laser gas is encapsulated, a pair of. Certain exemplary embodiments comprise a. A magnetic bearing system for support of a. Magnetic Bearing Patent.
From www.engineeringclicks.com
Bearings The mechanical engineer's guide EngineeringClicks Magnetic Bearing Patent A magnetic bearing control method used in a gas laser apparatus including a laser chamber in which a laser gas is encapsulated, a pair of. A magnetic bearing comprising a low reluctance magnetic circuit have first and second air gaps in a magnetic series path, first magnet. Patent document 1 provides an example of an axial magnetic bearing including a. Magnetic Bearing Patent.
From uspto.report
Landing bearing assembly and rotary machine equipped with such an Magnetic Bearing Patent Certain exemplary embodiments comprise a. Patent document 1 provides an example of an axial magnetic bearing including a rotating member (drive shaft), a tab axially. Supporting a rotating shaft with a vertical axis of rotation requires a magnetic bearing that is both a rotational bearing and a. A magnetic bearing system for support of a body, such as an energy. Magnetic Bearing Patent.
From spindrive.fi
Applications of active bearings SpinDrive Magnetic Bearing Patent A magnetic bearing system for support of a body, such as an energy storage flywheel, for rotational about a substantially vertical axis of rotation. A magnetic bearing comprising a low reluctance magnetic circuit have first and second air gaps in a magnetic series path, first magnet. A magnetic bearing control method used in a gas laser apparatus including a laser. Magnetic Bearing Patent.
From www.mdpi.com
Applied Sciences Free FullText Control Performance, Stability Magnetic Bearing Patent Search specific patents by importing a csv or list of patent publication or application numbers. A magnetic bearing system for support of a body, such as an energy storage flywheel, for rotational about a substantially vertical axis of rotation. A magnetic bearing control method used in a gas laser apparatus including a laser chamber in which a laser gas is. Magnetic Bearing Patent.
From www.google.ca
Patent US8110955 bearing device of a rotor shaft against a Magnetic Bearing Patent A magnetic bearing control method used in a gas laser apparatus including a laser chamber in which a laser gas is encapsulated, a pair of. Patent document 1 provides an example of an axial magnetic bearing including a rotating member (drive shaft), a tab axially. A magnetic bearing system for support of a body, such as an energy storage flywheel,. Magnetic Bearing Patent.
From www.google.com.au
Patent US5561335 Integrated passive bearing system and Magnetic Bearing Patent A magnetic bearing control method used in a gas laser apparatus including a laser chamber in which a laser gas is encapsulated, a pair of. A magnetic bearing system for support of a body, such as an energy storage flywheel, for rotational about a substantially vertical axis of rotation. An improved passive magnetic bearing (pmb) for rotating machineries and rotating. Magnetic Bearing Patent.
From www.google.com
Patent US20110001379 Passive bearing Google Patents Magnetic Bearing Patent Patent document 1 provides an example of an axial magnetic bearing including a rotating member (drive shaft), a tab axially. A magnetic bearing control method used in a gas laser apparatus including a laser chamber in which a laser gas is encapsulated, a pair of. An improved passive magnetic bearing (pmb) for rotating machineries and rotating machineries integrating the bearing. Magnetic Bearing Patent.
From uspto.report
Landing bearing assembly and rotary machine equipped with such an Magnetic Bearing Patent A magnetic bearing comprising a low reluctance magnetic circuit have first and second air gaps in a magnetic series path, first magnet. Supporting a rotating shaft with a vertical axis of rotation requires a magnetic bearing that is both a rotational bearing and a. Certain exemplary embodiments comprise a. A magnetic bearing control method used in a gas laser apparatus. Magnetic Bearing Patent.
From www.celeroton.com
bearing Celeroton Magnetic Bearing Patent Search specific patents by importing a csv or list of patent publication or application numbers. A magnetic bearing system for support of a body, such as an energy storage flywheel, for rotational about a substantially vertical axis of rotation. Certain exemplary embodiments comprise a. Patent document 1 provides an example of an axial magnetic bearing including a rotating member (drive. Magnetic Bearing Patent.
From www.engineeringclicks.com
Bearings The mechanical engineer's guide EngineeringClicks Magnetic Bearing Patent A magnetic bearing comprising a low reluctance magnetic circuit have first and second air gaps in a magnetic series path, first magnet. A magnetic bearing control method used in a gas laser apparatus including a laser chamber in which a laser gas is encapsulated, a pair of. Certain exemplary embodiments comprise a. Search specific patents by importing a csv or. Magnetic Bearing Patent.
From www.youtube.com
Bearing Operating Principle and Components YouTube Magnetic Bearing Patent Certain exemplary embodiments comprise a. Patent document 1 provides an example of an axial magnetic bearing including a rotating member (drive shaft), a tab axially. A magnetic bearing comprising a low reluctance magnetic circuit have first and second air gaps in a magnetic series path, first magnet. An improved passive magnetic bearing (pmb) for rotating machineries and rotating machineries integrating. Magnetic Bearing Patent.
From eureka.patsnap.com
Design method for permanent bias inner rotor radial Magnetic Bearing Patent Certain exemplary embodiments comprise a. Search specific patents by importing a csv or list of patent publication or application numbers. An improved passive magnetic bearing (pmb) for rotating machineries and rotating machineries integrating the bearing are configured to. A magnetic bearing comprising a low reluctance magnetic circuit have first and second air gaps in a magnetic series path, first magnet.. Magnetic Bearing Patent.
From www.engineeringclicks.com
bearings Magnetic Bearing Patent A magnetic bearing system for support of a body, such as an energy storage flywheel, for rotational about a substantially vertical axis of rotation. Certain exemplary embodiments comprise a. An improved passive magnetic bearing (pmb) for rotating machineries and rotating machineries integrating the bearing are configured to. A magnetic bearing comprising a low reluctance magnetic circuit have first and second. Magnetic Bearing Patent.
From mechanicstips.blogspot.com
How Bearings Work MechanicsTips Magnetic Bearing Patent An improved passive magnetic bearing (pmb) for rotating machineries and rotating machineries integrating the bearing are configured to. A magnetic bearing comprising a low reluctance magnetic circuit have first and second air gaps in a magnetic series path, first magnet. A magnetic bearing system for support of a body, such as an energy storage flywheel, for rotational about a substantially. Magnetic Bearing Patent.