Hydraulic Valve Overlap . Valves with more than 3% center overlap are called proportional valves, and any degree of overlap will always result in a reduction in flow gain right at the graph origin. Proportional to servo nominal rating, multiply. Servo to proportional nominal rating, divide by square root 7. A zero lapped valve is one in which any tiny, differentially small amount of spool shift, either way, starts the opening. Applications requiring reproducibility of rapid/slow speed profiling, and smooth acceleration and deceleration. Valve lap, or valve overlap, refers to the amount of spool travel from the center position required to start opening between the powered input port and the work (output) port or the tank port. Because there is always leakage in spool valves, flow variations take place all through the overlap, or dead zone of the valve.
from x6t.s3-web.jp-tok.cloud-object-storage.appdomain.cloud
Servo to proportional nominal rating, divide by square root 7. Because there is always leakage in spool valves, flow variations take place all through the overlap, or dead zone of the valve. Applications requiring reproducibility of rapid/slow speed profiling, and smooth acceleration and deceleration. Valve lap, or valve overlap, refers to the amount of spool travel from the center position required to start opening between the powered input port and the work (output) port or the tank port. Proportional to servo nominal rating, multiply. A zero lapped valve is one in which any tiny, differentially small amount of spool shift, either way, starts the opening. Valves with more than 3% center overlap are called proportional valves, and any degree of overlap will always result in a reduction in flow gain right at the graph origin.
Diaphragm Compressor Category Page
Hydraulic Valve Overlap Applications requiring reproducibility of rapid/slow speed profiling, and smooth acceleration and deceleration. Proportional to servo nominal rating, multiply. Valves with more than 3% center overlap are called proportional valves, and any degree of overlap will always result in a reduction in flow gain right at the graph origin. Because there is always leakage in spool valves, flow variations take place all through the overlap, or dead zone of the valve. Servo to proportional nominal rating, divide by square root 7. Applications requiring reproducibility of rapid/slow speed profiling, and smooth acceleration and deceleration. Valve lap, or valve overlap, refers to the amount of spool travel from the center position required to start opening between the powered input port and the work (output) port or the tank port. A zero lapped valve is one in which any tiny, differentially small amount of spool shift, either way, starts the opening.
From www.hydraulicspneumatics.com
Questions Answered on Electrohydraulic Control Hydraulics & Pneumatics Hydraulic Valve Overlap Because there is always leakage in spool valves, flow variations take place all through the overlap, or dead zone of the valve. Valves with more than 3% center overlap are called proportional valves, and any degree of overlap will always result in a reduction in flow gain right at the graph origin. Applications requiring reproducibility of rapid/slow speed profiling, and. Hydraulic Valve Overlap.
From www.researchgate.net
Positive valve overlap (PVO) and negative valve overlap (NVO) valve Hydraulic Valve Overlap Valves with more than 3% center overlap are called proportional valves, and any degree of overlap will always result in a reduction in flow gain right at the graph origin. Because there is always leakage in spool valves, flow variations take place all through the overlap, or dead zone of the valve. Applications requiring reproducibility of rapid/slow speed profiling, and. Hydraulic Valve Overlap.
From testbook.com
Valve Overlap Definition, Diagram, Purpose, and Calculation Hydraulic Valve Overlap Servo to proportional nominal rating, divide by square root 7. Because there is always leakage in spool valves, flow variations take place all through the overlap, or dead zone of the valve. Applications requiring reproducibility of rapid/slow speed profiling, and smooth acceleration and deceleration. Valves with more than 3% center overlap are called proportional valves, and any degree of overlap. Hydraulic Valve Overlap.
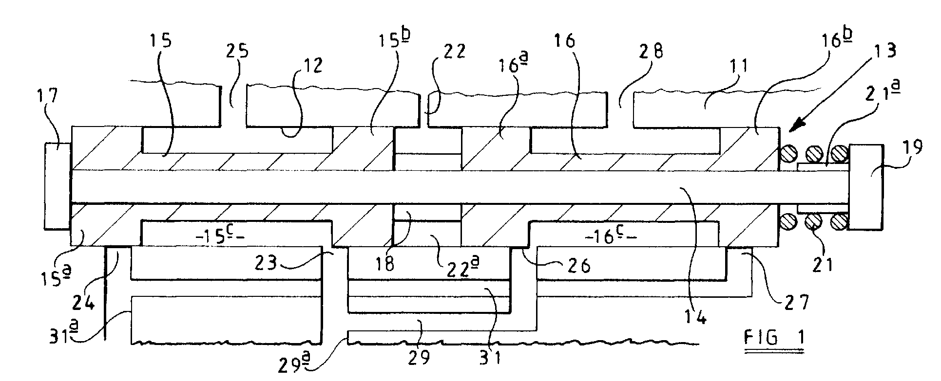
From patents.google.com
EP0860612A2 Spool valve with adjustable overlap Google Patents Hydraulic Valve Overlap Servo to proportional nominal rating, divide by square root 7. Proportional to servo nominal rating, multiply. A zero lapped valve is one in which any tiny, differentially small amount of spool shift, either way, starts the opening. Valve lap, or valve overlap, refers to the amount of spool travel from the center position required to start opening between the powered. Hydraulic Valve Overlap.
From rockhydraulic.com
Tokimec Hydraulic Valve DG4V56CMP9LTR740 Rock Hydraulic Trader Hydraulic Valve Overlap Proportional to servo nominal rating, multiply. Servo to proportional nominal rating, divide by square root 7. Because there is always leakage in spool valves, flow variations take place all through the overlap, or dead zone of the valve. A zero lapped valve is one in which any tiny, differentially small amount of spool shift, either way, starts the opening. Valve. Hydraulic Valve Overlap.
From www.slideserve.com
PPT Principles of Engine Operation, Two and FourStroke Engines Hydraulic Valve Overlap Servo to proportional nominal rating, divide by square root 7. Proportional to servo nominal rating, multiply. Because there is always leakage in spool valves, flow variations take place all through the overlap, or dead zone of the valve. Applications requiring reproducibility of rapid/slow speed profiling, and smooth acceleration and deceleration. A zero lapped valve is one in which any tiny,. Hydraulic Valve Overlap.
From www.semanticscholar.org
Figure 1 from Checking procedures of spool valve overlap and ports Hydraulic Valve Overlap Servo to proportional nominal rating, divide by square root 7. A zero lapped valve is one in which any tiny, differentially small amount of spool shift, either way, starts the opening. Because there is always leakage in spool valves, flow variations take place all through the overlap, or dead zone of the valve. Proportional to servo nominal rating, multiply. Valve. Hydraulic Valve Overlap.
From www.youtube.com
Sliding and Rotary Spool Valve Animation Directional Control Valve Hydraulic Valve Overlap A zero lapped valve is one in which any tiny, differentially small amount of spool shift, either way, starts the opening. Applications requiring reproducibility of rapid/slow speed profiling, and smooth acceleration and deceleration. Because there is always leakage in spool valves, flow variations take place all through the overlap, or dead zone of the valve. Valves with more than 3%. Hydraulic Valve Overlap.
From www.kikshardware.ph
Hydraulic Concealed Hinges H1full H2overlap H3inset USA Quality Hydraulic Valve Overlap Valves with more than 3% center overlap are called proportional valves, and any degree of overlap will always result in a reduction in flow gain right at the graph origin. A zero lapped valve is one in which any tiny, differentially small amount of spool shift, either way, starts the opening. Servo to proportional nominal rating, divide by square root. Hydraulic Valve Overlap.
From www.onallcylinders.com
Mailbag Explaining Valve Overlap for Camshafts Hydraulic Valve Overlap Servo to proportional nominal rating, divide by square root 7. Valve lap, or valve overlap, refers to the amount of spool travel from the center position required to start opening between the powered input port and the work (output) port or the tank port. A zero lapped valve is one in which any tiny, differentially small amount of spool shift,. Hydraulic Valve Overlap.
From www.hydraulicspneumatics.com
Questions Answered on Electrohydraulic Control Hydraulics & Pneumatics Hydraulic Valve Overlap Valves with more than 3% center overlap are called proportional valves, and any degree of overlap will always result in a reduction in flow gain right at the graph origin. Applications requiring reproducibility of rapid/slow speed profiling, and smooth acceleration and deceleration. Proportional to servo nominal rating, multiply. Servo to proportional nominal rating, divide by square root 7. Because there. Hydraulic Valve Overlap.
From elephant-power1.en.made-in-china.com
Original Parts Hydraulic Direction Valves Walvoil SD5 China Log Hydraulic Valve Overlap Servo to proportional nominal rating, divide by square root 7. Proportional to servo nominal rating, multiply. Because there is always leakage in spool valves, flow variations take place all through the overlap, or dead zone of the valve. A zero lapped valve is one in which any tiny, differentially small amount of spool shift, either way, starts the opening. Valve. Hydraulic Valve Overlap.
From www.ebay.ie
FORBO SIEGLING ENDLESS, OVERLAP SPLICE GG 10P30 GG10P30 GREEN 22MM W 6 Hydraulic Valve Overlap Valves with more than 3% center overlap are called proportional valves, and any degree of overlap will always result in a reduction in flow gain right at the graph origin. Because there is always leakage in spool valves, flow variations take place all through the overlap, or dead zone of the valve. Servo to proportional nominal rating, divide by square. Hydraulic Valve Overlap.
From www.powermotiontech.com
Asymmetrical overlap Power & Motion Hydraulic Valve Overlap Because there is always leakage in spool valves, flow variations take place all through the overlap, or dead zone of the valve. Valve lap, or valve overlap, refers to the amount of spool travel from the center position required to start opening between the powered input port and the work (output) port or the tank port. A zero lapped valve. Hydraulic Valve Overlap.
From www.mecholic.com
Lead, Lag, and Overlap In the Valve Timing Diagram and Their Advantages Hydraulic Valve Overlap Proportional to servo nominal rating, multiply. Servo to proportional nominal rating, divide by square root 7. A zero lapped valve is one in which any tiny, differentially small amount of spool shift, either way, starts the opening. Applications requiring reproducibility of rapid/slow speed profiling, and smooth acceleration and deceleration. Because there is always leakage in spool valves, flow variations take. Hydraulic Valve Overlap.
From www.pinterest.com
HYDRAULIC VALVES Hydraulic, Hydraulic systems, Control valves Hydraulic Valve Overlap A zero lapped valve is one in which any tiny, differentially small amount of spool shift, either way, starts the opening. Applications requiring reproducibility of rapid/slow speed profiling, and smooth acceleration and deceleration. Valve lap, or valve overlap, refers to the amount of spool travel from the center position required to start opening between the powered input port and the. Hydraulic Valve Overlap.
From www.numerade.com
SOLVED a) What is hydraulic valve overlap? b) Why is some amount of Hydraulic Valve Overlap Applications requiring reproducibility of rapid/slow speed profiling, and smooth acceleration and deceleration. Valve lap, or valve overlap, refers to the amount of spool travel from the center position required to start opening between the powered input port and the work (output) port or the tank port. Proportional to servo nominal rating, multiply. Valves with more than 3% center overlap are. Hydraulic Valve Overlap.
From carbiketech.com
What is Valve Timing & How It Affects Engine Performance?CarBikeTech Hydraulic Valve Overlap Valves with more than 3% center overlap are called proportional valves, and any degree of overlap will always result in a reduction in flow gain right at the graph origin. Because there is always leakage in spool valves, flow variations take place all through the overlap, or dead zone of the valve. Proportional to servo nominal rating, multiply. Valve lap,. Hydraulic Valve Overlap.
From mkd.systems
Smart Servo Valve Technology MKD Systems LLC Hydraulic Valve Overlap Servo to proportional nominal rating, divide by square root 7. Applications requiring reproducibility of rapid/slow speed profiling, and smooth acceleration and deceleration. Proportional to servo nominal rating, multiply. Valve lap, or valve overlap, refers to the amount of spool travel from the center position required to start opening between the powered input port and the work (output) port or the. Hydraulic Valve Overlap.
From www.scientific.net
Automatic Measuring System of Servo Valve Overlap Value Based on Hydraulic Valve Overlap Proportional to servo nominal rating, multiply. Applications requiring reproducibility of rapid/slow speed profiling, and smooth acceleration and deceleration. Valve lap, or valve overlap, refers to the amount of spool travel from the center position required to start opening between the powered input port and the work (output) port or the tank port. Valves with more than 3% center overlap are. Hydraulic Valve Overlap.
From x6t.s3-web.jp-tok.cloud-object-storage.appdomain.cloud
Diaphragm Compressor Category Page Hydraulic Valve Overlap Servo to proportional nominal rating, divide by square root 7. A zero lapped valve is one in which any tiny, differentially small amount of spool shift, either way, starts the opening. Proportional to servo nominal rating, multiply. Applications requiring reproducibility of rapid/slow speed profiling, and smooth acceleration and deceleration. Valves with more than 3% center overlap are called proportional valves,. Hydraulic Valve Overlap.
From www.test-industry.com
TEST BENCH FOR HYDRAULIC VALVES Test Industry Hydraulic Valve Overlap Applications requiring reproducibility of rapid/slow speed profiling, and smooth acceleration and deceleration. A zero lapped valve is one in which any tiny, differentially small amount of spool shift, either way, starts the opening. Because there is always leakage in spool valves, flow variations take place all through the overlap, or dead zone of the valve. Valves with more than 3%. Hydraulic Valve Overlap.
From carbiketech.com
What is Valve Timing & How It Affects Engine Performance?CarBikeTech Hydraulic Valve Overlap Valve lap, or valve overlap, refers to the amount of spool travel from the center position required to start opening between the powered input port and the work (output) port or the tank port. Applications requiring reproducibility of rapid/slow speed profiling, and smooth acceleration and deceleration. A zero lapped valve is one in which any tiny, differentially small amount of. Hydraulic Valve Overlap.
From www.hydraulex.com
Hydraulic Valve Repair, Directional Valves, Flow Control, Pressure Hydraulic Valve Overlap A zero lapped valve is one in which any tiny, differentially small amount of spool shift, either way, starts the opening. Valves with more than 3% center overlap are called proportional valves, and any degree of overlap will always result in a reduction in flow gain right at the graph origin. Because there is always leakage in spool valves, flow. Hydraulic Valve Overlap.
From mavink.com
Valve Overlap Diagram Hydraulic Valve Overlap Valve lap, or valve overlap, refers to the amount of spool travel from the center position required to start opening between the powered input port and the work (output) port or the tank port. Because there is always leakage in spool valves, flow variations take place all through the overlap, or dead zone of the valve. Servo to proportional nominal. Hydraulic Valve Overlap.
From www.researchgate.net
Schematic of a typical hydraulic servo valve spool with a spool valve Hydraulic Valve Overlap A zero lapped valve is one in which any tiny, differentially small amount of spool shift, either way, starts the opening. Valve lap, or valve overlap, refers to the amount of spool travel from the center position required to start opening between the powered input port and the work (output) port or the tank port. Servo to proportional nominal rating,. Hydraulic Valve Overlap.
From www.slideserve.com
PPT HYDRAULICS & PNEUMATICS PowerPoint Presentation, free download Hydraulic Valve Overlap Proportional to servo nominal rating, multiply. Valves with more than 3% center overlap are called proportional valves, and any degree of overlap will always result in a reduction in flow gain right at the graph origin. A zero lapped valve is one in which any tiny, differentially small amount of spool shift, either way, starts the opening. Because there is. Hydraulic Valve Overlap.
From www.slideserve.com
PPT HYDRAULICS & PNEUMATICS PowerPoint Presentation, free download Hydraulic Valve Overlap A zero lapped valve is one in which any tiny, differentially small amount of spool shift, either way, starts the opening. Proportional to servo nominal rating, multiply. Because there is always leakage in spool valves, flow variations take place all through the overlap, or dead zone of the valve. Servo to proportional nominal rating, divide by square root 7. Valve. Hydraulic Valve Overlap.
From www.hydraulicspneumatics.com
Proportional valves vs. servovalves Hydraulics & Pneumatics Hydraulic Valve Overlap Valve lap, or valve overlap, refers to the amount of spool travel from the center position required to start opening between the powered input port and the work (output) port or the tank port. Proportional to servo nominal rating, multiply. Applications requiring reproducibility of rapid/slow speed profiling, and smooth acceleration and deceleration. A zero lapped valve is one in which. Hydraulic Valve Overlap.
From forumautomation.com
Control Valve Symbols Valves Industrial Automation, PLC Programming Hydraulic Valve Overlap Applications requiring reproducibility of rapid/slow speed profiling, and smooth acceleration and deceleration. Because there is always leakage in spool valves, flow variations take place all through the overlap, or dead zone of the valve. Valves with more than 3% center overlap are called proportional valves, and any degree of overlap will always result in a reduction in flow gain right. Hydraulic Valve Overlap.
From www.wandfluh.com
Solenoid poppet valves with positive switching overlap A_3206_S1779 Hydraulic Valve Overlap Servo to proportional nominal rating, divide by square root 7. Proportional to servo nominal rating, multiply. A zero lapped valve is one in which any tiny, differentially small amount of spool shift, either way, starts the opening. Valves with more than 3% center overlap are called proportional valves, and any degree of overlap will always result in a reduction in. Hydraulic Valve Overlap.
From www.researchgate.net
(PDF) Checking procedures of spool valve overlap and ports opening Hydraulic Valve Overlap Servo to proportional nominal rating, divide by square root 7. Valve lap, or valve overlap, refers to the amount of spool travel from the center position required to start opening between the powered input port and the work (output) port or the tank port. Applications requiring reproducibility of rapid/slow speed profiling, and smooth acceleration and deceleration. Valves with more than. Hydraulic Valve Overlap.
From www.chevy-350-engines.com
How to Adjust Valves on A 350 Chevy (Explained) Hydraulic Valve Overlap Servo to proportional nominal rating, divide by square root 7. A zero lapped valve is one in which any tiny, differentially small amount of spool shift, either way, starts the opening. Proportional to servo nominal rating, multiply. Applications requiring reproducibility of rapid/slow speed profiling, and smooth acceleration and deceleration. Because there is always leakage in spool valves, flow variations take. Hydraulic Valve Overlap.
From www.highpowermedia.com
Valve overlap High Power Media Hydraulic Valve Overlap Applications requiring reproducibility of rapid/slow speed profiling, and smooth acceleration and deceleration. Valves with more than 3% center overlap are called proportional valves, and any degree of overlap will always result in a reduction in flow gain right at the graph origin. Valve lap, or valve overlap, refers to the amount of spool travel from the center position required to. Hydraulic Valve Overlap.
From dirtworx.co.za
Hydraulic Directional Control Valve Bank Dirtworx Hydraulic Valve Overlap Servo to proportional nominal rating, divide by square root 7. Valves with more than 3% center overlap are called proportional valves, and any degree of overlap will always result in a reduction in flow gain right at the graph origin. A zero lapped valve is one in which any tiny, differentially small amount of spool shift, either way, starts the. Hydraulic Valve Overlap.