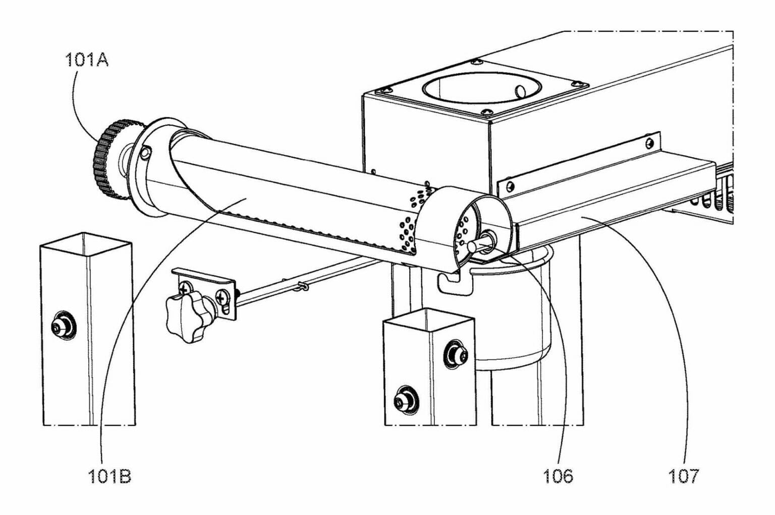
Camp Chef Woodwind Assembly Instructions . And, of course, make sure you read all the enclosed. first things first, it’s important to unbox your grill and do an inventory check to make sure you have all the necessary. view and download camp chef woodwind warning & instruction booklet online. assembly instructions attach the legs 1. september 18, 2023 18:19. check out our walkthrough video below to learn how to set up and start up your woodwind pellet grill. about press copyright contact us creators advertise developers terms. Whether this is your very first pellet grill or your tenth, we want to get you started the right way. woodwind pro assemblylearn how to assemble the. Install each of the 4 legs as shown in fig 1. Lay the grill on its back.
from circuitpartnadel.z13.web.core.windows.net
woodwind pro assemblylearn how to assemble the. september 18, 2023 18:19. Whether this is your very first pellet grill or your tenth, we want to get you started the right way. Lay the grill on its back. check out our walkthrough video below to learn how to set up and start up your woodwind pellet grill. view and download camp chef woodwind warning & instruction booklet online. assembly instructions attach the legs 1. first things first, it’s important to unbox your grill and do an inventory check to make sure you have all the necessary. And, of course, make sure you read all the enclosed. Install each of the 4 legs as shown in fig 1.
Camp Chef Woodwind Pro Manual
Camp Chef Woodwind Assembly Instructions Whether this is your very first pellet grill or your tenth, we want to get you started the right way. first things first, it’s important to unbox your grill and do an inventory check to make sure you have all the necessary. Whether this is your very first pellet grill or your tenth, we want to get you started the right way. Install each of the 4 legs as shown in fig 1. september 18, 2023 18:19. assembly instructions attach the legs 1. view and download camp chef woodwind warning & instruction booklet online. And, of course, make sure you read all the enclosed. Lay the grill on its back. woodwind pro assemblylearn how to assemble the. check out our walkthrough video below to learn how to set up and start up your woodwind pellet grill. about press copyright contact us creators advertise developers terms.
From www.youtube.com
Camp Chef Woodwind Pellet Grill Sear Box Assembly And Installation Camp Chef Woodwind Assembly Instructions assembly instructions attach the legs 1. september 18, 2023 18:19. first things first, it’s important to unbox your grill and do an inventory check to make sure you have all the necessary. And, of course, make sure you read all the enclosed. check out our walkthrough video below to learn how to set up and start. Camp Chef Woodwind Assembly Instructions.
From thegrillingdad.com
Camp Chef Woodwind with Sidekick Review (Both Sizes Reviewed) Camp Chef Woodwind Assembly Instructions Install each of the 4 legs as shown in fig 1. about press copyright contact us creators advertise developers terms. Whether this is your very first pellet grill or your tenth, we want to get you started the right way. first things first, it’s important to unbox your grill and do an inventory check to make sure you. Camp Chef Woodwind Assembly Instructions.
From www.youtube.com
Camp Chef Woodwind Wifi 24 Unboxing and Assembly YouTube Camp Chef Woodwind Assembly Instructions Install each of the 4 legs as shown in fig 1. check out our walkthrough video below to learn how to set up and start up your woodwind pellet grill. september 18, 2023 18:19. And, of course, make sure you read all the enclosed. first things first, it’s important to unbox your grill and do an inventory. Camp Chef Woodwind Assembly Instructions.
From circuitpartnadel.z13.web.core.windows.net
Camp Chef Woodwind Pro Manual Camp Chef Woodwind Assembly Instructions And, of course, make sure you read all the enclosed. september 18, 2023 18:19. Install each of the 4 legs as shown in fig 1. first things first, it’s important to unbox your grill and do an inventory check to make sure you have all the necessary. view and download camp chef woodwind warning & instruction booklet. Camp Chef Woodwind Assembly Instructions.
From www.youtube.com
How to Assemble the Woodwind Pro Camp Chef YouTube Camp Chef Woodwind Assembly Instructions september 18, 2023 18:19. check out our walkthrough video below to learn how to set up and start up your woodwind pellet grill. about press copyright contact us creators advertise developers terms. woodwind pro assemblylearn how to assemble the. Lay the grill on its back. view and download camp chef woodwind warning & instruction booklet. Camp Chef Woodwind Assembly Instructions.
From heygrillhey.com
Camp Chef Woodwind Pellet Grill Review Hey Grill, Hey Camp Chef Woodwind Assembly Instructions first things first, it’s important to unbox your grill and do an inventory check to make sure you have all the necessary. Install each of the 4 legs as shown in fig 1. check out our walkthrough video below to learn how to set up and start up your woodwind pellet grill. about press copyright contact us. Camp Chef Woodwind Assembly Instructions.
From www.youtube.com
Camp Chef Woodwind Pro Overview Sidekick Sear Box & Flat Top YouTube Camp Chef Woodwind Assembly Instructions woodwind pro assemblylearn how to assemble the. first things first, it’s important to unbox your grill and do an inventory check to make sure you have all the necessary. Install each of the 4 legs as shown in fig 1. view and download camp chef woodwind warning & instruction booklet online. Whether this is your very first. Camp Chef Woodwind Assembly Instructions.
From workshopfixoharamary.z21.web.core.windows.net
Camp Chef Parts Diagram Camp Chef Woodwind Assembly Instructions Whether this is your very first pellet grill or your tenth, we want to get you started the right way. view and download camp chef woodwind warning & instruction booklet online. september 18, 2023 18:19. check out our walkthrough video below to learn how to set up and start up your woodwind pellet grill. woodwind pro. Camp Chef Woodwind Assembly Instructions.
From www.academy.com
Camp Chef Woodwind PRO 24 WiFi Pellet Grill Smoker Academy Camp Chef Woodwind Assembly Instructions about press copyright contact us creators advertise developers terms. first things first, it’s important to unbox your grill and do an inventory check to make sure you have all the necessary. september 18, 2023 18:19. Install each of the 4 legs as shown in fig 1. check out our walkthrough video below to learn how to. Camp Chef Woodwind Assembly Instructions.
From www.youtube.com
Camp Chef Woodwind SG (Slide And Grill) Un boxing And Assembly YouTube Camp Chef Woodwind Assembly Instructions woodwind pro assemblylearn how to assemble the. first things first, it’s important to unbox your grill and do an inventory check to make sure you have all the necessary. assembly instructions attach the legs 1. Install each of the 4 legs as shown in fig 1. about press copyright contact us creators advertise developers terms. And,. Camp Chef Woodwind Assembly Instructions.
From manuals.plus
CAMP CHEF PG24WWSB Woodwind PRO 24 Inch WIFI Pellet Grill Instruction Camp Chef Woodwind Assembly Instructions first things first, it’s important to unbox your grill and do an inventory check to make sure you have all the necessary. Whether this is your very first pellet grill or your tenth, we want to get you started the right way. assembly instructions attach the legs 1. And, of course, make sure you read all the enclosed.. Camp Chef Woodwind Assembly Instructions.
From www.thebbqking.com.au
Camp Chef Woodwind Pro 24 with Sidekick PG24WWSBAU14 The BBQ King Camp Chef Woodwind Assembly Instructions assembly instructions attach the legs 1. And, of course, make sure you read all the enclosed. woodwind pro assemblylearn how to assemble the. Whether this is your very first pellet grill or your tenth, we want to get you started the right way. check out our walkthrough video below to learn how to set up and start. Camp Chef Woodwind Assembly Instructions.
From www.smokedbbqsource.com
Camp Chef Woodwind Pellet Grill Review Smoked BBQ Source Camp Chef Woodwind Assembly Instructions woodwind pro assemblylearn how to assemble the. And, of course, make sure you read all the enclosed. september 18, 2023 18:19. assembly instructions attach the legs 1. Lay the grill on its back. about press copyright contact us creators advertise developers terms. Install each of the 4 legs as shown in fig 1. check out. Camp Chef Woodwind Assembly Instructions.
From www.academy.com
Camp Chef Woodwind 36 Pellet Grill Academy Camp Chef Woodwind Assembly Instructions about press copyright contact us creators advertise developers terms. check out our walkthrough video below to learn how to set up and start up your woodwind pellet grill. first things first, it’s important to unbox your grill and do an inventory check to make sure you have all the necessary. woodwind pro assemblylearn how to assemble. Camp Chef Woodwind Assembly Instructions.
From www.cookoutnews.com
Camp Chef Has More Ways to Add Smoke to a Pellet Grill CookOut News Camp Chef Woodwind Assembly Instructions woodwind pro assemblylearn how to assemble the. assembly instructions attach the legs 1. september 18, 2023 18:19. Whether this is your very first pellet grill or your tenth, we want to get you started the right way. check out our walkthrough video below to learn how to set up and start up your woodwind pellet grill.. Camp Chef Woodwind Assembly Instructions.
From device.report
CAMP CHEF PG24WWSB Woodwind PRO 24 Inch WIFI Pellet Grill Instruction Camp Chef Woodwind Assembly Instructions about press copyright contact us creators advertise developers terms. first things first, it’s important to unbox your grill and do an inventory check to make sure you have all the necessary. Whether this is your very first pellet grill or your tenth, we want to get you started the right way. assembly instructions attach the legs 1.. Camp Chef Woodwind Assembly Instructions.
From www.youtube.com
2018 Camp Chef Woodwind SG unboxing and assembly YouTube Camp Chef Woodwind Assembly Instructions Whether this is your very first pellet grill or your tenth, we want to get you started the right way. woodwind pro assemblylearn how to assemble the. assembly instructions attach the legs 1. about press copyright contact us creators advertise developers terms. september 18, 2023 18:19. view and download camp chef woodwind warning & instruction. Camp Chef Woodwind Assembly Instructions.
From mans.io
Camp Chef PG24WWSS Instructions / Assembly online [13/32] 348516 Camp Chef Woodwind Assembly Instructions first things first, it’s important to unbox your grill and do an inventory check to make sure you have all the necessary. Whether this is your very first pellet grill or your tenth, we want to get you started the right way. check out our walkthrough video below to learn how to set up and start up your. Camp Chef Woodwind Assembly Instructions.
From device.report
CAMP CHEF PG24WWSB Woodwind PRO 24 Inch WIFI Pellet Grill Instruction Camp Chef Woodwind Assembly Instructions assembly instructions attach the legs 1. first things first, it’s important to unbox your grill and do an inventory check to make sure you have all the necessary. september 18, 2023 18:19. Whether this is your very first pellet grill or your tenth, we want to get you started the right way. And, of course, make sure. Camp Chef Woodwind Assembly Instructions.
From guidepojedinety.z22.web.core.windows.net
Camp Chef Woodwind 24 Manual Camp Chef Woodwind Assembly Instructions check out our walkthrough video below to learn how to set up and start up your woodwind pellet grill. september 18, 2023 18:19. first things first, it’s important to unbox your grill and do an inventory check to make sure you have all the necessary. Lay the grill on its back. about press copyright contact us. Camp Chef Woodwind Assembly Instructions.
From manualspro.net
CAMP CHEF PG24WWSB Woodwind PRO 24 Inch WIFI Pellet Grill Instruction Camp Chef Woodwind Assembly Instructions september 18, 2023 18:19. woodwind pro assemblylearn how to assemble the. Lay the grill on its back. assembly instructions attach the legs 1. check out our walkthrough video below to learn how to set up and start up your woodwind pellet grill. view and download camp chef woodwind warning & instruction booklet online. Install each. Camp Chef Woodwind Assembly Instructions.
From www.youtube.com
Camp Chef WoodWind BBQ Smoker Unboxing & Assembly Just Arrived! YouTube Camp Chef Woodwind Assembly Instructions check out our walkthrough video below to learn how to set up and start up your woodwind pellet grill. Whether this is your very first pellet grill or your tenth, we want to get you started the right way. view and download camp chef woodwind warning & instruction booklet online. about press copyright contact us creators advertise. Camp Chef Woodwind Assembly Instructions.
From device.report
CAMP CHEF PG24WWSB Woodwind PRO 24 Inch WIFI Pellet Grill Instruction Camp Chef Woodwind Assembly Instructions check out our walkthrough video below to learn how to set up and start up your woodwind pellet grill. view and download camp chef woodwind warning & instruction booklet online. Whether this is your very first pellet grill or your tenth, we want to get you started the right way. Install each of the 4 legs as shown. Camp Chef Woodwind Assembly Instructions.
From www.youtube.com
Camp Chef Woodwind WiFi Unboxing and Assembly YouTube Camp Chef Woodwind Assembly Instructions Whether this is your very first pellet grill or your tenth, we want to get you started the right way. Install each of the 4 legs as shown in fig 1. Lay the grill on its back. about press copyright contact us creators advertise developers terms. woodwind pro assemblylearn how to assemble the. check out our walkthrough. Camp Chef Woodwind Assembly Instructions.
From www.manualslib.com
CAMP CHEF WOODWIND PG24WWS2 WARNING & INSTRUCTION BOOKLET Pdf Download Camp Chef Woodwind Assembly Instructions about press copyright contact us creators advertise developers terms. first things first, it’s important to unbox your grill and do an inventory check to make sure you have all the necessary. Install each of the 4 legs as shown in fig 1. Lay the grill on its back. woodwind pro assemblylearn how to assemble the. september. Camp Chef Woodwind Assembly Instructions.
From www.youtube.com
Camp Chef Woodwind Pro 24 Pros & Cons YouTube Camp Chef Woodwind Assembly Instructions Whether this is your very first pellet grill or your tenth, we want to get you started the right way. And, of course, make sure you read all the enclosed. assembly instructions attach the legs 1. september 18, 2023 18:19. about press copyright contact us creators advertise developers terms. Install each of the 4 legs as shown. Camp Chef Woodwind Assembly Instructions.
From www.bbqguys.com
Camp Chef Woodwind Pellet Grills BBQGuys Camp Chef Woodwind Assembly Instructions assembly instructions attach the legs 1. Install each of the 4 legs as shown in fig 1. Lay the grill on its back. about press copyright contact us creators advertise developers terms. check out our walkthrough video below to learn how to set up and start up your woodwind pellet grill. view and download camp chef. Camp Chef Woodwind Assembly Instructions.
From bbqteacher.com
Camp Chef is Changing the Game!! Woodwind Pro Review BBQ Teacher Camp Chef Woodwind Assembly Instructions september 18, 2023 18:19. assembly instructions attach the legs 1. about press copyright contact us creators advertise developers terms. Install each of the 4 legs as shown in fig 1. And, of course, make sure you read all the enclosed. Lay the grill on its back. woodwind pro assemblylearn how to assemble the. first things. Camp Chef Woodwind Assembly Instructions.
From www.youtube.com
Camp Chef Woodwind WIFI 36Inch Pellet Grill Expert Overview BBQGuys Camp Chef Woodwind Assembly Instructions And, of course, make sure you read all the enclosed. check out our walkthrough video below to learn how to set up and start up your woodwind pellet grill. assembly instructions attach the legs 1. september 18, 2023 18:19. view and download camp chef woodwind warning & instruction booklet online. Install each of the 4 legs. Camp Chef Woodwind Assembly Instructions.
From www.cookoutnews.com
Camp Chef Has More Ways to Add Smoke to a Pellet Grill CookOut News Camp Chef Woodwind Assembly Instructions view and download camp chef woodwind warning & instruction booklet online. Whether this is your very first pellet grill or your tenth, we want to get you started the right way. check out our walkthrough video below to learn how to set up and start up your woodwind pellet grill. Install each of the 4 legs as shown. Camp Chef Woodwind Assembly Instructions.
From www.campchef.com
Woodwind Pro 24 and More Camp Chef Camp Chef Woodwind Assembly Instructions And, of course, make sure you read all the enclosed. woodwind pro assemblylearn how to assemble the. check out our walkthrough video below to learn how to set up and start up your woodwind pellet grill. view and download camp chef woodwind warning & instruction booklet online. Install each of the 4 legs as shown in fig. Camp Chef Woodwind Assembly Instructions.
From utvguide.net
Camp Chef Introduces All New Woodwind Pro Pellet Grill UTV Guide Camp Chef Woodwind Assembly Instructions Lay the grill on its back. woodwind pro assemblylearn how to assemble the. And, of course, make sure you read all the enclosed. about press copyright contact us creators advertise developers terms. first things first, it’s important to unbox your grill and do an inventory check to make sure you have all the necessary. assembly instructions. Camp Chef Woodwind Assembly Instructions.
From www.youtube.com
Camp Chef WoodWind Wifi 24 with Sidekick YouTube Camp Chef Woodwind Assembly Instructions woodwind pro assemblylearn how to assemble the. september 18, 2023 18:19. Lay the grill on its back. assembly instructions attach the legs 1. check out our walkthrough video below to learn how to set up and start up your woodwind pellet grill. And, of course, make sure you read all the enclosed. Whether this is your. Camp Chef Woodwind Assembly Instructions.
From www.manualslib.com
Camp chef Woodwind Manuals ManualsLib Camp Chef Woodwind Assembly Instructions about press copyright contact us creators advertise developers terms. view and download camp chef woodwind warning & instruction booklet online. Install each of the 4 legs as shown in fig 1. first things first, it’s important to unbox your grill and do an inventory check to make sure you have all the necessary. check out our. Camp Chef Woodwind Assembly Instructions.
From www.foodfirefriends.com
Camp Chef Woodwind Review — WiFi 36 Pellet Grill With Sidekick Camp Chef Woodwind Assembly Instructions september 18, 2023 18:19. check out our walkthrough video below to learn how to set up and start up your woodwind pellet grill. first things first, it’s important to unbox your grill and do an inventory check to make sure you have all the necessary. woodwind pro assemblylearn how to assemble the. assembly instructions attach. Camp Chef Woodwind Assembly Instructions.