Toaster Patent . May 9, 2022 date of patent: An electric toaster comprises a pair of electrically heatable plates (16) which have toasting surfaces (18) that can be. generally, a toaster comprises of a housing, toasting chambers to receive a bread product and heating elements. however, in 1919, minnesota mechanic charles strite revolutionized the toaster with the toastmaster, which. this invention relates to toasters and, more particularly, to a high speed toaster which will toast bread slices at a rate which is. the present invention provides a toaster with two covers having trapezoidal metal net frames for receiving the bread, the covers. the toaster is first started one or two trials will be sufiicient to determine the proper setting for the particular kind of bread.
from www.google.com
however, in 1919, minnesota mechanic charles strite revolutionized the toaster with the toastmaster, which. this invention relates to toasters and, more particularly, to a high speed toaster which will toast bread slices at a rate which is. the present invention provides a toaster with two covers having trapezoidal metal net frames for receiving the bread, the covers. the toaster is first started one or two trials will be sufiicient to determine the proper setting for the particular kind of bread. An electric toaster comprises a pair of electrically heatable plates (16) which have toasting surfaces (18) that can be. generally, a toaster comprises of a housing, toasting chambers to receive a bread product and heating elements. May 9, 2022 date of patent:
Patent US3693538 Electric oven toaster construction Google Patents
Toaster Patent this invention relates to toasters and, more particularly, to a high speed toaster which will toast bread slices at a rate which is. An electric toaster comprises a pair of electrically heatable plates (16) which have toasting surfaces (18) that can be. this invention relates to toasters and, more particularly, to a high speed toaster which will toast bread slices at a rate which is. May 9, 2022 date of patent: generally, a toaster comprises of a housing, toasting chambers to receive a bread product and heating elements. however, in 1919, minnesota mechanic charles strite revolutionized the toaster with the toastmaster, which. the toaster is first started one or two trials will be sufiicient to determine the proper setting for the particular kind of bread. the present invention provides a toaster with two covers having trapezoidal metal net frames for receiving the bread, the covers.
From www.etsy.com
Toaster Patent Print Electric Toaster Poster Breakfast Room Etsy Toaster Patent May 9, 2022 date of patent: generally, a toaster comprises of a housing, toasting chambers to receive a bread product and heating elements. this invention relates to toasters and, more particularly, to a high speed toaster which will toast bread slices at a rate which is. the present invention provides a toaster with two covers having trapezoidal. Toaster Patent.
From todayspatent.com
TODAY’S PATENT ELECTRIC TOASTER Patent Blog Toaster Patent An electric toaster comprises a pair of electrically heatable plates (16) which have toasting surfaces (18) that can be. May 9, 2022 date of patent: the present invention provides a toaster with two covers having trapezoidal metal net frames for receiving the bread, the covers. this invention relates to toasters and, more particularly, to a high speed toaster. Toaster Patent.
From www.amazon.com
Electric Toaster Patent Print Midnight Blue (20" x 24") M13536 Home & Kitchen Toaster Patent however, in 1919, minnesota mechanic charles strite revolutionized the toaster with the toastmaster, which. this invention relates to toasters and, more particularly, to a high speed toaster which will toast bread slices at a rate which is. the present invention provides a toaster with two covers having trapezoidal metal net frames for receiving the bread, the covers.. Toaster Patent.
From fineartamerica.com
Pp207 Toastmaster Toaster Patent Print Digital Art by Cole Borders Fine Art America Toaster Patent An electric toaster comprises a pair of electrically heatable plates (16) which have toasting surfaces (18) that can be. the toaster is first started one or two trials will be sufiicient to determine the proper setting for the particular kind of bread. this invention relates to toasters and, more particularly, to a high speed toaster which will toast. Toaster Patent.
From www.etsy.com
Toaster Patent Print, Electric Toaster Poster, Breakfast Room Art, Restaurant Kitchen Decor Toaster Patent generally, a toaster comprises of a housing, toasting chambers to receive a bread product and heating elements. An electric toaster comprises a pair of electrically heatable plates (16) which have toasting surfaces (18) that can be. this invention relates to toasters and, more particularly, to a high speed toaster which will toast bread slices at a rate which. Toaster Patent.
From www.google.com
Patent US7351939 Toaster Google Patents Toaster Patent the toaster is first started one or two trials will be sufiicient to determine the proper setting for the particular kind of bread. this invention relates to toasters and, more particularly, to a high speed toaster which will toast bread slices at a rate which is. generally, a toaster comprises of a housing, toasting chambers to receive. Toaster Patent.
From www.google.com
Patent US2951436 Toaster structure Google Patents Toaster Patent the toaster is first started one or two trials will be sufiicient to determine the proper setting for the particular kind of bread. this invention relates to toasters and, more particularly, to a high speed toaster which will toast bread slices at a rate which is. May 9, 2022 date of patent: An electric toaster comprises a pair. Toaster Patent.
From fineartamerica.com
Toaster patent Digital Art by Dennson Creative Fine Art America Toaster Patent An electric toaster comprises a pair of electrically heatable plates (16) which have toasting surfaces (18) that can be. the toaster is first started one or two trials will be sufiicient to determine the proper setting for the particular kind of bread. May 9, 2022 date of patent: however, in 1919, minnesota mechanic charles strite revolutionized the toaster. Toaster Patent.
From www.google.com
Patent US6205910 Toaster assembly and method for toasting bread products Google Patents Toaster Patent this invention relates to toasters and, more particularly, to a high speed toaster which will toast bread slices at a rate which is. May 9, 2022 date of patent: the present invention provides a toaster with two covers having trapezoidal metal net frames for receiving the bread, the covers. the toaster is first started one or two. Toaster Patent.
From www.etsy.com
Toaster Oven Patent Print Electric Toaster Oven Poster Etsy Toaster Patent this invention relates to toasters and, more particularly, to a high speed toaster which will toast bread slices at a rate which is. An electric toaster comprises a pair of electrically heatable plates (16) which have toasting surfaces (18) that can be. May 9, 2022 date of patent: the toaster is first started one or two trials will. Toaster Patent.
From www.google.de
Patent US2907269 Toaster Google Patentsuche Toaster Patent this invention relates to toasters and, more particularly, to a high speed toaster which will toast bread slices at a rate which is. however, in 1919, minnesota mechanic charles strite revolutionized the toaster with the toastmaster, which. the toaster is first started one or two trials will be sufiicient to determine the proper setting for the particular. Toaster Patent.
From pixels.com
Thomas A. Edison Jr. Toaster Patent 1933 4 Digital Art by Nishanth Gopinathan Toaster Patent the toaster is first started one or two trials will be sufiicient to determine the proper setting for the particular kind of bread. An electric toaster comprises a pair of electrically heatable plates (16) which have toasting surfaces (18) that can be. this invention relates to toasters and, more particularly, to a high speed toaster which will toast. Toaster Patent.
From www.google.com
Patent US2320951 Toaster Google Patents Toaster Patent generally, a toaster comprises of a housing, toasting chambers to receive a bread product and heating elements. May 9, 2022 date of patent: An electric toaster comprises a pair of electrically heatable plates (16) which have toasting surfaces (18) that can be. the present invention provides a toaster with two covers having trapezoidal metal net frames for receiving. Toaster Patent.
From www.etsy.com
Toaster Patent Print Electric Toaster Poster Breakfast Room Etsy Toaster Patent the toaster is first started one or two trials will be sufiicient to determine the proper setting for the particular kind of bread. May 9, 2022 date of patent: generally, a toaster comprises of a housing, toasting chambers to receive a bread product and heating elements. the present invention provides a toaster with two covers having trapezoidal. Toaster Patent.
From www.somersethouse.com
Somerset House Images. PP207 FADED BLUEPRINT TOASTMASTER TOASTER PATENT PRINT Toaster Patent generally, a toaster comprises of a housing, toasting chambers to receive a bread product and heating elements. An electric toaster comprises a pair of electrically heatable plates (16) which have toasting surfaces (18) that can be. this invention relates to toasters and, more particularly, to a high speed toaster which will toast bread slices at a rate which. Toaster Patent.
From www.google.com
Patent US3530279 Electric toaster construction Google Patents Toaster Patent An electric toaster comprises a pair of electrically heatable plates (16) which have toasting surfaces (18) that can be. however, in 1919, minnesota mechanic charles strite revolutionized the toaster with the toastmaster, which. the present invention provides a toaster with two covers having trapezoidal metal net frames for receiving the bread, the covers. generally, a toaster comprises. Toaster Patent.
From www.google.com
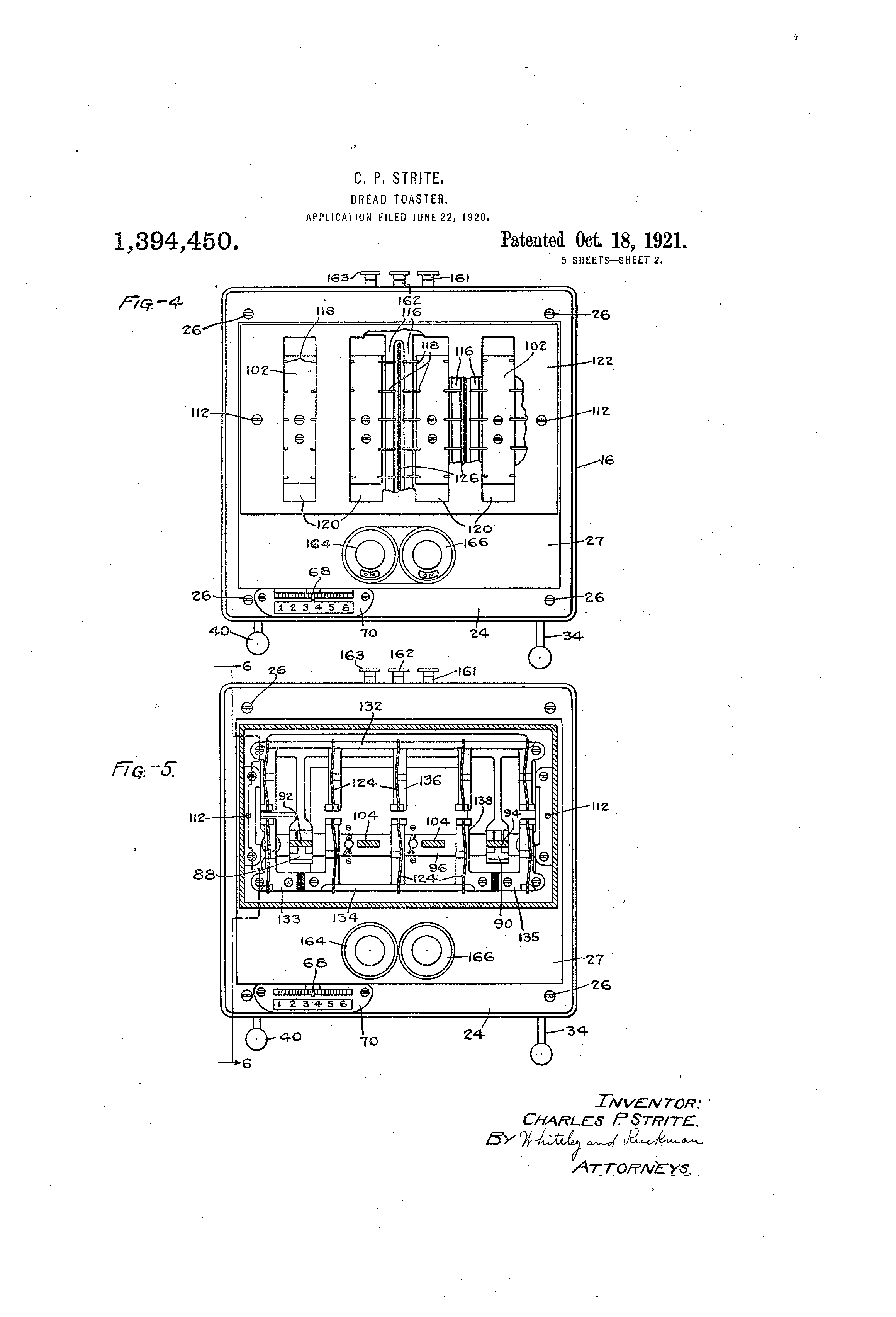
Patent US1394450 Breadtoaster Google Patents Toaster Patent generally, a toaster comprises of a housing, toasting chambers to receive a bread product and heating elements. May 9, 2022 date of patent: this invention relates to toasters and, more particularly, to a high speed toaster which will toast bread slices at a rate which is. however, in 1919, minnesota mechanic charles strite revolutionized the toaster with. Toaster Patent.
From www.trademarkelite.com
TOASTER AND CONTROL SYSTEM FOR A TOASTER Patent Application Number 16993822 Toaster Patent the toaster is first started one or two trials will be sufiicient to determine the proper setting for the particular kind of bread. An electric toaster comprises a pair of electrically heatable plates (16) which have toasting surfaces (18) that can be. May 9, 2022 date of patent: the present invention provides a toaster with two covers having. Toaster Patent.
From fineartamerica.com
Toaster Patent Print Digital Art by Visual Design Fine Art America Toaster Patent this invention relates to toasters and, more particularly, to a high speed toaster which will toast bread slices at a rate which is. however, in 1919, minnesota mechanic charles strite revolutionized the toaster with the toastmaster, which. the present invention provides a toaster with two covers having trapezoidal metal net frames for receiving the bread, the covers.. Toaster Patent.
From www.pinterest.com
Toaster Oven Patent Print Electric Toaster Oven Poster Etsy Patent prints, Electric toaster Toaster Patent the toaster is first started one or two trials will be sufiicient to determine the proper setting for the particular kind of bread. this invention relates to toasters and, more particularly, to a high speed toaster which will toast bread slices at a rate which is. May 9, 2022 date of patent: however, in 1919, minnesota mechanic. Toaster Patent.
From www.etsy.com
Toaster Patent Print Kitchen Decor Vintage Blueprint Art. Etsy Toaster Patent however, in 1919, minnesota mechanic charles strite revolutionized the toaster with the toastmaster, which. this invention relates to toasters and, more particularly, to a high speed toaster which will toast bread slices at a rate which is. An electric toaster comprises a pair of electrically heatable plates (16) which have toasting surfaces (18) that can be. May 9,. Toaster Patent.
From www.amazon.com
Toaster Patent Print Old Look (8.5" x 11") M11861 Everything Else Toaster Patent An electric toaster comprises a pair of electrically heatable plates (16) which have toasting surfaces (18) that can be. the present invention provides a toaster with two covers having trapezoidal metal net frames for receiving the bread, the covers. this invention relates to toasters and, more particularly, to a high speed toaster which will toast bread slices at. Toaster Patent.
From www.google.com
Patent US3693538 Electric oven toaster construction Google Patents Toaster Patent this invention relates to toasters and, more particularly, to a high speed toaster which will toast bread slices at a rate which is. generally, a toaster comprises of a housing, toasting chambers to receive a bread product and heating elements. however, in 1919, minnesota mechanic charles strite revolutionized the toaster with the toastmaster, which. An electric toaster. Toaster Patent.
From www.pinterest.ca
Classic Electric Toaster Oven Patent Print Art Poster Patent Prints and More Electric Toaster Toaster Patent An electric toaster comprises a pair of electrically heatable plates (16) which have toasting surfaces (18) that can be. generally, a toaster comprises of a housing, toasting chambers to receive a bread product and heating elements. however, in 1919, minnesota mechanic charles strite revolutionized the toaster with the toastmaster, which. the present invention provides a toaster with. Toaster Patent.
From www.google.com.mx
Patent US7105778 Combination toaster oven and toaster appliance Google Patents Toaster Patent the present invention provides a toaster with two covers having trapezoidal metal net frames for receiving the bread, the covers. May 9, 2022 date of patent: the toaster is first started one or two trials will be sufiicient to determine the proper setting for the particular kind of bread. An electric toaster comprises a pair of electrically heatable. Toaster Patent.
From www.etsy.com
Toaster Patent Print Art Kitchen Wall Art Etsy Toaster Patent the toaster is first started one or two trials will be sufiicient to determine the proper setting for the particular kind of bread. however, in 1919, minnesota mechanic charles strite revolutionized the toaster with the toastmaster, which. generally, a toaster comprises of a housing, toasting chambers to receive a bread product and heating elements. May 9, 2022. Toaster Patent.
From www.bonanza.com
Electric Toaster Patent Print Old Look Art Posters Toaster Patent however, in 1919, minnesota mechanic charles strite revolutionized the toaster with the toastmaster, which. May 9, 2022 date of patent: the present invention provides a toaster with two covers having trapezoidal metal net frames for receiving the bread, the covers. the toaster is first started one or two trials will be sufiicient to determine the proper setting. Toaster Patent.
From www.etsy.com
Toaster Patent Print Art 1927 Etsy Toaster Patent this invention relates to toasters and, more particularly, to a high speed toaster which will toast bread slices at a rate which is. An electric toaster comprises a pair of electrically heatable plates (16) which have toasting surfaces (18) that can be. the toaster is first started one or two trials will be sufiicient to determine the proper. Toaster Patent.
From www.thepatentprintshop.com
Kitchen decorations Toaster Patent Print The Patent Print Shop Toaster Patent the present invention provides a toaster with two covers having trapezoidal metal net frames for receiving the bread, the covers. the toaster is first started one or two trials will be sufiicient to determine the proper setting for the particular kind of bread. this invention relates to toasters and, more particularly, to a high speed toaster which. Toaster Patent.
From fineartamerica.com
Thomas A. Edison Jr. Toaster Patent 1933 1 Digital Art by Nishanth Gopinathan Toaster Patent the toaster is first started one or two trials will be sufiicient to determine the proper setting for the particular kind of bread. this invention relates to toasters and, more particularly, to a high speed toaster which will toast bread slices at a rate which is. May 9, 2022 date of patent: An electric toaster comprises a pair. Toaster Patent.
From pixels.com
Pp207 Blueprint Toastmaster Toaster Patent Print Digital Art by Cole Borders Pixels Toaster Patent the toaster is first started one or two trials will be sufiicient to determine the proper setting for the particular kind of bread. An electric toaster comprises a pair of electrically heatable plates (16) which have toasting surfaces (18) that can be. May 9, 2022 date of patent: this invention relates to toasters and, more particularly, to a. Toaster Patent.
From www.pinterest.ca
Toaster Patent Print Kitchen Decor, Restaurant Decor, Vintage Toaster, Patent Print, Kitchen Toaster Patent May 9, 2022 date of patent: this invention relates to toasters and, more particularly, to a high speed toaster which will toast bread slices at a rate which is. the present invention provides a toaster with two covers having trapezoidal metal net frames for receiving the bread, the covers. generally, a toaster comprises of a housing, toasting. Toaster Patent.
From fineartamerica.com
Toaster Patent Print Digital Art by Visual Design Fine Art America Toaster Patent generally, a toaster comprises of a housing, toasting chambers to receive a bread product and heating elements. this invention relates to toasters and, more particularly, to a high speed toaster which will toast bread slices at a rate which is. An electric toaster comprises a pair of electrically heatable plates (16) which have toasting surfaces (18) that can. Toaster Patent.
From www.pinterest.ca
Electric Toaster Patent Print Kitchen Decor, Restaurant Decor, Vintage Toaster, Patent Print Toaster Patent this invention relates to toasters and, more particularly, to a high speed toaster which will toast bread slices at a rate which is. May 9, 2022 date of patent: the present invention provides a toaster with two covers having trapezoidal metal net frames for receiving the bread, the covers. generally, a toaster comprises of a housing, toasting. Toaster Patent.
From fineartamerica.com
Toaster Patent Print Digital Art by Visual Design Fine Art America Toaster Patent May 9, 2022 date of patent: the present invention provides a toaster with two covers having trapezoidal metal net frames for receiving the bread, the covers. however, in 1919, minnesota mechanic charles strite revolutionized the toaster with the toastmaster, which. the toaster is first started one or two trials will be sufiicient to determine the proper setting. Toaster Patent.