Whirlpool Dishwasher Has Water In Bottom After Cycle . there are many potential explanations for water in the bottom of a dishwasher when it’s not in use, but one of the simplest is backflow from a kinked drain hose. if you have a whirlpool dishwasher not draining at end of cycle and the drain pump is not to blame, the drain impeller could be broken. Is water leaking out onto the floor? Normally, the check valve works only in one direction, but if it gets stuck open, water will end up travelling the wrong way through the drain hose. if your dishwasher has standing water in it after it finishes its cycle, check the check valve. why is there water in the bottom of your dishwasher? if the water is gone after the dishwasher completes the cancel cycle there's no problem with your pump, drain. not draining after last cycle. There are a few reasons why your dishwasher won’t drain. My dishwasher seems to function normally. The dishes seem clean, but the water from. is your dishwasher full of water at the end of your wash cycle?
from www.ajmadison.com
Is water leaking out onto the floor? The dishes seem clean, but the water from. Normally, the check valve works only in one direction, but if it gets stuck open, water will end up travelling the wrong way through the drain hose. why is there water in the bottom of your dishwasher? not draining after last cycle. is your dishwasher full of water at the end of your wash cycle? My dishwasher seems to function normally. if you have a whirlpool dishwasher not draining at end of cycle and the drain pump is not to blame, the drain impeller could be broken. there are many potential explanations for water in the bottom of a dishwasher when it’s not in use, but one of the simplest is backflow from a kinked drain hose. There are a few reasons why your dishwasher won’t drain.
Whirlpool WDT550SAPW 24 Inch Fully Integrated Dishwasher with 14 Place
Whirlpool Dishwasher Has Water In Bottom After Cycle if the water is gone after the dishwasher completes the cancel cycle there's no problem with your pump, drain. There are a few reasons why your dishwasher won’t drain. why is there water in the bottom of your dishwasher? Is water leaking out onto the floor? Normally, the check valve works only in one direction, but if it gets stuck open, water will end up travelling the wrong way through the drain hose. is your dishwasher full of water at the end of your wash cycle? if you have a whirlpool dishwasher not draining at end of cycle and the drain pump is not to blame, the drain impeller could be broken. The dishes seem clean, but the water from. if the water is gone after the dishwasher completes the cancel cycle there's no problem with your pump, drain. not draining after last cycle. there are many potential explanations for water in the bottom of a dishwasher when it’s not in use, but one of the simplest is backflow from a kinked drain hose. if your dishwasher has standing water in it after it finishes its cycle, check the check valve. My dishwasher seems to function normally.
From device.report
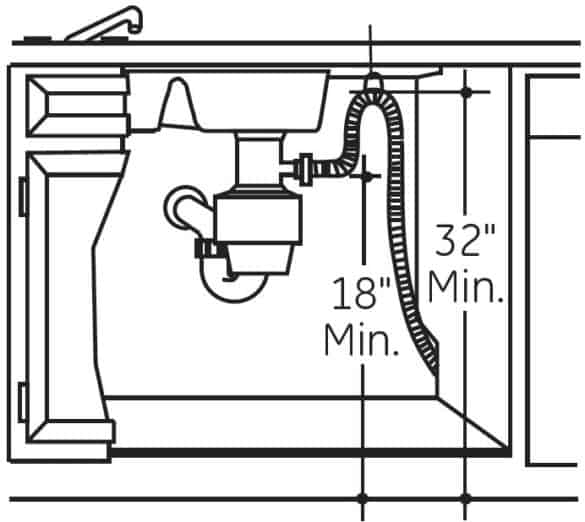
Whirlpool WDT730HAMZ Dishwasher User Manual Whirlpool Dishwasher Has Water In Bottom After Cycle there are many potential explanations for water in the bottom of a dishwasher when it’s not in use, but one of the simplest is backflow from a kinked drain hose. not draining after last cycle. Normally, the check valve works only in one direction, but if it gets stuck open, water will end up travelling the wrong way. Whirlpool Dishwasher Has Water In Bottom After Cycle.
From www.whirlpool.com
Parts of a Dishwasher A Quick Reference Guide Whirlpool Whirlpool Dishwasher Has Water In Bottom After Cycle if the water is gone after the dishwasher completes the cancel cycle there's no problem with your pump, drain. There are a few reasons why your dishwasher won’t drain. there are many potential explanations for water in the bottom of a dishwasher when it’s not in use, but one of the simplest is backflow from a kinked drain. Whirlpool Dishwasher Has Water In Bottom After Cycle.
From www.ajmadison.com
Whirlpool WDP540HAMZ 24 Inch Fully Integrated Dishwasher with 12 Place Whirlpool Dishwasher Has Water In Bottom After Cycle not draining after last cycle. if the water is gone after the dishwasher completes the cancel cycle there's no problem with your pump, drain. My dishwasher seems to function normally. why is there water in the bottom of your dishwasher? The dishes seem clean, but the water from. Is water leaking out onto the floor? if. Whirlpool Dishwasher Has Water In Bottom After Cycle.
From www.youtube.com
Clean Quickly with a 1 Hour Wash Cycle Whirlpool® Dishwasher YouTube Whirlpool Dishwasher Has Water In Bottom After Cycle My dishwasher seems to function normally. is your dishwasher full of water at the end of your wash cycle? if your dishwasher has standing water in it after it finishes its cycle, check the check valve. if the water is gone after the dishwasher completes the cancel cycle there's no problem with your pump, drain. The dishes. Whirlpool Dishwasher Has Water In Bottom After Cycle.
From tidyingup.com
Dishwasher Not Filling With Water 6 Easy Ways To Fix It Now Whirlpool Dishwasher Has Water In Bottom After Cycle there are many potential explanations for water in the bottom of a dishwasher when it’s not in use, but one of the simplest is backflow from a kinked drain hose. My dishwasher seems to function normally. is your dishwasher full of water at the end of your wash cycle? Is water leaking out onto the floor? if. Whirlpool Dishwasher Has Water In Bottom After Cycle.
From homeapricot.com
Whirlpool Dishwasher Not Filling with Water How to Fix? HomeApricot Whirlpool Dishwasher Has Water In Bottom After Cycle My dishwasher seems to function normally. if you have a whirlpool dishwasher not draining at end of cycle and the drain pump is not to blame, the drain impeller could be broken. why is there water in the bottom of your dishwasher? There are a few reasons why your dishwasher won’t drain. if the water is gone. Whirlpool Dishwasher Has Water In Bottom After Cycle.
From nerdinthehouse.com
Whirlpool Dishwasher Diagnostic Mode (2023 Procedures) Nerd In The House Whirlpool Dishwasher Has Water In Bottom After Cycle if your dishwasher has standing water in it after it finishes its cycle, check the check valve. if you have a whirlpool dishwasher not draining at end of cycle and the drain pump is not to blame, the drain impeller could be broken. is your dishwasher full of water at the end of your wash cycle? The. Whirlpool Dishwasher Has Water In Bottom After Cycle.
From boatbasincafe.com
Water In The Bottom Of Your Dishwasher (6 Quick Solutions) • BoatBasinCafe Whirlpool Dishwasher Has Water In Bottom After Cycle not draining after last cycle. why is there water in the bottom of your dishwasher? there are many potential explanations for water in the bottom of a dishwasher when it’s not in use, but one of the simplest is backflow from a kinked drain hose. is your dishwasher full of water at the end of your. Whirlpool Dishwasher Has Water In Bottom After Cycle.
From cexhdjap.blob.core.windows.net
Whirlpool Dishwasher Leaking From Bottom Middle Of Door at Ronald Davis Whirlpool Dishwasher Has Water In Bottom After Cycle if you have a whirlpool dishwasher not draining at end of cycle and the drain pump is not to blame, the drain impeller could be broken. if your dishwasher has standing water in it after it finishes its cycle, check the check valve. Is water leaking out onto the floor? why is there water in the bottom. Whirlpool Dishwasher Has Water In Bottom After Cycle.
From kitchenprofy.com
Whirlpool Dishwasher Not Draining How to Fix? KitchenProfy Whirlpool Dishwasher Has Water In Bottom After Cycle not draining after last cycle. My dishwasher seems to function normally. if the water is gone after the dishwasher completes the cancel cycle there's no problem with your pump, drain. The dishes seem clean, but the water from. there are many potential explanations for water in the bottom of a dishwasher when it’s not in use, but. Whirlpool Dishwasher Has Water In Bottom After Cycle.
From www.pinterest.jp
Water Coming Into Dishwasher When Off Dishwasher Fills With Water Whirlpool Dishwasher Has Water In Bottom After Cycle is your dishwasher full of water at the end of your wash cycle? if the water is gone after the dishwasher completes the cancel cycle there's no problem with your pump, drain. Normally, the check valve works only in one direction, but if it gets stuck open, water will end up travelling the wrong way through the drain. Whirlpool Dishwasher Has Water In Bottom After Cycle.
From www.youtube.com
Dishwasher repair Leaking from bottom of door troubleshooting Whirlpool Dishwasher Has Water In Bottom After Cycle not draining after last cycle. My dishwasher seems to function normally. The dishes seem clean, but the water from. why is there water in the bottom of your dishwasher? Normally, the check valve works only in one direction, but if it gets stuck open, water will end up travelling the wrong way through the drain hose. if. Whirlpool Dishwasher Has Water In Bottom After Cycle.
From weprobablyhaveit.com
Whirlpool Integrated Dishwasher We Probably Have It Whirlpool Dishwasher Has Water In Bottom After Cycle there are many potential explanations for water in the bottom of a dishwasher when it’s not in use, but one of the simplest is backflow from a kinked drain hose. There are a few reasons why your dishwasher won’t drain. Is water leaking out onto the floor? The dishes seem clean, but the water from. Normally, the check valve. Whirlpool Dishwasher Has Water In Bottom After Cycle.
From exoykcwjn.blob.core.windows.net
My Lg Dishwasher Has Water In The Bottom at Michelle Mahr blog Whirlpool Dishwasher Has Water In Bottom After Cycle Normally, the check valve works only in one direction, but if it gets stuck open, water will end up travelling the wrong way through the drain hose. why is there water in the bottom of your dishwasher? if the water is gone after the dishwasher completes the cancel cycle there's no problem with your pump, drain. The dishes. Whirlpool Dishwasher Has Water In Bottom After Cycle.
From exoaqgqqn.blob.core.windows.net
Dishwasher Has Water Left In The Bottom at Joseph Smit blog Whirlpool Dishwasher Has Water In Bottom After Cycle if you have a whirlpool dishwasher not draining at end of cycle and the drain pump is not to blame, the drain impeller could be broken. not draining after last cycle. if the water is gone after the dishwasher completes the cancel cycle there's no problem with your pump, drain. there are many potential explanations for. Whirlpool Dishwasher Has Water In Bottom After Cycle.
From maxappliances.ca
Order Your Used Whirlpool Dishwasher WDT720PADM2 Today! Whirlpool Dishwasher Has Water In Bottom After Cycle Normally, the check valve works only in one direction, but if it gets stuck open, water will end up travelling the wrong way through the drain hose. there are many potential explanations for water in the bottom of a dishwasher when it’s not in use, but one of the simplest is backflow from a kinked drain hose. The dishes. Whirlpool Dishwasher Has Water In Bottom After Cycle.
From circuitwiringbraxy77.z13.web.core.windows.net
Parts For Whirlpool Dishwasher Parts Whirlpool Dishwasher Has Water In Bottom After Cycle is your dishwasher full of water at the end of your wash cycle? Is water leaking out onto the floor? if your dishwasher has standing water in it after it finishes its cycle, check the check valve. if you have a whirlpool dishwasher not draining at end of cycle and the drain pump is not to blame,. Whirlpool Dishwasher Has Water In Bottom After Cycle.
From howtofixit.net
Dishwasher Has Standing Water after its cycle? 3 easy things to check. Whirlpool Dishwasher Has Water In Bottom After Cycle Is water leaking out onto the floor? My dishwasher seems to function normally. if you have a whirlpool dishwasher not draining at end of cycle and the drain pump is not to blame, the drain impeller could be broken. if your dishwasher has standing water in it after it finishes its cycle, check the check valve. Normally, the. Whirlpool Dishwasher Has Water In Bottom After Cycle.
From exoaqgqqn.blob.core.windows.net
Dishwasher Has Water Left In The Bottom at Joseph Smit blog Whirlpool Dishwasher Has Water In Bottom After Cycle if your dishwasher has standing water in it after it finishes its cycle, check the check valve. Is water leaking out onto the floor? not draining after last cycle. The dishes seem clean, but the water from. My dishwasher seems to function normally. there are many potential explanations for water in the bottom of a dishwasher when. Whirlpool Dishwasher Has Water In Bottom After Cycle.
From exoaqgqqn.blob.core.windows.net
Dishwasher Has Water Left In The Bottom at Joseph Smit blog Whirlpool Dishwasher Has Water In Bottom After Cycle not draining after last cycle. My dishwasher seems to function normally. There are a few reasons why your dishwasher won’t drain. Is water leaking out onto the floor? is your dishwasher full of water at the end of your wash cycle? there are many potential explanations for water in the bottom of a dishwasher when it’s not. Whirlpool Dishwasher Has Water In Bottom After Cycle.
From dxolgusmu.blob.core.windows.net
Standing Water In Bottom Of Dishwasher Whirlpool at Steven Sturm blog Whirlpool Dishwasher Has Water In Bottom After Cycle Is water leaking out onto the floor? My dishwasher seems to function normally. not draining after last cycle. if the water is gone after the dishwasher completes the cancel cycle there's no problem with your pump, drain. There are a few reasons why your dishwasher won’t drain. Normally, the check valve works only in one direction, but if. Whirlpool Dishwasher Has Water In Bottom After Cycle.
From kitchenseer.com
How Long Is Whirlpool Dishwasher Cycle? [Inc. Normal] Kitchen Seer Whirlpool Dishwasher Has Water In Bottom After Cycle there are many potential explanations for water in the bottom of a dishwasher when it’s not in use, but one of the simplest is backflow from a kinked drain hose. Normally, the check valve works only in one direction, but if it gets stuck open, water will end up travelling the wrong way through the drain hose. if. Whirlpool Dishwasher Has Water In Bottom After Cycle.
From www.youtube.com
how to drain whirlpool dishwasher that is not draining / fix your Whirlpool Dishwasher Has Water In Bottom After Cycle not draining after last cycle. if the water is gone after the dishwasher completes the cancel cycle there's no problem with your pump, drain. there are many potential explanations for water in the bottom of a dishwasher when it’s not in use, but one of the simplest is backflow from a kinked drain hose. is your. Whirlpool Dishwasher Has Water In Bottom After Cycle.
From prudentreviews.com
Water in the Bottom of Your Dishwasher (7 Easy Solutions) Prudent Reviews Whirlpool Dishwasher Has Water In Bottom After Cycle Is water leaking out onto the floor? Normally, the check valve works only in one direction, but if it gets stuck open, water will end up travelling the wrong way through the drain hose. if your dishwasher has standing water in it after it finishes its cycle, check the check valve. The dishes seem clean, but the water from.. Whirlpool Dishwasher Has Water In Bottom After Cycle.
From cleanhomelab.com
How Long Is A Dishwasher Cycle? ResearchBased Ultimate Guide Whirlpool Dishwasher Has Water In Bottom After Cycle why is there water in the bottom of your dishwasher? The dishes seem clean, but the water from. if the water is gone after the dishwasher completes the cancel cycle there's no problem with your pump, drain. There are a few reasons why your dishwasher won’t drain. Is water leaking out onto the floor? My dishwasher seems to. Whirlpool Dishwasher Has Water In Bottom After Cycle.
From machineanswered.com
Whirlpool Dishwasher Starts Then Stops 3 Reasons Machine Answered Whirlpool Dishwasher Has Water In Bottom After Cycle not draining after last cycle. Is water leaking out onto the floor? there are many potential explanations for water in the bottom of a dishwasher when it’s not in use, but one of the simplest is backflow from a kinked drain hose. Normally, the check valve works only in one direction, but if it gets stuck open, water. Whirlpool Dishwasher Has Water In Bottom After Cycle.
From www.vohngallery.com
Whirlpool Dishwasher Not Pumping Water? Fix it Fast with This Guide Whirlpool Dishwasher Has Water In Bottom After Cycle why is there water in the bottom of your dishwasher? is your dishwasher full of water at the end of your wash cycle? if you have a whirlpool dishwasher not draining at end of cycle and the drain pump is not to blame, the drain impeller could be broken. not draining after last cycle. Is water. Whirlpool Dishwasher Has Water In Bottom After Cycle.
From www.ajmadison.com
Whirlpool WDTA50SAHV 24 Inch Fully Integrated BuiltIn Dishwasher with Whirlpool Dishwasher Has Water In Bottom After Cycle not draining after last cycle. There are a few reasons why your dishwasher won’t drain. Normally, the check valve works only in one direction, but if it gets stuck open, water will end up travelling the wrong way through the drain hose. there are many potential explanations for water in the bottom of a dishwasher when it’s not. Whirlpool Dishwasher Has Water In Bottom After Cycle.
From www.ajmadison.com
Whirlpool WDT550SAPW 24 Inch Fully Integrated Dishwasher with 14 Place Whirlpool Dishwasher Has Water In Bottom After Cycle there are many potential explanations for water in the bottom of a dishwasher when it’s not in use, but one of the simplest is backflow from a kinked drain hose. not draining after last cycle. There are a few reasons why your dishwasher won’t drain. is your dishwasher full of water at the end of your wash. Whirlpool Dishwasher Has Water In Bottom After Cycle.
From removeandreplace.com
Water In Bottom Of Dishwasher How To Fix Whirlpool Dishwasher Has Water In Bottom After Cycle There are a few reasons why your dishwasher won’t drain. why is there water in the bottom of your dishwasher? there are many potential explanations for water in the bottom of a dishwasher when it’s not in use, but one of the simplest is backflow from a kinked drain hose. if the water is gone after the. Whirlpool Dishwasher Has Water In Bottom After Cycle.
From prudentreviews.com
Water in the Bottom of Your Dishwasher (6 Quick Solutions) Prudent Whirlpool Dishwasher Has Water In Bottom After Cycle there are many potential explanations for water in the bottom of a dishwasher when it’s not in use, but one of the simplest is backflow from a kinked drain hose. not draining after last cycle. Is water leaking out onto the floor? is your dishwasher full of water at the end of your wash cycle? Normally, the. Whirlpool Dishwasher Has Water In Bottom After Cycle.
From blog.constellation.com
How Long Does a Dishwasher Run and Why? Constellation Whirlpool Dishwasher Has Water In Bottom After Cycle there are many potential explanations for water in the bottom of a dishwasher when it’s not in use, but one of the simplest is backflow from a kinked drain hose. not draining after last cycle. if the water is gone after the dishwasher completes the cancel cycle there's no problem with your pump, drain. if your. Whirlpool Dishwasher Has Water In Bottom After Cycle.
From www.funktionalhome.com
Whirlpool Dishwasher Not Spraying Water 6 Ways To Fix It Whirlpool Dishwasher Has Water In Bottom After Cycle Normally, the check valve works only in one direction, but if it gets stuck open, water will end up travelling the wrong way through the drain hose. there are many potential explanations for water in the bottom of a dishwasher when it’s not in use, but one of the simplest is backflow from a kinked drain hose. if. Whirlpool Dishwasher Has Water In Bottom After Cycle.
From www.youtube.com
WHIRLPOOL Dishwasher Cycles Explained! Comparing Dishwasher Wash Cycles Whirlpool Dishwasher Has Water In Bottom After Cycle not draining after last cycle. The dishes seem clean, but the water from. Normally, the check valve works only in one direction, but if it gets stuck open, water will end up travelling the wrong way through the drain hose. Is water leaking out onto the floor? My dishwasher seems to function normally. There are a few reasons why. Whirlpool Dishwasher Has Water In Bottom After Cycle.
From paradiseapplianceservice.com
How to Repair a Whirlpool Dishwasher that isn't Drying Your Dishes Whirlpool Dishwasher Has Water In Bottom After Cycle There are a few reasons why your dishwasher won’t drain. why is there water in the bottom of your dishwasher? Is water leaking out onto the floor? Normally, the check valve works only in one direction, but if it gets stuck open, water will end up travelling the wrong way through the drain hose. if the water is. Whirlpool Dishwasher Has Water In Bottom After Cycle.