Cooling System Vw 2.0 Engine Parts Diagram . The radiator doesn't have a cap. Coolant hose schematic diagram > Engine cooling / removing and installing parts of cooling system; You add coolant through the reserve tank. 1.6 and 2.0 liter engines with fsi direct fuel injection do not start well in cold weather. Bolted to cylinder head cover. Learn about the cooling system for a vw 2.0 engine, including the radiator, water pump, thermostat, hoses, coolant, fan, and expansion. To top of expansion tank. Coolant hose schematic diagram → chapter. Its the white plastic round tank in the right rear corner of the engine compartment.
from www.researchgate.net
Coolant hose schematic diagram > Coolant hose schematic diagram → chapter. Engine cooling / removing and installing parts of cooling system; Bolted to cylinder head cover. 1.6 and 2.0 liter engines with fsi direct fuel injection do not start well in cold weather. Learn about the cooling system for a vw 2.0 engine, including the radiator, water pump, thermostat, hoses, coolant, fan, and expansion. The radiator doesn't have a cap. You add coolant through the reserve tank. Its the white plastic round tank in the right rear corner of the engine compartment. To top of expansion tank.
Schematic diagram of a conventional cooling system [2]. Download
Cooling System Vw 2.0 Engine Parts Diagram You add coolant through the reserve tank. 1.6 and 2.0 liter engines with fsi direct fuel injection do not start well in cold weather. The radiator doesn't have a cap. Engine cooling / removing and installing parts of cooling system; Coolant hose schematic diagram > Coolant hose schematic diagram → chapter. To top of expansion tank. Its the white plastic round tank in the right rear corner of the engine compartment. You add coolant through the reserve tank. Learn about the cooling system for a vw 2.0 engine, including the radiator, water pump, thermostat, hoses, coolant, fan, and expansion. Bolted to cylinder head cover.
From stewart-switch.com
Cooling System Vw 2.0 Engine Parts Diagram Cooling System Vw 2.0 Engine Parts Diagram Its the white plastic round tank in the right rear corner of the engine compartment. Coolant hose schematic diagram > Engine cooling / removing and installing parts of cooling system; You add coolant through the reserve tank. Coolant hose schematic diagram → chapter. The radiator doesn't have a cap. 1.6 and 2.0 liter engines with fsi direct fuel injection do. Cooling System Vw 2.0 Engine Parts Diagram.
From circuitdiagramuta77.z13.web.core.windows.net
Vw 2 0 Engine Diagram 1996 Cooling System Vw 2.0 Engine Parts Diagram You add coolant through the reserve tank. Coolant hose schematic diagram → chapter. Learn about the cooling system for a vw 2.0 engine, including the radiator, water pump, thermostat, hoses, coolant, fan, and expansion. Bolted to cylinder head cover. Coolant hose schematic diagram > Engine cooling / removing and installing parts of cooling system; The radiator doesn't have a cap.. Cooling System Vw 2.0 Engine Parts Diagram.
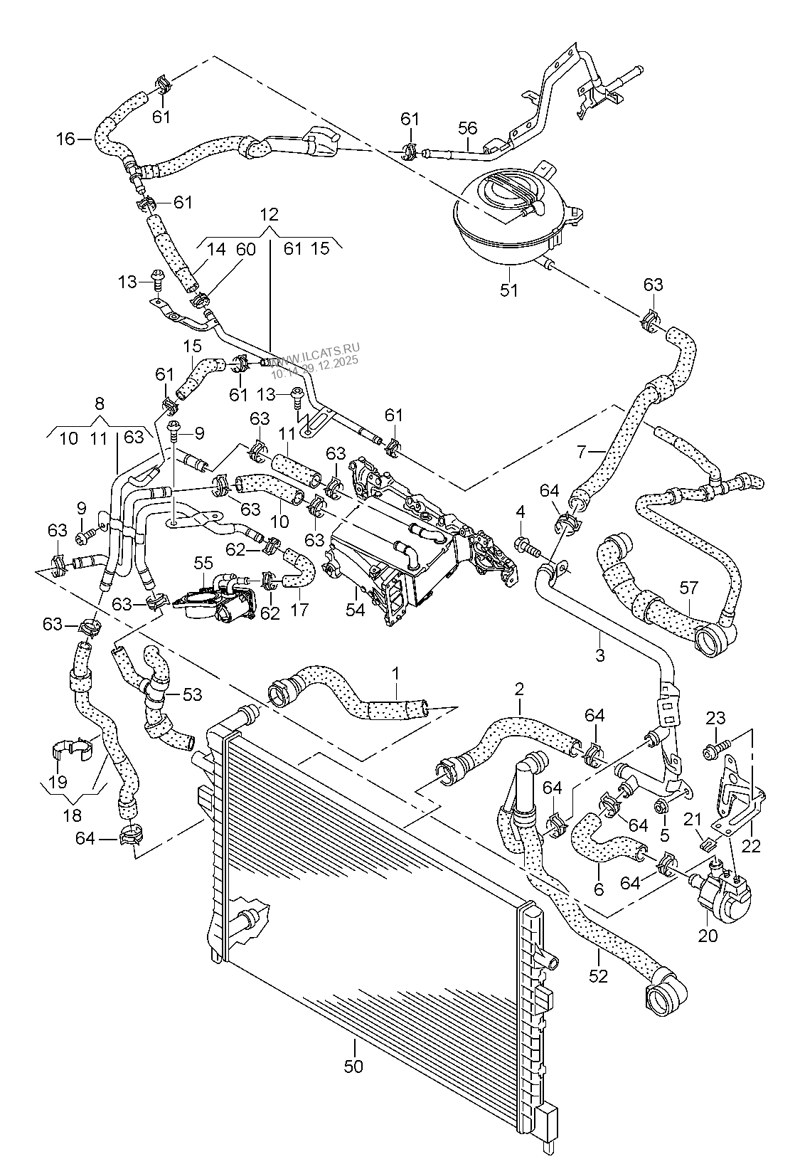
From www.ilcats.ru
coolant cooling system VW Cooling System Vw 2.0 Engine Parts Diagram Coolant hose schematic diagram > Bolted to cylinder head cover. The radiator doesn't have a cap. To top of expansion tank. You add coolant through the reserve tank. Learn about the cooling system for a vw 2.0 engine, including the radiator, water pump, thermostat, hoses, coolant, fan, and expansion. Its the white plastic round tank in the right rear corner. Cooling System Vw 2.0 Engine Parts Diagram.
From enginefixemerson.z6.web.core.windows.net
Vw 2.0 Engine Diagram Cooling System Vw 2.0 Engine Parts Diagram Engine cooling / removing and installing parts of cooling system; Coolant hose schematic diagram → chapter. The radiator doesn't have a cap. Its the white plastic round tank in the right rear corner of the engine compartment. Learn about the cooling system for a vw 2.0 engine, including the radiator, water pump, thermostat, hoses, coolant, fan, and expansion. 1.6 and. Cooling System Vw 2.0 Engine Parts Diagram.
From autoctrls.com
Understanding the 2000 VW Jetta Cooling System A Comprehensive Diagram Cooling System Vw 2.0 Engine Parts Diagram Bolted to cylinder head cover. You add coolant through the reserve tank. Coolant hose schematic diagram → chapter. Coolant hose schematic diagram > To top of expansion tank. Its the white plastic round tank in the right rear corner of the engine compartment. Engine cooling / removing and installing parts of cooling system; Learn about the cooling system for a. Cooling System Vw 2.0 Engine Parts Diagram.
From vwgolf5catalogue.blogspot.com
VW Golf 5 coolant cooling system 2.0 ltr.AXW,BLX,BLY, BLR Cooling System Vw 2.0 Engine Parts Diagram The radiator doesn't have a cap. Coolant hose schematic diagram > You add coolant through the reserve tank. Learn about the cooling system for a vw 2.0 engine, including the radiator, water pump, thermostat, hoses, coolant, fan, and expansion. Coolant hose schematic diagram → chapter. Its the white plastic round tank in the right rear corner of the engine compartment.. Cooling System Vw 2.0 Engine Parts Diagram.
From fixenginedebra.z21.web.core.windows.net
Vw 2.0 Engine Parts Diagram Cooling System Vw 2.0 Engine Parts Diagram Coolant hose schematic diagram → chapter. Coolant hose schematic diagram > Engine cooling / removing and installing parts of cooling system; Bolted to cylinder head cover. The radiator doesn't have a cap. 1.6 and 2.0 liter engines with fsi direct fuel injection do not start well in cold weather. Learn about the cooling system for a vw 2.0 engine, including. Cooling System Vw 2.0 Engine Parts Diagram.
From www.ilcats.ru
coolant cooling system VW Cooling System Vw 2.0 Engine Parts Diagram You add coolant through the reserve tank. Its the white plastic round tank in the right rear corner of the engine compartment. Coolant hose schematic diagram > Engine cooling / removing and installing parts of cooling system; Learn about the cooling system for a vw 2.0 engine, including the radiator, water pump, thermostat, hoses, coolant, fan, and expansion. The radiator. Cooling System Vw 2.0 Engine Parts Diagram.
From manualfixloggins.z13.web.core.windows.net
Cooling System Vw 2.0 Engine Parts Diagram Cooling System Vw 2.0 Engine Parts Diagram You add coolant through the reserve tank. The radiator doesn't have a cap. Its the white plastic round tank in the right rear corner of the engine compartment. Learn about the cooling system for a vw 2.0 engine, including the radiator, water pump, thermostat, hoses, coolant, fan, and expansion. Engine cooling / removing and installing parts of cooling system; Coolant. Cooling System Vw 2.0 Engine Parts Diagram.
From www.lllparts.co.uk
Volkswagen Cooler For Coolant 3A0121253AB LLLParts Cooling System Vw 2.0 Engine Parts Diagram Its the white plastic round tank in the right rear corner of the engine compartment. To top of expansion tank. Engine cooling / removing and installing parts of cooling system; Learn about the cooling system for a vw 2.0 engine, including the radiator, water pump, thermostat, hoses, coolant, fan, and expansion. 1.6 and 2.0 liter engines with fsi direct fuel. Cooling System Vw 2.0 Engine Parts Diagram.
From www.ilcats.ru
coolant cooling system VW PASSAT Cooling System Vw 2.0 Engine Parts Diagram To top of expansion tank. Coolant hose schematic diagram → chapter. 1.6 and 2.0 liter engines with fsi direct fuel injection do not start well in cold weather. Its the white plastic round tank in the right rear corner of the engine compartment. Learn about the cooling system for a vw 2.0 engine, including the radiator, water pump, thermostat, hoses,. Cooling System Vw 2.0 Engine Parts Diagram.
From diagramfixjimmie.z21.web.core.windows.net
Vw 2.0 Tsi Engine Diagram Cooling System Vw 2.0 Engine Parts Diagram Its the white plastic round tank in the right rear corner of the engine compartment. The radiator doesn't have a cap. Learn about the cooling system for a vw 2.0 engine, including the radiator, water pump, thermostat, hoses, coolant, fan, and expansion. Coolant hose schematic diagram → chapter. Bolted to cylinder head cover. You add coolant through the reserve tank.. Cooling System Vw 2.0 Engine Parts Diagram.
From www.ilcats.ru
coolant cooling system VW TIGUAN Cooling System Vw 2.0 Engine Parts Diagram Its the white plastic round tank in the right rear corner of the engine compartment. The radiator doesn't have a cap. 1.6 and 2.0 liter engines with fsi direct fuel injection do not start well in cold weather. You add coolant through the reserve tank. To top of expansion tank. Bolted to cylinder head cover. Coolant hose schematic diagram →. Cooling System Vw 2.0 Engine Parts Diagram.
From www.ilcats.ru
coolant cooling system VW Cooling System Vw 2.0 Engine Parts Diagram Learn about the cooling system for a vw 2.0 engine, including the radiator, water pump, thermostat, hoses, coolant, fan, and expansion. Its the white plastic round tank in the right rear corner of the engine compartment. Coolant hose schematic diagram > Coolant hose schematic diagram → chapter. The radiator doesn't have a cap. To top of expansion tank. You add. Cooling System Vw 2.0 Engine Parts Diagram.
From engineeringdiscoveries.com
How Engine Cooling System Works? Engineering Discoveries Cooling System Vw 2.0 Engine Parts Diagram Coolant hose schematic diagram → chapter. Coolant hose schematic diagram > The radiator doesn't have a cap. Bolted to cylinder head cover. Learn about the cooling system for a vw 2.0 engine, including the radiator, water pump, thermostat, hoses, coolant, fan, and expansion. 1.6 and 2.0 liter engines with fsi direct fuel injection do not start well in cold weather.. Cooling System Vw 2.0 Engine Parts Diagram.
From techdiagrammer.com
The Ultimate Guide to Understanding VW T25 Cooling System with Diagrams Cooling System Vw 2.0 Engine Parts Diagram Engine cooling / removing and installing parts of cooling system; To top of expansion tank. The radiator doesn't have a cap. 1.6 and 2.0 liter engines with fsi direct fuel injection do not start well in cold weather. Coolant hose schematic diagram → chapter. Bolted to cylinder head cover. Learn about the cooling system for a vw 2.0 engine, including. Cooling System Vw 2.0 Engine Parts Diagram.
From www.ilcats.ru
coolant cooling system VW Cooling System Vw 2.0 Engine Parts Diagram You add coolant through the reserve tank. To top of expansion tank. Engine cooling / removing and installing parts of cooling system; Coolant hose schematic diagram → chapter. Learn about the cooling system for a vw 2.0 engine, including the radiator, water pump, thermostat, hoses, coolant, fan, and expansion. 1.6 and 2.0 liter engines with fsi direct fuel injection do. Cooling System Vw 2.0 Engine Parts Diagram.
From www.ilcats.ru
coolant cooling system VW Cooling System Vw 2.0 Engine Parts Diagram To top of expansion tank. Coolant hose schematic diagram > The radiator doesn't have a cap. Engine cooling / removing and installing parts of cooling system; 1.6 and 2.0 liter engines with fsi direct fuel injection do not start well in cold weather. Bolted to cylinder head cover. Coolant hose schematic diagram → chapter. You add coolant through the reserve. Cooling System Vw 2.0 Engine Parts Diagram.
From workshop-manuals.com
Volkswagen Service and Repair Manuals > Golf Mk4 > Engine 4 Cooling System Vw 2.0 Engine Parts Diagram Coolant hose schematic diagram > Coolant hose schematic diagram → chapter. The radiator doesn't have a cap. Its the white plastic round tank in the right rear corner of the engine compartment. Learn about the cooling system for a vw 2.0 engine, including the radiator, water pump, thermostat, hoses, coolant, fan, and expansion. Bolted to cylinder head cover. To top. Cooling System Vw 2.0 Engine Parts Diagram.
From stewart-switch.com
Cooling System Vw 2.0 Engine Parts Diagram Cooling System Vw 2.0 Engine Parts Diagram The radiator doesn't have a cap. Learn about the cooling system for a vw 2.0 engine, including the radiator, water pump, thermostat, hoses, coolant, fan, and expansion. Engine cooling / removing and installing parts of cooling system; You add coolant through the reserve tank. Coolant hose schematic diagram > 1.6 and 2.0 liter engines with fsi direct fuel injection do. Cooling System Vw 2.0 Engine Parts Diagram.
From www.ilcats.ru
coolant cooling system VW Cooling System Vw 2.0 Engine Parts Diagram Engine cooling / removing and installing parts of cooling system; Coolant hose schematic diagram → chapter. Coolant hose schematic diagram > Its the white plastic round tank in the right rear corner of the engine compartment. 1.6 and 2.0 liter engines with fsi direct fuel injection do not start well in cold weather. Learn about the cooling system for a. Cooling System Vw 2.0 Engine Parts Diagram.
From www.automanuals.biz
The cooling system (diesel engines). Volkswagen Touareg (from 2003 to Cooling System Vw 2.0 Engine Parts Diagram Its the white plastic round tank in the right rear corner of the engine compartment. 1.6 and 2.0 liter engines with fsi direct fuel injection do not start well in cold weather. Bolted to cylinder head cover. Engine cooling / removing and installing parts of cooling system; To top of expansion tank. You add coolant through the reserve tank. Coolant. Cooling System Vw 2.0 Engine Parts Diagram.
From techdiagrammer.com
The Ultimate Guide to Understanding VW T25 Cooling System with Diagrams Cooling System Vw 2.0 Engine Parts Diagram Its the white plastic round tank in the right rear corner of the engine compartment. Engine cooling / removing and installing parts of cooling system; Bolted to cylinder head cover. 1.6 and 2.0 liter engines with fsi direct fuel injection do not start well in cold weather. Learn about the cooling system for a vw 2.0 engine, including the radiator,. Cooling System Vw 2.0 Engine Parts Diagram.
From stewart-switch.com
Cooling System Vw 2.0 Engine Parts Diagram Cooling System Vw 2.0 Engine Parts Diagram 1.6 and 2.0 liter engines with fsi direct fuel injection do not start well in cold weather. Learn about the cooling system for a vw 2.0 engine, including the radiator, water pump, thermostat, hoses, coolant, fan, and expansion. You add coolant through the reserve tank. Coolant hose schematic diagram → chapter. Its the white plastic round tank in the right. Cooling System Vw 2.0 Engine Parts Diagram.
From www.jimellisvwparts.com
2015 Volkswagenvw GTI 2.0L Connector pipe plug. Engine Coolant Pipe Cooling System Vw 2.0 Engine Parts Diagram Coolant hose schematic diagram → chapter. The radiator doesn't have a cap. To top of expansion tank. You add coolant through the reserve tank. Learn about the cooling system for a vw 2.0 engine, including the radiator, water pump, thermostat, hoses, coolant, fan, and expansion. Coolant hose schematic diagram > 1.6 and 2.0 liter engines with fsi direct fuel injection. Cooling System Vw 2.0 Engine Parts Diagram.
From manualfixloggins.z13.web.core.windows.net
Cooling System Vw 2.0 Engine Parts Diagram Cooling System Vw 2.0 Engine Parts Diagram You add coolant through the reserve tank. Engine cooling / removing and installing parts of cooling system; The radiator doesn't have a cap. Coolant hose schematic diagram → chapter. Bolted to cylinder head cover. To top of expansion tank. Learn about the cooling system for a vw 2.0 engine, including the radiator, water pump, thermostat, hoses, coolant, fan, and expansion.. Cooling System Vw 2.0 Engine Parts Diagram.
From engineeringdiscoveries.com
How Engine Cooling System Works? Engineering Discoveries Cooling System Vw 2.0 Engine Parts Diagram To top of expansion tank. Coolant hose schematic diagram > You add coolant through the reserve tank. The radiator doesn't have a cap. Engine cooling / removing and installing parts of cooling system; Bolted to cylinder head cover. Coolant hose schematic diagram → chapter. Learn about the cooling system for a vw 2.0 engine, including the radiator, water pump, thermostat,. Cooling System Vw 2.0 Engine Parts Diagram.
From www.peninsulaautomotive.com
Cooling System VW Maintenance & Repair Peninsula Automotive Cooling System Vw 2.0 Engine Parts Diagram Engine cooling / removing and installing parts of cooling system; Coolant hose schematic diagram → chapter. Coolant hose schematic diagram > To top of expansion tank. The radiator doesn't have a cap. Learn about the cooling system for a vw 2.0 engine, including the radiator, water pump, thermostat, hoses, coolant, fan, and expansion. Its the white plastic round tank in. Cooling System Vw 2.0 Engine Parts Diagram.
From schematicpartroe.z19.web.core.windows.net
Vw 2.0 Engine Parts Diagram Cooling System Vw 2.0 Engine Parts Diagram 1.6 and 2.0 liter engines with fsi direct fuel injection do not start well in cold weather. Engine cooling / removing and installing parts of cooling system; To top of expansion tank. Learn about the cooling system for a vw 2.0 engine, including the radiator, water pump, thermostat, hoses, coolant, fan, and expansion. You add coolant through the reserve tank.. Cooling System Vw 2.0 Engine Parts Diagram.
From www.researchgate.net
Schematic diagram of a conventional cooling system [2]. Download Cooling System Vw 2.0 Engine Parts Diagram The radiator doesn't have a cap. 1.6 and 2.0 liter engines with fsi direct fuel injection do not start well in cold weather. Coolant hose schematic diagram → chapter. You add coolant through the reserve tank. To top of expansion tank. Its the white plastic round tank in the right rear corner of the engine compartment. Bolted to cylinder head. Cooling System Vw 2.0 Engine Parts Diagram.
From diagramweb.net
Understanding the Cooling System Diagram of Vw T25 Cooling System Vw 2.0 Engine Parts Diagram 1.6 and 2.0 liter engines with fsi direct fuel injection do not start well in cold weather. To top of expansion tank. Bolted to cylinder head cover. Engine cooling / removing and installing parts of cooling system; Coolant hose schematic diagram → chapter. Coolant hose schematic diagram > The radiator doesn't have a cap. Learn about the cooling system for. Cooling System Vw 2.0 Engine Parts Diagram.
From www.ilcats.ru
coolant cooling system VW Cooling System Vw 2.0 Engine Parts Diagram Engine cooling / removing and installing parts of cooling system; You add coolant through the reserve tank. 1.6 and 2.0 liter engines with fsi direct fuel injection do not start well in cold weather. Bolted to cylinder head cover. The radiator doesn't have a cap. Coolant hose schematic diagram > Its the white plastic round tank in the right rear. Cooling System Vw 2.0 Engine Parts Diagram.
From www.ilcats.ru
coolant cooling system VW Cooling System Vw 2.0 Engine Parts Diagram Coolant hose schematic diagram → chapter. Coolant hose schematic diagram > The radiator doesn't have a cap. 1.6 and 2.0 liter engines with fsi direct fuel injection do not start well in cold weather. Engine cooling / removing and installing parts of cooling system; To top of expansion tank. Learn about the cooling system for a vw 2.0 engine, including. Cooling System Vw 2.0 Engine Parts Diagram.
From mydiagram.online
[DIAGRAM] Air Cooled Vw Engine Wiring Diagram Cooling System Vw 2.0 Engine Parts Diagram Coolant hose schematic diagram → chapter. 1.6 and 2.0 liter engines with fsi direct fuel injection do not start well in cold weather. Engine cooling / removing and installing parts of cooling system; You add coolant through the reserve tank. Bolted to cylinder head cover. Its the white plastic round tank in the right rear corner of the engine compartment.. Cooling System Vw 2.0 Engine Parts Diagram.
From enginelibstubbliest.z14.web.core.windows.net
Vw Engine Cooling System Cooling System Vw 2.0 Engine Parts Diagram To top of expansion tank. You add coolant through the reserve tank. Bolted to cylinder head cover. Engine cooling / removing and installing parts of cooling system; The radiator doesn't have a cap. Learn about the cooling system for a vw 2.0 engine, including the radiator, water pump, thermostat, hoses, coolant, fan, and expansion. 1.6 and 2.0 liter engines with. Cooling System Vw 2.0 Engine Parts Diagram.