Auto Hand Dryer Circuit . learn, how to make an automatic hand dryer or touchless hand dryer (arduino project). this project describes how to use the slg46811 to implement an automatic hand dryer with the possibility. In the hand dryer system, air blower is used. This project uses arduino uno to build an automatic dryer which only activates when the paper, towel or piece of cloth (connected to probes) is wet to a certain degree.
from device.report
this project describes how to use the slg46811 to implement an automatic hand dryer with the possibility. This project uses arduino uno to build an automatic dryer which only activates when the paper, towel or piece of cloth (connected to probes) is wet to a certain degree. learn, how to make an automatic hand dryer or touchless hand dryer (arduino project). In the hand dryer system, air blower is used.
DAN DRYER 346 Turbo Low Noise Hand Dryer User Manual
Auto Hand Dryer Circuit learn, how to make an automatic hand dryer or touchless hand dryer (arduino project). In the hand dryer system, air blower is used. This project uses arduino uno to build an automatic dryer which only activates when the paper, towel or piece of cloth (connected to probes) is wet to a certain degree. this project describes how to use the slg46811 to implement an automatic hand dryer with the possibility. learn, how to make an automatic hand dryer or touchless hand dryer (arduino project).
From www.eenewseurope.com
Automatic hand dryer with universal AC input Auto Hand Dryer Circuit this project describes how to use the slg46811 to implement an automatic hand dryer with the possibility. learn, how to make an automatic hand dryer or touchless hand dryer (arduino project). In the hand dryer system, air blower is used. This project uses arduino uno to build an automatic dryer which only activates when the paper, towel or. Auto Hand Dryer Circuit.
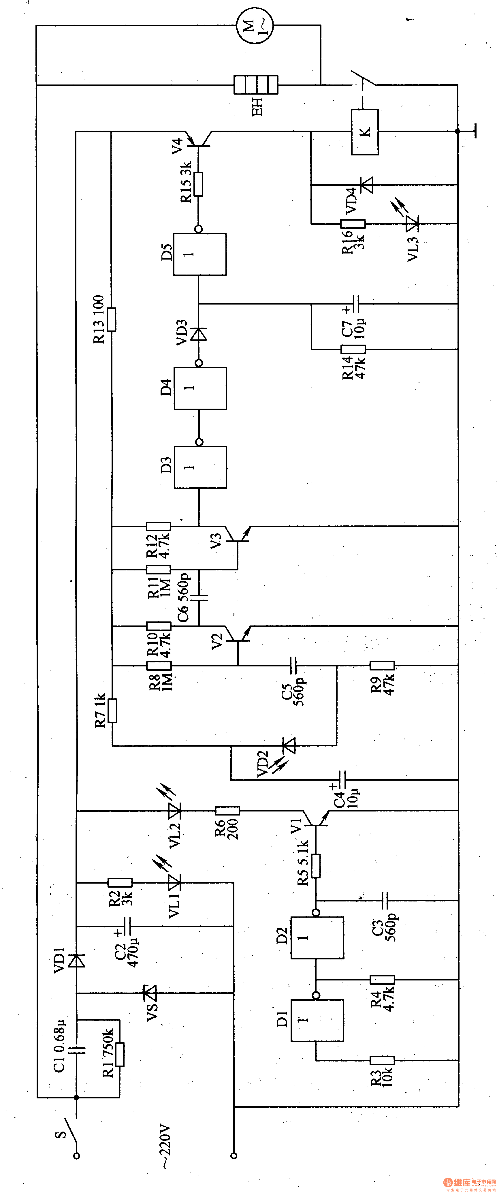
From www.handdryer.com
ASI AUTOMATIK (208V240V) TRADITIONAL Series NO TOUCH Model IR CIRCUIT Auto Hand Dryer Circuit learn, how to make an automatic hand dryer or touchless hand dryer (arduino project). This project uses arduino uno to build an automatic dryer which only activates when the paper, towel or piece of cloth (connected to probes) is wet to a certain degree. In the hand dryer system, air blower is used. this project describes how to. Auto Hand Dryer Circuit.
From www.seekic.com
Automatic hand dryer 3 Basic_Circuit Circuit Diagram Auto Hand Dryer Circuit learn, how to make an automatic hand dryer or touchless hand dryer (arduino project). In the hand dryer system, air blower is used. this project describes how to use the slg46811 to implement an automatic hand dryer with the possibility. This project uses arduino uno to build an automatic dryer which only activates when the paper, towel or. Auto Hand Dryer Circuit.
From www.seekic.com
Automatic hand dryer 1 Basic_Circuit Circuit Diagram Auto Hand Dryer Circuit learn, how to make an automatic hand dryer or touchless hand dryer (arduino project). This project uses arduino uno to build an automatic dryer which only activates when the paper, towel or piece of cloth (connected to probes) is wet to a certain degree. In the hand dryer system, air blower is used. this project describes how to. Auto Hand Dryer Circuit.
From www.flowschema.com
Dryer Wiring Diagram Schematic Wiring Flow Schema Auto Hand Dryer Circuit This project uses arduino uno to build an automatic dryer which only activates when the paper, towel or piece of cloth (connected to probes) is wet to a certain degree. learn, how to make an automatic hand dryer or touchless hand dryer (arduino project). In the hand dryer system, air blower is used. this project describes how to. Auto Hand Dryer Circuit.
From www.seekic.com
Automatic hand dryer 4 Basic_Circuit Circuit Diagram Auto Hand Dryer Circuit This project uses arduino uno to build an automatic dryer which only activates when the paper, towel or piece of cloth (connected to probes) is wet to a certain degree. learn, how to make an automatic hand dryer or touchless hand dryer (arduino project). this project describes how to use the slg46811 to implement an automatic hand dryer. Auto Hand Dryer Circuit.
From www.eenewseurope.com
Automatic hand dryer with universal AC input Auto Hand Dryer Circuit In the hand dryer system, air blower is used. This project uses arduino uno to build an automatic dryer which only activates when the paper, towel or piece of cloth (connected to probes) is wet to a certain degree. learn, how to make an automatic hand dryer or touchless hand dryer (arduino project). this project describes how to. Auto Hand Dryer Circuit.
From www.eenewseurope.com
Automatic hand dryer with universal AC input Auto Hand Dryer Circuit this project describes how to use the slg46811 to implement an automatic hand dryer with the possibility. This project uses arduino uno to build an automatic dryer which only activates when the paper, towel or piece of cloth (connected to probes) is wet to a certain degree. In the hand dryer system, air blower is used. learn, how. Auto Hand Dryer Circuit.
From www.indiamart.com
DC Hand Dryer PCB Circuit at Rs 700/piece in New Delhi ID 2851895334497 Auto Hand Dryer Circuit In the hand dryer system, air blower is used. learn, how to make an automatic hand dryer or touchless hand dryer (arduino project). This project uses arduino uno to build an automatic dryer which only activates when the paper, towel or piece of cloth (connected to probes) is wet to a certain degree. this project describes how to. Auto Hand Dryer Circuit.
From circuitlistgoldschmidt.z19.web.core.windows.net
Wiring Automatic Hand Dryer Auto Hand Dryer Circuit learn, how to make an automatic hand dryer or touchless hand dryer (arduino project). this project describes how to use the slg46811 to implement an automatic hand dryer with the possibility. This project uses arduino uno to build an automatic dryer which only activates when the paper, towel or piece of cloth (connected to probes) is wet to. Auto Hand Dryer Circuit.
From device.report
DAN DRYER 346 Turbo Low Noise Hand Dryer User Manual Auto Hand Dryer Circuit In the hand dryer system, air blower is used. this project describes how to use the slg46811 to implement an automatic hand dryer with the possibility. learn, how to make an automatic hand dryer or touchless hand dryer (arduino project). This project uses arduino uno to build an automatic dryer which only activates when the paper, towel or. Auto Hand Dryer Circuit.
From www.electroschematics.com
Automatic Hand Dryer Circuit Auto Hand Dryer Circuit learn, how to make an automatic hand dryer or touchless hand dryer (arduino project). In the hand dryer system, air blower is used. This project uses arduino uno to build an automatic dryer which only activates when the paper, towel or piece of cloth (connected to probes) is wet to a certain degree. this project describes how to. Auto Hand Dryer Circuit.
From www.youtube.com
How to make an Automatic Hand Dryer (Arduino Project) YouTube Auto Hand Dryer Circuit this project describes how to use the slg46811 to implement an automatic hand dryer with the possibility. learn, how to make an automatic hand dryer or touchless hand dryer (arduino project). In the hand dryer system, air blower is used. This project uses arduino uno to build an automatic dryer which only activates when the paper, towel or. Auto Hand Dryer Circuit.
From hackaday.io
Automatic Hand Dryer with Universal AC Input Details Hackaday.io Auto Hand Dryer Circuit This project uses arduino uno to build an automatic dryer which only activates when the paper, towel or piece of cloth (connected to probes) is wet to a certain degree. learn, how to make an automatic hand dryer or touchless hand dryer (arduino project). In the hand dryer system, air blower is used. this project describes how to. Auto Hand Dryer Circuit.
From www.pinterest.com
Como fazer o circuito automático de lavagem da sua mão usando o Auto Hand Dryer Circuit This project uses arduino uno to build an automatic dryer which only activates when the paper, towel or piece of cloth (connected to probes) is wet to a certain degree. learn, how to make an automatic hand dryer or touchless hand dryer (arduino project). In the hand dryer system, air blower is used. this project describes how to. Auto Hand Dryer Circuit.
From www.next.gr
Bathroom automatic hand dryer circuit under Automation Circuits 59635 Auto Hand Dryer Circuit this project describes how to use the slg46811 to implement an automatic hand dryer with the possibility. In the hand dryer system, air blower is used. learn, how to make an automatic hand dryer or touchless hand dryer (arduino project). This project uses arduino uno to build an automatic dryer which only activates when the paper, towel or. Auto Hand Dryer Circuit.
From depositphotos.com
Hand dryer circuit board Stock Photo by ©photography33 175238112 Auto Hand Dryer Circuit this project describes how to use the slg46811 to implement an automatic hand dryer with the possibility. This project uses arduino uno to build an automatic dryer which only activates when the paper, towel or piece of cloth (connected to probes) is wet to a certain degree. learn, how to make an automatic hand dryer or touchless hand. Auto Hand Dryer Circuit.
From www.frostproductsltd.com
Automatic Hand Dryer 220 Volt Frost Auto Hand Dryer Circuit learn, how to make an automatic hand dryer or touchless hand dryer (arduino project). this project describes how to use the slg46811 to implement an automatic hand dryer with the possibility. This project uses arduino uno to build an automatic dryer which only activates when the paper, towel or piece of cloth (connected to probes) is wet to. Auto Hand Dryer Circuit.
From wiringdatamelissa.z19.web.core.windows.net
Automatic Hand Sanitizer Circuit Diagram Auto Hand Dryer Circuit This project uses arduino uno to build an automatic dryer which only activates when the paper, towel or piece of cloth (connected to probes) is wet to a certain degree. learn, how to make an automatic hand dryer or touchless hand dryer (arduino project). this project describes how to use the slg46811 to implement an automatic hand dryer. Auto Hand Dryer Circuit.
From www.tacc.co.ke
Mediclinics Machflow Auto Hand Dryer, Bright Steel TACC shop Auto Hand Dryer Circuit learn, how to make an automatic hand dryer or touchless hand dryer (arduino project). This project uses arduino uno to build an automatic dryer which only activates when the paper, towel or piece of cloth (connected to probes) is wet to a certain degree. In the hand dryer system, air blower is used. this project describes how to. Auto Hand Dryer Circuit.
From www.berls.com
Bobrick 3725 115V.MBLK ADA Recessed Automatic Touchless Hand Dryer Auto Hand Dryer Circuit This project uses arduino uno to build an automatic dryer which only activates when the paper, towel or piece of cloth (connected to probes) is wet to a certain degree. learn, how to make an automatic hand dryer or touchless hand dryer (arduino project). this project describes how to use the slg46811 to implement an automatic hand dryer. Auto Hand Dryer Circuit.
From www.indiamart.com
DC Hand Dryer PCB Circuit at Rs 700/piece in New Delhi ID 2851895334497 Auto Hand Dryer Circuit This project uses arduino uno to build an automatic dryer which only activates when the paper, towel or piece of cloth (connected to probes) is wet to a certain degree. this project describes how to use the slg46811 to implement an automatic hand dryer with the possibility. In the hand dryer system, air blower is used. learn, how. Auto Hand Dryer Circuit.
From circuitlistgoldschmidt.z19.web.core.windows.net
Wiring Automatic Hand Dryer Auto Hand Dryer Circuit In the hand dryer system, air blower is used. learn, how to make an automatic hand dryer or touchless hand dryer (arduino project). this project describes how to use the slg46811 to implement an automatic hand dryer with the possibility. This project uses arduino uno to build an automatic dryer which only activates when the paper, towel or. Auto Hand Dryer Circuit.
From www.next.gr
Infrared automatic hand dryer circuit diagram under Repositorycircuits Auto Hand Dryer Circuit In the hand dryer system, air blower is used. this project describes how to use the slg46811 to implement an automatic hand dryer with the possibility. learn, how to make an automatic hand dryer or touchless hand dryer (arduino project). This project uses arduino uno to build an automatic dryer which only activates when the paper, towel or. Auto Hand Dryer Circuit.
From appliantology.org
GE Hotpoint NBXR333GG5 Gas Dryer Timer Motor Circuit Auto Dry The Auto Hand Dryer Circuit In the hand dryer system, air blower is used. learn, how to make an automatic hand dryer or touchless hand dryer (arduino project). this project describes how to use the slg46811 to implement an automatic hand dryer with the possibility. This project uses arduino uno to build an automatic dryer which only activates when the paper, towel or. Auto Hand Dryer Circuit.
From 555icproject.blogspot.com
555 IC PROJECT ELECTRONIC HAND DRYER Auto Hand Dryer Circuit learn, how to make an automatic hand dryer or touchless hand dryer (arduino project). This project uses arduino uno to build an automatic dryer which only activates when the paper, towel or piece of cloth (connected to probes) is wet to a certain degree. this project describes how to use the slg46811 to implement an automatic hand dryer. Auto Hand Dryer Circuit.
From www.seekic.com
Automatic hand dryer 5 Basic_Circuit Circuit Diagram Auto Hand Dryer Circuit This project uses arduino uno to build an automatic dryer which only activates when the paper, towel or piece of cloth (connected to probes) is wet to a certain degree. this project describes how to use the slg46811 to implement an automatic hand dryer with the possibility. In the hand dryer system, air blower is used. learn, how. Auto Hand Dryer Circuit.
From circuitdbjoanne.z21.web.core.windows.net
Dryer Circuit Diagram Auto Hand Dryer Circuit This project uses arduino uno to build an automatic dryer which only activates when the paper, towel or piece of cloth (connected to probes) is wet to a certain degree. In the hand dryer system, air blower is used. learn, how to make an automatic hand dryer or touchless hand dryer (arduino project). this project describes how to. Auto Hand Dryer Circuit.
From www.electroschematics.com
Automatic Hand Dryer Circuit Auto Hand Dryer Circuit this project describes how to use the slg46811 to implement an automatic hand dryer with the possibility. This project uses arduino uno to build an automatic dryer which only activates when the paper, towel or piece of cloth (connected to probes) is wet to a certain degree. learn, how to make an automatic hand dryer or touchless hand. Auto Hand Dryer Circuit.
From device.report
DAN DRYER A S 372373 Airtap BuildIn Hand Dryer User Manual Auto Hand Dryer Circuit In the hand dryer system, air blower is used. learn, how to make an automatic hand dryer or touchless hand dryer (arduino project). this project describes how to use the slg46811 to implement an automatic hand dryer with the possibility. This project uses arduino uno to build an automatic dryer which only activates when the paper, towel or. Auto Hand Dryer Circuit.
From bestelectronicproject.blogspot.com
Electronic Project Automatic Hand Dryer Circuit Auto Hand Dryer Circuit This project uses arduino uno to build an automatic dryer which only activates when the paper, towel or piece of cloth (connected to probes) is wet to a certain degree. learn, how to make an automatic hand dryer or touchless hand dryer (arduino project). In the hand dryer system, air blower is used. this project describes how to. Auto Hand Dryer Circuit.
From dxoqvwkkw.blob.core.windows.net
Dryer Auto Meaning at Nita Milton blog Auto Hand Dryer Circuit learn, how to make an automatic hand dryer or touchless hand dryer (arduino project). this project describes how to use the slg46811 to implement an automatic hand dryer with the possibility. This project uses arduino uno to build an automatic dryer which only activates when the paper, towel or piece of cloth (connected to probes) is wet to. Auto Hand Dryer Circuit.
From schematicpartclaudia.z19.web.core.windows.net
Automatic Hand Dryer Circuit Diagram Auto Hand Dryer Circuit this project describes how to use the slg46811 to implement an automatic hand dryer with the possibility. learn, how to make an automatic hand dryer or touchless hand dryer (arduino project). In the hand dryer system, air blower is used. This project uses arduino uno to build an automatic dryer which only activates when the paper, towel or. Auto Hand Dryer Circuit.
From schematicpartclaudia.z19.web.core.windows.net
Automatic Hand Dryer Parts Auto Hand Dryer Circuit this project describes how to use the slg46811 to implement an automatic hand dryer with the possibility. learn, how to make an automatic hand dryer or touchless hand dryer (arduino project). This project uses arduino uno to build an automatic dryer which only activates when the paper, towel or piece of cloth (connected to probes) is wet to. Auto Hand Dryer Circuit.
From www.4x4community.co.za
Defy DTD252 tumble dryer assistance needed Auto Hand Dryer Circuit This project uses arduino uno to build an automatic dryer which only activates when the paper, towel or piece of cloth (connected to probes) is wet to a certain degree. learn, how to make an automatic hand dryer or touchless hand dryer (arduino project). this project describes how to use the slg46811 to implement an automatic hand dryer. Auto Hand Dryer Circuit.