Voltmeter Battery Charger Circuit . One 555 timer ic is used for detecting the voltage level and relay is used to disconnect the ac input. This circuit will help revive batteries that you. 7808 voltage regulator is used for constant supply to the operation of the circuit to cut at a required fixed voltage. This automatic battery charger circuit automatically shut off the charging process when battery attains full charge. In this article i will be discussing a list of simple 12v battery charger circuits which are very easy and cheap by its design yet extremely.
from www.etechnog.com
One 555 timer ic is used for detecting the voltage level and relay is used to disconnect the ac input. 7808 voltage regulator is used for constant supply to the operation of the circuit to cut at a required fixed voltage. This circuit will help revive batteries that you. In this article i will be discussing a list of simple 12v battery charger circuits which are very easy and cheap by its design yet extremely. This automatic battery charger circuit automatically shut off the charging process when battery attains full charge.
A Simple Battery Charger Circuit Diagram for 12V Battery ETechnoG
Voltmeter Battery Charger Circuit One 555 timer ic is used for detecting the voltage level and relay is used to disconnect the ac input. 7808 voltage regulator is used for constant supply to the operation of the circuit to cut at a required fixed voltage. This circuit will help revive batteries that you. In this article i will be discussing a list of simple 12v battery charger circuits which are very easy and cheap by its design yet extremely. This automatic battery charger circuit automatically shut off the charging process when battery attains full charge. One 555 timer ic is used for detecting the voltage level and relay is used to disconnect the ac input.
From www.circuitdiagram.co
voltmeter in a circuit diagram Circuit Diagram Voltmeter Battery Charger Circuit In this article i will be discussing a list of simple 12v battery charger circuits which are very easy and cheap by its design yet extremely. 7808 voltage regulator is used for constant supply to the operation of the circuit to cut at a required fixed voltage. This automatic battery charger circuit automatically shut off the charging process when battery. Voltmeter Battery Charger Circuit.
From highrangeoil.blogspot.com
How To Read A Voltmeter And Ammeter An Ammeter And A Voltmeter Are Voltmeter Battery Charger Circuit In this article i will be discussing a list of simple 12v battery charger circuits which are very easy and cheap by its design yet extremely. This circuit will help revive batteries that you. 7808 voltage regulator is used for constant supply to the operation of the circuit to cut at a required fixed voltage. This automatic battery charger circuit. Voltmeter Battery Charger Circuit.
From pic-microcontroller.com
Digital Voltmeter using PIC16F877a Voltmeter Battery Charger Circuit This circuit will help revive batteries that you. One 555 timer ic is used for detecting the voltage level and relay is used to disconnect the ac input. 7808 voltage regulator is used for constant supply to the operation of the circuit to cut at a required fixed voltage. This automatic battery charger circuit automatically shut off the charging process. Voltmeter Battery Charger Circuit.
From www.simplecircuitdiagram.com
Voltmeter Simple Circuit Diagram Voltmeter Battery Charger Circuit 7808 voltage regulator is used for constant supply to the operation of the circuit to cut at a required fixed voltage. This circuit will help revive batteries that you. One 555 timer ic is used for detecting the voltage level and relay is used to disconnect the ac input. This automatic battery charger circuit automatically shut off the charging process. Voltmeter Battery Charger Circuit.
From diyprojects.eu
How to wire digital dual display volt and ammeter DIY Projects Voltmeter Battery Charger Circuit In this article i will be discussing a list of simple 12v battery charger circuits which are very easy and cheap by its design yet extremely. 7808 voltage regulator is used for constant supply to the operation of the circuit to cut at a required fixed voltage. One 555 timer ic is used for detecting the voltage level and relay. Voltmeter Battery Charger Circuit.
From www.homemade-circuits.com
Self Regulating Battery Charger Circuit Homemade Circuit Projects Voltmeter Battery Charger Circuit This automatic battery charger circuit automatically shut off the charging process when battery attains full charge. In this article i will be discussing a list of simple 12v battery charger circuits which are very easy and cheap by its design yet extremely. 7808 voltage regulator is used for constant supply to the operation of the circuit to cut at a. Voltmeter Battery Charger Circuit.
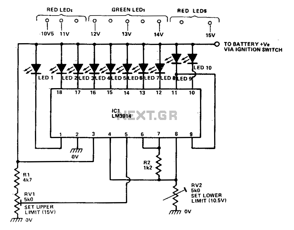
From www.next.gr
voltmeter circuit Meter Counter Circuits Next.gr Voltmeter Battery Charger Circuit One 555 timer ic is used for detecting the voltage level and relay is used to disconnect the ac input. This automatic battery charger circuit automatically shut off the charging process when battery attains full charge. This circuit will help revive batteries that you. 7808 voltage regulator is used for constant supply to the operation of the circuit to cut. Voltmeter Battery Charger Circuit.
From byjus.com
How is an ammeter connected in a circuit how is a voltmeter connected Voltmeter Battery Charger Circuit 7808 voltage regulator is used for constant supply to the operation of the circuit to cut at a required fixed voltage. This circuit will help revive batteries that you. One 555 timer ic is used for detecting the voltage level and relay is used to disconnect the ac input. This automatic battery charger circuit automatically shut off the charging process. Voltmeter Battery Charger Circuit.
From electronics.stackexchange.com
circuit analysis Can I power and use 4 small voltmeters for 3 12v Voltmeter Battery Charger Circuit In this article i will be discussing a list of simple 12v battery charger circuits which are very easy and cheap by its design yet extremely. This circuit will help revive batteries that you. 7808 voltage regulator is used for constant supply to the operation of the circuit to cut at a required fixed voltage. One 555 timer ic is. Voltmeter Battery Charger Circuit.
From electrosome.com
Voltmeter and Ammeter using PIC Microcontroller Voltmeter Battery Charger Circuit This automatic battery charger circuit automatically shut off the charging process when battery attains full charge. This circuit will help revive batteries that you. 7808 voltage regulator is used for constant supply to the operation of the circuit to cut at a required fixed voltage. One 555 timer ic is used for detecting the voltage level and relay is used. Voltmeter Battery Charger Circuit.
From www.eleccircuit.com
Digital multimeter circuit using ICL7107 Voltmeter Battery Charger Circuit One 555 timer ic is used for detecting the voltage level and relay is used to disconnect the ac input. This automatic battery charger circuit automatically shut off the charging process when battery attains full charge. This circuit will help revive batteries that you. In this article i will be discussing a list of simple 12v battery charger circuits which. Voltmeter Battery Charger Circuit.
From www.homemade-circuits.com
12V Battery Charger Circuits [using LM317, LM338, L200, Transistors Voltmeter Battery Charger Circuit One 555 timer ic is used for detecting the voltage level and relay is used to disconnect the ac input. 7808 voltage regulator is used for constant supply to the operation of the circuit to cut at a required fixed voltage. In this article i will be discussing a list of simple 12v battery charger circuits which are very easy. Voltmeter Battery Charger Circuit.
From diagramparteberhart.z19.web.core.windows.net
How To Connect Voltmeter In Circuit Voltmeter Battery Charger Circuit This automatic battery charger circuit automatically shut off the charging process when battery attains full charge. One 555 timer ic is used for detecting the voltage level and relay is used to disconnect the ac input. 7808 voltage regulator is used for constant supply to the operation of the circuit to cut at a required fixed voltage. This circuit will. Voltmeter Battery Charger Circuit.
From www.alamy.com
Voltmeter connected to a simple circuit Stock Photo Alamy Voltmeter Battery Charger Circuit In this article i will be discussing a list of simple 12v battery charger circuits which are very easy and cheap by its design yet extremely. One 555 timer ic is used for detecting the voltage level and relay is used to disconnect the ac input. This circuit will help revive batteries that you. This automatic battery charger circuit automatically. Voltmeter Battery Charger Circuit.
From elexidea.blogspot.com
ELEX IDEA BLOG Digital voltmeter using ICL7107 Voltmeter Battery Charger Circuit In this article i will be discussing a list of simple 12v battery charger circuits which are very easy and cheap by its design yet extremely. This circuit will help revive batteries that you. One 555 timer ic is used for detecting the voltage level and relay is used to disconnect the ac input. This automatic battery charger circuit automatically. Voltmeter Battery Charger Circuit.
From bebaslistrikd.blogspot.com
15+ Skema Pcb Voltmeter Digital Simple Dan Minimalis Voltmeter Battery Charger Circuit This automatic battery charger circuit automatically shut off the charging process when battery attains full charge. In this article i will be discussing a list of simple 12v battery charger circuits which are very easy and cheap by its design yet extremely. 7808 voltage regulator is used for constant supply to the operation of the circuit to cut at a. Voltmeter Battery Charger Circuit.
From www.solorb.com
Low Power LED Voltmeter Voltmeter Battery Charger Circuit 7808 voltage regulator is used for constant supply to the operation of the circuit to cut at a required fixed voltage. This circuit will help revive batteries that you. This automatic battery charger circuit automatically shut off the charging process when battery attains full charge. One 555 timer ic is used for detecting the voltage level and relay is used. Voltmeter Battery Charger Circuit.
From www.youtube.com
How to Make Battery Charger Circuit Using LM358 IC YouTube Voltmeter Battery Charger Circuit This automatic battery charger circuit automatically shut off the charging process when battery attains full charge. 7808 voltage regulator is used for constant supply to the operation of the circuit to cut at a required fixed voltage. One 555 timer ic is used for detecting the voltage level and relay is used to disconnect the ac input. In this article. Voltmeter Battery Charger Circuit.
From www.homemade-circuits.com
6V, 12V, 24V Battery Charger Circuit Electronic Circuit Projects Voltmeter Battery Charger Circuit In this article i will be discussing a list of simple 12v battery charger circuits which are very easy and cheap by its design yet extremely. 7808 voltage regulator is used for constant supply to the operation of the circuit to cut at a required fixed voltage. This circuit will help revive batteries that you. One 555 timer ic is. Voltmeter Battery Charger Circuit.
From www.elcircuit.com
Battery charger circuit Electronic Circuit Voltmeter Battery Charger Circuit This circuit will help revive batteries that you. This automatic battery charger circuit automatically shut off the charging process when battery attains full charge. 7808 voltage regulator is used for constant supply to the operation of the circuit to cut at a required fixed voltage. One 555 timer ic is used for detecting the voltage level and relay is used. Voltmeter Battery Charger Circuit.
From electricalacademia.com
Electronic Voltmeter Working and Block Diagram Electrical Academia Voltmeter Battery Charger Circuit This automatic battery charger circuit automatically shut off the charging process when battery attains full charge. One 555 timer ic is used for detecting the voltage level and relay is used to disconnect the ac input. 7808 voltage regulator is used for constant supply to the operation of the circuit to cut at a required fixed voltage. This circuit will. Voltmeter Battery Charger Circuit.
From electronics.stackexchange.com
buck Connecting a Volt Ammeter to the input and output of a power Voltmeter Battery Charger Circuit One 555 timer ic is used for detecting the voltage level and relay is used to disconnect the ac input. 7808 voltage regulator is used for constant supply to the operation of the circuit to cut at a required fixed voltage. This automatic battery charger circuit automatically shut off the charging process when battery attains full charge. This circuit will. Voltmeter Battery Charger Circuit.
From carfromjapan.com
How to Use a Voltmeter the Easy Way CAR FROM JAPAN Voltmeter Battery Charger Circuit One 555 timer ic is used for detecting the voltage level and relay is used to disconnect the ac input. In this article i will be discussing a list of simple 12v battery charger circuits which are very easy and cheap by its design yet extremely. 7808 voltage regulator is used for constant supply to the operation of the circuit. Voltmeter Battery Charger Circuit.
From enginewiringmeyer.z13.web.core.windows.net
Dc Voltmeter Circuit Diagram Voltmeter Battery Charger Circuit This automatic battery charger circuit automatically shut off the charging process when battery attains full charge. This circuit will help revive batteries that you. 7808 voltage regulator is used for constant supply to the operation of the circuit to cut at a required fixed voltage. In this article i will be discussing a list of simple 12v battery charger circuits. Voltmeter Battery Charger Circuit.
From www.eleccircuit.com
Digital voltmeter circuit diagram using ICL7107 / 7106 with PCB Voltmeter Battery Charger Circuit This circuit will help revive batteries that you. One 555 timer ic is used for detecting the voltage level and relay is used to disconnect the ac input. This automatic battery charger circuit automatically shut off the charging process when battery attains full charge. In this article i will be discussing a list of simple 12v battery charger circuits which. Voltmeter Battery Charger Circuit.
From www.eleccircuit.com
Automatic Battery Charger Circuit projects Voltmeter Battery Charger Circuit In this article i will be discussing a list of simple 12v battery charger circuits which are very easy and cheap by its design yet extremely. One 555 timer ic is used for detecting the voltage level and relay is used to disconnect the ac input. This automatic battery charger circuit automatically shut off the charging process when battery attains. Voltmeter Battery Charger Circuit.
From www.simplemechatronics.com
SleekVoltmeter Simple Mechatronics Simple MECHATRONICS Voltmeter Battery Charger Circuit 7808 voltage regulator is used for constant supply to the operation of the circuit to cut at a required fixed voltage. This automatic battery charger circuit automatically shut off the charging process when battery attains full charge. In this article i will be discussing a list of simple 12v battery charger circuits which are very easy and cheap by its. Voltmeter Battery Charger Circuit.
From www.eleccircuit.com
Simple LED voltmeter circuit using LM3914 ElecCircuit Voltmeter Battery Charger Circuit In this article i will be discussing a list of simple 12v battery charger circuits which are very easy and cheap by its design yet extremely. This circuit will help revive batteries that you. This automatic battery charger circuit automatically shut off the charging process when battery attains full charge. One 555 timer ic is used for detecting the voltage. Voltmeter Battery Charger Circuit.
From www.circuits-diy.com
Simple 12 Volt Battery Charger Circuit Diagram Voltmeter Battery Charger Circuit 7808 voltage regulator is used for constant supply to the operation of the circuit to cut at a required fixed voltage. One 555 timer ic is used for detecting the voltage level and relay is used to disconnect the ac input. In this article i will be discussing a list of simple 12v battery charger circuits which are very easy. Voltmeter Battery Charger Circuit.
From www.youtube.com
How to Make 12V Battery Charger Circuit Diagram 12 Volt Battery Voltmeter Battery Charger Circuit In this article i will be discussing a list of simple 12v battery charger circuits which are very easy and cheap by its design yet extremely. This automatic battery charger circuit automatically shut off the charging process when battery attains full charge. This circuit will help revive batteries that you. One 555 timer ic is used for detecting the voltage. Voltmeter Battery Charger Circuit.
From www.etechnog.com
A Simple Battery Charger Circuit Diagram for 12V Battery ETechnoG Voltmeter Battery Charger Circuit In this article i will be discussing a list of simple 12v battery charger circuits which are very easy and cheap by its design yet extremely. This circuit will help revive batteries that you. 7808 voltage regulator is used for constant supply to the operation of the circuit to cut at a required fixed voltage. One 555 timer ic is. Voltmeter Battery Charger Circuit.
From circuitmanualkohler.z19.web.core.windows.net
Ac Voltmeter Circuit Diagram Voltmeter Battery Charger Circuit One 555 timer ic is used for detecting the voltage level and relay is used to disconnect the ac input. 7808 voltage regulator is used for constant supply to the operation of the circuit to cut at a required fixed voltage. This circuit will help revive batteries that you. In this article i will be discussing a list of simple. Voltmeter Battery Charger Circuit.
From userlibrarymehler.z19.web.core.windows.net
12 Volt Voltmeter Wiring Diagram Voltmeter Battery Charger Circuit This automatic battery charger circuit automatically shut off the charging process when battery attains full charge. In this article i will be discussing a list of simple 12v battery charger circuits which are very easy and cheap by its design yet extremely. 7808 voltage regulator is used for constant supply to the operation of the circuit to cut at a. Voltmeter Battery Charger Circuit.
From mravipro.com
12V 7Ah Battery Charger Circuit Diagram Download Free Voltmeter Battery Charger Circuit This automatic battery charger circuit automatically shut off the charging process when battery attains full charge. In this article i will be discussing a list of simple 12v battery charger circuits which are very easy and cheap by its design yet extremely. This circuit will help revive batteries that you. One 555 timer ic is used for detecting the voltage. Voltmeter Battery Charger Circuit.
From makingcircuits.com
Simple 12V Battery Charger Circuits with Auto Cutoff Voltmeter Battery Charger Circuit This circuit will help revive batteries that you. In this article i will be discussing a list of simple 12v battery charger circuits which are very easy and cheap by its design yet extremely. 7808 voltage regulator is used for constant supply to the operation of the circuit to cut at a required fixed voltage. One 555 timer ic is. Voltmeter Battery Charger Circuit.