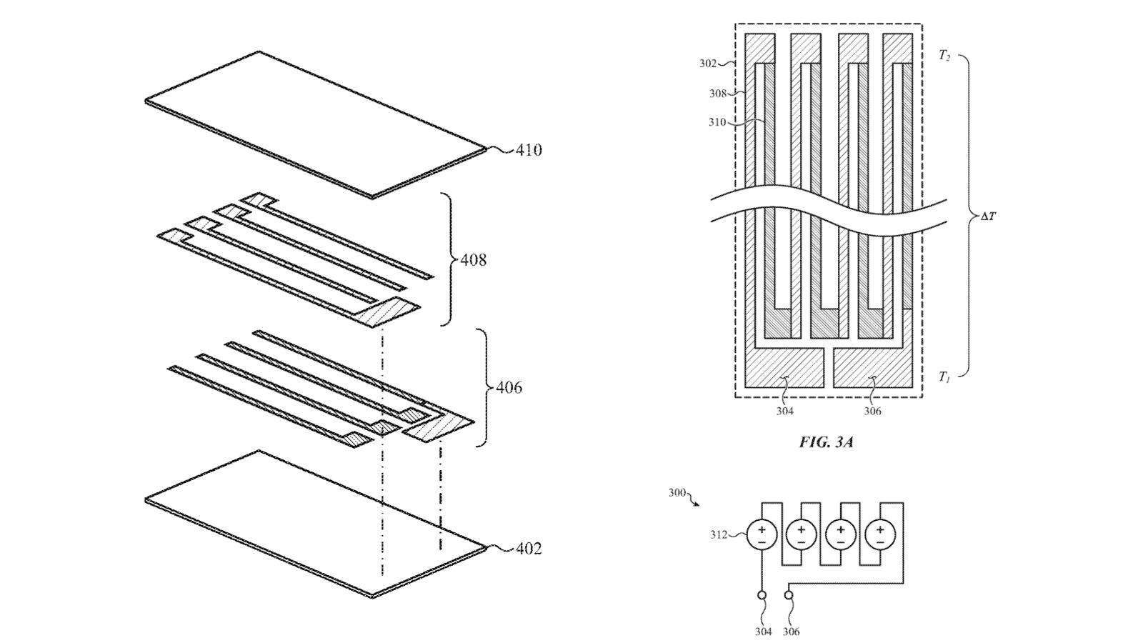
Apple Watch Temperature Sensor Accuracy . While you're sleeping, apple watch samples your temperature every 5 seconds. This should improve accuracy by helping the watch distinguish your wrist temperature from other factors affecting the temperature in. Since the apple watch is worn on your wrist, it rules out the possibility of a temperature sensor that can. The apple watch temperature sensor sits against your wrist and measures small changes in body temperature while you're asleep. Rather than providing you with an exact temperature (like a standard thermometer), you'll instead see fluctuations from your baseline reading. This design improves accuracy by reducing bias from the outside. Apple has been granted a patent for a temperature sensor suitable for the apple watch, just weeks before the company is expected to. You can wear apple watch to bed and track nightly changes in your wrist temperature (on supported models), which can provide insight into your.
from www.macrumors.com
You can wear apple watch to bed and track nightly changes in your wrist temperature (on supported models), which can provide insight into your. Rather than providing you with an exact temperature (like a standard thermometer), you'll instead see fluctuations from your baseline reading. Since the apple watch is worn on your wrist, it rules out the possibility of a temperature sensor that can. This should improve accuracy by helping the watch distinguish your wrist temperature from other factors affecting the temperature in. This design improves accuracy by reducing bias from the outside. While you're sleeping, apple watch samples your temperature every 5 seconds. Apple has been granted a patent for a temperature sensor suitable for the apple watch, just weeks before the company is expected to. The apple watch temperature sensor sits against your wrist and measures small changes in body temperature while you're asleep.
'HighAccuracy' Apple Watch Temperature Sensor Revealed by Patent
Apple Watch Temperature Sensor Accuracy This should improve accuracy by helping the watch distinguish your wrist temperature from other factors affecting the temperature in. The apple watch temperature sensor sits against your wrist and measures small changes in body temperature while you're asleep. Since the apple watch is worn on your wrist, it rules out the possibility of a temperature sensor that can. Apple has been granted a patent for a temperature sensor suitable for the apple watch, just weeks before the company is expected to. Rather than providing you with an exact temperature (like a standard thermometer), you'll instead see fluctuations from your baseline reading. This should improve accuracy by helping the watch distinguish your wrist temperature from other factors affecting the temperature in. You can wear apple watch to bed and track nightly changes in your wrist temperature (on supported models), which can provide insight into your. This design improves accuracy by reducing bias from the outside. While you're sleeping, apple watch samples your temperature every 5 seconds.
From techcrunch.com
Apple introduces the Apple Watch Series 8 with a temperature sensor Apple Watch Temperature Sensor Accuracy The apple watch temperature sensor sits against your wrist and measures small changes in body temperature while you're asleep. Rather than providing you with an exact temperature (like a standard thermometer), you'll instead see fluctuations from your baseline reading. While you're sleeping, apple watch samples your temperature every 5 seconds. This should improve accuracy by helping the watch distinguish your. Apple Watch Temperature Sensor Accuracy.
From www.macrumors.com
'HighAccuracy' Apple Watch Temperature Sensor Revealed by Patent Apple Watch Temperature Sensor Accuracy Since the apple watch is worn on your wrist, it rules out the possibility of a temperature sensor that can. While you're sleeping, apple watch samples your temperature every 5 seconds. Apple has been granted a patent for a temperature sensor suitable for the apple watch, just weeks before the company is expected to. This should improve accuracy by helping. Apple Watch Temperature Sensor Accuracy.
From wearablestouse.com
3 Reasons Why Apple Watch Temperature Sensor is More Accurate Apple Watch Temperature Sensor Accuracy Since the apple watch is worn on your wrist, it rules out the possibility of a temperature sensor that can. While you're sleeping, apple watch samples your temperature every 5 seconds. The apple watch temperature sensor sits against your wrist and measures small changes in body temperature while you're asleep. This should improve accuracy by helping the watch distinguish your. Apple Watch Temperature Sensor Accuracy.
From www.imore.com
Patent reveals highlyaccurate temperature sensor for Apple Watch ahead Apple Watch Temperature Sensor Accuracy You can wear apple watch to bed and track nightly changes in your wrist temperature (on supported models), which can provide insight into your. Rather than providing you with an exact temperature (like a standard thermometer), you'll instead see fluctuations from your baseline reading. This design improves accuracy by reducing bias from the outside. Since the apple watch is worn. Apple Watch Temperature Sensor Accuracy.
From wearablestouse.com
3 Reasons Why Apple Watch Temperature Sensor is More Accurate Apple Watch Temperature Sensor Accuracy While you're sleeping, apple watch samples your temperature every 5 seconds. The apple watch temperature sensor sits against your wrist and measures small changes in body temperature while you're asleep. Apple has been granted a patent for a temperature sensor suitable for the apple watch, just weeks before the company is expected to. You can wear apple watch to bed. Apple Watch Temperature Sensor Accuracy.
From appleinsider.com
Apple Watch body temperature sensor research underway since at least Apple Watch Temperature Sensor Accuracy This should improve accuracy by helping the watch distinguish your wrist temperature from other factors affecting the temperature in. This design improves accuracy by reducing bias from the outside. While you're sleeping, apple watch samples your temperature every 5 seconds. Apple has been granted a patent for a temperature sensor suitable for the apple watch, just weeks before the company. Apple Watch Temperature Sensor Accuracy.
From istyle.ae
Does the Apple Watch Measure Body Temperature iSTYLE Apple UAE Apple Watch Temperature Sensor Accuracy This design improves accuracy by reducing bias from the outside. Apple has been granted a patent for a temperature sensor suitable for the apple watch, just weeks before the company is expected to. Since the apple watch is worn on your wrist, it rules out the possibility of a temperature sensor that can. You can wear apple watch to bed. Apple Watch Temperature Sensor Accuracy.
From macdailynews.com
Apple Watch Series 8 features unique new temperature sensor Apple Watch Temperature Sensor Accuracy This should improve accuracy by helping the watch distinguish your wrist temperature from other factors affecting the temperature in. The apple watch temperature sensor sits against your wrist and measures small changes in body temperature while you're asleep. Apple has been granted a patent for a temperature sensor suitable for the apple watch, just weeks before the company is expected. Apple Watch Temperature Sensor Accuracy.
From support.apple.com
Track your nightly wrist temperature changes with Apple Watch Apple Apple Watch Temperature Sensor Accuracy Apple has been granted a patent for a temperature sensor suitable for the apple watch, just weeks before the company is expected to. This design improves accuracy by reducing bias from the outside. This should improve accuracy by helping the watch distinguish your wrist temperature from other factors affecting the temperature in. You can wear apple watch to bed and. Apple Watch Temperature Sensor Accuracy.
From www.sohu.com
比较:Apple Watch Series 8 与新款 Apple Watch SE_显示屏_型号_传感器 Apple Watch Temperature Sensor Accuracy The apple watch temperature sensor sits against your wrist and measures small changes in body temperature while you're asleep. Apple has been granted a patent for a temperature sensor suitable for the apple watch, just weeks before the company is expected to. Since the apple watch is worn on your wrist, it rules out the possibility of a temperature sensor. Apple Watch Temperature Sensor Accuracy.
From www.pocket-lint.com
Updated Health app and Apple Watch body temp sensor Apple Watch Temperature Sensor Accuracy While you're sleeping, apple watch samples your temperature every 5 seconds. Rather than providing you with an exact temperature (like a standard thermometer), you'll instead see fluctuations from your baseline reading. This should improve accuracy by helping the watch distinguish your wrist temperature from other factors affecting the temperature in. You can wear apple watch to bed and track nightly. Apple Watch Temperature Sensor Accuracy.
From ustoday.news
Apple Watch Series 8 temperature sensor what it does and how to use it Apple Watch Temperature Sensor Accuracy Apple has been granted a patent for a temperature sensor suitable for the apple watch, just weeks before the company is expected to. This should improve accuracy by helping the watch distinguish your wrist temperature from other factors affecting the temperature in. The apple watch temperature sensor sits against your wrist and measures small changes in body temperature while you're. Apple Watch Temperature Sensor Accuracy.
From www.howtogeek.com
How the Apple Watch Body Temperature Feature Works and Where to Find It Apple Watch Temperature Sensor Accuracy This should improve accuracy by helping the watch distinguish your wrist temperature from other factors affecting the temperature in. Rather than providing you with an exact temperature (like a standard thermometer), you'll instead see fluctuations from your baseline reading. You can wear apple watch to bed and track nightly changes in your wrist temperature (on supported models), which can provide. Apple Watch Temperature Sensor Accuracy.
From www.engadget.com
Apple Watch Series 8 could include a body temperature sensor Apple Watch Temperature Sensor Accuracy The apple watch temperature sensor sits against your wrist and measures small changes in body temperature while you're asleep. Apple has been granted a patent for a temperature sensor suitable for the apple watch, just weeks before the company is expected to. While you're sleeping, apple watch samples your temperature every 5 seconds. This should improve accuracy by helping the. Apple Watch Temperature Sensor Accuracy.
From techcrunch.com
The new Apple Watch series 8 gets a pair of temperature sensors Apple Watch Temperature Sensor Accuracy This design improves accuracy by reducing bias from the outside. Since the apple watch is worn on your wrist, it rules out the possibility of a temperature sensor that can. This should improve accuracy by helping the watch distinguish your wrist temperature from other factors affecting the temperature in. While you're sleeping, apple watch samples your temperature every 5 seconds.. Apple Watch Temperature Sensor Accuracy.
From wearablestouse.com
3 Reasons Why Apple Watch Temperature Sensor is More Accurate Apple Watch Temperature Sensor Accuracy This should improve accuracy by helping the watch distinguish your wrist temperature from other factors affecting the temperature in. Since the apple watch is worn on your wrist, it rules out the possibility of a temperature sensor that can. While you're sleeping, apple watch samples your temperature every 5 seconds. The apple watch temperature sensor sits against your wrist and. Apple Watch Temperature Sensor Accuracy.
From www.myhealthyapple.com
How to check your skin and body temperature on your Apple Watch Apple Watch Temperature Sensor Accuracy You can wear apple watch to bed and track nightly changes in your wrist temperature (on supported models), which can provide insight into your. While you're sleeping, apple watch samples your temperature every 5 seconds. This should improve accuracy by helping the watch distinguish your wrist temperature from other factors affecting the temperature in. The apple watch temperature sensor sits. Apple Watch Temperature Sensor Accuracy.
From www.hardwarezone.com.sg
Apple Watch Series 8 has a temp sensor, predicts ovulation and detects Apple Watch Temperature Sensor Accuracy The apple watch temperature sensor sits against your wrist and measures small changes in body temperature while you're asleep. Apple has been granted a patent for a temperature sensor suitable for the apple watch, just weeks before the company is expected to. You can wear apple watch to bed and track nightly changes in your wrist temperature (on supported models),. Apple Watch Temperature Sensor Accuracy.
From pledgetimes.com
Introduced Apple Watch with temperature sensor Pledge Times Apple Watch Temperature Sensor Accuracy Apple has been granted a patent for a temperature sensor suitable for the apple watch, just weeks before the company is expected to. This design improves accuracy by reducing bias from the outside. The apple watch temperature sensor sits against your wrist and measures small changes in body temperature while you're asleep. You can wear apple watch to bed and. Apple Watch Temperature Sensor Accuracy.
From www.gearrice.com
How The Apple Watch 8 And Ultra Temperature Sensor Works GEARRICE Apple Watch Temperature Sensor Accuracy You can wear apple watch to bed and track nightly changes in your wrist temperature (on supported models), which can provide insight into your. The apple watch temperature sensor sits against your wrist and measures small changes in body temperature while you're asleep. This design improves accuracy by reducing bias from the outside. Apple has been granted a patent for. Apple Watch Temperature Sensor Accuracy.
From discussions.apple.com
Temperature on infograph Apple Watch 4 Apple Community Apple Watch Temperature Sensor Accuracy The apple watch temperature sensor sits against your wrist and measures small changes in body temperature while you're asleep. Rather than providing you with an exact temperature (like a standard thermometer), you'll instead see fluctuations from your baseline reading. This design improves accuracy by reducing bias from the outside. Since the apple watch is worn on your wrist, it rules. Apple Watch Temperature Sensor Accuracy.
From digitalhealthcentral.com
Apple Watch Body Temperature Sensor What You Need to Know Digital Apple Watch Temperature Sensor Accuracy The apple watch temperature sensor sits against your wrist and measures small changes in body temperature while you're asleep. This design improves accuracy by reducing bias from the outside. Rather than providing you with an exact temperature (like a standard thermometer), you'll instead see fluctuations from your baseline reading. Since the apple watch is worn on your wrist, it rules. Apple Watch Temperature Sensor Accuracy.
From www.idownloadblog.com
How to select Celsius or Fahrenheit on iPhone and Apple devices Apple Watch Temperature Sensor Accuracy Since the apple watch is worn on your wrist, it rules out the possibility of a temperature sensor that can. This should improve accuracy by helping the watch distinguish your wrist temperature from other factors affecting the temperature in. The apple watch temperature sensor sits against your wrist and measures small changes in body temperature while you're asleep. While you're. Apple Watch Temperature Sensor Accuracy.
From www.myhealthyapple.com
How to check your skin and body temperature on your Apple Watch Apple Watch Temperature Sensor Accuracy This design improves accuracy by reducing bias from the outside. The apple watch temperature sensor sits against your wrist and measures small changes in body temperature while you're asleep. Apple has been granted a patent for a temperature sensor suitable for the apple watch, just weeks before the company is expected to. Since the apple watch is worn on your. Apple Watch Temperature Sensor Accuracy.
From www.youtube.com
Apple Watch Series 8 ALLNEW BODY TEMPERATURE SENSOR! YouTube Apple Watch Temperature Sensor Accuracy While you're sleeping, apple watch samples your temperature every 5 seconds. This should improve accuracy by helping the watch distinguish your wrist temperature from other factors affecting the temperature in. Since the apple watch is worn on your wrist, it rules out the possibility of a temperature sensor that can. The apple watch temperature sensor sits against your wrist and. Apple Watch Temperature Sensor Accuracy.
From www.tomsguide.com
Apple Watch 8 body temperature sensor — here's what it could be used Apple Watch Temperature Sensor Accuracy You can wear apple watch to bed and track nightly changes in your wrist temperature (on supported models), which can provide insight into your. Since the apple watch is worn on your wrist, it rules out the possibility of a temperature sensor that can. While you're sleeping, apple watch samples your temperature every 5 seconds. This design improves accuracy by. Apple Watch Temperature Sensor Accuracy.
From screenrant.com
How Apple Watch Series 8 Uses The New Temperature Sensor Apple Watch Temperature Sensor Accuracy Apple has been granted a patent for a temperature sensor suitable for the apple watch, just weeks before the company is expected to. Since the apple watch is worn on your wrist, it rules out the possibility of a temperature sensor that can. The apple watch temperature sensor sits against your wrist and measures small changes in body temperature while. Apple Watch Temperature Sensor Accuracy.
From www.howtogeek.com
How the Apple Watch Body Temperature Feature Works and Where to Find It Apple Watch Temperature Sensor Accuracy While you're sleeping, apple watch samples your temperature every 5 seconds. This should improve accuracy by helping the watch distinguish your wrist temperature from other factors affecting the temperature in. This design improves accuracy by reducing bias from the outside. You can wear apple watch to bed and track nightly changes in your wrist temperature (on supported models), which can. Apple Watch Temperature Sensor Accuracy.
From appletrack.com
Apple Watch Series 8 new 'explorer' edition, body temperature sensor Apple Watch Temperature Sensor Accuracy The apple watch temperature sensor sits against your wrist and measures small changes in body temperature while you're asleep. While you're sleeping, apple watch samples your temperature every 5 seconds. This design improves accuracy by reducing bias from the outside. Apple has been granted a patent for a temperature sensor suitable for the apple watch, just weeks before the company. Apple Watch Temperature Sensor Accuracy.
From digitalhealthcentral.com
Apple Watch Body Temperature Sensor What You Need to Know Digital Apple Watch Temperature Sensor Accuracy Apple has been granted a patent for a temperature sensor suitable for the apple watch, just weeks before the company is expected to. This should improve accuracy by helping the watch distinguish your wrist temperature from other factors affecting the temperature in. The apple watch temperature sensor sits against your wrist and measures small changes in body temperature while you're. Apple Watch Temperature Sensor Accuracy.
From bgr.com
How the Apple Watch Series 8 might measure temperature BGR Apple Watch Temperature Sensor Accuracy While you're sleeping, apple watch samples your temperature every 5 seconds. Rather than providing you with an exact temperature (like a standard thermometer), you'll instead see fluctuations from your baseline reading. Apple has been granted a patent for a temperature sensor suitable for the apple watch, just weeks before the company is expected to. Since the apple watch is worn. Apple Watch Temperature Sensor Accuracy.
From www.gearrice.com
How To Control Your Body Temperature From The Apple Watch GEARRICE Apple Watch Temperature Sensor Accuracy Apple has been granted a patent for a temperature sensor suitable for the apple watch, just weeks before the company is expected to. While you're sleeping, apple watch samples your temperature every 5 seconds. The apple watch temperature sensor sits against your wrist and measures small changes in body temperature while you're asleep. Rather than providing you with an exact. Apple Watch Temperature Sensor Accuracy.
From www.macrumors.com
How Apple Watch Series 8's Body Temperature Feature Is Expected to Work Apple Watch Temperature Sensor Accuracy While you're sleeping, apple watch samples your temperature every 5 seconds. The apple watch temperature sensor sits against your wrist and measures small changes in body temperature while you're asleep. Rather than providing you with an exact temperature (like a standard thermometer), you'll instead see fluctuations from your baseline reading. This should improve accuracy by helping the watch distinguish your. Apple Watch Temperature Sensor Accuracy.
From gadgetstouse.com
5 Ways to Measure Temperature With Your iPhone Apple Watch Temperature Sensor Accuracy The apple watch temperature sensor sits against your wrist and measures small changes in body temperature while you're asleep. Rather than providing you with an exact temperature (like a standard thermometer), you'll instead see fluctuations from your baseline reading. While you're sleeping, apple watch samples your temperature every 5 seconds. Since the apple watch is worn on your wrist, it. Apple Watch Temperature Sensor Accuracy.
From www.nextpit.com
Apple's watches may employ a fully accurate temperature sensor Apple Watch Temperature Sensor Accuracy While you're sleeping, apple watch samples your temperature every 5 seconds. The apple watch temperature sensor sits against your wrist and measures small changes in body temperature while you're asleep. This design improves accuracy by reducing bias from the outside. Rather than providing you with an exact temperature (like a standard thermometer), you'll instead see fluctuations from your baseline reading.. Apple Watch Temperature Sensor Accuracy.