Surf Fin Dimensions . learn how to choose the right fins for your surfboard or body surfing based on your weight, fin box, wave type, and fin type. learn how fin size, base, depth, rake, foil, cant, toe and shape can impact your surfing on. the proper fin size choice boils down to the type of surfboard you’re riding, the type of waves you’re surfing, and the style of surfing you’re hoping to achieve. See size charts from fcs,. learn everything you need to know about surfboard fins, from single to five fin setups, to rake, splay, base length and foil. learn how to choose the right surfboard fins for different types of waves and boards. learn how to choose the right fins for your surfboard based on fin size, base, depth, rake, foil, cant, toe, shape, construction and materials.
from www.surfnation.com.au
See size charts from fcs,. learn how fin size, base, depth, rake, foil, cant, toe and shape can impact your surfing on. the proper fin size choice boils down to the type of surfboard you’re riding, the type of waves you’re surfing, and the style of surfing you’re hoping to achieve. learn everything you need to know about surfboard fins, from single to five fin setups, to rake, splay, base length and foil. learn how to choose the right fins for your surfboard or body surfing based on your weight, fin box, wave type, and fin type. learn how to choose the right fins for your surfboard based on fin size, base, depth, rake, foil, cant, toe, shape, construction and materials. learn how to choose the right surfboard fins for different types of waves and boards.
Understanding the Parts of a Surfboard Surf Nation
Surf Fin Dimensions learn how to choose the right fins for your surfboard or body surfing based on your weight, fin box, wave type, and fin type. learn how to choose the right fins for your surfboard or body surfing based on your weight, fin box, wave type, and fin type. See size charts from fcs,. learn how to choose the right fins for your surfboard based on fin size, base, depth, rake, foil, cant, toe, shape, construction and materials. the proper fin size choice boils down to the type of surfboard you’re riding, the type of waves you’re surfing, and the style of surfing you’re hoping to achieve. learn everything you need to know about surfboard fins, from single to five fin setups, to rake, splay, base length and foil. learn how fin size, base, depth, rake, foil, cant, toe and shape can impact your surfing on. learn how to choose the right surfboard fins for different types of waves and boards.
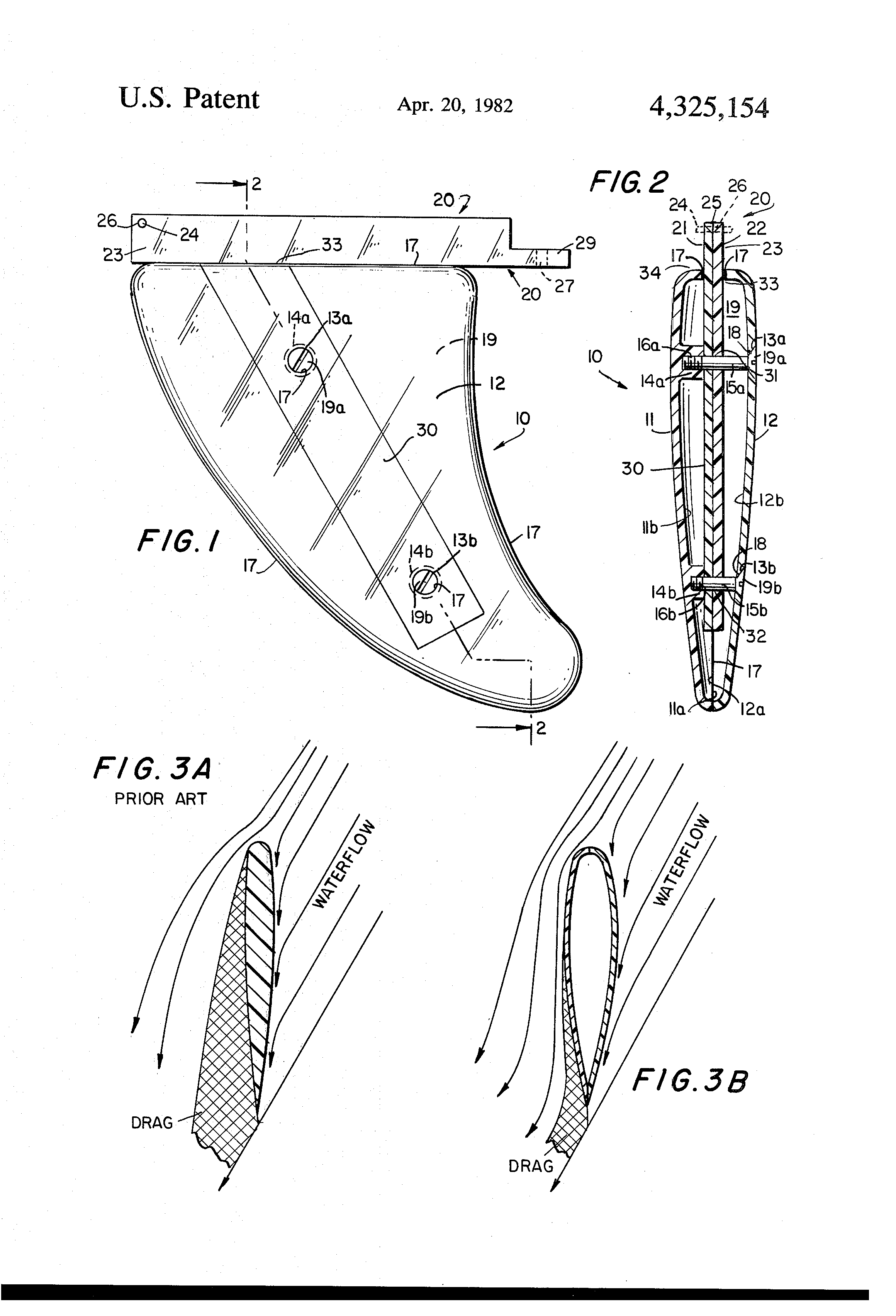
From www.google.pt
Patente US4325154 Surfboard fin Google Patentes Surf Fin Dimensions learn everything you need to know about surfboard fins, from single to five fin setups, to rake, splay, base length and foil. learn how to choose the right fins for your surfboard or body surfing based on your weight, fin box, wave type, and fin type. learn how to choose the right fins for your surfboard based. Surf Fin Dimensions.
From kayakfisherly.com
What Size Surfboard Should I Get? A Comprehensive Guide from Experts Surf Fin Dimensions learn how to choose the right surfboard fins for different types of waves and boards. learn how fin size, base, depth, rake, foil, cant, toe and shape can impact your surfing on. learn how to choose the right fins for your surfboard based on fin size, base, depth, rake, foil, cant, toe, shape, construction and materials. . Surf Fin Dimensions.
From surfshop-muenster.de
Futures Fins Helfer Fin Chart Surf Fin Dimensions learn everything you need to know about surfboard fins, from single to five fin setups, to rake, splay, base length and foil. learn how to choose the right surfboard fins for different types of waves and boards. learn how fin size, base, depth, rake, foil, cant, toe and shape can impact your surfing on. See size charts. Surf Fin Dimensions.
From hollyburton.z19.web.core.windows.net
Fish Surfboard Size Chart Surf Fin Dimensions learn how to choose the right fins for your surfboard based on fin size, base, depth, rake, foil, cant, toe, shape, construction and materials. learn how to choose the right fins for your surfboard or body surfing based on your weight, fin box, wave type, and fin type. the proper fin size choice boils down to the. Surf Fin Dimensions.
From tr.pinterest.com
ReSizing a FullSize Template Swaylocks Surfboard Craft, Fish Surf Fin Dimensions learn how fin size, base, depth, rake, foil, cant, toe and shape can impact your surfing on. learn how to choose the right surfboard fins for different types of waves and boards. learn how to choose the right fins for your surfboard based on fin size, base, depth, rake, foil, cant, toe, shape, construction and materials. . Surf Fin Dimensions.
From lunasurf.co.uk
Surfboard Fins Explained Lunasurf Surf Fin Dimensions learn how to choose the right fins for your surfboard or body surfing based on your weight, fin box, wave type, and fin type. learn everything you need to know about surfboard fins, from single to five fin setups, to rake, splay, base length and foil. See size charts from fcs,. learn how to choose the right. Surf Fin Dimensions.
From www.youtube.com
How to Choose The Right FCS II Surfboard Fins By Hawaiian South Shore Surf Fin Dimensions learn how to choose the right fins for your surfboard based on fin size, base, depth, rake, foil, cant, toe, shape, construction and materials. See size charts from fcs,. learn how fin size, base, depth, rake, foil, cant, toe and shape can impact your surfing on. learn how to choose the right fins for your surfboard or. Surf Fin Dimensions.
From www.lazada.com.ph
Bilong FCS Soft Fin Plastic Surfboard Fin Soft Tail Rudder Three Sets Surf Fin Dimensions learn how to choose the right fins for your surfboard based on fin size, base, depth, rake, foil, cant, toe, shape, construction and materials. learn how to choose the right surfboard fins for different types of waves and boards. learn everything you need to know about surfboard fins, from single to five fin setups, to rake, splay,. Surf Fin Dimensions.
From www.pinterest.es
FCS Choosing a Quad Set in 2019 Surfboard fins, Surfing tips Surf Fin Dimensions learn how to choose the right fins for your surfboard based on fin size, base, depth, rake, foil, cant, toe, shape, construction and materials. learn how fin size, base, depth, rake, foil, cant, toe and shape can impact your surfing on. learn how to choose the right surfboard fins for different types of waves and boards. See. Surf Fin Dimensions.
From www.pinterest.com
Fin Direction Graphic Mckee Surf surfingexercise Surfboard design Surf Fin Dimensions learn how to choose the right fins for your surfboard or body surfing based on your weight, fin box, wave type, and fin type. learn how fin size, base, depth, rake, foil, cant, toe and shape can impact your surfing on. learn how to choose the right surfboard fins for different types of waves and boards. . Surf Fin Dimensions.
From blog.wetsuitwearhouse.com
Surfboard Dimensions Explained Wetsuit Wearhouse Blog Surf Fin Dimensions the proper fin size choice boils down to the type of surfboard you’re riding, the type of waves you’re surfing, and the style of surfing you’re hoping to achieve. learn how fin size, base, depth, rake, foil, cant, toe and shape can impact your surfing on. learn how to choose the right fins for your surfboard or. Surf Fin Dimensions.
From www.seabreeze.com.au
What size single fin Surfing Forums, page 1 Surf Fin Dimensions the proper fin size choice boils down to the type of surfboard you’re riding, the type of waves you’re surfing, and the style of surfing you’re hoping to achieve. learn how to choose the right fins for your surfboard based on fin size, base, depth, rake, foil, cant, toe, shape, construction and materials. learn how fin size,. Surf Fin Dimensions.
From www.surfnation.com.au
Understanding the Parts of a Surfboard Surf Nation Surf Fin Dimensions learn how to choose the right fins for your surfboard based on fin size, base, depth, rake, foil, cant, toe, shape, construction and materials. learn how to choose the right surfboard fins for different types of waves and boards. learn how fin size, base, depth, rake, foil, cant, toe and shape can impact your surfing on. See. Surf Fin Dimensions.
From prosurfriding.com
Surfboard fins for riding different kinds of waves and surfs play an Surf Fin Dimensions learn everything you need to know about surfboard fins, from single to five fin setups, to rake, splay, base length and foil. See size charts from fcs,. learn how to choose the right fins for your surfboard or body surfing based on your weight, fin box, wave type, and fin type. learn how to choose the right. Surf Fin Dimensions.
From www.researchgate.net
Fin designs. A Dimensions of conventional fin. B Leading edge of Surf Fin Dimensions learn how to choose the right fins for your surfboard based on fin size, base, depth, rake, foil, cant, toe, shape, construction and materials. learn how to choose the right surfboard fins for different types of waves and boards. learn everything you need to know about surfboard fins, from single to five fin setups, to rake, splay,. Surf Fin Dimensions.
From surfershype.com
The Best Surfboard Fins In 2024 Surfers Hype Surf Fin Dimensions learn everything you need to know about surfboard fins, from single to five fin setups, to rake, splay, base length and foil. learn how to choose the right surfboard fins for different types of waves and boards. the proper fin size choice boils down to the type of surfboard you’re riding, the type of waves you’re surfing,. Surf Fin Dimensions.
From www.pinterest.com
Surfboard template summer projects Paddle Surf Fin Dimensions learn everything you need to know about surfboard fins, from single to five fin setups, to rake, splay, base length and foil. See size charts from fcs,. learn how fin size, base, depth, rake, foil, cant, toe and shape can impact your surfing on. learn how to choose the right fins for your surfboard or body surfing. Surf Fin Dimensions.
From www.surfnation.com.au
How to choose the right surfboard Ultimate Guide Surf Nation Surf Fin Dimensions the proper fin size choice boils down to the type of surfboard you’re riding, the type of waves you’re surfing, and the style of surfing you’re hoping to achieve. learn how fin size, base, depth, rake, foil, cant, toe and shape can impact your surfing on. learn everything you need to know about surfboard fins, from single. Surf Fin Dimensions.
From roamsurf.com
Fins Range Surf Fin Dimensions learn how to choose the right fins for your surfboard or body surfing based on your weight, fin box, wave type, and fin type. learn how fin size, base, depth, rake, foil, cant, toe and shape can impact your surfing on. the proper fin size choice boils down to the type of surfboard you’re riding, the type. Surf Fin Dimensions.
From www.naluasurf.com
How to choose the right surfboard? — Nalua Surf Camp Lombok Surf Fin Dimensions learn how fin size, base, depth, rake, foil, cant, toe and shape can impact your surfing on. learn how to choose the right surfboard fins for different types of waves and boards. See size charts from fcs,. the proper fin size choice boils down to the type of surfboard you’re riding, the type of waves you’re surfing,. Surf Fin Dimensions.
From www.mdpi.com
Applied Sciences Free FullText Numerical Investigation of the Surf Fin Dimensions learn how fin size, base, depth, rake, foil, cant, toe and shape can impact your surfing on. learn how to choose the right fins for your surfboard or body surfing based on your weight, fin box, wave type, and fin type. learn how to choose the right surfboard fins for different types of waves and boards. . Surf Fin Dimensions.
From giobvffnn.blob.core.windows.net
Surf Fin Names at Margaret Sorensen blog Surf Fin Dimensions learn how to choose the right surfboard fins for different types of waves and boards. See size charts from fcs,. learn how fin size, base, depth, rake, foil, cant, toe and shape can impact your surfing on. learn everything you need to know about surfboard fins, from single to five fin setups, to rake, splay, base length. Surf Fin Dimensions.
From www.pinterest.com
surfboard size ค้นหาด้วย Google Surfboard, Foam surfboard Surf Fin Dimensions the proper fin size choice boils down to the type of surfboard you’re riding, the type of waves you’re surfing, and the style of surfing you’re hoping to achieve. learn how fin size, base, depth, rake, foil, cant, toe and shape can impact your surfing on. learn how to choose the right fins for your surfboard or. Surf Fin Dimensions.
From hxefcdamk.blob.core.windows.net
Surfboard Fin Sizes at Travis Bland blog Surf Fin Dimensions learn how to choose the right surfboard fins for different types of waves and boards. learn how to choose the right fins for your surfboard or body surfing based on your weight, fin box, wave type, and fin type. learn how fin size, base, depth, rake, foil, cant, toe and shape can impact your surfing on. . Surf Fin Dimensions.
From giooqjqvb.blob.core.windows.net
What Size Fins Should I Ride at Leonard Pigg blog Surf Fin Dimensions learn how fin size, base, depth, rake, foil, cant, toe and shape can impact your surfing on. learn how to choose the right surfboard fins for different types of waves and boards. the proper fin size choice boils down to the type of surfboard you’re riding, the type of waves you’re surfing, and the style of surfing. Surf Fin Dimensions.
From prosurfriding.com
Surfboard fins for riding different kinds of waves and surfs play an Surf Fin Dimensions learn how fin size, base, depth, rake, foil, cant, toe and shape can impact your surfing on. learn how to choose the right surfboard fins for different types of waves and boards. learn how to choose the right fins for your surfboard based on fin size, base, depth, rake, foil, cant, toe, shape, construction and materials. . Surf Fin Dimensions.
From www.evo.com
How to Choose Surf Fins Fin Setup and Types Surf Fin Dimensions learn how to choose the right surfboard fins for different types of waves and boards. learn how to choose the right fins for your surfboard or body surfing based on your weight, fin box, wave type, and fin type. learn how fin size, base, depth, rake, foil, cant, toe and shape can impact your surfing on. See. Surf Fin Dimensions.
From finbin.net
Surfboard Size Chart See How To Choose the Perfect Board! Surf Fin Dimensions learn everything you need to know about surfboard fins, from single to five fin setups, to rake, splay, base length and foil. learn how fin size, base, depth, rake, foil, cant, toe and shape can impact your surfing on. See size charts from fcs,. learn how to choose the right surfboard fins for different types of waves. Surf Fin Dimensions.
From www.theseasonedsurfer.com
SUP Surfing Fin Shapes How They Affect Your SUP Surfing The Seasoned Surf Fin Dimensions learn how fin size, base, depth, rake, foil, cant, toe and shape can impact your surfing on. learn how to choose the right fins for your surfboard based on fin size, base, depth, rake, foil, cant, toe, shape, construction and materials. learn everything you need to know about surfboard fins, from single to five fin setups, to. Surf Fin Dimensions.
From www.surfertoday.com
The anatomy of a surfboard Surf Fin Dimensions learn everything you need to know about surfboard fins, from single to five fin setups, to rake, splay, base length and foil. See size charts from fcs,. learn how fin size, base, depth, rake, foil, cant, toe and shape can impact your surfing on. learn how to choose the right surfboard fins for different types of waves. Surf Fin Dimensions.
From surfshopsaustralia.com.au
How To Choose The Right Surfboards Fins Surf Fin Dimensions learn how fin size, base, depth, rake, foil, cant, toe and shape can impact your surfing on. See size charts from fcs,. the proper fin size choice boils down to the type of surfboard you’re riding, the type of waves you’re surfing, and the style of surfing you’re hoping to achieve. learn how to choose the right. Surf Fin Dimensions.
From www.pinterest.com
Surf surfboard fin art Instagram lrart_ Custom surfboards, Surfboard Surf Fin Dimensions learn how to choose the right surfboard fins for different types of waves and boards. learn how to choose the right fins for your surfboard based on fin size, base, depth, rake, foil, cant, toe, shape, construction and materials. See size charts from fcs,. learn how to choose the right fins for your surfboard or body surfing. Surf Fin Dimensions.
From fyonhckqj.blob.core.windows.net
Churchill Swim Fins Sizing at Benjamin Gadd blog Surf Fin Dimensions the proper fin size choice boils down to the type of surfboard you’re riding, the type of waves you’re surfing, and the style of surfing you’re hoping to achieve. learn everything you need to know about surfboard fins, from single to five fin setups, to rake, splay, base length and foil. See size charts from fcs,. learn. Surf Fin Dimensions.
From sbsboards.com
Beginners Guide To Buying A Surfboard, Fish Surfboard For Beginner Surf Fin Dimensions learn how fin size, base, depth, rake, foil, cant, toe and shape can impact your surfing on. See size charts from fcs,. learn how to choose the right fins for your surfboard based on fin size, base, depth, rake, foil, cant, toe, shape, construction and materials. learn how to choose the right surfboard fins for different types. Surf Fin Dimensions.
From chrisonthebeach.com
Comprendre les Cotes d'une Planche de Surf Chrisonthebeach Surf Fin Dimensions learn how to choose the right surfboard fins for different types of waves and boards. the proper fin size choice boils down to the type of surfboard you’re riding, the type of waves you’re surfing, and the style of surfing you’re hoping to achieve. learn how fin size, base, depth, rake, foil, cant, toe and shape can. Surf Fin Dimensions.