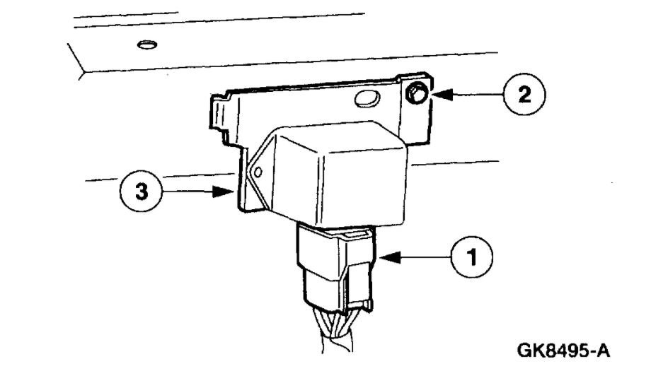
Drl Module Location . Lay down and take a peek under there, and you will see your drl (atleast on a 1994 model). One if of the drivers side front corner of the truck. I have a picture of it attached to this aswell! The drl module can be located behind the instrument panel, near the fuse box, behind the glove compartment, or in the engine compartment close to the headlights. The location of the drl module can vary between models, so consult your owner’s manual. Where do i get the parts to enable them? Daytime running lights (drl) are an important safety feature that enhances visibility during daylight hours. In this comprehensive guide, we will walk you through the process of fixing drl on a honda civic, step by step. If your daytime running lights are not coming on, staying on However, like any other component in a vehicle, drls can experience issues over time. The drl system consists of several components, including the light source, control module, and wiring. The following article was created to help you with enabling or disabling. What are the part numbers? You can usually find the daytime running light (drl) module at the vehicle’s front or near one of the headlights.
from public.fotki.com
You can usually find the daytime running light (drl) module at the vehicle’s front or near one of the headlights. Where do i get the parts to enable them? In this comprehensive guide, we will walk you through the process of fixing drl on a honda civic, step by step. The following article was created to help you with enabling or disabling. Daytime running lights (drl) are an important safety feature that enhances visibility during daylight hours. The location of the drl module can vary between models, so consult your owner’s manual. The drl system consists of several components, including the light source, control module, and wiring. What are the part numbers? The drl module can be located behind the instrument panel, near the fuse box, behind the glove compartment, or in the engine compartment close to the headlights. If your daytime running lights are not coming on, staying on
Photo With the Junction Block lowered you can now access the DRL relay
Drl Module Location The drl module can be located behind the instrument panel, near the fuse box, behind the glove compartment, or in the engine compartment close to the headlights. The location of the drl module can vary between models, so consult your owner’s manual. In this comprehensive guide, we will walk you through the process of fixing drl on a honda civic, step by step. Daytime running lights (drl) are an important safety feature that enhances visibility during daylight hours. If your daytime running lights are not coming on, staying on I have a picture of it attached to this aswell! The drl module can be located behind the instrument panel, near the fuse box, behind the glove compartment, or in the engine compartment close to the headlights. Where do i get the parts to enable them? However, like any other component in a vehicle, drls can experience issues over time. You can usually find the daytime running light (drl) module at the vehicle’s front or near one of the headlights. The following article was created to help you with enabling or disabling. One if of the drivers side front corner of the truck. What are the part numbers? Lay down and take a peek under there, and you will see your drl (atleast on a 1994 model). The drl system consists of several components, including the light source, control module, and wiring.
From www.vanderhaags.com
Kenworth W900L Light Control Module for Sale Drl Module Location If your daytime running lights are not coming on, staying on One if of the drivers side front corner of the truck. The following article was created to help you with enabling or disabling. What are the part numbers? The drl system consists of several components, including the light source, control module, and wiring. You can usually find the daytime. Drl Module Location.
From www.hondaaccordforum.com
Day Time Running Light (DRL) Help! Honda Accord Forum Honda Accord Drl Module Location In this comprehensive guide, we will walk you through the process of fixing drl on a honda civic, step by step. Lay down and take a peek under there, and you will see your drl (atleast on a 1994 model). Where do i get the parts to enable them? You can usually find the daytime running light (drl) module at. Drl Module Location.
From www.justanswer.com
Where is the daytime running light control module located on a 1996 Drl Module Location Daytime running lights (drl) are an important safety feature that enhances visibility during daylight hours. The drl system consists of several components, including the light source, control module, and wiring. If your daytime running lights are not coming on, staying on The drl module can be located behind the instrument panel, near the fuse box, behind the glove compartment, or. Drl Module Location.
From www.justanswer.com
Honda Accord DRL Module Location, Troubleshooting & More Drl Module Location You can usually find the daytime running light (drl) module at the vehicle’s front or near one of the headlights. In this comprehensive guide, we will walk you through the process of fixing drl on a honda civic, step by step. The following article was created to help you with enabling or disabling. If your daytime running lights are not. Drl Module Location.
From www.f150forum.com
DRL Module Location Ford F150 Forum Community of Ford Truck Fans Drl Module Location The drl system consists of several components, including the light source, control module, and wiring. However, like any other component in a vehicle, drls can experience issues over time. Where do i get the parts to enable them? Daytime running lights (drl) are an important safety feature that enhances visibility during daylight hours. Lay down and take a peek under. Drl Module Location.
From www.youtube.com
How To Install (DRL) Daytime Running Light YouTube Drl Module Location Daytime running lights (drl) are an important safety feature that enhances visibility during daylight hours. The following article was created to help you with enabling or disabling. Lay down and take a peek under there, and you will see your drl (atleast on a 1994 model). The drl system consists of several components, including the light source, control module, and. Drl Module Location.
From www.justanswer.com
Having a problem finding location of drl module looked under dash also Drl Module Location In this comprehensive guide, we will walk you through the process of fixing drl on a honda civic, step by step. You can usually find the daytime running light (drl) module at the vehicle’s front or near one of the headlights. Daytime running lights (drl) are an important safety feature that enhances visibility during daylight hours. Lay down and take. Drl Module Location.
From www.explorerforum.com
1998 XLT DRL module location Ford Explorer Forums Serious Explorations Drl Module Location Where do i get the parts to enable them? The drl module can be located behind the instrument panel, near the fuse box, behind the glove compartment, or in the engine compartment close to the headlights. If your daytime running lights are not coming on, staying on However, like any other component in a vehicle, drls can experience issues over. Drl Module Location.
From www.explorerforum.com
1998 XLT DRL module location Ford Explorer Forums Serious Explorations Drl Module Location Lay down and take a peek under there, and you will see your drl (atleast on a 1994 model). What are the part numbers? You can usually find the daytime running light (drl) module at the vehicle’s front or near one of the headlights. I have a picture of it attached to this aswell! The location of the drl module. Drl Module Location.
From www.subaruoutback.org
DRL resistor or module location Subaru Outback Forums Drl Module Location One if of the drivers side front corner of the truck. The drl system consists of several components, including the light source, control module, and wiring. The drl module can be located behind the instrument panel, near the fuse box, behind the glove compartment, or in the engine compartment close to the headlights. However, like any other component in a. Drl Module Location.
From acurazine.com
getting ready to fix my DRL relay....HELP! AcuraZine Acura Drl Module Location What are the part numbers? The drl module can be located behind the instrument panel, near the fuse box, behind the glove compartment, or in the engine compartment close to the headlights. The drl system consists of several components, including the light source, control module, and wiring. Daytime running lights (drl) are an important safety feature that enhances visibility during. Drl Module Location.
From www.justanswer.com
Where is the daytime running lights control module located in a 96' gmc Drl Module Location However, like any other component in a vehicle, drls can experience issues over time. The location of the drl module can vary between models, so consult your owner’s manual. If your daytime running lights are not coming on, staying on Where do i get the parts to enable them? What are the part numbers? The following article was created to. Drl Module Location.
From www.2carpros.com
DRL Module Location Needed Where Exactly Is the DRL (Daytime Drl Module Location However, like any other component in a vehicle, drls can experience issues over time. The drl module can be located behind the instrument panel, near the fuse box, behind the glove compartment, or in the engine compartment close to the headlights. Daytime running lights (drl) are an important safety feature that enhances visibility during daylight hours. If your daytime running. Drl Module Location.
From www.justanswer.com
Locate DRL module 1994 Jeep Grand Cherokee Drl Module Location The following article was created to help you with enabling or disabling. In this comprehensive guide, we will walk you through the process of fixing drl on a honda civic, step by step. You can usually find the daytime running light (drl) module at the vehicle’s front or near one of the headlights. Daytime running lights (drl) are an important. Drl Module Location.
From www.2carpros.com
DRL Module Location Needed Where Exactly Is the DRL (Daytime Drl Module Location I have a picture of it attached to this aswell! However, like any other component in a vehicle, drls can experience issues over time. Daytime running lights (drl) are an important safety feature that enhances visibility during daylight hours. You can usually find the daytime running light (drl) module at the vehicle’s front or near one of the headlights. The. Drl Module Location.
From www.jaguarforums.com
Installing DRL module location Jaguar Forums Jaguar Enthusiasts Forum Drl Module Location What are the part numbers? However, like any other component in a vehicle, drls can experience issues over time. If your daytime running lights are not coming on, staying on Lay down and take a peek under there, and you will see your drl (atleast on a 1994 model). Where do i get the parts to enable them? I have. Drl Module Location.
From www.odyclub.com
2003 Odyssey DRL relay location Honda Odyssey Forum Drl Module Location I have a picture of it attached to this aswell! One if of the drivers side front corner of the truck. What are the part numbers? Lay down and take a peek under there, and you will see your drl (atleast on a 1994 model). Daytime running lights (drl) are an important safety feature that enhances visibility during daylight hours.. Drl Module Location.
From www.justanswer.com
Daytime Running Light Module Location Mazda Pickup & Chevy JustAnswer Drl Module Location Lay down and take a peek under there, and you will see your drl (atleast on a 1994 model). Daytime running lights (drl) are an important safety feature that enhances visibility during daylight hours. The drl system consists of several components, including the light source, control module, and wiring. One if of the drivers side front corner of the truck.. Drl Module Location.
From www.youtube.com
How to Repair DRL Module Honda Civic Daytime Running Lights YouTube Drl Module Location Lay down and take a peek under there, and you will see your drl (atleast on a 1994 model). I have a picture of it attached to this aswell! If your daytime running lights are not coming on, staying on The drl module can be located behind the instrument panel, near the fuse box, behind the glove compartment, or in. Drl Module Location.
From www.taurusclub.com
helphow to install daytime running light(drl) module on 2001 taurus Drl Module Location Lay down and take a peek under there, and you will see your drl (atleast on a 1994 model). What are the part numbers? The drl system consists of several components, including the light source, control module, and wiring. You can usually find the daytime running light (drl) module at the vehicle’s front or near one of the headlights. The. Drl Module Location.
From chevroletforum.com
DRL Diode Location Chevrolet Forum Chevy Enthusiasts Forums Drl Module Location Lay down and take a peek under there, and you will see your drl (atleast on a 1994 model). The drl system consists of several components, including the light source, control module, and wiring. However, like any other component in a vehicle, drls can experience issues over time. What are the part numbers? In this comprehensive guide, we will walk. Drl Module Location.
From www.youtube.com
Daytime Running Light Module FIX YouTube Drl Module Location In this comprehensive guide, we will walk you through the process of fixing drl on a honda civic, step by step. If your daytime running lights are not coming on, staying on The following article was created to help you with enabling or disabling. The drl system consists of several components, including the light source, control module, and wiring. Where. Drl Module Location.
From www.2carpros.com
I Am Trying to Figure Out the Location of My DRL Module Drl Module Location If your daytime running lights are not coming on, staying on The following article was created to help you with enabling or disabling. Lay down and take a peek under there, and you will see your drl (atleast on a 1994 model). Where do i get the parts to enable them? The drl system consists of several components, including the. Drl Module Location.
From repairmachineeickhoff123.z19.web.core.windows.net
2007 Honda Civic Drl Relay Location Drl Module Location In this comprehensive guide, we will walk you through the process of fixing drl on a honda civic, step by step. Where do i get the parts to enable them? What are the part numbers? Lay down and take a peek under there, and you will see your drl (atleast on a 1994 model). The following article was created to. Drl Module Location.
From www.blueovaltech.com
How To Enable Or Disable Ford Daytime Running Lights Drl Module Location The drl system consists of several components, including the light source, control module, and wiring. One if of the drivers side front corner of the truck. You can usually find the daytime running light (drl) module at the vehicle’s front or near one of the headlights. The following article was created to help you with enabling or disabling. The location. Drl Module Location.
From www.odyclub.com
Location of DRL module?? 2007 Honda Odyssey Forum Drl Module Location Where do i get the parts to enable them? The drl system consists of several components, including the light source, control module, and wiring. One if of the drivers side front corner of the truck. What are the part numbers? The location of the drl module can vary between models, so consult your owner’s manual. Lay down and take a. Drl Module Location.
From public.fotki.com
Photo With the Junction Block lowered you can now access the DRL relay Drl Module Location In this comprehensive guide, we will walk you through the process of fixing drl on a honda civic, step by step. I have a picture of it attached to this aswell! If your daytime running lights are not coming on, staying on However, like any other component in a vehicle, drls can experience issues over time. The drl module can. Drl Module Location.
From www.carparts.com
Where Is the Daytime Running Light Module Located? In The Garage with Drl Module Location You can usually find the daytime running light (drl) module at the vehicle’s front or near one of the headlights. Daytime running lights (drl) are an important safety feature that enhances visibility during daylight hours. The drl module can be located behind the instrument panel, near the fuse box, behind the glove compartment, or in the engine compartment close to. Drl Module Location.
From www.dodgetalk.com
97 DRL Module Location and how to disable DodgeTalk Forum Drl Module Location Lay down and take a peek under there, and you will see your drl (atleast on a 1994 model). I have a picture of it attached to this aswell! If your daytime running lights are not coming on, staying on Where do i get the parts to enable them? The drl module can be located behind the instrument panel, near. Drl Module Location.
From www.taurusclub.com
Where Is The Drl Module Located? Taurus Car Club of America Ford Drl Module Location However, like any other component in a vehicle, drls can experience issues over time. If your daytime running lights are not coming on, staying on In this comprehensive guide, we will walk you through the process of fixing drl on a honda civic, step by step. The drl module can be located behind the instrument panel, near the fuse box,. Drl Module Location.
From www.my4dsc.com
Nissan OEM DRL Daytime Running Lights Module (Canadian Modules) Drl Module Location The location of the drl module can vary between models, so consult your owner’s manual. However, like any other component in a vehicle, drls can experience issues over time. You can usually find the daytime running light (drl) module at the vehicle’s front or near one of the headlights. The drl system consists of several components, including the light source,. Drl Module Location.
From www.2carpros.com
Where Is the Drl Module Located? Drl Module Location You can usually find the daytime running light (drl) module at the vehicle’s front or near one of the headlights. I have a picture of it attached to this aswell! The drl module can be located behind the instrument panel, near the fuse box, behind the glove compartment, or in the engine compartment close to the headlights. The drl system. Drl Module Location.
From www.2carpros.com
DRL Module Location Needed Where Exactly Is the DRL (Daytime Drl Module Location Daytime running lights (drl) are an important safety feature that enhances visibility during daylight hours. I have a picture of it attached to this aswell! One if of the drivers side front corner of the truck. If your daytime running lights are not coming on, staying on In this comprehensive guide, we will walk you through the process of fixing. Drl Module Location.
From www.youtube.com
Daytime running light circuit troubleshooting (DRL circuit) YouTube Drl Module Location Daytime running lights (drl) are an important safety feature that enhances visibility during daylight hours. However, like any other component in a vehicle, drls can experience issues over time. In this comprehensive guide, we will walk you through the process of fixing drl on a honda civic, step by step. You can usually find the daytime running light (drl) module. Drl Module Location.
From www.ford-trucks.com
DRL module location 2003 Excursion Page 2 Ford Truck Enthusiasts Forums Drl Module Location You can usually find the daytime running light (drl) module at the vehicle’s front or near one of the headlights. In this comprehensive guide, we will walk you through the process of fixing drl on a honda civic, step by step. If your daytime running lights are not coming on, staying on The following article was created to help you. Drl Module Location.