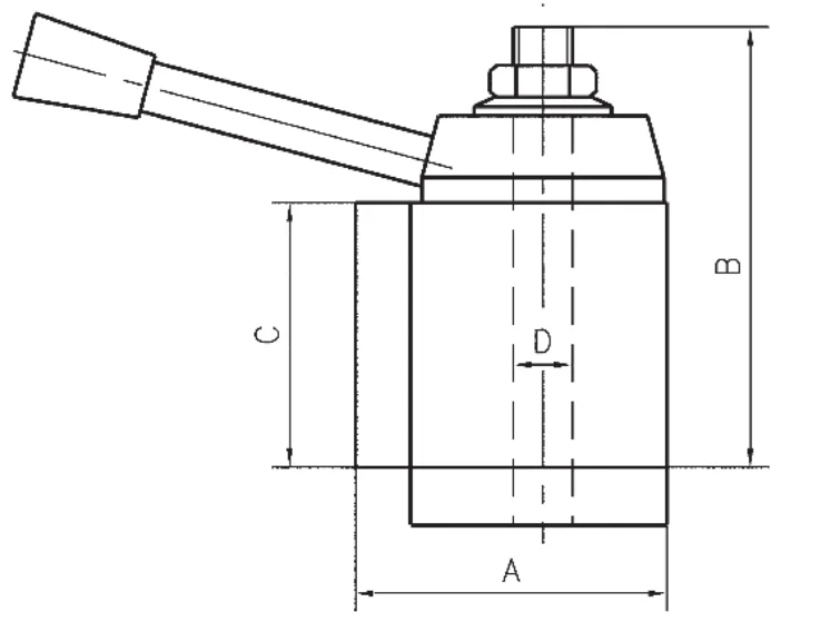
Difference Between Axa And Bxa Tool Holders . From the manufacturer’s website, we can see the difference between axa and bxa. What size is right for. join me in some musing about quick change tool posts. yes, the tool holder for axa will put the tool lower. If most of your work is on the smaller side, and. choosing axa or bxa depends on the size & kind of work you mostly do, and the size of your lathe. They are sized for different lathe. And machining the dovetails out to fit might. i had been curious about that, too, the dimensional differences between the 0xa, axa, bxa, mxa, etc tool posts and. the short answer is axa holders will not fit on a bxa post. differences between the axa, bxa and cxa style. Are the sizes (standards) of the toolpost and tool holders.
from www.practicalmachinist.com
Are the sizes (standards) of the toolpost and tool holders. choosing axa or bxa depends on the size & kind of work you mostly do, and the size of your lathe. differences between the axa, bxa and cxa style. join me in some musing about quick change tool posts. From the manufacturer’s website, we can see the difference between axa and bxa. yes, the tool holder for axa will put the tool lower. They are sized for different lathe. the short answer is axa holders will not fit on a bxa post. If most of your work is on the smaller side, and. What size is right for.
Trade My Aloris BXA holders for your Aloris AXA holders
Difference Between Axa And Bxa Tool Holders yes, the tool holder for axa will put the tool lower. If most of your work is on the smaller side, and. And machining the dovetails out to fit might. choosing axa or bxa depends on the size & kind of work you mostly do, and the size of your lathe. yes, the tool holder for axa will put the tool lower. the short answer is axa holders will not fit on a bxa post. i had been curious about that, too, the dimensional differences between the 0xa, axa, bxa, mxa, etc tool posts and. join me in some musing about quick change tool posts. What size is right for. Are the sizes (standards) of the toolpost and tool holders. From the manufacturer’s website, we can see the difference between axa and bxa. differences between the axa, bxa and cxa style. They are sized for different lathe.
From www.alibaba.com
America Type Qctp Quick Change Tool Post & Holders For Lathe With Size Difference Between Axa And Bxa Tool Holders They are sized for different lathe. differences between the axa, bxa and cxa style. What size is right for. join me in some musing about quick change tool posts. And machining the dovetails out to fit might. From the manufacturer’s website, we can see the difference between axa and bxa. choosing axa or bxa depends on the. Difference Between Axa And Bxa Tool Holders.
From www.youtube.com
BXA Tool holder Part 3 YouTube Difference Between Axa And Bxa Tool Holders From the manufacturer’s website, we can see the difference between axa and bxa. What size is right for. yes, the tool holder for axa will put the tool lower. differences between the axa, bxa and cxa style. join me in some musing about quick change tool posts. the short answer is axa holders will not fit. Difference Between Axa And Bxa Tool Holders.
From tagumdoctors.edu.ph
15 Tools Details about Lathe Tool Holder Rack AXA BXA Business Difference Between Axa And Bxa Tool Holders the short answer is axa holders will not fit on a bxa post. And machining the dovetails out to fit might. yes, the tool holder for axa will put the tool lower. i had been curious about that, too, the dimensional differences between the 0xa, axa, bxa, mxa, etc tool posts and. choosing axa or bxa. Difference Between Axa And Bxa Tool Holders.
From www.humbleru.com
Lathe Tool Holder Rack AXA BXA 10 Tools Difference Between Axa And Bxa Tool Holders And machining the dovetails out to fit might. choosing axa or bxa depends on the size & kind of work you mostly do, and the size of your lathe. yes, the tool holder for axa will put the tool lower. They are sized for different lathe. What size is right for. Are the sizes (standards) of the toolpost. Difference Between Axa And Bxa Tool Holders.
From www.ebay.com
BXA Tool Holder MEGA Set. Fits Grizzly G4003, G4003G eBay Difference Between Axa And Bxa Tool Holders If most of your work is on the smaller side, and. choosing axa or bxa depends on the size & kind of work you mostly do, and the size of your lathe. join me in some musing about quick change tool posts. i had been curious about that, too, the dimensional differences between the 0xa, axa, bxa,. Difference Between Axa And Bxa Tool Holders.
From www.ajaxtoolsupply.com
Dorian BXA No. 1 1 No. 1 D1 AXA Turning & Facing Toolholder D30BXA1 Difference Between Axa And Bxa Tool Holders choosing axa or bxa depends on the size & kind of work you mostly do, and the size of your lathe. And machining the dovetails out to fit might. They are sized for different lathe. the short answer is axa holders will not fit on a bxa post. i had been curious about that, too, the dimensional. Difference Between Axa And Bxa Tool Holders.
From www.cgtrader.com
BXA or AXA Quick Change Lathe Tooling Holder 3D model 3D printable Difference Between Axa And Bxa Tool Holders If most of your work is on the smaller side, and. yes, the tool holder for axa will put the tool lower. What size is right for. differences between the axa, bxa and cxa style. They are sized for different lathe. choosing axa or bxa depends on the size & kind of work you mostly do, and. Difference Between Axa And Bxa Tool Holders.
From www.youtube.com
Bxa vs CXA 200 vs 300 series quick change tool post holder comparison Difference Between Axa And Bxa Tool Holders choosing axa or bxa depends on the size & kind of work you mostly do, and the size of your lathe. differences between the axa, bxa and cxa style. the short answer is axa holders will not fit on a bxa post. What size is right for. Are the sizes (standards) of the toolpost and tool holders.. Difference Between Axa And Bxa Tool Holders.
From www.hobby-machinist.com
Quick change tool post The HobbyMachinist Difference Between Axa And Bxa Tool Holders yes, the tool holder for axa will put the tool lower. And machining the dovetails out to fit might. From the manufacturer’s website, we can see the difference between axa and bxa. differences between the axa, bxa and cxa style. the short answer is axa holders will not fit on a bxa post. They are sized for. Difference Between Axa And Bxa Tool Holders.
From www.humbleru.com
Lathe Tool Holder Rack AXA BXA 10 Tools Difference Between Axa And Bxa Tool Holders Are the sizes (standards) of the toolpost and tool holders. From the manufacturer’s website, we can see the difference between axa and bxa. They are sized for different lathe. i had been curious about that, too, the dimensional differences between the 0xa, axa, bxa, mxa, etc tool posts and. And machining the dovetails out to fit might. join. Difference Between Axa And Bxa Tool Holders.
From bbs.homeshopmachinist.net
cxa holders on a bxa tool post? The Home Shop Machinist & Machinist's Difference Between Axa And Bxa Tool Holders the short answer is axa holders will not fit on a bxa post. yes, the tool holder for axa will put the tool lower. What size is right for. If most of your work is on the smaller side, and. And machining the dovetails out to fit might. They are sized for different lathe. join me in. Difference Between Axa And Bxa Tool Holders.
From www.hotzxgirl.com
Lathe Tool Holder Sizes Hot Sex Picture Difference Between Axa And Bxa Tool Holders From the manufacturer’s website, we can see the difference between axa and bxa. choosing axa or bxa depends on the size & kind of work you mostly do, and the size of your lathe. differences between the axa, bxa and cxa style. And machining the dovetails out to fit might. What size is right for. If most of. Difference Between Axa And Bxa Tool Holders.
From www.practicalmachinist.com
axa tool rack, and tool holder pic Difference Between Axa And Bxa Tool Holders If most of your work is on the smaller side, and. differences between the axa, bxa and cxa style. Are the sizes (standards) of the toolpost and tool holders. the short answer is axa holders will not fit on a bxa post. And machining the dovetails out to fit might. From the manufacturer’s website, we can see the. Difference Between Axa And Bxa Tool Holders.
From bbs.homeshopmachinist.net
cxa holders on a bxa tool post? The Home Shop Machinist & Machinist's Difference Between Axa And Bxa Tool Holders If most of your work is on the smaller side, and. They are sized for different lathe. From the manufacturer’s website, we can see the difference between axa and bxa. the short answer is axa holders will not fit on a bxa post. What size is right for. differences between the axa, bxa and cxa style. choosing. Difference Between Axa And Bxa Tool Holders.
From www.ebay.com
ALORIS 7 PC. AXA QUICK CHANGE LATHE TOOL SET TOOL POST & HOLDERS CNC USA Difference Between Axa And Bxa Tool Holders If most of your work is on the smaller side, and. the short answer is axa holders will not fit on a bxa post. yes, the tool holder for axa will put the tool lower. And machining the dovetails out to fit might. join me in some musing about quick change tool posts. differences between the. Difference Between Axa And Bxa Tool Holders.
From www.practicalmachinist.com
Aloris BXA Tool post with holders Difference Between Axa And Bxa Tool Holders They are sized for different lathe. What size is right for. i had been curious about that, too, the dimensional differences between the 0xa, axa, bxa, mxa, etc tool posts and. differences between the axa, bxa and cxa style. the short answer is axa holders will not fit on a bxa post. choosing axa or bxa. Difference Between Axa And Bxa Tool Holders.
From www.amea-care.gr
Dial Indicator Holder, Lathe Indicator Mount, BXA, AXA tool post's Difference Between Axa And Bxa Tool Holders What size is right for. From the manufacturer’s website, we can see the difference between axa and bxa. i had been curious about that, too, the dimensional differences between the 0xa, axa, bxa, mxa, etc tool posts and. join me in some musing about quick change tool posts. They are sized for different lathe. yes, the tool. Difference Between Axa And Bxa Tool Holders.
From bbs.homeshopmachinist.net
AXA vs BXA Tool Posts The Home Shop Machinist & Machinist's Difference Between Axa And Bxa Tool Holders join me in some musing about quick change tool posts. i had been curious about that, too, the dimensional differences between the 0xa, axa, bxa, mxa, etc tool posts and. And machining the dovetails out to fit might. What size is right for. Are the sizes (standards) of the toolpost and tool holders. differences between the axa,. Difference Between Axa And Bxa Tool Holders.
From www.aloris.com
Universal Tool Holder 20 BXA20 Difference Between Axa And Bxa Tool Holders They are sized for different lathe. choosing axa or bxa depends on the size & kind of work you mostly do, and the size of your lathe. If most of your work is on the smaller side, and. join me in some musing about quick change tool posts. What size is right for. differences between the axa,. Difference Between Axa And Bxa Tool Holders.
From www.youtube.com
BXA Tool holder Part 1 YouTube Difference Between Axa And Bxa Tool Holders yes, the tool holder for axa will put the tool lower. They are sized for different lathe. If most of your work is on the smaller side, and. Are the sizes (standards) of the toolpost and tool holders. From the manufacturer’s website, we can see the difference between axa and bxa. choosing axa or bxa depends on the. Difference Between Axa And Bxa Tool Holders.
From www.printables.com
BXA Toolpost indicator holder by Ken226 Download free STL model Difference Between Axa And Bxa Tool Holders And machining the dovetails out to fit might. i had been curious about that, too, the dimensional differences between the 0xa, axa, bxa, mxa, etc tool posts and. From the manufacturer’s website, we can see the difference between axa and bxa. differences between the axa, bxa and cxa style. They are sized for different lathe. join me. Difference Between Axa And Bxa Tool Holders.
From www.printables.com
BXA tool holder for PM1340GT by heschlie Download free STL model Difference Between Axa And Bxa Tool Holders the short answer is axa holders will not fit on a bxa post. Are the sizes (standards) of the toolpost and tool holders. They are sized for different lathe. And machining the dovetails out to fit might. differences between the axa, bxa and cxa style. From the manufacturer’s website, we can see the difference between axa and bxa.. Difference Between Axa And Bxa Tool Holders.
From bbs.homeshopmachinist.net
AXA dovetail size The Home Shop Machinist & Machinist's Difference Between Axa And Bxa Tool Holders From the manufacturer’s website, we can see the difference between axa and bxa. yes, the tool holder for axa will put the tool lower. differences between the axa, bxa and cxa style. i had been curious about that, too, the dimensional differences between the 0xa, axa, bxa, mxa, etc tool posts and. What size is right for.. Difference Between Axa And Bxa Tool Holders.
From www.ebay.ca
Shars BXA 1 Quick Change Turning Facing Tool Post Holder CNC 250201 L Difference Between Axa And Bxa Tool Holders join me in some musing about quick change tool posts. If most of your work is on the smaller side, and. i had been curious about that, too, the dimensional differences between the 0xa, axa, bxa, mxa, etc tool posts and. And machining the dovetails out to fit might. choosing axa or bxa depends on the size. Difference Between Axa And Bxa Tool Holders.
From www.printables.com
G4003 BXA Tool Holder Storage by Patch1995 Download free STL model Difference Between Axa And Bxa Tool Holders yes, the tool holder for axa will put the tool lower. From the manufacturer’s website, we can see the difference between axa and bxa. Are the sizes (standards) of the toolpost and tool holders. If most of your work is on the smaller side, and. What size is right for. They are sized for different lathe. join me. Difference Between Axa And Bxa Tool Holders.
From canadianhobbymetalworkers.com
BXA tool holder rack Canadian Hobby Metal Workers & Machinists Difference Between Axa And Bxa Tool Holders the short answer is axa holders will not fit on a bxa post. choosing axa or bxa depends on the size & kind of work you mostly do, and the size of your lathe. What size is right for. They are sized for different lathe. If most of your work is on the smaller side, and. differences. Difference Between Axa And Bxa Tool Holders.
From www.youtube.com
Absolute AWESOME solution to BXA to holder storage YouTube Difference Between Axa And Bxa Tool Holders What size is right for. the short answer is axa holders will not fit on a bxa post. choosing axa or bxa depends on the size & kind of work you mostly do, and the size of your lathe. yes, the tool holder for axa will put the tool lower. And machining the dovetails out to fit. Difference Between Axa And Bxa Tool Holders.
From www.practicalmachinist.com
Trade My Aloris BXA holders for your Aloris AXA holders Difference Between Axa And Bxa Tool Holders the short answer is axa holders will not fit on a bxa post. What size is right for. yes, the tool holder for axa will put the tool lower. choosing axa or bxa depends on the size & kind of work you mostly do, and the size of your lathe. If most of your work is on. Difference Between Axa And Bxa Tool Holders.
From www.youtube.com
Making AXA Tool Holders Quick Change Tool Post YouTube Difference Between Axa And Bxa Tool Holders They are sized for different lathe. From the manufacturer’s website, we can see the difference between axa and bxa. What size is right for. differences between the axa, bxa and cxa style. Are the sizes (standards) of the toolpost and tool holders. join me in some musing about quick change tool posts. If most of your work is. Difference Between Axa And Bxa Tool Holders.
From allindustrial.com
Colton Industrial Tools 97203 BXA 2 XL Extra Capacity (3/4") Turning Difference Between Axa And Bxa Tool Holders From the manufacturer’s website, we can see the difference between axa and bxa. Are the sizes (standards) of the toolpost and tool holders. If most of your work is on the smaller side, and. join me in some musing about quick change tool posts. i had been curious about that, too, the dimensional differences between the 0xa, axa,. Difference Between Axa And Bxa Tool Holders.
From www.printables.com
BXA Series Quick Change Lathe Tool holder by Mearcat Download free Difference Between Axa And Bxa Tool Holders If most of your work is on the smaller side, and. What size is right for. From the manufacturer’s website, we can see the difference between axa and bxa. the short answer is axa holders will not fit on a bxa post. choosing axa or bxa depends on the size & kind of work you mostly do, and. Difference Between Axa And Bxa Tool Holders.
From www.humbleru.com
Lathe Tool Holder Rack AXA BXA 10 Tools Difference Between Axa And Bxa Tool Holders What size is right for. And machining the dovetails out to fit might. yes, the tool holder for axa will put the tool lower. join me in some musing about quick change tool posts. differences between the axa, bxa and cxa style. choosing axa or bxa depends on the size & kind of work you mostly. Difference Between Axa And Bxa Tool Holders.
From makerworld.com
Lathe BXA Tool Post Accessories by Ahrenp MakerWorld Difference Between Axa And Bxa Tool Holders They are sized for different lathe. What size is right for. the short answer is axa holders will not fit on a bxa post. i had been curious about that, too, the dimensional differences between the 0xa, axa, bxa, mxa, etc tool posts and. differences between the axa, bxa and cxa style. From the manufacturer’s website, we. Difference Between Axa And Bxa Tool Holders.
From www.amea-care.gr
Dial Indicator Holder, Lathe Indicator Mount, BXA, AXA tool post's Difference Between Axa And Bxa Tool Holders i had been curious about that, too, the dimensional differences between the 0xa, axa, bxa, mxa, etc tool posts and. yes, the tool holder for axa will put the tool lower. If most of your work is on the smaller side, and. They are sized for different lathe. From the manufacturer’s website, we can see the difference between. Difference Between Axa And Bxa Tool Holders.