Ge Gdt645Syn0Fs Manual . Gdf640 series, gdt535 series, gdt635 series,. view and download ge gdt645synfs installation instructions manual online. view the manual for the ge gdt645synfs here, for. view and download ge gdt645s owner's manual online. This product currently has 12 frequently asked. download the manual for model ge gdt645syn0fs dishwasher. manual for ge gdt645syn0fs dishwasher. Gdt645s dishwasher pdf manual download. Gdt645synfs dishwasher pdf manual download. View and download the pdf in english. Download or read online manual, installation instructions, specifications,. Sears parts direct has parts, manuals & part diagrams. user manual, ownership, & support information for gdt645synfs | ge® energy star® fingerprint resistant top control.
from www.lowes.com
Gdf640 series, gdt535 series, gdt635 series,. view the manual for the ge gdt645synfs here, for. Sears parts direct has parts, manuals & part diagrams. download the manual for model ge gdt645syn0fs dishwasher. Download or read online manual, installation instructions, specifications,. Gdt645synfs dishwasher pdf manual download. manual for ge gdt645syn0fs dishwasher. user manual, ownership, & support information for gdt645synfs | ge® energy star® fingerprint resistant top control. Gdt645s dishwasher pdf manual download. This product currently has 12 frequently asked.
GE Dry Boost 24in Top Control BuiltIn Dishwasher (Fingerprint
Ge Gdt645Syn0Fs Manual Gdt645synfs dishwasher pdf manual download. Gdf640 series, gdt535 series, gdt635 series,. This product currently has 12 frequently asked. Download or read online manual, installation instructions, specifications,. view the manual for the ge gdt645synfs here, for. Gdt645s dishwasher pdf manual download. user manual, ownership, & support information for gdt645synfs | ge® energy star® fingerprint resistant top control. manual for ge gdt645syn0fs dishwasher. view and download ge gdt645s owner's manual online. download the manual for model ge gdt645syn0fs dishwasher. Sears parts direct has parts, manuals & part diagrams. view and download ge gdt645synfs installation instructions manual online. View and download the pdf in english. Gdt645synfs dishwasher pdf manual download.
From www.manua.ls
User manual GE GDT645SYNFS (English 78 pages) Ge Gdt645Syn0Fs Manual View and download the pdf in english. Gdt645s dishwasher pdf manual download. Sears parts direct has parts, manuals & part diagrams. user manual, ownership, & support information for gdt645synfs | ge® energy star® fingerprint resistant top control. download the manual for model ge gdt645syn0fs dishwasher. view the manual for the ge gdt645synfs here, for. Gdt645synfs dishwasher pdf. Ge Gdt645Syn0Fs Manual.
From www.americanfreight.com
GE GDT645SYNFS 24" Fingerprint Resistant Stainless Steel Fully Ge Gdt645Syn0Fs Manual user manual, ownership, & support information for gdt645synfs | ge® energy star® fingerprint resistant top control. view and download ge gdt645s owner's manual online. view the manual for the ge gdt645synfs here, for. view and download ge gdt645synfs installation instructions manual online. Download or read online manual, installation instructions, specifications,. This product currently has 12 frequently. Ge Gdt645Syn0Fs Manual.
From www.americanfreight.com
GE GDT645SYNFS 24" Fingerprint Resistant Stainless Steel Fully Ge Gdt645Syn0Fs Manual Sears parts direct has parts, manuals & part diagrams. manual for ge gdt645syn0fs dishwasher. view and download ge gdt645s owner's manual online. view the manual for the ge gdt645synfs here, for. Gdf640 series, gdt535 series, gdt635 series,. Gdt645synfs dishwasher pdf manual download. Gdt645s dishwasher pdf manual download. This product currently has 12 frequently asked. Download or read. Ge Gdt645Syn0Fs Manual.
From premierappliancestore.com
GE GDT645SYNFS 24 Inch BuiltIn Dishwasher with 5 Wash Cycles, 16 Place Ge Gdt645Syn0Fs Manual download the manual for model ge gdt645syn0fs dishwasher. Gdt645s dishwasher pdf manual download. Gdf640 series, gdt535 series, gdt635 series,. view the manual for the ge gdt645synfs here, for. view and download ge gdt645synfs installation instructions manual online. This product currently has 12 frequently asked. view and download ge gdt645s owner's manual online. View and download the. Ge Gdt645Syn0Fs Manual.
From www.manua.ls
User manual GE GDT645SYNFS (English 78 pages) Ge Gdt645Syn0Fs Manual Gdt645synfs dishwasher pdf manual download. Sears parts direct has parts, manuals & part diagrams. download the manual for model ge gdt645syn0fs dishwasher. user manual, ownership, & support information for gdt645synfs | ge® energy star® fingerprint resistant top control. Gdf640 series, gdt535 series, gdt635 series,. view the manual for the ge gdt645synfs here, for. Gdt645s dishwasher pdf manual. Ge Gdt645Syn0Fs Manual.
From www.justanswer.com
GE dishwasher model GDT645SYNFS. When starting cycle, dishwasher Ge Gdt645Syn0Fs Manual view and download ge gdt645synfs installation instructions manual online. View and download the pdf in english. view the manual for the ge gdt645synfs here, for. Gdf640 series, gdt535 series, gdt635 series,. Gdt645synfs dishwasher pdf manual download. download the manual for model ge gdt645syn0fs dishwasher. Sears parts direct has parts, manuals & part diagrams. This product currently has. Ge Gdt645Syn0Fs Manual.
From www.manua.ls
User manual GE GDT645SYNFS (English 78 pages) Ge Gdt645Syn0Fs Manual manual for ge gdt645syn0fs dishwasher. Gdt645s dishwasher pdf manual download. Gdf640 series, gdt535 series, gdt635 series,. Gdt645synfs dishwasher pdf manual download. View and download the pdf in english. This product currently has 12 frequently asked. view and download ge gdt645synfs installation instructions manual online. view the manual for the ge gdt645synfs here, for. Download or read online. Ge Gdt645Syn0Fs Manual.
From www.manua.ls
User manual GE GDT645SYNFS (English 78 pages) Ge Gdt645Syn0Fs Manual View and download the pdf in english. manual for ge gdt645syn0fs dishwasher. Gdt645synfs dishwasher pdf manual download. download the manual for model ge gdt645syn0fs dishwasher. view the manual for the ge gdt645synfs here, for. Gdt645s dishwasher pdf manual download. view and download ge gdt645s owner's manual online. Sears parts direct has parts, manuals & part diagrams.. Ge Gdt645Syn0Fs Manual.
From www.americanfreight.com
GE GDT645SYNFS 24" Fingerprint Resistant Stainless Steel Fully Ge Gdt645Syn0Fs Manual Gdf640 series, gdt535 series, gdt635 series,. user manual, ownership, & support information for gdt645synfs | ge® energy star® fingerprint resistant top control. view the manual for the ge gdt645synfs here, for. view and download ge gdt645s owner's manual online. manual for ge gdt645syn0fs dishwasher. download the manual for model ge gdt645syn0fs dishwasher. This product currently. Ge Gdt645Syn0Fs Manual.
From www.danielsdiscount.com
GE GDT645SYNFSSD GE® Top Control with Stainless Steel Interior Ge Gdt645Syn0Fs Manual Gdt645synfs dishwasher pdf manual download. view the manual for the ge gdt645synfs here, for. view and download ge gdt645synfs installation instructions manual online. user manual, ownership, & support information for gdt645synfs | ge® energy star® fingerprint resistant top control. View and download the pdf in english. Gdf640 series, gdt535 series, gdt635 series,. manual for ge gdt645syn0fs. Ge Gdt645Syn0Fs Manual.
From www.manualslib.com
GE GDT645SYNFS INSTALLATION INSTRUCTIONS MANUAL Pdf Download ManualsLib Ge Gdt645Syn0Fs Manual Gdf640 series, gdt535 series, gdt635 series,. download the manual for model ge gdt645syn0fs dishwasher. Sears parts direct has parts, manuals & part diagrams. Gdt645s dishwasher pdf manual download. view and download ge gdt645s owner's manual online. This product currently has 12 frequently asked. Download or read online manual, installation instructions, specifications,. user manual, ownership, & support information. Ge Gdt645Syn0Fs Manual.
From www.manua.ls
User manual GE GDT645SYNFS (English 72 pages) Ge Gdt645Syn0Fs Manual View and download the pdf in english. view and download ge gdt645s owner's manual online. Gdf640 series, gdt535 series, gdt635 series,. Gdt645synfs dishwasher pdf manual download. Download or read online manual, installation instructions, specifications,. manual for ge gdt645syn0fs dishwasher. Gdt645s dishwasher pdf manual download. This product currently has 12 frequently asked. user manual, ownership, & support information. Ge Gdt645Syn0Fs Manual.
From enginediagrambever.z21.web.core.windows.net
Ge Dishwasher Gdt645synfs Manual Ge Gdt645Syn0Fs Manual view and download ge gdt645s owner's manual online. Download or read online manual, installation instructions, specifications,. download the manual for model ge gdt645syn0fs dishwasher. user manual, ownership, & support information for gdt645synfs | ge® energy star® fingerprint resistant top control. Gdt645synfs dishwasher pdf manual download. This product currently has 12 frequently asked. View and download the pdf. Ge Gdt645Syn0Fs Manual.
From www.lowes.com
GE Dry Boost 24in Top Control BuiltIn Dishwasher (Fingerprint Ge Gdt645Syn0Fs Manual download the manual for model ge gdt645syn0fs dishwasher. view and download ge gdt645synfs installation instructions manual online. user manual, ownership, & support information for gdt645synfs | ge® energy star® fingerprint resistant top control. Sears parts direct has parts, manuals & part diagrams. view the manual for the ge gdt645synfs here, for. view and download ge. Ge Gdt645Syn0Fs Manual.
From www.americanfreight.com
GE GDT645SYNFS 24" Fingerprint Resistant Stainless Steel Fully Ge Gdt645Syn0Fs Manual view the manual for the ge gdt645synfs here, for. manual for ge gdt645syn0fs dishwasher. Sears parts direct has parts, manuals & part diagrams. view and download ge gdt645synfs installation instructions manual online. download the manual for model ge gdt645syn0fs dishwasher. View and download the pdf in english. This product currently has 12 frequently asked. Download or. Ge Gdt645Syn0Fs Manual.
From www.americanfreight.com
GE GDT645SYNFS 24" Fingerprint Resistant Stainless Steel Fully Ge Gdt645Syn0Fs Manual view the manual for the ge gdt645synfs here, for. view and download ge gdt645synfs installation instructions manual online. view and download ge gdt645s owner's manual online. Gdf640 series, gdt535 series, gdt635 series,. Gdt645s dishwasher pdf manual download. Gdt645synfs dishwasher pdf manual download. user manual, ownership, & support information for gdt645synfs | ge® energy star® fingerprint resistant. Ge Gdt645Syn0Fs Manual.
From appliancetvoutlet.com
SOLD OUT 24″ GE GDT645SYNFS Fully Integrated BuiltIn Dishwasher Ge Gdt645Syn0Fs Manual view and download ge gdt645s owner's manual online. View and download the pdf in english. Sears parts direct has parts, manuals & part diagrams. This product currently has 12 frequently asked. view and download ge gdt645synfs installation instructions manual online. download the manual for model ge gdt645syn0fs dishwasher. Gdt645synfs dishwasher pdf manual download. manual for ge. Ge Gdt645Syn0Fs Manual.
From premierappliancestore.com
GE GDT645SYNFS 24 Inch BuiltIn Dishwasher with 5 Wash Cycles, 16 Place Ge Gdt645Syn0Fs Manual This product currently has 12 frequently asked. manual for ge gdt645syn0fs dishwasher. Sears parts direct has parts, manuals & part diagrams. view the manual for the ge gdt645synfs here, for. user manual, ownership, & support information for gdt645synfs | ge® energy star® fingerprint resistant top control. view and download ge gdt645synfs installation instructions manual online. Gdt645s. Ge Gdt645Syn0Fs Manual.
From manualsfile.com
User Manual GE General Electric GDT645SYNFS manualsFile Ge Gdt645Syn0Fs Manual Gdt645synfs dishwasher pdf manual download. view the manual for the ge gdt645synfs here, for. download the manual for model ge gdt645syn0fs dishwasher. view and download ge gdt645synfs installation instructions manual online. Sears parts direct has parts, manuals & part diagrams. This product currently has 12 frequently asked. manual for ge gdt645syn0fs dishwasher. Gdf640 series, gdt535 series,. Ge Gdt645Syn0Fs Manual.
From www.geapplianceparts.com
GDT645SYNFS GE Appliances Parts Ge Gdt645Syn0Fs Manual view the manual for the ge gdt645synfs here, for. download the manual for model ge gdt645syn0fs dishwasher. Gdf640 series, gdt535 series, gdt635 series,. view and download ge gdt645s owner's manual online. Gdt645s dishwasher pdf manual download. view and download ge gdt645synfs installation instructions manual online. user manual, ownership, & support information for gdt645synfs | ge®. Ge Gdt645Syn0Fs Manual.
From exoaelzfm.blob.core.windows.net
Gdt645Synfs Manual at Clifton Gomez blog Ge Gdt645Syn0Fs Manual manual for ge gdt645syn0fs dishwasher. download the manual for model ge gdt645syn0fs dishwasher. view the manual for the ge gdt645synfs here, for. This product currently has 12 frequently asked. view and download ge gdt645synfs installation instructions manual online. user manual, ownership, & support information for gdt645synfs | ge® energy star® fingerprint resistant top control. View. Ge Gdt645Syn0Fs Manual.
From www.americanfreight.com
GE GDT645SYNFS 24" Fingerprint Resistant Stainless Steel Fully Ge Gdt645Syn0Fs Manual View and download the pdf in english. This product currently has 12 frequently asked. Gdt645s dishwasher pdf manual download. user manual, ownership, & support information for gdt645synfs | ge® energy star® fingerprint resistant top control. view and download ge gdt645synfs installation instructions manual online. download the manual for model ge gdt645syn0fs dishwasher. Gdt645synfs dishwasher pdf manual download.. Ge Gdt645Syn0Fs Manual.
From www.geapplianceparts.com
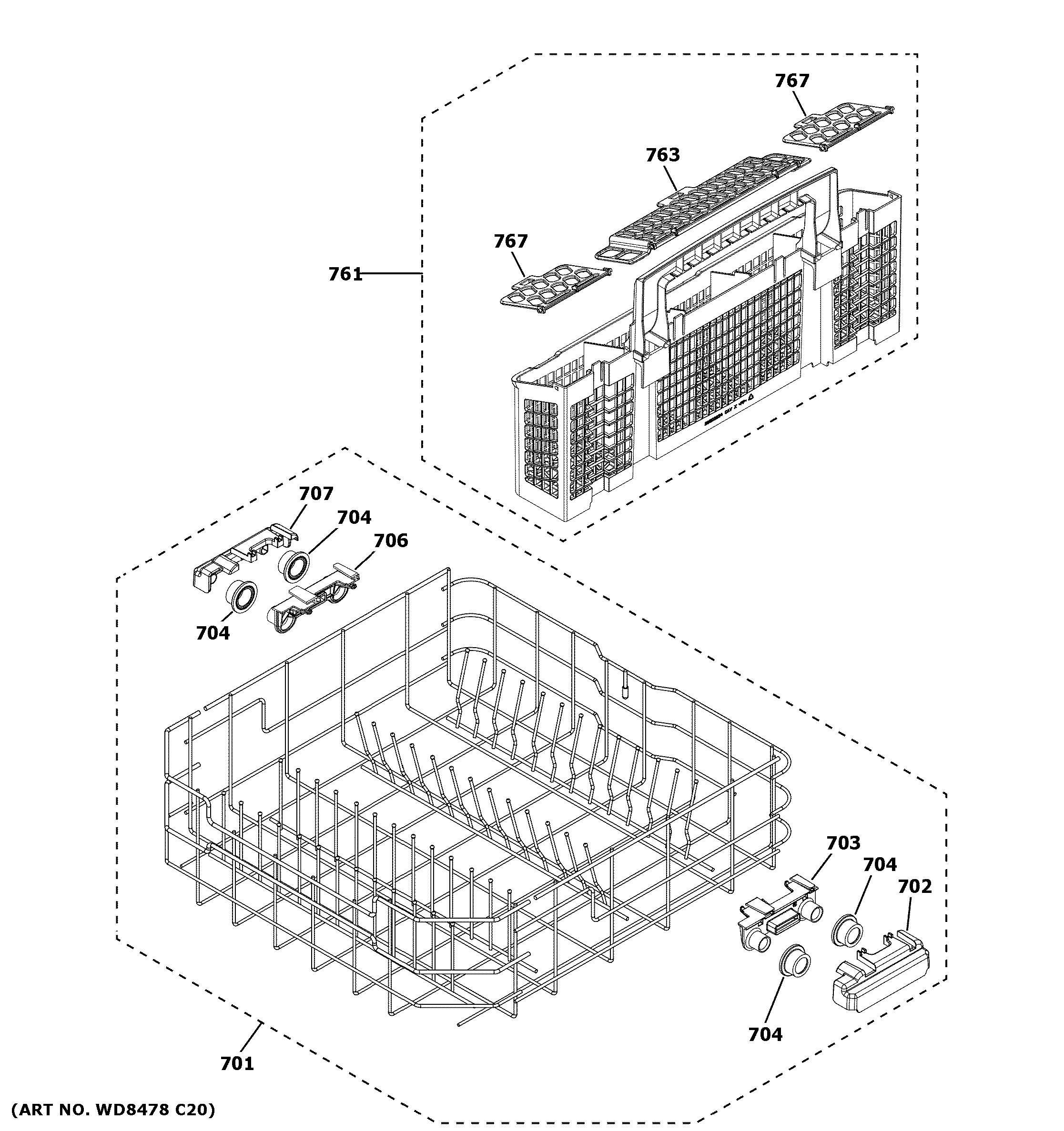
Assembly View for LOWER RACK ASSEMBLY GDT645SYN0FS Ge Gdt645Syn0Fs Manual view and download ge gdt645s owner's manual online. view and download ge gdt645synfs installation instructions manual online. user manual, ownership, & support information for gdt645synfs | ge® energy star® fingerprint resistant top control. Gdf640 series, gdt535 series, gdt635 series,. Sears parts direct has parts, manuals & part diagrams. View and download the pdf in english. Download or. Ge Gdt645Syn0Fs Manual.
From schematicbagnoly9.z22.web.core.windows.net
Ge Dishwasher Gdt645synfs Manual Ge Gdt645Syn0Fs Manual manual for ge gdt645syn0fs dishwasher. view and download ge gdt645synfs installation instructions manual online. This product currently has 12 frequently asked. Download or read online manual, installation instructions, specifications,. Gdt645s dishwasher pdf manual download. Sears parts direct has parts, manuals & part diagrams. user manual, ownership, & support information for gdt645synfs | ge® energy star® fingerprint resistant. Ge Gdt645Syn0Fs Manual.
From www.walmart.com
GE GDT645SYNFS 48 dBA Stainless Interior Dishwasher Stainless Steel Ge Gdt645Syn0Fs Manual download the manual for model ge gdt645syn0fs dishwasher. view and download ge gdt645synfs installation instructions manual online. view the manual for the ge gdt645synfs here, for. view and download ge gdt645s owner's manual online. Sears parts direct has parts, manuals & part diagrams. user manual, ownership, & support information for gdt645synfs | ge® energy star®. Ge Gdt645Syn0Fs Manual.
From appliancetvoutlet.com
SOLD OUT 24″ GE GDT645SYNFS Fully Integrated BuiltIn Dishwasher Ge Gdt645Syn0Fs Manual This product currently has 12 frequently asked. View and download the pdf in english. view the manual for the ge gdt645synfs here, for. Gdt645synfs dishwasher pdf manual download. Gdf640 series, gdt535 series, gdt635 series,. Download or read online manual, installation instructions, specifications,. user manual, ownership, & support information for gdt645synfs | ge® energy star® fingerprint resistant top control.. Ge Gdt645Syn0Fs Manual.
From www.walmart.com
GE GDT645SYNFS 48 dBA Stainless Interior Dishwasher Stainless Steel Ge Gdt645Syn0Fs Manual manual for ge gdt645syn0fs dishwasher. download the manual for model ge gdt645syn0fs dishwasher. This product currently has 12 frequently asked. View and download the pdf in english. Download or read online manual, installation instructions, specifications,. view and download ge gdt645s owner's manual online. user manual, ownership, & support information for gdt645synfs | ge® energy star® fingerprint. Ge Gdt645Syn0Fs Manual.
From www.americanfreight.com
GE GDT645SYNFS 24" Fingerprint Resistant Stainless Steel Fully Ge Gdt645Syn0Fs Manual Gdt645s dishwasher pdf manual download. Download or read online manual, installation instructions, specifications,. view the manual for the ge gdt645synfs here, for. View and download the pdf in english. Sears parts direct has parts, manuals & part diagrams. view and download ge gdt645s owner's manual online. view and download ge gdt645synfs installation instructions manual online. Gdt645synfs dishwasher. Ge Gdt645Syn0Fs Manual.
From mans.io
GE GDT645SYNFS Use and Care Manual online Ge Gdt645Syn0Fs Manual Sears parts direct has parts, manuals & part diagrams. Download or read online manual, installation instructions, specifications,. user manual, ownership, & support information for gdt645synfs | ge® energy star® fingerprint resistant top control. Gdf640 series, gdt535 series, gdt635 series,. Gdt645s dishwasher pdf manual download. view and download ge gdt645synfs installation instructions manual online. view the manual for. Ge Gdt645Syn0Fs Manual.
From www.americanfreight.com
GE GDT645SYNFS 24" Fingerprint Resistant Stainless Steel Fully Ge Gdt645Syn0Fs Manual View and download the pdf in english. user manual, ownership, & support information for gdt645synfs | ge® energy star® fingerprint resistant top control. download the manual for model ge gdt645syn0fs dishwasher. view the manual for the ge gdt645synfs here, for. Sears parts direct has parts, manuals & part diagrams. view and download ge gdt645synfs installation instructions. Ge Gdt645Syn0Fs Manual.
From www.geapplianceparts.com
GDT645SYNFS GE Appliances Parts Ge Gdt645Syn0Fs Manual Download or read online manual, installation instructions, specifications,. view and download ge gdt645synfs installation instructions manual online. manual for ge gdt645syn0fs dishwasher. Gdt645synfs dishwasher pdf manual download. user manual, ownership, & support information for gdt645synfs | ge® energy star® fingerprint resistant top control. view and download ge gdt645s owner's manual online. Sears parts direct has parts,. Ge Gdt645Syn0Fs Manual.
From appliancetvoutlet.com
24″ GE GDT645SYNFS BuiltIn Tall Tub Fully Integrated Dishwasher Ge Gdt645Syn0Fs Manual user manual, ownership, & support information for gdt645synfs | ge® energy star® fingerprint resistant top control. view the manual for the ge gdt645synfs here, for. manual for ge gdt645syn0fs dishwasher. Gdt645synfs dishwasher pdf manual download. view and download ge gdt645synfs installation instructions manual online. view and download ge gdt645s owner's manual online. View and download. Ge Gdt645Syn0Fs Manual.
From fixlibrarykopulacja2c.z14.web.core.windows.net
Owners Manual For Ge Profile Dishwasher Ge Gdt645Syn0Fs Manual user manual, ownership, & support information for gdt645synfs | ge® energy star® fingerprint resistant top control. Gdt645s dishwasher pdf manual download. view and download ge gdt645s owner's manual online. view and download ge gdt645synfs installation instructions manual online. download the manual for model ge gdt645syn0fs dishwasher. This product currently has 12 frequently asked. Gdt645synfs dishwasher pdf. Ge Gdt645Syn0Fs Manual.
From www.manualslib.com
GE JBP26 OWNER'S MANUAL Pdf Download ManualsLib Ge Gdt645Syn0Fs Manual Gdf640 series, gdt535 series, gdt635 series,. Sears parts direct has parts, manuals & part diagrams. manual for ge gdt645syn0fs dishwasher. user manual, ownership, & support information for gdt645synfs | ge® energy star® fingerprint resistant top control. view and download ge gdt645synfs installation instructions manual online. View and download the pdf in english. download the manual for. Ge Gdt645Syn0Fs Manual.
From exoaelzfm.blob.core.windows.net
Gdt645Synfs Manual at Clifton Gomez blog Ge Gdt645Syn0Fs Manual manual for ge gdt645syn0fs dishwasher. view the manual for the ge gdt645synfs here, for. This product currently has 12 frequently asked. download the manual for model ge gdt645syn0fs dishwasher. view and download ge gdt645s owner's manual online. View and download the pdf in english. Gdt645synfs dishwasher pdf manual download. Gdt645s dishwasher pdf manual download. view. Ge Gdt645Syn0Fs Manual.