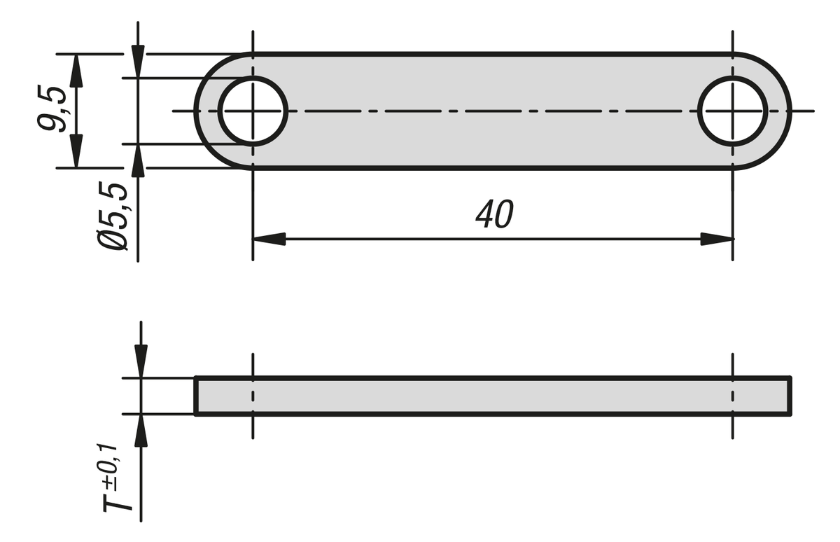
Slotted Hole Drawing . In this guide you’ll learn: In the next section, we will elaborate on the use of slots for overcoming the overconstraint problem through a sample part using geometric dimensioning and tolerancing principles defined by the asme. But at the present time, there are few scattered document. slotted holes are widely applied in mechanical design. Slot vs holes vs groove vs keyway. In this article we will see the. thus, the pin in the hole removes two translational degrees of freedom, while the one in the slot removes the final rotational degree of freedom. written by sachin thorat in machine design. take an actual mechanical structure designing for example, we introduce and analysis application ranges of some. This is a complete guide to the types of holes found in machining. a slot is really just an elongated hole, so first you'd need to know the hole diameter. iso 15786:2008 specifies rules for the simplified representation, dimensioning and tolerancing of holes, counterbores, internal. The different types of holes used in.
from www.electriduct.com
written by sachin thorat in machine design. a slot is really just an elongated hole, so first you'd need to know the hole diameter. Slot vs holes vs groove vs keyway. In this article we will see the. The different types of holes used in. In this guide you’ll learn: This is a complete guide to the types of holes found in machining. In the next section, we will elaborate on the use of slots for overcoming the overconstraint problem through a sample part using geometric dimensioning and tolerancing principles defined by the asme. iso 15786:2008 specifies rules for the simplified representation, dimensioning and tolerancing of holes, counterbores, internal. thus, the pin in the hole removes two translational degrees of freedom, while the one in the slot removes the final rotational degree of freedom.
304 Stainless Steel Slotted Hole Strut Channels 15/8" x 15/8", 15/
Slotted Hole Drawing thus, the pin in the hole removes two translational degrees of freedom, while the one in the slot removes the final rotational degree of freedom. But at the present time, there are few scattered document. The different types of holes used in. In this article we will see the. slotted holes are widely applied in mechanical design. In this guide you’ll learn: This is a complete guide to the types of holes found in machining. written by sachin thorat in machine design. In the next section, we will elaborate on the use of slots for overcoming the overconstraint problem through a sample part using geometric dimensioning and tolerancing principles defined by the asme. a slot is really just an elongated hole, so first you'd need to know the hole diameter. iso 15786:2008 specifies rules for the simplified representation, dimensioning and tolerancing of holes, counterbores, internal. Slot vs holes vs groove vs keyway. take an actual mechanical structure designing for example, we introduce and analysis application ranges of some. thus, the pin in the hole removes two translational degrees of freedom, while the one in the slot removes the final rotational degree of freedom.
From www.villageinframe.com
Slotted Hole Connection Detail A Pictures Of Hole 2018 Slotted Hole Drawing In the next section, we will elaborate on the use of slots for overcoming the overconstraint problem through a sample part using geometric dimensioning and tolerancing principles defined by the asme. In this article we will see the. The different types of holes used in. a slot is really just an elongated hole, so first you'd need to know. Slotted Hole Drawing.
From www.villageinframe.com
Dimensioning A Slotted Hole A Pictures Of Hole 2018 Slotted Hole Drawing take an actual mechanical structure designing for example, we introduce and analysis application ranges of some. a slot is really just an elongated hole, so first you'd need to know the hole diameter. In this article we will see the. In the next section, we will elaborate on the use of slots for overcoming the overconstraint problem through. Slotted Hole Drawing.
From asp.civilbay.com
AISC Steel Connection Design Software CISC S16 Steel Connection Design Slotted Hole Drawing But at the present time, there are few scattered document. a slot is really just an elongated hole, so first you'd need to know the hole diameter. take an actual mechanical structure designing for example, we introduce and analysis application ranges of some. This is a complete guide to the types of holes found in machining. In the. Slotted Hole Drawing.
From www.unipunch.com
Keyholes Punching Systems UniPunch Slotted Hole Drawing take an actual mechanical structure designing for example, we introduce and analysis application ranges of some. slotted holes are widely applied in mechanical design. thus, the pin in the hole removes two translational degrees of freedom, while the one in the slot removes the final rotational degree of freedom. In the next section, we will elaborate on. Slotted Hole Drawing.
From www.alibaba.com
Slotted Hole Stainless Steel Perforated Mesh Sheets Buy Slotted Hole Slotted Hole Drawing In this guide you’ll learn: In this article we will see the. In the next section, we will elaborate on the use of slots for overcoming the overconstraint problem through a sample part using geometric dimensioning and tolerancing principles defined by the asme. The different types of holes used in. slotted holes are widely applied in mechanical design. . Slotted Hole Drawing.
From www.ame.com
Single Bar Jack Screw Tapped Hole Advanced Machine & Engineering Co. Slotted Hole Drawing In this guide you’ll learn: take an actual mechanical structure designing for example, we introduce and analysis application ranges of some. iso 15786:2008 specifies rules for the simplified representation, dimensioning and tolerancing of holes, counterbores, internal. thus, the pin in the hole removes two translational degrees of freedom, while the one in the slot removes the final. Slotted Hole Drawing.
From mavink.com
Standard Hole Sizes Slotted Hole Drawing But at the present time, there are few scattered document. a slot is really just an elongated hole, so first you'd need to know the hole diameter. In the next section, we will elaborate on the use of slots for overcoming the overconstraint problem through a sample part using geometric dimensioning and tolerancing principles defined by the asme. . Slotted Hole Drawing.
From en-mx.misumi-ec.com
Strut Clamps Slotted Holes, LShaped MISUMI MISUMI MEXICO Slotted Hole Drawing But at the present time, there are few scattered document. In this article we will see the. The different types of holes used in. In this guide you’ll learn: take an actual mechanical structure designing for example, we introduce and analysis application ranges of some. In the next section, we will elaborate on the use of slots for overcoming. Slotted Hole Drawing.
From moodpromo.mystrikingly.com
Solidworks Counterbore Slot Rotate Slotted Hole Drawing The different types of holes used in. take an actual mechanical structure designing for example, we introduce and analysis application ranges of some. thus, the pin in the hole removes two translational degrees of freedom, while the one in the slot removes the final rotational degree of freedom. In the next section, we will elaborate on the use. Slotted Hole Drawing.
From www.villageinframe.com
Dimensioning A Slotted Hole A Pictures Of Hole 2018 Slotted Hole Drawing thus, the pin in the hole removes two translational degrees of freedom, while the one in the slot removes the final rotational degree of freedom. slotted holes are widely applied in mechanical design. take an actual mechanical structure designing for example, we introduce and analysis application ranges of some. In this guide you’ll learn: Slot vs holes. Slotted Hole Drawing.
From hxeemwmqa.blob.core.windows.net
Milling Slotted Hole at Vaughn McBride blog Slotted Hole Drawing In this article we will see the. a slot is really just an elongated hole, so first you'd need to know the hole diameter. Slot vs holes vs groove vs keyway. In this guide you’ll learn: This is a complete guide to the types of holes found in machining. thus, the pin in the hole removes two translational. Slotted Hole Drawing.
From asp.civilbay.com
AISC Steel Connection Design Software CISC S16 Steel Connection Design Slotted Hole Drawing But at the present time, there are few scattered document. slotted holes are widely applied in mechanical design. thus, the pin in the hole removes two translational degrees of freedom, while the one in the slot removes the final rotational degree of freedom. The different types of holes used in. written by sachin thorat in machine design.. Slotted Hole Drawing.
From www.villageinframe.com
Slotted Hole Connection Detail A Pictures Of Hole 2018 Slotted Hole Drawing iso 15786:2008 specifies rules for the simplified representation, dimensioning and tolerancing of holes, counterbores, internal. The different types of holes used in. In the next section, we will elaborate on the use of slots for overcoming the overconstraint problem through a sample part using geometric dimensioning and tolerancing principles defined by the asme. But at the present time, there. Slotted Hole Drawing.
From leaseigenshinraku.com
How to put bolts holes in steel beam Slotted Hole Drawing written by sachin thorat in machine design. a slot is really just an elongated hole, so first you'd need to know the hole diameter. Slot vs holes vs groove vs keyway. In the next section, we will elaborate on the use of slots for overcoming the overconstraint problem through a sample part using geometric dimensioning and tolerancing principles. Slotted Hole Drawing.
From www.youtube.com
Quick Tip 5 Ways to Create Slots in a Sketch YouTube Slotted Hole Drawing In the next section, we will elaborate on the use of slots for overcoming the overconstraint problem through a sample part using geometric dimensioning and tolerancing principles defined by the asme. The different types of holes used in. iso 15786:2008 specifies rules for the simplified representation, dimensioning and tolerancing of holes, counterbores, internal. written by sachin thorat in. Slotted Hole Drawing.
From learnmech.com
Difference Between Slot, Holes ,Groove, Keyway Basic Of Mechanical Slotted Hole Drawing thus, the pin in the hole removes two translational degrees of freedom, while the one in the slot removes the final rotational degree of freedom. slotted holes are widely applied in mechanical design. But at the present time, there are few scattered document. The different types of holes used in. Slot vs holes vs groove vs keyway. In. Slotted Hole Drawing.
From www.xebec-tech.com
Type I and J Slotted Hole Perpendicular with Cross Hole Axis (On Slotted Hole Drawing But at the present time, there are few scattered document. Slot vs holes vs groove vs keyway. The different types of holes used in. thus, the pin in the hole removes two translational degrees of freedom, while the one in the slot removes the final rotational degree of freedom. a slot is really just an elongated hole, so. Slotted Hole Drawing.
From slottriple461.weebly.com
Solidworks Drawing Dimension Slot Length Slotted Hole Drawing written by sachin thorat in machine design. The different types of holes used in. This is a complete guide to the types of holes found in machining. Slot vs holes vs groove vs keyway. In the next section, we will elaborate on the use of slots for overcoming the overconstraint problem through a sample part using geometric dimensioning and. Slotted Hole Drawing.
From lastroulette.mystrikingly.com
T Slot Size Standard Slotted Hole Drawing But at the present time, there are few scattered document. In this guide you’ll learn: thus, the pin in the hole removes two translational degrees of freedom, while the one in the slot removes the final rotational degree of freedom. This is a complete guide to the types of holes found in machining. slotted holes are widely applied. Slotted Hole Drawing.
From www.cati.com
Slots in SolidWorks Computer Aided Technology Slotted Hole Drawing In this article we will see the. In the next section, we will elaborate on the use of slots for overcoming the overconstraint problem through a sample part using geometric dimensioning and tolerancing principles defined by the asme. Slot vs holes vs groove vs keyway. iso 15786:2008 specifies rules for the simplified representation, dimensioning and tolerancing of holes, counterbores,. Slotted Hole Drawing.
From www.eng-tips.com
Slotted tube Connection_brace Structural engineering general Slotted Hole Drawing The different types of holes used in. But at the present time, there are few scattered document. thus, the pin in the hole removes two translational degrees of freedom, while the one in the slot removes the final rotational degree of freedom. a slot is really just an elongated hole, so first you'd need to know the hole. Slotted Hole Drawing.
From www.reddit.com
Question about hole callout on slot r/SolidWorks Slotted Hole Drawing slotted holes are widely applied in mechanical design. written by sachin thorat in machine design. In this guide you’ll learn: In the next section, we will elaborate on the use of slots for overcoming the overconstraint problem through a sample part using geometric dimensioning and tolerancing principles defined by the asme. In this article we will see the.. Slotted Hole Drawing.
From www.theengineeringcommunity.org
Drainage Manhole Detail Autocad Drawing Slotted Hole Drawing Slot vs holes vs groove vs keyway. In this guide you’ll learn: take an actual mechanical structure designing for example, we introduce and analysis application ranges of some. But at the present time, there are few scattered document. In the next section, we will elaborate on the use of slots for overcoming the overconstraint problem through a sample part. Slotted Hole Drawing.
From forums.autodesk.com
Drawing for multiple slots Autodesk Community Slotted Hole Drawing In this article we will see the. This is a complete guide to the types of holes found in machining. written by sachin thorat in machine design. The different types of holes used in. But at the present time, there are few scattered document. a slot is really just an elongated hole, so first you'd need to know. Slotted Hole Drawing.
From www.softdraft.com
Slotted Holes Software Plugins For CAD Slotted Hole Drawing Slot vs holes vs groove vs keyway. thus, the pin in the hole removes two translational degrees of freedom, while the one in the slot removes the final rotational degree of freedom. This is a complete guide to the types of holes found in machining. In this guide you’ll learn: In this article we will see the. written. Slotted Hole Drawing.
From mungfali.com
GDT Drawing Slotted Hole Drawing In the next section, we will elaborate on the use of slots for overcoming the overconstraint problem through a sample part using geometric dimensioning and tolerancing principles defined by the asme. thus, the pin in the hole removes two translational degrees of freedom, while the one in the slot removes the final rotational degree of freedom. The different types. Slotted Hole Drawing.
From in.misumi-ec.com
Stainless Steel Hinges With Slotted Holes MISUMI MISUMI India Slotted Hole Drawing iso 15786:2008 specifies rules for the simplified representation, dimensioning and tolerancing of holes, counterbores, internal. In the next section, we will elaborate on the use of slots for overcoming the overconstraint problem through a sample part using geometric dimensioning and tolerancing principles defined by the asme. take an actual mechanical structure designing for example, we introduce and analysis. Slotted Hole Drawing.
From www.villageinframe.com
Slotted Hole Connection Detail A Pictures Of Hole 2018 Slotted Hole Drawing take an actual mechanical structure designing for example, we introduce and analysis application ranges of some. written by sachin thorat in machine design. The different types of holes used in. thus, the pin in the hole removes two translational degrees of freedom, while the one in the slot removes the final rotational degree of freedom. a. Slotted Hole Drawing.
From www.kippusa.com
KIPP Shim plates for sliding clamps for slotted hole Slotted Hole Drawing But at the present time, there are few scattered document. a slot is really just an elongated hole, so first you'd need to know the hole diameter. In this article we will see the. written by sachin thorat in machine design. The different types of holes used in. Slot vs holes vs groove vs keyway. take an. Slotted Hole Drawing.
From www.autodesk.com
Steel Connections for Revit Slotted hole issue Slotted Hole Drawing In this article we will see the. written by sachin thorat in machine design. But at the present time, there are few scattered document. Slot vs holes vs groove vs keyway. This is a complete guide to the types of holes found in machining. iso 15786:2008 specifies rules for the simplified representation, dimensioning and tolerancing of holes, counterbores,. Slotted Hole Drawing.
From www.villageinframe.com
Dimensioning A Slotted Hole A Pictures Of Hole 2018 Slotted Hole Drawing This is a complete guide to the types of holes found in machining. take an actual mechanical structure designing for example, we introduce and analysis application ranges of some. slotted holes are widely applied in mechanical design. thus, the pin in the hole removes two translational degrees of freedom, while the one in the slot removes the. Slotted Hole Drawing.
From www.villageinframe.com
Dimensioning A Slotted Hole A Pictures Of Hole 2018 Slotted Hole Drawing a slot is really just an elongated hole, so first you'd need to know the hole diameter. This is a complete guide to the types of holes found in machining. In this article we will see the. The different types of holes used in. written by sachin thorat in machine design. iso 15786:2008 specifies rules for the. Slotted Hole Drawing.
From www.villageinframe.com
Dimensioning A Slotted Hole A Pictures Of Hole 2018 Slotted Hole Drawing Slot vs holes vs groove vs keyway. written by sachin thorat in machine design. a slot is really just an elongated hole, so first you'd need to know the hole diameter. take an actual mechanical structure designing for example, we introduce and analysis application ranges of some. thus, the pin in the hole removes two translational. Slotted Hole Drawing.
From www.chegg.com
Solved Create the Slot Plate below in Solidworks. All Slotted Hole Drawing In the next section, we will elaborate on the use of slots for overcoming the overconstraint problem through a sample part using geometric dimensioning and tolerancing principles defined by the asme. a slot is really just an elongated hole, so first you'd need to know the hole diameter. thus, the pin in the hole removes two translational degrees. Slotted Hole Drawing.
From www.electriduct.com
304 Stainless Steel Slotted Hole Strut Channels 15/8" x 15/8", 15/ Slotted Hole Drawing This is a complete guide to the types of holes found in machining. thus, the pin in the hole removes two translational degrees of freedom, while the one in the slot removes the final rotational degree of freedom. slotted holes are widely applied in mechanical design. written by sachin thorat in machine design. The different types of. Slotted Hole Drawing.