Sleeve Bearing Classification . Two common designs of sleeve bearings are flanged and cylindrical bearings. They have a high load. Simply, sleeve bearings facilitate motion between two components, reduce friction and absorb vibration. These are the simplest and lowest cost, commonly closely conforming to the shape of their mating shaft or. In this paper we present a diagnosis and a classification methodologies applied to different kind of sleeve bearing damages. What is the purpose of a sleeve bearing? “the classification of bearing failure established in this international standard is based primarily upon the features visible on rolling element. Flanged sleeve bearings consist of a protruding flange at one end of the sleeve that provides a. This document specifies the most commonly used terms relating to design, bearing materials and their properties of plain bearings with their.
from www.themetalchic.com
They have a high load. “the classification of bearing failure established in this international standard is based primarily upon the features visible on rolling element. Two common designs of sleeve bearings are flanged and cylindrical bearings. What is the purpose of a sleeve bearing? Simply, sleeve bearings facilitate motion between two components, reduce friction and absorb vibration. These are the simplest and lowest cost, commonly closely conforming to the shape of their mating shaft or. In this paper we present a diagnosis and a classification methodologies applied to different kind of sleeve bearing damages. Flanged sleeve bearings consist of a protruding flange at one end of the sleeve that provides a. This document specifies the most commonly used terms relating to design, bearing materials and their properties of plain bearings with their.
Metalchic Atlas Bronze Understanding Sleeve Bearings
Sleeve Bearing Classification In this paper we present a diagnosis and a classification methodologies applied to different kind of sleeve bearing damages. This document specifies the most commonly used terms relating to design, bearing materials and their properties of plain bearings with their. What is the purpose of a sleeve bearing? Simply, sleeve bearings facilitate motion between two components, reduce friction and absorb vibration. Two common designs of sleeve bearings are flanged and cylindrical bearings. They have a high load. “the classification of bearing failure established in this international standard is based primarily upon the features visible on rolling element. These are the simplest and lowest cost, commonly closely conforming to the shape of their mating shaft or. Flanged sleeve bearings consist of a protruding flange at one end of the sleeve that provides a. In this paper we present a diagnosis and a classification methodologies applied to different kind of sleeve bearing damages.
From www.themetalchic.com
Metalchic Atlas Bronze Understanding Sleeve Bearings Sleeve Bearing Classification “the classification of bearing failure established in this international standard is based primarily upon the features visible on rolling element. In this paper we present a diagnosis and a classification methodologies applied to different kind of sleeve bearing damages. What is the purpose of a sleeve bearing? Simply, sleeve bearings facilitate motion between two components, reduce friction and absorb vibration.. Sleeve Bearing Classification.
From iskbearing.com
Bearing Sleeve Types Uses, Materials and Selection Guide ISK BEARINGS Sleeve Bearing Classification Two common designs of sleeve bearings are flanged and cylindrical bearings. Flanged sleeve bearings consist of a protruding flange at one end of the sleeve that provides a. These are the simplest and lowest cost, commonly closely conforming to the shape of their mating shaft or. Simply, sleeve bearings facilitate motion between two components, reduce friction and absorb vibration. They. Sleeve Bearing Classification.
From kapent.com
How to Determine Bearing Shaft and Housing Fit The Bearing People Sleeve Bearing Classification In this paper we present a diagnosis and a classification methodologies applied to different kind of sleeve bearing damages. These are the simplest and lowest cost, commonly closely conforming to the shape of their mating shaft or. They have a high load. Flanged sleeve bearings consist of a protruding flange at one end of the sleeve that provides a. “the. Sleeve Bearing Classification.
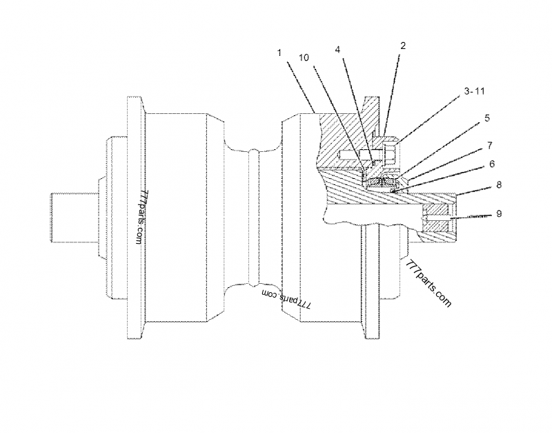
From 777parts.com
9W9844 BEARINGSLEEVE Caterpillar spare part Sleeve Bearing Classification These are the simplest and lowest cost, commonly closely conforming to the shape of their mating shaft or. In this paper we present a diagnosis and a classification methodologies applied to different kind of sleeve bearing damages. Two common designs of sleeve bearings are flanged and cylindrical bearings. Flanged sleeve bearings consist of a protruding flange at one end of. Sleeve Bearing Classification.
From engineeringlearner.com
Types of Bearings Engineering Learner Sleeve Bearing Classification In this paper we present a diagnosis and a classification methodologies applied to different kind of sleeve bearing damages. What is the purpose of a sleeve bearing? Two common designs of sleeve bearings are flanged and cylindrical bearings. These are the simplest and lowest cost, commonly closely conforming to the shape of their mating shaft or. Flanged sleeve bearings consist. Sleeve Bearing Classification.
From electricalfundablog.com
How to Identify Bearings by Bearing Number Calculation and Nomenclature Sleeve Bearing Classification This document specifies the most commonly used terms relating to design, bearing materials and their properties of plain bearings with their. Two common designs of sleeve bearings are flanged and cylindrical bearings. These are the simplest and lowest cost, commonly closely conforming to the shape of their mating shaft or. In this paper we present a diagnosis and a classification. Sleeve Bearing Classification.
From www.youtube.com
Sleeve Bearing Part 3 YouTube Sleeve Bearing Classification “the classification of bearing failure established in this international standard is based primarily upon the features visible on rolling element. This document specifies the most commonly used terms relating to design, bearing materials and their properties of plain bearings with their. Flanged sleeve bearings consist of a protruding flange at one end of the sleeve that provides a. They have. Sleeve Bearing Classification.
From issuu.com
What is Babbitt Bearing Types, Characteristics & Applications by Sleeve Bearing Classification Two common designs of sleeve bearings are flanged and cylindrical bearings. Simply, sleeve bearings facilitate motion between two components, reduce friction and absorb vibration. These are the simplest and lowest cost, commonly closely conforming to the shape of their mating shaft or. In this paper we present a diagnosis and a classification methodologies applied to different kind of sleeve bearing. Sleeve Bearing Classification.
From lilyroseya.blogspot.com
LilyRoseYa Sleeve Bearing Classification These are the simplest and lowest cost, commonly closely conforming to the shape of their mating shaft or. Flanged sleeve bearings consist of a protruding flange at one end of the sleeve that provides a. They have a high load. “the classification of bearing failure established in this international standard is based primarily upon the features visible on rolling element.. Sleeve Bearing Classification.
From atlashydraulic.com
Sleeve Bearing Vs Hydraulic Bearing [Lifespan, Cost, Maintenance] Sleeve Bearing Classification This document specifies the most commonly used terms relating to design, bearing materials and their properties of plain bearings with their. In this paper we present a diagnosis and a classification methodologies applied to different kind of sleeve bearing damages. “the classification of bearing failure established in this international standard is based primarily upon the features visible on rolling element.. Sleeve Bearing Classification.
From www.lily-bearing.com
8649T5 Common Mounted Linear Sleeve Bearings LILY Bearing Sleeve Bearing Classification They have a high load. These are the simplest and lowest cost, commonly closely conforming to the shape of their mating shaft or. “the classification of bearing failure established in this international standard is based primarily upon the features visible on rolling element. What is the purpose of a sleeve bearing? Two common designs of sleeve bearings are flanged and. Sleeve Bearing Classification.
From ar.inspiredpencil.com
Ball Bearing Sleeves Sleeve Bearing Classification These are the simplest and lowest cost, commonly closely conforming to the shape of their mating shaft or. “the classification of bearing failure established in this international standard is based primarily upon the features visible on rolling element. Simply, sleeve bearings facilitate motion between two components, reduce friction and absorb vibration. Two common designs of sleeve bearings are flanged and. Sleeve Bearing Classification.
From medias.schaeffler.cn
Split spherical roller bearings Schaeffler medias Sleeve Bearing Classification Simply, sleeve bearings facilitate motion between two components, reduce friction and absorb vibration. In this paper we present a diagnosis and a classification methodologies applied to different kind of sleeve bearing damages. They have a high load. What is the purpose of a sleeve bearing? This document specifies the most commonly used terms relating to design, bearing materials and their. Sleeve Bearing Classification.
From coolingfans.blog
Which is Right For You? Ball Bearings vs. Sleeve Bearings Cooling Fan Sleeve Bearing Classification They have a high load. In this paper we present a diagnosis and a classification methodologies applied to different kind of sleeve bearing damages. These are the simplest and lowest cost, commonly closely conforming to the shape of their mating shaft or. What is the purpose of a sleeve bearing? This document specifies the most commonly used terms relating to. Sleeve Bearing Classification.
From iskbearing.com
Sleeve Bushing vs Bearing:What Difference Between Them ISK BEARINGS Sleeve Bearing Classification These are the simplest and lowest cost, commonly closely conforming to the shape of their mating shaft or. Simply, sleeve bearings facilitate motion between two components, reduce friction and absorb vibration. This document specifies the most commonly used terms relating to design, bearing materials and their properties of plain bearings with their. Two common designs of sleeve bearings are flanged. Sleeve Bearing Classification.
From medias.schaeffler.es
Design of bearing arrangements Schaeffler medias Sleeve Bearing Classification They have a high load. This document specifies the most commonly used terms relating to design, bearing materials and their properties of plain bearings with their. “the classification of bearing failure established in this international standard is based primarily upon the features visible on rolling element. In this paper we present a diagnosis and a classification methodologies applied to different. Sleeve Bearing Classification.
From www.youtube.com
Types of Bearings Different Types of Bearings YouTube Sleeve Bearing Classification These are the simplest and lowest cost, commonly closely conforming to the shape of their mating shaft or. This document specifies the most commonly used terms relating to design, bearing materials and their properties of plain bearings with their. In this paper we present a diagnosis and a classification methodologies applied to different kind of sleeve bearing damages. What is. Sleeve Bearing Classification.
From www.alibaba.com
Customized Bearing Steel Inner Sleeve Bushing Stainless Steel Sleeve Sleeve Bearing Classification In this paper we present a diagnosis and a classification methodologies applied to different kind of sleeve bearing damages. Flanged sleeve bearings consist of a protruding flange at one end of the sleeve that provides a. Two common designs of sleeve bearings are flanged and cylindrical bearings. Simply, sleeve bearings facilitate motion between two components, reduce friction and absorb vibration.. Sleeve Bearing Classification.
From www.lily-bearing.com
7119N138 HighLoad UltraLowFriction OilEmbedded Flanged Sleeve Sleeve Bearing Classification Two common designs of sleeve bearings are flanged and cylindrical bearings. This document specifies the most commonly used terms relating to design, bearing materials and their properties of plain bearings with their. Simply, sleeve bearings facilitate motion between two components, reduce friction and absorb vibration. They have a high load. What is the purpose of a sleeve bearing? In this. Sleeve Bearing Classification.
From iskbearing.com
What is a Sleeve Bearing? A Comprehensive Guide ISK BEARINGS Sleeve Bearing Classification They have a high load. Two common designs of sleeve bearings are flanged and cylindrical bearings. In this paper we present a diagnosis and a classification methodologies applied to different kind of sleeve bearing damages. These are the simplest and lowest cost, commonly closely conforming to the shape of their mating shaft or. Flanged sleeve bearings consist of a protruding. Sleeve Bearing Classification.
From medium.com
What Is a Sleeve Bearing?. The sleeve bearing is a component for… by Sleeve Bearing Classification “the classification of bearing failure established in this international standard is based primarily upon the features visible on rolling element. What is the purpose of a sleeve bearing? Flanged sleeve bearings consist of a protruding flange at one end of the sleeve that provides a. In this paper we present a diagnosis and a classification methodologies applied to different kind. Sleeve Bearing Classification.
From www.nskbearingcatalogue.com
What is the difference between an adapter sleeve bearing and a Sleeve Bearing Classification Flanged sleeve bearings consist of a protruding flange at one end of the sleeve that provides a. What is the purpose of a sleeve bearing? In this paper we present a diagnosis and a classification methodologies applied to different kind of sleeve bearing damages. These are the simplest and lowest cost, commonly closely conforming to the shape of their mating. Sleeve Bearing Classification.
From www.lily-bearing.com
91786A618 Multipurpose Flanged Sleeve Bearings with Certification Sleeve Bearing Classification Flanged sleeve bearings consist of a protruding flange at one end of the sleeve that provides a. “the classification of bearing failure established in this international standard is based primarily upon the features visible on rolling element. What is the purpose of a sleeve bearing? These are the simplest and lowest cost, commonly closely conforming to the shape of their. Sleeve Bearing Classification.
From keysermanufacturing.com
Bearing Sleeve 5.5 Button Keyser Manufacturing Sleeve Bearing Classification Two common designs of sleeve bearings are flanged and cylindrical bearings. This document specifies the most commonly used terms relating to design, bearing materials and their properties of plain bearings with their. They have a high load. “the classification of bearing failure established in this international standard is based primarily upon the features visible on rolling element. Simply, sleeve bearings. Sleeve Bearing Classification.
From www.reddit.com
Different types of bearings. r/coolguides Sleeve Bearing Classification They have a high load. Flanged sleeve bearings consist of a protruding flange at one end of the sleeve that provides a. What is the purpose of a sleeve bearing? Two common designs of sleeve bearings are flanged and cylindrical bearings. “the classification of bearing failure established in this international standard is based primarily upon the features visible on rolling. Sleeve Bearing Classification.
From www.lily-bearing.com
5986K682 Common Linear Sleeve Bearings LILY Bearing Sleeve Bearing Classification “the classification of bearing failure established in this international standard is based primarily upon the features visible on rolling element. They have a high load. What is the purpose of a sleeve bearing? Simply, sleeve bearings facilitate motion between two components, reduce friction and absorb vibration. This document specifies the most commonly used terms relating to design, bearing materials and. Sleeve Bearing Classification.
From eureka.patsnap.com
Sleeve bearing system Eureka Patsnap develop intelligence library Sleeve Bearing Classification In this paper we present a diagnosis and a classification methodologies applied to different kind of sleeve bearing damages. What is the purpose of a sleeve bearing? “the classification of bearing failure established in this international standard is based primarily upon the features visible on rolling element. They have a high load. Flanged sleeve bearings consist of a protruding flange. Sleeve Bearing Classification.
From myemail.constantcontact.com
Which Is Right For You? Ball Bearings vs. Sleeve Bearings Sleeve Bearing Classification In this paper we present a diagnosis and a classification methodologies applied to different kind of sleeve bearing damages. “the classification of bearing failure established in this international standard is based primarily upon the features visible on rolling element. They have a high load. Flanged sleeve bearings consist of a protruding flange at one end of the sleeve that provides. Sleeve Bearing Classification.
From www.lily-bearing.com
91786A609 Multipurpose Flanged Sleeve Bearings with Certification Sleeve Bearing Classification What is the purpose of a sleeve bearing? These are the simplest and lowest cost, commonly closely conforming to the shape of their mating shaft or. “the classification of bearing failure established in this international standard is based primarily upon the features visible on rolling element. Two common designs of sleeve bearings are flanged and cylindrical bearings. Flanged sleeve bearings. Sleeve Bearing Classification.
From iskbearing.com
Sleeve Bearing vs Bushing What Difference Between Them ISK BEARINGS Sleeve Bearing Classification They have a high load. What is the purpose of a sleeve bearing? This document specifies the most commonly used terms relating to design, bearing materials and their properties of plain bearings with their. Two common designs of sleeve bearings are flanged and cylindrical bearings. These are the simplest and lowest cost, commonly closely conforming to the shape of their. Sleeve Bearing Classification.
From www.lily-bearing.com
2934T134 CorrosionResistant Flanged Sleeve Bearings Lily Bearing Sleeve Bearing Classification In this paper we present a diagnosis and a classification methodologies applied to different kind of sleeve bearing damages. They have a high load. This document specifies the most commonly used terms relating to design, bearing materials and their properties of plain bearings with their. These are the simplest and lowest cost, commonly closely conforming to the shape of their. Sleeve Bearing Classification.
From www.bearingface.com
Bearing Sleeve Types Flange, Cylinder, Tapered, and More Sleeve Bearing Classification In this paper we present a diagnosis and a classification methodologies applied to different kind of sleeve bearing damages. Flanged sleeve bearings consist of a protruding flange at one end of the sleeve that provides a. This document specifies the most commonly used terms relating to design, bearing materials and their properties of plain bearings with their. “the classification of. Sleeve Bearing Classification.
From www.ctconline.com
Rolling Element Bearings vs. Sleeve (Journal) Bearings CTC Sleeve Bearing Classification These are the simplest and lowest cost, commonly closely conforming to the shape of their mating shaft or. This document specifies the most commonly used terms relating to design, bearing materials and their properties of plain bearings with their. They have a high load. Simply, sleeve bearings facilitate motion between two components, reduce friction and absorb vibration. “the classification of. Sleeve Bearing Classification.
From www.pinterest.com
ROLLER BEARING TYPES Engineering tools, Mechanical engineering Sleeve Bearing Classification This document specifies the most commonly used terms relating to design, bearing materials and their properties of plain bearings with their. They have a high load. These are the simplest and lowest cost, commonly closely conforming to the shape of their mating shaft or. Two common designs of sleeve bearings are flanged and cylindrical bearings. What is the purpose of. Sleeve Bearing Classification.
From www.slideshare.net
1.1 bearing types and appl. guidelines Sleeve Bearing Classification These are the simplest and lowest cost, commonly closely conforming to the shape of their mating shaft or. They have a high load. Two common designs of sleeve bearings are flanged and cylindrical bearings. “the classification of bearing failure established in this international standard is based primarily upon the features visible on rolling element. Flanged sleeve bearings consist of a. Sleeve Bearing Classification.