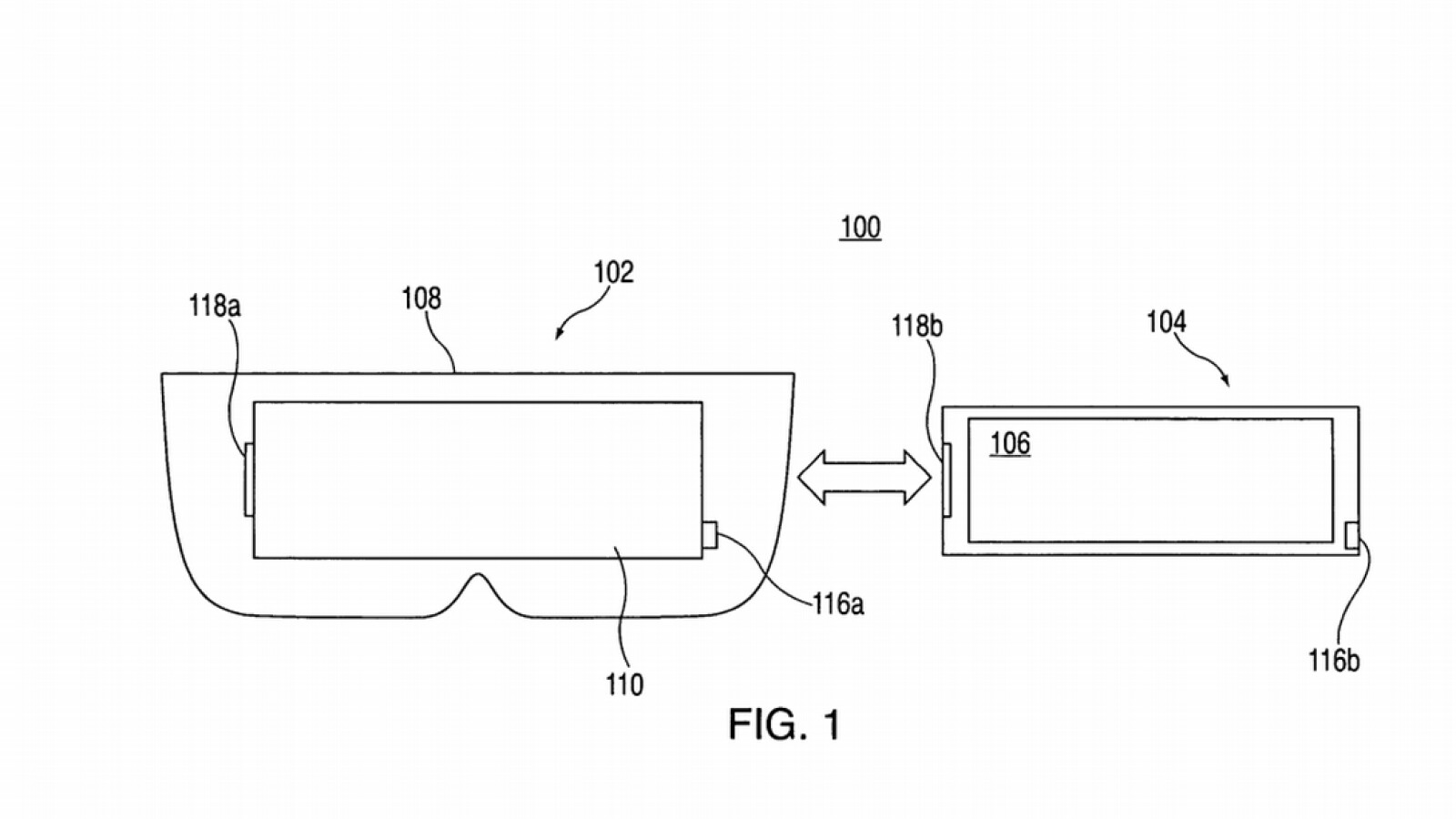
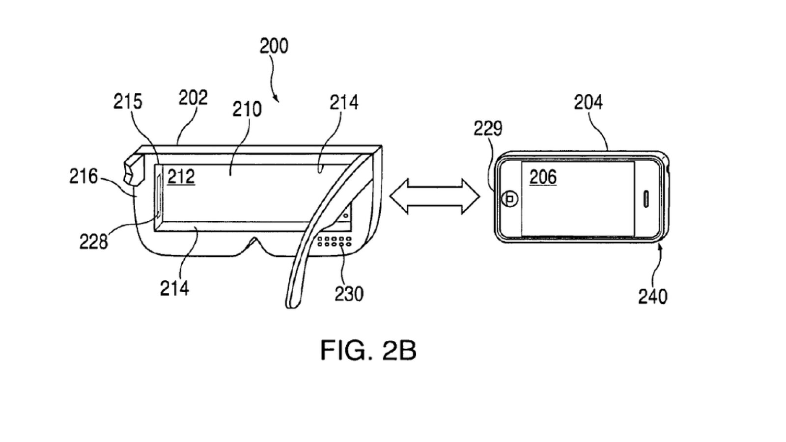
Apple Virtual Reality Patent . Apple has had a busy july filing patents on virtual reality technology, three obvious applications showing up in the u.s. Patent & trademark office, and those are only the three most. Apple’s reality pro headset could use a clever system to handle immersive video and save on battery life at the same time, a newly granted patent reveals. In the workplace, apple is reportedly planning to include immersive videoconferencing in mixed reality, where users will be able to have realistic avatars in virtual meeting rooms; The system involves a keyboard being paired. The patent application sets out how documents can be edited in a virtual 3d space.
from www.smh.com.au
The system involves a keyboard being paired. Patent & trademark office, and those are only the three most. Apple’s reality pro headset could use a clever system to handle immersive video and save on battery life at the same time, a newly granted patent reveals. Apple has had a busy july filing patents on virtual reality technology, three obvious applications showing up in the u.s. In the workplace, apple is reportedly planning to include immersive videoconferencing in mixed reality, where users will be able to have realistic avatars in virtual meeting rooms; The patent application sets out how documents can be edited in a virtual 3d space.
Apple wins patent for virtual reality headset powered by iPhone
Apple Virtual Reality Patent Apple’s reality pro headset could use a clever system to handle immersive video and save on battery life at the same time, a newly granted patent reveals. The patent application sets out how documents can be edited in a virtual 3d space. Apple has had a busy july filing patents on virtual reality technology, three obvious applications showing up in the u.s. Apple’s reality pro headset could use a clever system to handle immersive video and save on battery life at the same time, a newly granted patent reveals. The system involves a keyboard being paired. In the workplace, apple is reportedly planning to include immersive videoconferencing in mixed reality, where users will be able to have realistic avatars in virtual meeting rooms; Patent & trademark office, and those are only the three most.
From www.independent.co.uk
Apple could be working on virtual reality projector, patents show The Apple Virtual Reality Patent Apple has had a busy july filing patents on virtual reality technology, three obvious applications showing up in the u.s. Apple’s reality pro headset could use a clever system to handle immersive video and save on battery life at the same time, a newly granted patent reveals. In the workplace, apple is reportedly planning to include immersive videoconferencing in mixed. Apple Virtual Reality Patent.
From www.reddit.com
apple vr patent r/virtualreality Apple Virtual Reality Patent In the workplace, apple is reportedly planning to include immersive videoconferencing in mixed reality, where users will be able to have realistic avatars in virtual meeting rooms; The patent application sets out how documents can be edited in a virtual 3d space. Patent & trademark office, and those are only the three most. The system involves a keyboard being paired.. Apple Virtual Reality Patent.
From www.technews24h.com
Introducing Apple Vision Pro Apple’s first spatial computer Tech Apple Virtual Reality Patent The system involves a keyboard being paired. In the workplace, apple is reportedly planning to include immersive videoconferencing in mixed reality, where users will be able to have realistic avatars in virtual meeting rooms; Apple has had a busy july filing patents on virtual reality technology, three obvious applications showing up in the u.s. The patent application sets out how. Apple Virtual Reality Patent.
From www.nbcnews.com
Apple Wins Patent for Virtual Reality Goggles Apple Virtual Reality Patent Apple’s reality pro headset could use a clever system to handle immersive video and save on battery life at the same time, a newly granted patent reveals. Apple has had a busy july filing patents on virtual reality technology, three obvious applications showing up in the u.s. Patent & trademark office, and those are only the three most. The patent. Apple Virtual Reality Patent.
From www.netzwelt.de
Apple Virtual Reality Patentbilder NETZWELT Apple Virtual Reality Patent In the workplace, apple is reportedly planning to include immersive videoconferencing in mixed reality, where users will be able to have realistic avatars in virtual meeting rooms; Patent & trademark office, and those are only the three most. The system involves a keyboard being paired. The patent application sets out how documents can be edited in a virtual 3d space.. Apple Virtual Reality Patent.
From www.latimes.com
Apple wins patent for iPhonepowered virtual reality headset Los Apple Virtual Reality Patent In the workplace, apple is reportedly planning to include immersive videoconferencing in mixed reality, where users will be able to have realistic avatars in virtual meeting rooms; Patent & trademark office, and those are only the three most. The system involves a keyboard being paired. The patent application sets out how documents can be edited in a virtual 3d space.. Apple Virtual Reality Patent.
From bgr.com
Apple is working on its own virtual reality goggles BGR Apple Virtual Reality Patent Apple has had a busy july filing patents on virtual reality technology, three obvious applications showing up in the u.s. Apple’s reality pro headset could use a clever system to handle immersive video and save on battery life at the same time, a newly granted patent reveals. The patent application sets out how documents can be edited in a virtual. Apple Virtual Reality Patent.
From www.techeblog.com
Apple Virtual Reality Headset Could Come with Force Touch Gloves Apple Virtual Reality Patent Apple’s reality pro headset could use a clever system to handle immersive video and save on battery life at the same time, a newly granted patent reveals. The system involves a keyboard being paired. The patent application sets out how documents can be edited in a virtual 3d space. In the workplace, apple is reportedly planning to include immersive videoconferencing. Apple Virtual Reality Patent.
From www.mactech.com
Apple granted patent for a ‘virtual reality system’ Apple Virtual Reality Patent Patent & trademark office, and those are only the three most. Apple has had a busy july filing patents on virtual reality technology, three obvious applications showing up in the u.s. The system involves a keyboard being paired. In the workplace, apple is reportedly planning to include immersive videoconferencing in mixed reality, where users will be able to have realistic. Apple Virtual Reality Patent.
From in.mashable.com
Apple's First VR Headset Will Be Very Expensive, Says Report Tech Apple Virtual Reality Patent The patent application sets out how documents can be edited in a virtual 3d space. Patent & trademark office, and those are only the three most. The system involves a keyboard being paired. Apple has had a busy july filing patents on virtual reality technology, three obvious applications showing up in the u.s. In the workplace, apple is reportedly planning. Apple Virtual Reality Patent.
From www.patentlyapple.com
Apple Wins a Patent for a Future Version of GarageBand Designed for Apple Virtual Reality Patent The patent application sets out how documents can be edited in a virtual 3d space. Apple’s reality pro headset could use a clever system to handle immersive video and save on battery life at the same time, a newly granted patent reveals. Apple has had a busy july filing patents on virtual reality technology, three obvious applications showing up in. Apple Virtual Reality Patent.
From www.uploadvr.com
Report Apple Building Secret VR/AR Team, Prototyping Headsets Apple Virtual Reality Patent Apple’s reality pro headset could use a clever system to handle immersive video and save on battery life at the same time, a newly granted patent reveals. Apple has had a busy july filing patents on virtual reality technology, three obvious applications showing up in the u.s. Patent & trademark office, and those are only the three most. The system. Apple Virtual Reality Patent.
From designtaxi.com
Apple Patents ‘Virtual Paper’ To Make Displays That Can Be DogEared Apple Virtual Reality Patent Patent & trademark office, and those are only the three most. The patent application sets out how documents can be edited in a virtual 3d space. Apple has had a busy july filing patents on virtual reality technology, three obvious applications showing up in the u.s. Apple’s reality pro headset could use a clever system to handle immersive video and. Apple Virtual Reality Patent.
From www.patentlyapple.com
The US Patent Office Reveals Five Top Apple Patents that have been Apple Virtual Reality Patent In the workplace, apple is reportedly planning to include immersive videoconferencing in mixed reality, where users will be able to have realistic avatars in virtual meeting rooms; The system involves a keyboard being paired. Apple’s reality pro headset could use a clever system to handle immersive video and save on battery life at the same time, a newly granted patent. Apple Virtual Reality Patent.
From www.nbcnews.com
Apple Wins Patent for Virtual Reality Goggles NBC News Apple Virtual Reality Patent Patent & trademark office, and those are only the three most. In the workplace, apple is reportedly planning to include immersive videoconferencing in mixed reality, where users will be able to have realistic avatars in virtual meeting rooms; The system involves a keyboard being paired. Apple’s reality pro headset could use a clever system to handle immersive video and save. Apple Virtual Reality Patent.
From www.patentlyapple.com
Apple won 62 Patents today covering a Virtual Reality Store for HMD Apple Virtual Reality Patent The system involves a keyboard being paired. The patent application sets out how documents can be edited in a virtual 3d space. Patent & trademark office, and those are only the three most. In the workplace, apple is reportedly planning to include immersive videoconferencing in mixed reality, where users will be able to have realistic avatars in virtual meeting rooms;. Apple Virtual Reality Patent.
From differentimpulse.com
New Apple Patent Hints Advanced VR Hardware Is Coming Different Impulse Apple Virtual Reality Patent The patent application sets out how documents can be edited in a virtual 3d space. Patent & trademark office, and those are only the three most. The system involves a keyboard being paired. Apple’s reality pro headset could use a clever system to handle immersive video and save on battery life at the same time, a newly granted patent reveals.. Apple Virtual Reality Patent.
From itigic.com
Apple Virtual Reality Glasses New Patent Describes it ITIGIC Apple Virtual Reality Patent The system involves a keyboard being paired. Apple has had a busy july filing patents on virtual reality technology, three obvious applications showing up in the u.s. In the workplace, apple is reportedly planning to include immersive videoconferencing in mixed reality, where users will be able to have realistic avatars in virtual meeting rooms; Apple’s reality pro headset could use. Apple Virtual Reality Patent.
From www.businessinsider.in
Here's Proof Apple Is Exploring Virtual Reality Business Insider India Apple Virtual Reality Patent Apple’s reality pro headset could use a clever system to handle immersive video and save on battery life at the same time, a newly granted patent reveals. In the workplace, apple is reportedly planning to include immersive videoconferencing in mixed reality, where users will be able to have realistic avatars in virtual meeting rooms; The system involves a keyboard being. Apple Virtual Reality Patent.
From www.netzwelt.de
Apple Virtual Reality Patentbilder NETZWELT Apple Virtual Reality Patent The patent application sets out how documents can be edited in a virtual 3d space. The system involves a keyboard being paired. Apple’s reality pro headset could use a clever system to handle immersive video and save on battery life at the same time, a newly granted patent reveals. Apple has had a busy july filing patents on virtual reality. Apple Virtual Reality Patent.
From itigic.com
Apple Virtual Reality Glasses New Patent Describes it ITIGIC Apple Virtual Reality Patent Apple has had a busy july filing patents on virtual reality technology, three obvious applications showing up in the u.s. Patent & trademark office, and those are only the three most. The system involves a keyboard being paired. In the workplace, apple is reportedly planning to include immersive videoconferencing in mixed reality, where users will be able to have realistic. Apple Virtual Reality Patent.
From www.digitalbodies.net
Apple's Virtual Reality patent could solve the VR headset problem Apple Virtual Reality Patent Apple has had a busy july filing patents on virtual reality technology, three obvious applications showing up in the u.s. In the workplace, apple is reportedly planning to include immersive videoconferencing in mixed reality, where users will be able to have realistic avatars in virtual meeting rooms; The system involves a keyboard being paired. The patent application sets out how. Apple Virtual Reality Patent.
From www.patentlyapple.com
Apple has Won a Deep Patent relating to GUIs for interacting with Apple Virtual Reality Patent Patent & trademark office, and those are only the three most. The system involves a keyboard being paired. The patent application sets out how documents can be edited in a virtual 3d space. In the workplace, apple is reportedly planning to include immersive videoconferencing in mixed reality, where users will be able to have realistic avatars in virtual meeting rooms;. Apple Virtual Reality Patent.
From www.twistednonsense.com
Apple Virtual Reality Patent Approved After 6 Years Twisted Nonsense Apple Virtual Reality Patent Apple has had a busy july filing patents on virtual reality technology, three obvious applications showing up in the u.s. The system involves a keyboard being paired. In the workplace, apple is reportedly planning to include immersive videoconferencing in mixed reality, where users will be able to have realistic avatars in virtual meeting rooms; Patent & trademark office, and those. Apple Virtual Reality Patent.
From www.pinterest.com
Apple HMD Research Continues With New EyeTracking Patent UploadVR Apple Virtual Reality Patent In the workplace, apple is reportedly planning to include immersive videoconferencing in mixed reality, where users will be able to have realistic avatars in virtual meeting rooms; Patent & trademark office, and those are only the three most. Apple has had a busy july filing patents on virtual reality technology, three obvious applications showing up in the u.s. The patent. Apple Virtual Reality Patent.
From www.netzwelt.de
Apple Virtual Reality Patentbilder NETZWELT Apple Virtual Reality Patent The system involves a keyboard being paired. In the workplace, apple is reportedly planning to include immersive videoconferencing in mixed reality, where users will be able to have realistic avatars in virtual meeting rooms; Apple has had a busy july filing patents on virtual reality technology, three obvious applications showing up in the u.s. Patent & trademark office, and those. Apple Virtual Reality Patent.
From www.ilounge.com
Apple patent reveals details about AR/VR headset iLounge Apple Virtual Reality Patent Patent & trademark office, and those are only the three most. The system involves a keyboard being paired. Apple has had a busy july filing patents on virtual reality technology, three obvious applications showing up in the u.s. Apple’s reality pro headset could use a clever system to handle immersive video and save on battery life at the same time,. Apple Virtual Reality Patent.
From www.patentlyapple.com
Apple has Won a Patent relating to Virtual Paper that will be used in Apple Virtual Reality Patent Apple’s reality pro headset could use a clever system to handle immersive video and save on battery life at the same time, a newly granted patent reveals. The system involves a keyboard being paired. The patent application sets out how documents can be edited in a virtual 3d space. Patent & trademark office, and those are only the three most.. Apple Virtual Reality Patent.
From time.com
Apple Granted Patent for Virtual Reality Headset Using iPhone TIME Apple Virtual Reality Patent Apple’s reality pro headset could use a clever system to handle immersive video and save on battery life at the same time, a newly granted patent reveals. Apple has had a busy july filing patents on virtual reality technology, three obvious applications showing up in the u.s. Patent & trademark office, and those are only the three most. In the. Apple Virtual Reality Patent.
From www.patentlyapple.com
Apple Granted 48 Patents Today Covering Technologies such as a Apple Virtual Reality Patent In the workplace, apple is reportedly planning to include immersive videoconferencing in mixed reality, where users will be able to have realistic avatars in virtual meeting rooms; Patent & trademark office, and those are only the three most. Apple has had a busy july filing patents on virtual reality technology, three obvious applications showing up in the u.s. The patent. Apple Virtual Reality Patent.
From www.smh.com.au
Apple wins patent for virtual reality headset powered by iPhone Apple Virtual Reality Patent Apple’s reality pro headset could use a clever system to handle immersive video and save on battery life at the same time, a newly granted patent reveals. The system involves a keyboard being paired. Apple has had a busy july filing patents on virtual reality technology, three obvious applications showing up in the u.s. Patent & trademark office, and those. Apple Virtual Reality Patent.
From www.nytimes.com
Apple Debuts the Vision Pro, Its VR Headset, at WWDC 2023 The New Apple Virtual Reality Patent Apple’s reality pro headset could use a clever system to handle immersive video and save on battery life at the same time, a newly granted patent reveals. In the workplace, apple is reportedly planning to include immersive videoconferencing in mixed reality, where users will be able to have realistic avatars in virtual meeting rooms; The patent application sets out how. Apple Virtual Reality Patent.
From www.idownloadblog.com
Apple granted new patent for virtual reality iPhone headset Apple Virtual Reality Patent Apple has had a busy july filing patents on virtual reality technology, three obvious applications showing up in the u.s. Patent & trademark office, and those are only the three most. In the workplace, apple is reportedly planning to include immersive videoconferencing in mixed reality, where users will be able to have realistic avatars in virtual meeting rooms; Apple’s reality. Apple Virtual Reality Patent.
From www.mactech.com
Apple patent involves ‘focusing for virtual and augmented reality Apple Virtual Reality Patent The system involves a keyboard being paired. Apple’s reality pro headset could use a clever system to handle immersive video and save on battery life at the same time, a newly granted patent reveals. In the workplace, apple is reportedly planning to include immersive videoconferencing in mixed reality, where users will be able to have realistic avatars in virtual meeting. Apple Virtual Reality Patent.
From www.phonearena.com
Meet Apple Vision Pro the human virtual reality headset! PhoneArena Apple Virtual Reality Patent Apple has had a busy july filing patents on virtual reality technology, three obvious applications showing up in the u.s. Apple’s reality pro headset could use a clever system to handle immersive video and save on battery life at the same time, a newly granted patent reveals. In the workplace, apple is reportedly planning to include immersive videoconferencing in mixed. Apple Virtual Reality Patent.