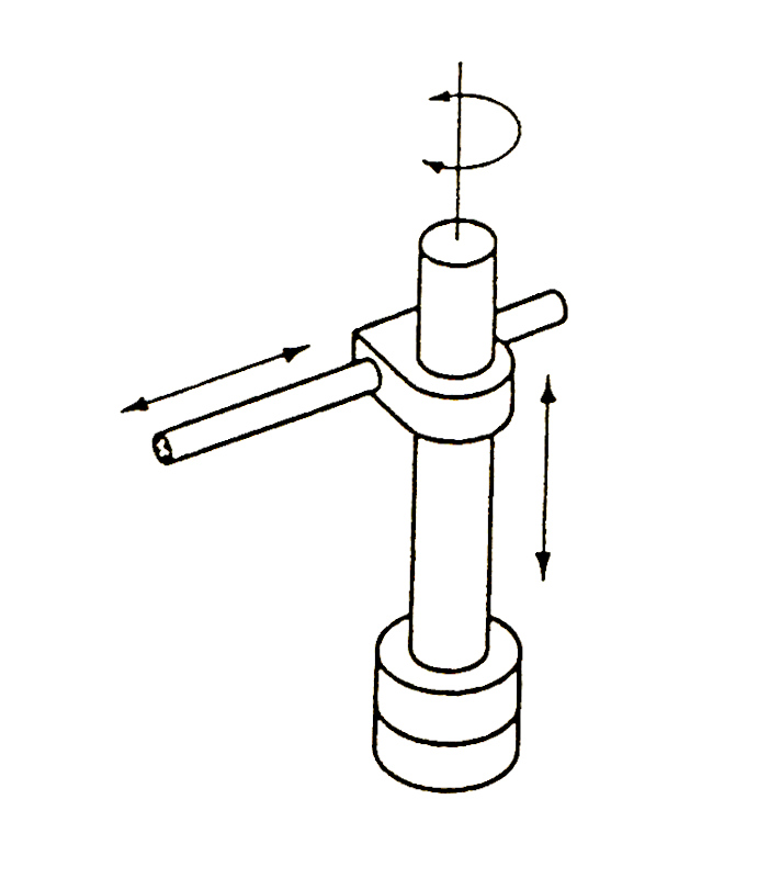
Cylindrical Robot Work Envelope . • reach is accomplished as the arm of the robot moves in and out. • for vertical movement, the carriage moves up and down on a stationary post, or the post can move up and down in the base of the robot. On the other hand, scara robots have a cylindrical work envelope and 4 axes of motion. Because they have a cylindrical work envelope, machine. Scara robots have a cylindrical work envelope, which makes them suitable for tasks requiring a large horizontal reach and limited vertical movement. Unlike other types of robots, cylindrical robots can move around an object or workpiece, providing a wide range of motion and flexibility. Cylindrical robots are built with joints that allow for rotational motion in two directions and linear motion along one axis, essentially mimicking the coordinates of a cylinder. Consists of two orthogonal slides, placed at 90° angle, mounted on a rotary axis. Most cylindrical robots are made of two moving elements: A cylindrical coordinate robot, also known as a cylindrical robot, is a type of industrial robot designed with a rotary axis, allowing it to move in a cylindrical motion. A cylindrical robot is a type of industrial robot with a cylindrical work envelope. Their arms rotate horizontally and.
from www.researchgate.net
Because they have a cylindrical work envelope, machine. Their arms rotate horizontally and. Most cylindrical robots are made of two moving elements: Scara robots have a cylindrical work envelope, which makes them suitable for tasks requiring a large horizontal reach and limited vertical movement. A cylindrical robot is a type of industrial robot with a cylindrical work envelope. Cylindrical robots are built with joints that allow for rotational motion in two directions and linear motion along one axis, essentially mimicking the coordinates of a cylinder. • for vertical movement, the carriage moves up and down on a stationary post, or the post can move up and down in the base of the robot. Unlike other types of robots, cylindrical robots can move around an object or workpiece, providing a wide range of motion and flexibility. A cylindrical coordinate robot, also known as a cylindrical robot, is a type of industrial robot designed with a rotary axis, allowing it to move in a cylindrical motion. • reach is accomplished as the arm of the robot moves in and out.
1 Common robot arm configurations Download Scientific Diagram
Cylindrical Robot Work Envelope Cylindrical robots are built with joints that allow for rotational motion in two directions and linear motion along one axis, essentially mimicking the coordinates of a cylinder. Unlike other types of robots, cylindrical robots can move around an object or workpiece, providing a wide range of motion and flexibility. • reach is accomplished as the arm of the robot moves in and out. A cylindrical coordinate robot, also known as a cylindrical robot, is a type of industrial robot designed with a rotary axis, allowing it to move in a cylindrical motion. Cylindrical robots are built with joints that allow for rotational motion in two directions and linear motion along one axis, essentially mimicking the coordinates of a cylinder. A cylindrical robot is a type of industrial robot with a cylindrical work envelope. • for vertical movement, the carriage moves up and down on a stationary post, or the post can move up and down in the base of the robot. Scara robots have a cylindrical work envelope, which makes them suitable for tasks requiring a large horizontal reach and limited vertical movement. Most cylindrical robots are made of two moving elements: Consists of two orthogonal slides, placed at 90° angle, mounted on a rotary axis. On the other hand, scara robots have a cylindrical work envelope and 4 axes of motion. Their arms rotate horizontally and. Because they have a cylindrical work envelope, machine.
From www.slideserve.com
PPT Introduction to Robotics PowerPoint Presentation, free download Cylindrical Robot Work Envelope Scara robots have a cylindrical work envelope, which makes them suitable for tasks requiring a large horizontal reach and limited vertical movement. On the other hand, scara robots have a cylindrical work envelope and 4 axes of motion. A cylindrical robot is a type of industrial robot with a cylindrical work envelope. Their arms rotate horizontally and. • for vertical. Cylindrical Robot Work Envelope.
From learnmech.com
Cylindrical Robot Diagram , Construction , Applications Cylindrical Robot Work Envelope Consists of two orthogonal slides, placed at 90° angle, mounted on a rotary axis. A cylindrical robot is a type of industrial robot with a cylindrical work envelope. Because they have a cylindrical work envelope, machine. • reach is accomplished as the arm of the robot moves in and out. Scara robots have a cylindrical work envelope, which makes them. Cylindrical Robot Work Envelope.
From howtorobot.com
The industrial Robot Types and Their Different Uses HowToRobot Cylindrical Robot Work Envelope A cylindrical coordinate robot, also known as a cylindrical robot, is a type of industrial robot designed with a rotary axis, allowing it to move in a cylindrical motion. A cylindrical robot is a type of industrial robot with a cylindrical work envelope. Their arms rotate horizontally and. Cylindrical robots are built with joints that allow for rotational motion in. Cylindrical Robot Work Envelope.
From www.slideserve.com
PPT Intuitive Kinematics Converting Between Forward and Reverse Cylindrical Robot Work Envelope A cylindrical robot is a type of industrial robot with a cylindrical work envelope. Because they have a cylindrical work envelope, machine. • reach is accomplished as the arm of the robot moves in and out. Their arms rotate horizontally and. Unlike other types of robots, cylindrical robots can move around an object or workpiece, providing a wide range of. Cylindrical Robot Work Envelope.
From www.mdpi.com
Micromachines Free FullText Spatial Trajectory Tracking of Wall Cylindrical Robot Work Envelope • reach is accomplished as the arm of the robot moves in and out. Because they have a cylindrical work envelope, machine. • for vertical movement, the carriage moves up and down on a stationary post, or the post can move up and down in the base of the robot. Consists of two orthogonal slides, placed at 90° angle, mounted. Cylindrical Robot Work Envelope.
From www.researchgate.net
Working envelope, side view, KR 603—KUKA Robotics® (2019) Download Cylindrical Robot Work Envelope Cylindrical robots are built with joints that allow for rotational motion in two directions and linear motion along one axis, essentially mimicking the coordinates of a cylinder. On the other hand, scara robots have a cylindrical work envelope and 4 axes of motion. Unlike other types of robots, cylindrical robots can move around an object or workpiece, providing a wide. Cylindrical Robot Work Envelope.
From www.slideserve.com
PPT Intuitive Kinematics Converting Between Forward and Reverse Cylindrical Robot Work Envelope Consists of two orthogonal slides, placed at 90° angle, mounted on a rotary axis. Scara robots have a cylindrical work envelope, which makes them suitable for tasks requiring a large horizontal reach and limited vertical movement. Because they have a cylindrical work envelope, machine. Most cylindrical robots are made of two moving elements: A cylindrical coordinate robot, also known as. Cylindrical Robot Work Envelope.
From www.slideserve.com
PPT Introduction to Robotics PowerPoint Presentation, free download Cylindrical Robot Work Envelope A cylindrical coordinate robot, also known as a cylindrical robot, is a type of industrial robot designed with a rotary axis, allowing it to move in a cylindrical motion. Because they have a cylindrical work envelope, machine. On the other hand, scara robots have a cylindrical work envelope and 4 axes of motion. Cylindrical robots are built with joints that. Cylindrical Robot Work Envelope.
From www.iqsdirectory.com
Industrial Robot What Is It? How Does It Work? Types Of Cylindrical Robot Work Envelope Consists of two orthogonal slides, placed at 90° angle, mounted on a rotary axis. A cylindrical robot is a type of industrial robot with a cylindrical work envelope. Most cylindrical robots are made of two moving elements: On the other hand, scara robots have a cylindrical work envelope and 4 axes of motion. A cylindrical coordinate robot, also known as. Cylindrical Robot Work Envelope.
From www.iqsdirectory.com
Industrial Robot What Is It? How Does It Work? Types Of Cylindrical Robot Work Envelope A cylindrical coordinate robot, also known as a cylindrical robot, is a type of industrial robot designed with a rotary axis, allowing it to move in a cylindrical motion. • reach is accomplished as the arm of the robot moves in and out. Scara robots have a cylindrical work envelope, which makes them suitable for tasks requiring a large horizontal. Cylindrical Robot Work Envelope.
From github.com
GitHub baranusluel/robotworkenvelope A MATLAB program created to Cylindrical Robot Work Envelope Most cylindrical robots are made of two moving elements: A cylindrical coordinate robot, also known as a cylindrical robot, is a type of industrial robot designed with a rotary axis, allowing it to move in a cylindrical motion. A cylindrical robot is a type of industrial robot with a cylindrical work envelope. • for vertical movement, the carriage moves up. Cylindrical Robot Work Envelope.
From pallet-stretch-wrapper.com
Decoding Robotic Arm Work Envelopes for Enhanced Industrial Operations Cylindrical Robot Work Envelope Because they have a cylindrical work envelope, machine. Unlike other types of robots, cylindrical robots can move around an object or workpiece, providing a wide range of motion and flexibility. Scara robots have a cylindrical work envelope, which makes them suitable for tasks requiring a large horizontal reach and limited vertical movement. Most cylindrical robots are made of two moving. Cylindrical Robot Work Envelope.
From www.hierarchystructure.com
Ľahko pochopiteľné Školské vzdelávanie začiatočník spherical coordinate Cylindrical Robot Work Envelope On the other hand, scara robots have a cylindrical work envelope and 4 axes of motion. Most cylindrical robots are made of two moving elements: A cylindrical coordinate robot, also known as a cylindrical robot, is a type of industrial robot designed with a rotary axis, allowing it to move in a cylindrical motion. A cylindrical robot is a type. Cylindrical Robot Work Envelope.
From www.fanucamerica.com
How to Know When A SCARA Robot is the Right Choice FANUC America Cylindrical Robot Work Envelope A cylindrical coordinate robot, also known as a cylindrical robot, is a type of industrial robot designed with a rotary axis, allowing it to move in a cylindrical motion. Scara robots have a cylindrical work envelope, which makes them suitable for tasks requiring a large horizontal reach and limited vertical movement. • reach is accomplished as the arm of the. Cylindrical Robot Work Envelope.
From www.iqsdirectory.com
Industrial Robot What Is It? How Does It Work? Types Of Cylindrical Robot Work Envelope Unlike other types of robots, cylindrical robots can move around an object or workpiece, providing a wide range of motion and flexibility. Scara robots have a cylindrical work envelope, which makes them suitable for tasks requiring a large horizontal reach and limited vertical movement. A cylindrical robot is a type of industrial robot with a cylindrical work envelope. On the. Cylindrical Robot Work Envelope.
From www.researchgate.net
1 Common robot arm configurations Download Scientific Diagram Cylindrical Robot Work Envelope Cylindrical robots are built with joints that allow for rotational motion in two directions and linear motion along one axis, essentially mimicking the coordinates of a cylinder. A cylindrical robot is a type of industrial robot with a cylindrical work envelope. On the other hand, scara robots have a cylindrical work envelope and 4 axes of motion. Most cylindrical robots. Cylindrical Robot Work Envelope.
From www.microcontrollertips.com
Robot axes, drive safety, and power architectures Cylindrical Robot Work Envelope Their arms rotate horizontally and. A cylindrical coordinate robot, also known as a cylindrical robot, is a type of industrial robot designed with a rotary axis, allowing it to move in a cylindrical motion. Unlike other types of robots, cylindrical robots can move around an object or workpiece, providing a wide range of motion and flexibility. Scara robots have a. Cylindrical Robot Work Envelope.
From www.slideserve.com
PPT ROBOTICS PowerPoint Presentation, free download ID359037 Cylindrical Robot Work Envelope On the other hand, scara robots have a cylindrical work envelope and 4 axes of motion. A cylindrical robot is a type of industrial robot with a cylindrical work envelope. Scara robots have a cylindrical work envelope, which makes them suitable for tasks requiring a large horizontal reach and limited vertical movement. Because they have a cylindrical work envelope, machine.. Cylindrical Robot Work Envelope.
From www.iqsdirectory.com
Industrial Robot What Is It? How Does It Work? Types Of Cylindrical Robot Work Envelope • for vertical movement, the carriage moves up and down on a stationary post, or the post can move up and down in the base of the robot. Consists of two orthogonal slides, placed at 90° angle, mounted on a rotary axis. On the other hand, scara robots have a cylindrical work envelope and 4 axes of motion. A cylindrical. Cylindrical Robot Work Envelope.
From www.electricalelibrary.com
Work envelope of robots Electrical Cylindrical Robot Work Envelope • reach is accomplished as the arm of the robot moves in and out. Because they have a cylindrical work envelope, machine. Consists of two orthogonal slides, placed at 90° angle, mounted on a rotary axis. Their arms rotate horizontally and. Unlike other types of robots, cylindrical robots can move around an object or workpiece, providing a wide range of. Cylindrical Robot Work Envelope.
From www.distrelec.it
Robot industriali Distrelec Italia Cylindrical Robot Work Envelope A cylindrical robot is a type of industrial robot with a cylindrical work envelope. Cylindrical robots are built with joints that allow for rotational motion in two directions and linear motion along one axis, essentially mimicking the coordinates of a cylinder. On the other hand, scara robots have a cylindrical work envelope and 4 axes of motion. Most cylindrical robots. Cylindrical Robot Work Envelope.
From instrumentationtools.com
Robot Anatomy, Configuration, Reference Frame, Characteristics Cylindrical Robot Work Envelope Their arms rotate horizontally and. On the other hand, scara robots have a cylindrical work envelope and 4 axes of motion. Scara robots have a cylindrical work envelope, which makes them suitable for tasks requiring a large horizontal reach and limited vertical movement. Most cylindrical robots are made of two moving elements: • reach is accomplished as the arm of. Cylindrical Robot Work Envelope.
From www.laserfocusworld.com
Fouraxis cylindrical robot from Intellidrives has use in assembly Cylindrical Robot Work Envelope Consists of two orthogonal slides, placed at 90° angle, mounted on a rotary axis. • reach is accomplished as the arm of the robot moves in and out. Most cylindrical robots are made of two moving elements: On the other hand, scara robots have a cylindrical work envelope and 4 axes of motion. Unlike other types of robots, cylindrical robots. Cylindrical Robot Work Envelope.
From www.pinterest.co.kr
The PlateCrane EX™ is a newgeneration cylindrical robot arm that is Cylindrical Robot Work Envelope Their arms rotate horizontally and. Unlike other types of robots, cylindrical robots can move around an object or workpiece, providing a wide range of motion and flexibility. Consists of two orthogonal slides, placed at 90° angle, mounted on a rotary axis. On the other hand, scara robots have a cylindrical work envelope and 4 axes of motion. Cylindrical robots are. Cylindrical Robot Work Envelope.
From www.iqsdirectory.com
Industrial Robot What Is It? How Does It Work? Types Of Cylindrical Robot Work Envelope Unlike other types of robots, cylindrical robots can move around an object or workpiece, providing a wide range of motion and flexibility. A cylindrical coordinate robot, also known as a cylindrical robot, is a type of industrial robot designed with a rotary axis, allowing it to move in a cylindrical motion. Most cylindrical robots are made of two moving elements:. Cylindrical Robot Work Envelope.
From www.electricalelibrary.com
Work envelope of robots Electrical Cylindrical Robot Work Envelope • for vertical movement, the carriage moves up and down on a stationary post, or the post can move up and down in the base of the robot. Consists of two orthogonal slides, placed at 90° angle, mounted on a rotary axis. Cylindrical robots are built with joints that allow for rotational motion in two directions and linear motion along. Cylindrical Robot Work Envelope.
From www.slideserve.com
PPT Introduction to Robotics PowerPoint Presentation, free download Cylindrical Robot Work Envelope Scara robots have a cylindrical work envelope, which makes them suitable for tasks requiring a large horizontal reach and limited vertical movement. A cylindrical coordinate robot, also known as a cylindrical robot, is a type of industrial robot designed with a rotary axis, allowing it to move in a cylindrical motion. Because they have a cylindrical work envelope, machine. Unlike. Cylindrical Robot Work Envelope.
From www.researchgate.net
The XY plane of a cylindrical robot work envelope. Download Cylindrical Robot Work Envelope A cylindrical coordinate robot, also known as a cylindrical robot, is a type of industrial robot designed with a rotary axis, allowing it to move in a cylindrical motion. Most cylindrical robots are made of two moving elements: Scara robots have a cylindrical work envelope, which makes them suitable for tasks requiring a large horizontal reach and limited vertical movement.. Cylindrical Robot Work Envelope.
From www.electricalelibrary.com
Work envelope of robots Electrical Cylindrical Robot Work Envelope Their arms rotate horizontally and. Cylindrical robots are built with joints that allow for rotational motion in two directions and linear motion along one axis, essentially mimicking the coordinates of a cylinder. Most cylindrical robots are made of two moving elements: On the other hand, scara robots have a cylindrical work envelope and 4 axes of motion. A cylindrical robot. Cylindrical Robot Work Envelope.
From www.youtube.com
Robotic Work Envelope YouTube Cylindrical Robot Work Envelope Consists of two orthogonal slides, placed at 90° angle, mounted on a rotary axis. • for vertical movement, the carriage moves up and down on a stationary post, or the post can move up and down in the base of the robot. Scara robots have a cylindrical work envelope, which makes them suitable for tasks requiring a large horizontal reach. Cylindrical Robot Work Envelope.
From electricalworkbook.com
What is SCARA Robot? Explanation & Diagram ElectricalWorkbook Cylindrical Robot Work Envelope On the other hand, scara robots have a cylindrical work envelope and 4 axes of motion. Unlike other types of robots, cylindrical robots can move around an object or workpiece, providing a wide range of motion and flexibility. Consists of two orthogonal slides, placed at 90° angle, mounted on a rotary axis. A cylindrical coordinate robot, also known as a. Cylindrical Robot Work Envelope.
From www.researchgate.net
The XY plane of a cylindrical robot work envelope. Download Cylindrical Robot Work Envelope Unlike other types of robots, cylindrical robots can move around an object or workpiece, providing a wide range of motion and flexibility. • for vertical movement, the carriage moves up and down on a stationary post, or the post can move up and down in the base of the robot. Most cylindrical robots are made of two moving elements: A. Cylindrical Robot Work Envelope.
From mkmra2.blogspot.com
Digital Fabrication for Designers Robots Cylindrical Robot Work Envelope A cylindrical coordinate robot, also known as a cylindrical robot, is a type of industrial robot designed with a rotary axis, allowing it to move in a cylindrical motion. On the other hand, scara robots have a cylindrical work envelope and 4 axes of motion. Scara robots have a cylindrical work envelope, which makes them suitable for tasks requiring a. Cylindrical Robot Work Envelope.
From id.mfgrobots.com
Jenis Robot Industri dan Kegunaannya yang Berbeda Cylindrical Robot Work Envelope • reach is accomplished as the arm of the robot moves in and out. Because they have a cylindrical work envelope, machine. Scara robots have a cylindrical work envelope, which makes them suitable for tasks requiring a large horizontal reach and limited vertical movement. On the other hand, scara robots have a cylindrical work envelope and 4 axes of motion.. Cylindrical Robot Work Envelope.
From www.youtube.com
Robot Principal Types and their Work Space YouTube Cylindrical Robot Work Envelope Cylindrical robots are built with joints that allow for rotational motion in two directions and linear motion along one axis, essentially mimicking the coordinates of a cylinder. • for vertical movement, the carriage moves up and down on a stationary post, or the post can move up and down in the base of the robot. On the other hand, scara. Cylindrical Robot Work Envelope.