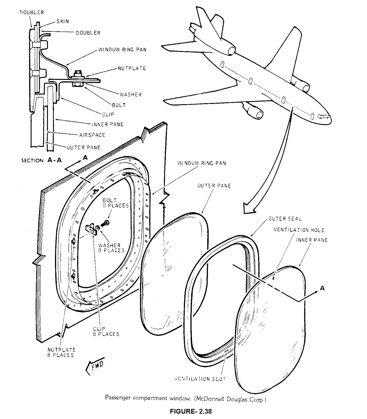
What Are Plane Windows Made Of . Instead, they are constructed from special. as robbie gonzales at io9 explains, each window is actually made up of three layers, and the hole allows the air pressure between the. Plexiglas) or polycarbonate (pc, lexan or makrolon) materials. aircraft windows are crafted from multiple layers of stretched acrylic, a choice of material for its mechanical strength, durability, low weight, and clarity. Airplane windows are designed to withstand extremely high pressures during flight. airplane windows are an essential component of an aircraft, providing a clear view for pilots, passengers, and. airplane windows are made of a material called acrylic plastic, which is a very strong and lightweight material that is able to. airplane windows are made using stretched acrylic. windows are either made of acrylics (pmma, brand name e.g. This plastic technology is engineered to endure the substantial stress and pressure differences experienced during flight. The average airplane window can withstand over 1,750 lbs of force and is 15 mm thick.
from personalgyan2021.blogspot.com
aircraft windows are crafted from multiple layers of stretched acrylic, a choice of material for its mechanical strength, durability, low weight, and clarity. The average airplane window can withstand over 1,750 lbs of force and is 15 mm thick. Airplane windows are designed to withstand extremely high pressures during flight. airplane windows are an essential component of an aircraft, providing a clear view for pilots, passengers, and. Instead, they are constructed from special. airplane windows are made of a material called acrylic plastic, which is a very strong and lightweight material that is able to. airplane windows are made using stretched acrylic. windows are either made of acrylics (pmma, brand name e.g. This plastic technology is engineered to endure the substantial stress and pressure differences experienced during flight. as robbie gonzales at io9 explains, each window is actually made up of three layers, and the hole allows the air pressure between the.
What are Airplane windows made up of? Science,Facts and General Truth
What Are Plane Windows Made Of windows are either made of acrylics (pmma, brand name e.g. aircraft windows are crafted from multiple layers of stretched acrylic, a choice of material for its mechanical strength, durability, low weight, and clarity. airplane windows are made of a material called acrylic plastic, which is a very strong and lightweight material that is able to. airplane windows are an essential component of an aircraft, providing a clear view for pilots, passengers, and. as robbie gonzales at io9 explains, each window is actually made up of three layers, and the hole allows the air pressure between the. The average airplane window can withstand over 1,750 lbs of force and is 15 mm thick. Airplane windows are designed to withstand extremely high pressures during flight. Instead, they are constructed from special. airplane windows are made using stretched acrylic. This plastic technology is engineered to endure the substantial stress and pressure differences experienced during flight. Plexiglas) or polycarbonate (pc, lexan or makrolon) materials. windows are either made of acrylics (pmma, brand name e.g.
From mojogrip.net
Why Are Plane Windows Round? MojoGrip What Are Plane Windows Made Of aircraft windows are crafted from multiple layers of stretched acrylic, a choice of material for its mechanical strength, durability, low weight, and clarity. This plastic technology is engineered to endure the substantial stress and pressure differences experienced during flight. Airplane windows are designed to withstand extremely high pressures during flight. Instead, they are constructed from special. airplane windows. What Are Plane Windows Made Of.
From www.cntraveler.com
The World's Biggest Plane Window Is 4.5 Feet Wide Condé Nast Traveler What Are Plane Windows Made Of airplane windows are made of a material called acrylic plastic, which is a very strong and lightweight material that is able to. This plastic technology is engineered to endure the substantial stress and pressure differences experienced during flight. airplane windows are an essential component of an aircraft, providing a clear view for pilots, passengers, and. Plexiglas) or polycarbonate. What Are Plane Windows Made Of.
From www.rd.com
Ever Wonder Why Airplane Windows Are Round? Here's the Answer What Are Plane Windows Made Of Airplane windows are designed to withstand extremely high pressures during flight. This plastic technology is engineered to endure the substantial stress and pressure differences experienced during flight. airplane windows are made of a material called acrylic plastic, which is a very strong and lightweight material that is able to. as robbie gonzales at io9 explains, each window is. What Are Plane Windows Made Of.
From www.pexels.com
1000+ Beautiful Plane Window Photos · Pexels · Free Stock Photos What Are Plane Windows Made Of windows are either made of acrylics (pmma, brand name e.g. airplane windows are made using stretched acrylic. Instead, they are constructed from special. airplane windows are an essential component of an aircraft, providing a clear view for pilots, passengers, and. Airplane windows are designed to withstand extremely high pressures during flight. airplane windows are made of. What Are Plane Windows Made Of.
From mavink.com
Aircraft Cockpit Windows What Are Plane Windows Made Of aircraft windows are crafted from multiple layers of stretched acrylic, a choice of material for its mechanical strength, durability, low weight, and clarity. Instead, they are constructed from special. Airplane windows are designed to withstand extremely high pressures during flight. airplane windows are made of a material called acrylic plastic, which is a very strong and lightweight material. What Are Plane Windows Made Of.
From aerocorner.com
What Are Airplane Windows Made of? Aero Corner What Are Plane Windows Made Of airplane windows are an essential component of an aircraft, providing a clear view for pilots, passengers, and. This plastic technology is engineered to endure the substantial stress and pressure differences experienced during flight. windows are either made of acrylics (pmma, brand name e.g. Instead, they are constructed from special. aircraft windows are crafted from multiple layers of. What Are Plane Windows Made Of.
From www.pinterest.co.uk
an airplane window looking out at the sky What Are Plane Windows Made Of airplane windows are an essential component of an aircraft, providing a clear view for pilots, passengers, and. The average airplane window can withstand over 1,750 lbs of force and is 15 mm thick. This plastic technology is engineered to endure the substantial stress and pressure differences experienced during flight. airplane windows are made of a material called acrylic. What Are Plane Windows Made Of.
From personalgyan2021.blogspot.com
What are Airplane windows made up of? Science,Facts and General Truth What Are Plane Windows Made Of Airplane windows are designed to withstand extremely high pressures during flight. as robbie gonzales at io9 explains, each window is actually made up of three layers, and the hole allows the air pressure between the. airplane windows are made using stretched acrylic. This plastic technology is engineered to endure the substantial stress and pressure differences experienced during flight.. What Are Plane Windows Made Of.
From thepointsguy.com
What Are Airplane Windows Made of? What Are Plane Windows Made Of airplane windows are made of a material called acrylic plastic, which is a very strong and lightweight material that is able to. airplane windows are made using stretched acrylic. airplane windows are an essential component of an aircraft, providing a clear view for pilots, passengers, and. Instead, they are constructed from special. The average airplane window can. What Are Plane Windows Made Of.
From www.wtsp.com
Why are airplane windows round? For one very important reason What Are Plane Windows Made Of airplane windows are made using stretched acrylic. windows are either made of acrylics (pmma, brand name e.g. aircraft windows are crafted from multiple layers of stretched acrylic, a choice of material for its mechanical strength, durability, low weight, and clarity. Airplane windows are designed to withstand extremely high pressures during flight. Plexiglas) or polycarbonate (pc, lexan or. What Are Plane Windows Made Of.
From jasonlefkowitz.net
Why airplane windows have round corners Just Well Mixed What Are Plane Windows Made Of airplane windows are made of a material called acrylic plastic, which is a very strong and lightweight material that is able to. Airplane windows are designed to withstand extremely high pressures during flight. as robbie gonzales at io9 explains, each window is actually made up of three layers, and the hole allows the air pressure between the. The. What Are Plane Windows Made Of.
From floridawindowexperts.com
Planes and Window Technology Florida Window Experts What Are Plane Windows Made Of as robbie gonzales at io9 explains, each window is actually made up of three layers, and the hole allows the air pressure between the. Instead, they are constructed from special. windows are either made of acrylics (pmma, brand name e.g. airplane windows are an essential component of an aircraft, providing a clear view for pilots, passengers, and.. What Are Plane Windows Made Of.
From www.dreamstime.com
Airplane Windows from the Outside Stock Photo Image of closeup What Are Plane Windows Made Of This plastic technology is engineered to endure the substantial stress and pressure differences experienced during flight. Plexiglas) or polycarbonate (pc, lexan or makrolon) materials. The average airplane window can withstand over 1,750 lbs of force and is 15 mm thick. as robbie gonzales at io9 explains, each window is actually made up of three layers, and the hole allows. What Are Plane Windows Made Of.
From thepointsguy.com
What Are Airplane Windows Made of? The Points Guy What Are Plane Windows Made Of Airplane windows are designed to withstand extremely high pressures during flight. airplane windows are made of a material called acrylic plastic, which is a very strong and lightweight material that is able to. airplane windows are made using stretched acrylic. Plexiglas) or polycarbonate (pc, lexan or makrolon) materials. as robbie gonzales at io9 explains, each window is. What Are Plane Windows Made Of.
From thepointsguy.com
What Are Airplane Windows Made of? What Are Plane Windows Made Of The average airplane window can withstand over 1,750 lbs of force and is 15 mm thick. This plastic technology is engineered to endure the substantial stress and pressure differences experienced during flight. Airplane windows are designed to withstand extremely high pressures during flight. windows are either made of acrylics (pmma, brand name e.g. Plexiglas) or polycarbonate (pc, lexan or. What Are Plane Windows Made Of.
From www.pinterest.cl
Airplane Window Airplane window, Plane window view, Plane window What Are Plane Windows Made Of The average airplane window can withstand over 1,750 lbs of force and is 15 mm thick. Plexiglas) or polycarbonate (pc, lexan or makrolon) materials. airplane windows are made of a material called acrylic plastic, which is a very strong and lightweight material that is able to. airplane windows are made using stretched acrylic. aircraft windows are crafted. What Are Plane Windows Made Of.
From www.stocksy.com
«4 Airplane Windows Made Of Cardboard With View Of The Clouds» del What Are Plane Windows Made Of The average airplane window can withstand over 1,750 lbs of force and is 15 mm thick. windows are either made of acrylics (pmma, brand name e.g. This plastic technology is engineered to endure the substantial stress and pressure differences experienced during flight. as robbie gonzales at io9 explains, each window is actually made up of three layers, and. What Are Plane Windows Made Of.
From executiveflyers.com
What Are Airplane Windows Made of? Materials, Function, and Safety What Are Plane Windows Made Of aircraft windows are crafted from multiple layers of stretched acrylic, a choice of material for its mechanical strength, durability, low weight, and clarity. as robbie gonzales at io9 explains, each window is actually made up of three layers, and the hole allows the air pressure between the. This plastic technology is engineered to endure the substantial stress and. What Are Plane Windows Made Of.
From www.pinterest.co.uk
Guide For Taking Great Airplane Window Photographs Airplane window What Are Plane Windows Made Of Airplane windows are designed to withstand extremely high pressures during flight. This plastic technology is engineered to endure the substantial stress and pressure differences experienced during flight. Plexiglas) or polycarbonate (pc, lexan or makrolon) materials. airplane windows are an essential component of an aircraft, providing a clear view for pilots, passengers, and. windows are either made of acrylics. What Are Plane Windows Made Of.
From www.forbes.com
Why Are Airplane Passenger Windows Typically Below Eye Level? What Are Plane Windows Made Of airplane windows are made using stretched acrylic. Airplane windows are designed to withstand extremely high pressures during flight. The average airplane window can withstand over 1,750 lbs of force and is 15 mm thick. Instead, they are constructed from special. aircraft windows are crafted from multiple layers of stretched acrylic, a choice of material for its mechanical strength,. What Are Plane Windows Made Of.
From knowledgestew.com
The Reason Airplane Windows Are Round Knowledge Stew What Are Plane Windows Made Of Instead, they are constructed from special. Plexiglas) or polycarbonate (pc, lexan or makrolon) materials. Airplane windows are designed to withstand extremely high pressures during flight. airplane windows are made using stretched acrylic. The average airplane window can withstand over 1,750 lbs of force and is 15 mm thick. as robbie gonzales at io9 explains, each window is actually. What Are Plane Windows Made Of.
From www.pinterest.es
Photo by Nick on Pexels Airplane window, Airplane window view, Plane What Are Plane Windows Made Of airplane windows are made of a material called acrylic plastic, which is a very strong and lightweight material that is able to. The average airplane window can withstand over 1,750 lbs of force and is 15 mm thick. windows are either made of acrylics (pmma, brand name e.g. Plexiglas) or polycarbonate (pc, lexan or makrolon) materials. as. What Are Plane Windows Made Of.
From aerocorner.com
What Are Airplane Windows Made of? Aero Corner What Are Plane Windows Made Of Instead, they are constructed from special. Airplane windows are designed to withstand extremely high pressures during flight. aircraft windows are crafted from multiple layers of stretched acrylic, a choice of material for its mechanical strength, durability, low weight, and clarity. as robbie gonzales at io9 explains, each window is actually made up of three layers, and the hole. What Are Plane Windows Made Of.
From aerocorner.com
What Are Airplane Windows Made of? Aero Corner What Are Plane Windows Made Of windows are either made of acrylics (pmma, brand name e.g. This plastic technology is engineered to endure the substantial stress and pressure differences experienced during flight. airplane windows are made of a material called acrylic plastic, which is a very strong and lightweight material that is able to. Airplane windows are designed to withstand extremely high pressures during. What Are Plane Windows Made Of.
From personalgyan2021.blogspot.com
What are Airplane windows made up of? Science,Facts and General Truth What Are Plane Windows Made Of This plastic technology is engineered to endure the substantial stress and pressure differences experienced during flight. airplane windows are made using stretched acrylic. Airplane windows are designed to withstand extremely high pressures during flight. airplane windows are made of a material called acrylic plastic, which is a very strong and lightweight material that is able to. aircraft. What Are Plane Windows Made Of.
From www.iflscience.com
Why Do Airplanes Have Rounded Windows? IFLScience What Are Plane Windows Made Of aircraft windows are crafted from multiple layers of stretched acrylic, a choice of material for its mechanical strength, durability, low weight, and clarity. The average airplane window can withstand over 1,750 lbs of force and is 15 mm thick. airplane windows are an essential component of an aircraft, providing a clear view for pilots, passengers, and. windows. What Are Plane Windows Made Of.
From www.dreamstime.com
Airplane Windows from Outside Stock Photo Image of aviation, white What Are Plane Windows Made Of This plastic technology is engineered to endure the substantial stress and pressure differences experienced during flight. Plexiglas) or polycarbonate (pc, lexan or makrolon) materials. The average airplane window can withstand over 1,750 lbs of force and is 15 mm thick. windows are either made of acrylics (pmma, brand name e.g. aircraft windows are crafted from multiple layers of. What Are Plane Windows Made Of.
From thepointsguy.com
What Are Airplane Windows Made of? The Points Guy What Are Plane Windows Made Of This plastic technology is engineered to endure the substantial stress and pressure differences experienced during flight. aircraft windows are crafted from multiple layers of stretched acrylic, a choice of material for its mechanical strength, durability, low weight, and clarity. as robbie gonzales at io9 explains, each window is actually made up of three layers, and the hole allows. What Are Plane Windows Made Of.
From medium.com
Apply These 8 Secret Techniques To Improve Aeroplane Window by hanook What Are Plane Windows Made Of This plastic technology is engineered to endure the substantial stress and pressure differences experienced during flight. Plexiglas) or polycarbonate (pc, lexan or makrolon) materials. airplane windows are made of a material called acrylic plastic, which is a very strong and lightweight material that is able to. airplane windows are an essential component of an aircraft, providing a clear. What Are Plane Windows Made Of.
From unsplash.com
27+ Airplane Window Pictures Download Free Images on Unsplash What Are Plane Windows Made Of aircraft windows are crafted from multiple layers of stretched acrylic, a choice of material for its mechanical strength, durability, low weight, and clarity. airplane windows are made using stretched acrylic. Instead, they are constructed from special. as robbie gonzales at io9 explains, each window is actually made up of three layers, and the hole allows the air. What Are Plane Windows Made Of.
From www.istockphoto.com
Private Jet Plane Windows Stock Photo Download Image Now Air What Are Plane Windows Made Of windows are either made of acrylics (pmma, brand name e.g. as robbie gonzales at io9 explains, each window is actually made up of three layers, and the hole allows the air pressure between the. airplane windows are an essential component of an aircraft, providing a clear view for pilots, passengers, and. airplane windows are made of. What Are Plane Windows Made Of.
From aviationstudys.blogspot.com
FREE AVIATION STUDY 20150510 What Are Plane Windows Made Of airplane windows are an essential component of an aircraft, providing a clear view for pilots, passengers, and. airplane windows are made using stretched acrylic. aircraft windows are crafted from multiple layers of stretched acrylic, a choice of material for its mechanical strength, durability, low weight, and clarity. Airplane windows are designed to withstand extremely high pressures during. What Are Plane Windows Made Of.
From www.pinterest.com
Traveling the World Taught Me to Sit Still. Camille Willemain What Are Plane Windows Made Of airplane windows are an essential component of an aircraft, providing a clear view for pilots, passengers, and. Plexiglas) or polycarbonate (pc, lexan or makrolon) materials. as robbie gonzales at io9 explains, each window is actually made up of three layers, and the hole allows the air pressure between the. aircraft windows are crafted from multiple layers of. What Are Plane Windows Made Of.
From aerocorner.com
What Are Airplane Windows Made of? Aero Corner What Are Plane Windows Made Of windows are either made of acrylics (pmma, brand name e.g. The average airplane window can withstand over 1,750 lbs of force and is 15 mm thick. This plastic technology is engineered to endure the substantial stress and pressure differences experienced during flight. as robbie gonzales at io9 explains, each window is actually made up of three layers, and. What Are Plane Windows Made Of.
From thepointsguy.com
What Are Airplane Windows Made of? The Points Guy What Are Plane Windows Made Of aircraft windows are crafted from multiple layers of stretched acrylic, a choice of material for its mechanical strength, durability, low weight, and clarity. The average airplane window can withstand over 1,750 lbs of force and is 15 mm thick. airplane windows are made of a material called acrylic plastic, which is a very strong and lightweight material that. What Are Plane Windows Made Of.