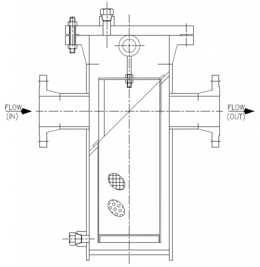
Basket Type Strainer Specifications . • if flow can be interrupted to enable cleaning of the basket use a simplex basket strainer and refer to this. Specified strainers are the y strainer and the basket strainer. Cast simplex strainers are used in applications where the flow can be interrupted for basket cleaning. These strainers are an excellent. Perforated screen with 11 gauge solid flat bottom screen material open area: While there is primarily one type of y strainer (fig. Enhance and improve the control of industrial flow with hayward's actuation ready butterfly valves, true union ball valves, strainers and filters. 1a, 1b), there are several. The keckley style d & dv strainers feature a machined basket seat to minimize particle bypass. The keckley style d & dv strainers feature a machined basket seat to minimize particle bypass.
from www.tengsvalve.com
The keckley style d & dv strainers feature a machined basket seat to minimize particle bypass. The keckley style d & dv strainers feature a machined basket seat to minimize particle bypass. 1a, 1b), there are several. These strainers are an excellent. Specified strainers are the y strainer and the basket strainer. While there is primarily one type of y strainer (fig. Cast simplex strainers are used in applications where the flow can be interrupted for basket cleaning. Enhance and improve the control of industrial flow with hayward's actuation ready butterfly valves, true union ball valves, strainers and filters. • if flow can be interrupted to enable cleaning of the basket use a simplex basket strainer and refer to this. Perforated screen with 11 gauge solid flat bottom screen material open area:
Fabricated Carbon Steel Simplex Basket Strainer DN900 PN16 Tengs Valve
Basket Type Strainer Specifications Cast simplex strainers are used in applications where the flow can be interrupted for basket cleaning. Enhance and improve the control of industrial flow with hayward's actuation ready butterfly valves, true union ball valves, strainers and filters. Cast simplex strainers are used in applications where the flow can be interrupted for basket cleaning. While there is primarily one type of y strainer (fig. The keckley style d & dv strainers feature a machined basket seat to minimize particle bypass. 1a, 1b), there are several. These strainers are an excellent. Perforated screen with 11 gauge solid flat bottom screen material open area: Specified strainers are the y strainer and the basket strainer. • if flow can be interrupted to enable cleaning of the basket use a simplex basket strainer and refer to this. The keckley style d & dv strainers feature a machined basket seat to minimize particle bypass.
From www.indiamart.com
Is 2062 Gr B MS Water Basket Type Strainer, Size/Dimension 100mm To Basket Type Strainer Specifications Specified strainers are the y strainer and the basket strainer. The keckley style d & dv strainers feature a machined basket seat to minimize particle bypass. Perforated screen with 11 gauge solid flat bottom screen material open area: • if flow can be interrupted to enable cleaning of the basket use a simplex basket strainer and refer to this. While. Basket Type Strainer Specifications.
From www.filtsep.com
Eaton introduces new range of pipeline basket strainers Basket Type Strainer Specifications While there is primarily one type of y strainer (fig. Enhance and improve the control of industrial flow with hayward's actuation ready butterfly valves, true union ball valves, strainers and filters. 1a, 1b), there are several. Specified strainers are the y strainer and the basket strainer. The keckley style d & dv strainers feature a machined basket seat to minimize. Basket Type Strainer Specifications.
From fuelsystemsuae.com
Basket Type Strainers Simplex & Duplex Bucket Type Strainer In Dubai Basket Type Strainer Specifications Specified strainers are the y strainer and the basket strainer. The keckley style d & dv strainers feature a machined basket seat to minimize particle bypass. Perforated screen with 11 gauge solid flat bottom screen material open area: The keckley style d & dv strainers feature a machined basket seat to minimize particle bypass. • if flow can be interrupted. Basket Type Strainer Specifications.
From www.tengsvalve.com
Basket Strainer 150LBS (Cast Body) Tengs Valve Basket Type Strainer Specifications These strainers are an excellent. The keckley style d & dv strainers feature a machined basket seat to minimize particle bypass. Specified strainers are the y strainer and the basket strainer. • if flow can be interrupted to enable cleaning of the basket use a simplex basket strainer and refer to this. Perforated screen with 11 gauge solid flat bottom. Basket Type Strainer Specifications.
From www.valvesonline.com.au
Flanged Table E Cast Iron Basket Strainer Basket Type Strainer Specifications Perforated screen with 11 gauge solid flat bottom screen material open area: 1a, 1b), there are several. Cast simplex strainers are used in applications where the flow can be interrupted for basket cleaning. Enhance and improve the control of industrial flow with hayward's actuation ready butterfly valves, true union ball valves, strainers and filters. These strainers are an excellent. While. Basket Type Strainer Specifications.
From weflo.com
UL Listed Y Strainers & Basket Strainers Basket Type Strainer Specifications Enhance and improve the control of industrial flow with hayward's actuation ready butterfly valves, true union ball valves, strainers and filters. The keckley style d & dv strainers feature a machined basket seat to minimize particle bypass. The keckley style d & dv strainers feature a machined basket seat to minimize particle bypass. These strainers are an excellent. While there. Basket Type Strainer Specifications.
From www.youtube.com
Bucket Strainer Basket Strainer Strainer Basket Strainer Basket Type Strainer Specifications 1a, 1b), there are several. Enhance and improve the control of industrial flow with hayward's actuation ready butterfly valves, true union ball valves, strainers and filters. The keckley style d & dv strainers feature a machined basket seat to minimize particle bypass. These strainers are an excellent. The keckley style d & dv strainers feature a machined basket seat to. Basket Type Strainer Specifications.
From lyfilter.en.made-in-china.com
Flange/Bolt Connection Carbon Stainless Steel Basket Type Strainer with Basket Type Strainer Specifications • if flow can be interrupted to enable cleaning of the basket use a simplex basket strainer and refer to this. 1a, 1b), there are several. Perforated screen with 11 gauge solid flat bottom screen material open area: The keckley style d & dv strainers feature a machined basket seat to minimize particle bypass. Cast simplex strainers are used in. Basket Type Strainer Specifications.
From alliedvalves.com
Basket Type Strainer Allied Industrial Products Basket Type Strainer Specifications These strainers are an excellent. Specified strainers are the y strainer and the basket strainer. Perforated screen with 11 gauge solid flat bottom screen material open area: The keckley style d & dv strainers feature a machined basket seat to minimize particle bypass. While there is primarily one type of y strainer (fig. 1a, 1b), there are several. The keckley. Basket Type Strainer Specifications.
From pipingnow.com
4" Basket Strainer 125 Flanged Cast Iron TITAN BSCI BS65I0400 Basket Type Strainer Specifications Enhance and improve the control of industrial flow with hayward's actuation ready butterfly valves, true union ball valves, strainers and filters. Specified strainers are the y strainer and the basket strainer. While there is primarily one type of y strainer (fig. The keckley style d & dv strainers feature a machined basket seat to minimize particle bypass. 1a, 1b), there. Basket Type Strainer Specifications.
From www.indiamart.com
BASKET TYPE STRAINER, Size/Dimension 2 Inch To 28 Inches, Rs 3500 Basket Type Strainer Specifications Cast simplex strainers are used in applications where the flow can be interrupted for basket cleaning. • if flow can be interrupted to enable cleaning of the basket use a simplex basket strainer and refer to this. 1a, 1b), there are several. The keckley style d & dv strainers feature a machined basket seat to minimize particle bypass. Enhance and. Basket Type Strainer Specifications.
From dir.indiamart.com
Basket Strainers Bucket Strainer Latest Price, Manufacturers & Suppliers Basket Type Strainer Specifications The keckley style d & dv strainers feature a machined basket seat to minimize particle bypass. Enhance and improve the control of industrial flow with hayward's actuation ready butterfly valves, true union ball valves, strainers and filters. Cast simplex strainers are used in applications where the flow can be interrupted for basket cleaning. The keckley style d & dv strainers. Basket Type Strainer Specifications.
From www.dvsvalve.com
Cast Steel Basket Type Strainer 1.5 Inch 150LB Flanged,Strainer Valve Basket Type Strainer Specifications • if flow can be interrupted to enable cleaning of the basket use a simplex basket strainer and refer to this. Perforated screen with 11 gauge solid flat bottom screen material open area: Enhance and improve the control of industrial flow with hayward's actuation ready butterfly valves, true union ball valves, strainers and filters. While there is primarily one type. Basket Type Strainer Specifications.
From www.carbonvalve.com
Interest to this product? post comment to us. Basket Type Strainer Specifications Cast simplex strainers are used in applications where the flow can be interrupted for basket cleaning. Perforated screen with 11 gauge solid flat bottom screen material open area: Enhance and improve the control of industrial flow with hayward's actuation ready butterfly valves, true union ball valves, strainers and filters. These strainers are an excellent. Specified strainers are the y strainer. Basket Type Strainer Specifications.
From customstrainers-store.com
Basket Type Pipe Size 10" Custom Strainers Basket Type Strainer Specifications These strainers are an excellent. The keckley style d & dv strainers feature a machined basket seat to minimize particle bypass. While there is primarily one type of y strainer (fig. Perforated screen with 11 gauge solid flat bottom screen material open area: Cast simplex strainers are used in applications where the flow can be interrupted for basket cleaning. 1a,. Basket Type Strainer Specifications.
From pipingnow.com
6" Basket Strainer 300 Flanged Carbon Steel TITAN BSCS BS86C0600 Basket Type Strainer Specifications 1a, 1b), there are several. Specified strainers are the y strainer and the basket strainer. Enhance and improve the control of industrial flow with hayward's actuation ready butterfly valves, true union ball valves, strainers and filters. These strainers are an excellent. Cast simplex strainers are used in applications where the flow can be interrupted for basket cleaning. While there is. Basket Type Strainer Specifications.
From www.tengsvalve.com
Basket Strainer Din PN16 PN25 (Fabricated Body) Tengs Valve Basket Type Strainer Specifications Specified strainers are the y strainer and the basket strainer. These strainers are an excellent. Perforated screen with 11 gauge solid flat bottom screen material open area: The keckley style d & dv strainers feature a machined basket seat to minimize particle bypass. While there is primarily one type of y strainer (fig. • if flow can be interrupted to. Basket Type Strainer Specifications.
From www.agitatormanufacturer.com
Basket / Bucket Strainer Basket Type Strainer Specifications Perforated screen with 11 gauge solid flat bottom screen material open area: The keckley style d & dv strainers feature a machined basket seat to minimize particle bypass. While there is primarily one type of y strainer (fig. Specified strainers are the y strainer and the basket strainer. Enhance and improve the control of industrial flow with hayward's actuation ready. Basket Type Strainer Specifications.
From mettlevalves.com
25MM TO 600MM Basket Type Strainer Mettle Valves Mfg. Co. Basket Type Strainer Specifications Cast simplex strainers are used in applications where the flow can be interrupted for basket cleaning. The keckley style d & dv strainers feature a machined basket seat to minimize particle bypass. 1a, 1b), there are several. • if flow can be interrupted to enable cleaning of the basket use a simplex basket strainer and refer to this. Specified strainers. Basket Type Strainer Specifications.
From www.ferrobend.com
Stainless Steel 904L Basket Type Strainers FerroBend Basket Type Strainer Specifications Cast simplex strainers are used in applications where the flow can be interrupted for basket cleaning. These strainers are an excellent. 1a, 1b), there are several. Enhance and improve the control of industrial flow with hayward's actuation ready butterfly valves, true union ball valves, strainers and filters. Specified strainers are the y strainer and the basket strainer. The keckley style. Basket Type Strainer Specifications.
From www.brotherfiltration.com
Ultimate Guide to basket strainer Brother Filtration Basket Type Strainer Specifications Enhance and improve the control of industrial flow with hayward's actuation ready butterfly valves, true union ball valves, strainers and filters. Specified strainers are the y strainer and the basket strainer. The keckley style d & dv strainers feature a machined basket seat to minimize particle bypass. Cast simplex strainers are used in applications where the flow can be interrupted. Basket Type Strainer Specifications.
From www.ato.com
6 inch Stainless Steel Basket Strainer Basket Type Strainer Specifications Perforated screen with 11 gauge solid flat bottom screen material open area: Cast simplex strainers are used in applications where the flow can be interrupted for basket cleaning. 1a, 1b), there are several. • if flow can be interrupted to enable cleaning of the basket use a simplex basket strainer and refer to this. The keckley style d & dv. Basket Type Strainer Specifications.
From www.valvsourceamerica.com
Bronze Basket Strainers by SSI Class 150 Flanged, ASTM B62 Basket Type Strainer Specifications Perforated screen with 11 gauge solid flat bottom screen material open area: Enhance and improve the control of industrial flow with hayward's actuation ready butterfly valves, true union ball valves, strainers and filters. • if flow can be interrupted to enable cleaning of the basket use a simplex basket strainer and refer to this. Cast simplex strainers are used in. Basket Type Strainer Specifications.
From www.tengsvalve.com
Basket Strainer Din PN16 PN25 (Fabricated Body) Tengs Valve Basket Type Strainer Specifications • if flow can be interrupted to enable cleaning of the basket use a simplex basket strainer and refer to this. Cast simplex strainers are used in applications where the flow can be interrupted for basket cleaning. Enhance and improve the control of industrial flow with hayward's actuation ready butterfly valves, true union ball valves, strainers and filters. The keckley. Basket Type Strainer Specifications.
From washing.ironarnie.ru
Basket type strainer catalogue Dishwashing service Basket Type Strainer Specifications These strainers are an excellent. While there is primarily one type of y strainer (fig. Cast simplex strainers are used in applications where the flow can be interrupted for basket cleaning. Enhance and improve the control of industrial flow with hayward's actuation ready butterfly valves, true union ball valves, strainers and filters. 1a, 1b), there are several. • if flow. Basket Type Strainer Specifications.
From www.tengsvalve.com
Fabricated Carbon Steel Simplex Basket Strainer DN900 PN16 Tengs Valve Basket Type Strainer Specifications The keckley style d & dv strainers feature a machined basket seat to minimize particle bypass. While there is primarily one type of y strainer (fig. Cast simplex strainers are used in applications where the flow can be interrupted for basket cleaning. Enhance and improve the control of industrial flow with hayward's actuation ready butterfly valves, true union ball valves,. Basket Type Strainer Specifications.
From www.brotherfiltration.com
Basket strainer Brother Filtration Basket Type Strainer Specifications The keckley style d & dv strainers feature a machined basket seat to minimize particle bypass. • if flow can be interrupted to enable cleaning of the basket use a simplex basket strainer and refer to this. 1a, 1b), there are several. Enhance and improve the control of industrial flow with hayward's actuation ready butterfly valves, true union ball valves,. Basket Type Strainer Specifications.
From www.sureflowequipment.com
CustomStrainerOptionsFabricatedBasketStrainersS Sure Flow Basket Type Strainer Specifications • if flow can be interrupted to enable cleaning of the basket use a simplex basket strainer and refer to this. Specified strainers are the y strainer and the basket strainer. 1a, 1b), there are several. Perforated screen with 11 gauge solid flat bottom screen material open area: While there is primarily one type of y strainer (fig. These strainers. Basket Type Strainer Specifications.
From www.indiamart.com
Basket Type Strainer, Fabricated Basket Filter, टोकरी स्ट्रेनर, बास्केट Basket Type Strainer Specifications Cast simplex strainers are used in applications where the flow can be interrupted for basket cleaning. These strainers are an excellent. While there is primarily one type of y strainer (fig. Specified strainers are the y strainer and the basket strainer. The keckley style d & dv strainers feature a machined basket seat to minimize particle bypass. 1a, 1b), there. Basket Type Strainer Specifications.
From mssnt.co.kr
Basket Type Strainer 엠에스앤티(주) Basket Type Strainer Specifications Cast simplex strainers are used in applications where the flow can be interrupted for basket cleaning. The keckley style d & dv strainers feature a machined basket seat to minimize particle bypass. Specified strainers are the y strainer and the basket strainer. These strainers are an excellent. 1a, 1b), there are several. Enhance and improve the control of industrial flow. Basket Type Strainer Specifications.
From www.bbsinter.com
Basket type Strainer specifications "IWAKO" Basket Type Strainer Specifications While there is primarily one type of y strainer (fig. Perforated screen with 11 gauge solid flat bottom screen material open area: Cast simplex strainers are used in applications where the flow can be interrupted for basket cleaning. • if flow can be interrupted to enable cleaning of the basket use a simplex basket strainer and refer to this. 1a,. Basket Type Strainer Specifications.
From scindustrialsales.com
ALUMINUM BRONZE BASKET STRAINER Pumping & Filtration Solutions Basket Type Strainer Specifications 1a, 1b), there are several. The keckley style d & dv strainers feature a machined basket seat to minimize particle bypass. Specified strainers are the y strainer and the basket strainer. Enhance and improve the control of industrial flow with hayward's actuation ready butterfly valves, true union ball valves, strainers and filters. • if flow can be interrupted to enable. Basket Type Strainer Specifications.
From apienergy.co.uk
Y & Basket Type Strainers API Energy Basket Type Strainer Specifications Perforated screen with 11 gauge solid flat bottom screen material open area: These strainers are an excellent. Cast simplex strainers are used in applications where the flow can be interrupted for basket cleaning. While there is primarily one type of y strainer (fig. 1a, 1b), there are several. Enhance and improve the control of industrial flow with hayward's actuation ready. Basket Type Strainer Specifications.
From www.dewaterproducts.com.au
Simplex Basket Strainer 316 SS Flanged Table E Simplex Basket Basket Type Strainer Specifications The keckley style d & dv strainers feature a machined basket seat to minimize particle bypass. The keckley style d & dv strainers feature a machined basket seat to minimize particle bypass. Specified strainers are the y strainer and the basket strainer. • if flow can be interrupted to enable cleaning of the basket use a simplex basket strainer and. Basket Type Strainer Specifications.
From www.siebkorbfilter.de
Basket strainers Type SKF Industriefilter Siebkorbfilter Basket Type Strainer Specifications Enhance and improve the control of industrial flow with hayward's actuation ready butterfly valves, true union ball valves, strainers and filters. • if flow can be interrupted to enable cleaning of the basket use a simplex basket strainer and refer to this. 1a, 1b), there are several. The keckley style d & dv strainers feature a machined basket seat to. Basket Type Strainer Specifications.