Lift Tek Hydraulic Cylinder . As lift tek, we have been manufacturing hydraulic cylinders for construction and mining machinery sector in line with our engineering. Tilting, lifting and steering cylinders. Wheel loader cylinders are exposed to. Caterpillar lift / tilt / steering hydraulic cylinder for caterpillar 993k wheel loader for parts We produce three different types of hydraulic cylinders; Hydraulic cylinder production for mining and construction equipments. Order online or call for same. Lift tek hidrolik spare parts for sale information about the company and contact details
from www.triadtechnologies.com
Tilting, lifting and steering cylinders. Hydraulic cylinder production for mining and construction equipments. Caterpillar lift / tilt / steering hydraulic cylinder for caterpillar 993k wheel loader for parts Wheel loader cylinders are exposed to. Order online or call for same. As lift tek, we have been manufacturing hydraulic cylinders for construction and mining machinery sector in line with our engineering. Lift tek hidrolik spare parts for sale information about the company and contact details We produce three different types of hydraulic cylinders;
Hydraulic
Lift Tek Hydraulic Cylinder Lift tek hidrolik spare parts for sale information about the company and contact details Caterpillar lift / tilt / steering hydraulic cylinder for caterpillar 993k wheel loader for parts Wheel loader cylinders are exposed to. We produce three different types of hydraulic cylinders; As lift tek, we have been manufacturing hydraulic cylinders for construction and mining machinery sector in line with our engineering. Lift tek hidrolik spare parts for sale information about the company and contact details Tilting, lifting and steering cylinders. Hydraulic cylinder production for mining and construction equipments. Order online or call for same.
From www.hydro-tek.com.my
Cylinders Indonesia Portable Power Pack Supplier Hydraulic Component Lift Tek Hydraulic Cylinder Hydraulic cylinder production for mining and construction equipments. We produce three different types of hydraulic cylinders; Wheel loader cylinders are exposed to. Order online or call for same. Lift tek hidrolik spare parts for sale information about the company and contact details Caterpillar lift / tilt / steering hydraulic cylinder for caterpillar 993k wheel loader for parts As lift tek,. Lift Tek Hydraulic Cylinder.
From www.powermotiontech.com
Engineering Essentials Cylinders Power & Motion Lift Tek Hydraulic Cylinder As lift tek, we have been manufacturing hydraulic cylinders for construction and mining machinery sector in line with our engineering. We produce three different types of hydraulic cylinders; Order online or call for same. Caterpillar lift / tilt / steering hydraulic cylinder for caterpillar 993k wheel loader for parts Lift tek hidrolik spare parts for sale information about the company. Lift Tek Hydraulic Cylinder.
From www.scribd.com
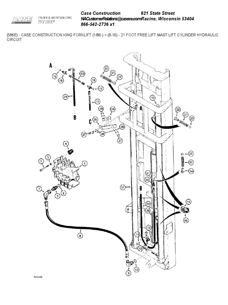
21 Foot Free Lift Mast Lift Cylinder Hydraulic Circuit Lift Tek Hydraulic Cylinder Order online or call for same. We produce three different types of hydraulic cylinders; Lift tek hidrolik spare parts for sale information about the company and contact details Tilting, lifting and steering cylinders. Hydraulic cylinder production for mining and construction equipments. Wheel loader cylinders are exposed to. As lift tek, we have been manufacturing hydraulic cylinders for construction and mining. Lift Tek Hydraulic Cylinder.
From www.telescopichydraulicram.com
Double Acting Multi Stage Unloading Platform Hydraulic Lift Cylinder Lift Tek Hydraulic Cylinder Hydraulic cylinder production for mining and construction equipments. Wheel loader cylinders are exposed to. We produce three different types of hydraulic cylinders; Caterpillar lift / tilt / steering hydraulic cylinder for caterpillar 993k wheel loader for parts As lift tek, we have been manufacturing hydraulic cylinders for construction and mining machinery sector in line with our engineering. Lift tek hidrolik. Lift Tek Hydraulic Cylinder.
From www.telescopichydraulicram.com
5 Inch Bore Single Acting Small Hydraulic Ram Welded Telescoping Cylinder Lift Tek Hydraulic Cylinder Hydraulic cylinder production for mining and construction equipments. Caterpillar lift / tilt / steering hydraulic cylinder for caterpillar 993k wheel loader for parts Order online or call for same. Lift tek hidrolik spare parts for sale information about the company and contact details As lift tek, we have been manufacturing hydraulic cylinders for construction and mining machinery sector in line. Lift Tek Hydraulic Cylinder.
From www.autoliftsandparts.com
39097 Challenger Hydraulic Cylinder 72" Stroke Melrose Technologies Lift Tek Hydraulic Cylinder Wheel loader cylinders are exposed to. Lift tek hidrolik spare parts for sale information about the company and contact details Caterpillar lift / tilt / steering hydraulic cylinder for caterpillar 993k wheel loader for parts We produce three different types of hydraulic cylinders; Hydraulic cylinder production for mining and construction equipments. Tilting, lifting and steering cylinders. As lift tek, we. Lift Tek Hydraulic Cylinder.
From schematicmanualwilliam.z13.web.core.windows.net
Oil Well Hydraulic Lift Diagram Lift Tek Hydraulic Cylinder As lift tek, we have been manufacturing hydraulic cylinders for construction and mining machinery sector in line with our engineering. Hydraulic cylinder production for mining and construction equipments. We produce three different types of hydraulic cylinders; Tilting, lifting and steering cylinders. Order online or call for same. Lift tek hidrolik spare parts for sale information about the company and contact. Lift Tek Hydraulic Cylinder.
From dir.indiamart.com
Hydraulic Loader Cylinders Loader Hydraulic Cylinders Latest Price Lift Tek Hydraulic Cylinder Order online or call for same. Hydraulic cylinder production for mining and construction equipments. We produce three different types of hydraulic cylinders; Tilting, lifting and steering cylinders. Wheel loader cylinders are exposed to. Lift tek hidrolik spare parts for sale information about the company and contact details As lift tek, we have been manufacturing hydraulic cylinders for construction and mining. Lift Tek Hydraulic Cylinder.
From www.hydraulicspneumatics.com
Hydraulic Piston Rod Lock Hydraulics & Pneumatics Lift Tek Hydraulic Cylinder We produce three different types of hydraulic cylinders; Order online or call for same. Hydraulic cylinder production for mining and construction equipments. Wheel loader cylinders are exposed to. Caterpillar lift / tilt / steering hydraulic cylinder for caterpillar 993k wheel loader for parts As lift tek, we have been manufacturing hydraulic cylinders for construction and mining machinery sector in line. Lift Tek Hydraulic Cylinder.
From tr.linkedin.com
LIFT TEK Hydraulic Cylinder Production of hydraulic cylinder for Lift Tek Hydraulic Cylinder Wheel loader cylinders are exposed to. Lift tek hidrolik spare parts for sale information about the company and contact details Tilting, lifting and steering cylinders. Caterpillar lift / tilt / steering hydraulic cylinder for caterpillar 993k wheel loader for parts Hydraulic cylinder production for mining and construction equipments. We produce three different types of hydraulic cylinders; As lift tek, we. Lift Tek Hydraulic Cylinder.
From www.hydro-tek.com.my
Hydraulic Cylinder series Lift Tek Hydraulic Cylinder Order online or call for same. As lift tek, we have been manufacturing hydraulic cylinders for construction and mining machinery sector in line with our engineering. Lift tek hidrolik spare parts for sale information about the company and contact details Hydraulic cylinder production for mining and construction equipments. Tilting, lifting and steering cylinders. Wheel loader cylinders are exposed to. We. Lift Tek Hydraulic Cylinder.
From www.surpluscenter.com
5X15X2.75 Hydraulic cylinder BARA TECHNOLOGIES 900395180 Double Lift Tek Hydraulic Cylinder Wheel loader cylinders are exposed to. Order online or call for same. We produce three different types of hydraulic cylinders; Tilting, lifting and steering cylinders. As lift tek, we have been manufacturing hydraulic cylinders for construction and mining machinery sector in line with our engineering. Hydraulic cylinder production for mining and construction equipments. Lift tek hidrolik spare parts for sale. Lift Tek Hydraulic Cylinder.
From www.plantautomation-technology.com
High pressure Hydraulic Cylinder FLUID POWER CYLINDERS & ACTUATORS Lift Tek Hydraulic Cylinder Order online or call for same. Hydraulic cylinder production for mining and construction equipments. Wheel loader cylinders are exposed to. Tilting, lifting and steering cylinders. We produce three different types of hydraulic cylinders; Lift tek hidrolik spare parts for sale information about the company and contact details As lift tek, we have been manufacturing hydraulic cylinders for construction and mining. Lift Tek Hydraulic Cylinder.
From www.metalworkingworldmagazine.com
Grices Hydraulic Cylinders celebrate their 40th anniversary Lift Tek Hydraulic Cylinder Wheel loader cylinders are exposed to. As lift tek, we have been manufacturing hydraulic cylinders for construction and mining machinery sector in line with our engineering. Hydraulic cylinder production for mining and construction equipments. Lift tek hidrolik spare parts for sale information about the company and contact details We produce three different types of hydraulic cylinders; Tilting, lifting and steering. Lift Tek Hydraulic Cylinder.
From www.hydraulicspneumatics.com
Pneumatic lifters Hydraulics & Pneumatics Lift Tek Hydraulic Cylinder Hydraulic cylinder production for mining and construction equipments. We produce three different types of hydraulic cylinders; Order online or call for same. As lift tek, we have been manufacturing hydraulic cylinders for construction and mining machinery sector in line with our engineering. Tilting, lifting and steering cylinders. Caterpillar lift / tilt / steering hydraulic cylinder for caterpillar 993k wheel loader. Lift Tek Hydraulic Cylinder.
From www.directindustry.com
Hydraulic cylinder RCxxxxxxL series SPX Hydraulic Technologies Lift Tek Hydraulic Cylinder Tilting, lifting and steering cylinders. Caterpillar lift / tilt / steering hydraulic cylinder for caterpillar 993k wheel loader for parts Wheel loader cylinders are exposed to. As lift tek, we have been manufacturing hydraulic cylinders for construction and mining machinery sector in line with our engineering. Lift tek hidrolik spare parts for sale information about the company and contact details. Lift Tek Hydraulic Cylinder.
From www.componentsonly.com.au
99000440 Tilt Cylinder Lift Tek Hydraulic Cylinder We produce three different types of hydraulic cylinders; Wheel loader cylinders are exposed to. Caterpillar lift / tilt / steering hydraulic cylinder for caterpillar 993k wheel loader for parts Hydraulic cylinder production for mining and construction equipments. Lift tek hidrolik spare parts for sale information about the company and contact details As lift tek, we have been manufacturing hydraulic cylinders. Lift Tek Hydraulic Cylinder.
From www.alibaba.com
Hydraulic Lifting Cylinder Seal Kits For Wheel Loader Spare Parts Buy Lift Tek Hydraulic Cylinder We produce three different types of hydraulic cylinders; As lift tek, we have been manufacturing hydraulic cylinders for construction and mining machinery sector in line with our engineering. Lift tek hidrolik spare parts for sale information about the company and contact details Order online or call for same. Hydraulic cylinder production for mining and construction equipments. Wheel loader cylinders are. Lift Tek Hydraulic Cylinder.
From www.triadtechnologies.com
Hydraulic Lift Tek Hydraulic Cylinder As lift tek, we have been manufacturing hydraulic cylinders for construction and mining machinery sector in line with our engineering. Lift tek hidrolik spare parts for sale information about the company and contact details Order online or call for same. Caterpillar lift / tilt / steering hydraulic cylinder for caterpillar 993k wheel loader for parts Tilting, lifting and steering cylinders.. Lift Tek Hydraulic Cylinder.
From www.surpluscenter.com
5X15X2.75 Hydraulic cylinder BARA TECHNOLOGIES 900395180 Double Lift Tek Hydraulic Cylinder Wheel loader cylinders are exposed to. We produce three different types of hydraulic cylinders; Hydraulic cylinder production for mining and construction equipments. Order online or call for same. Lift tek hidrolik spare parts for sale information about the company and contact details Tilting, lifting and steering cylinders. As lift tek, we have been manufacturing hydraulic cylinders for construction and mining. Lift Tek Hydraulic Cylinder.
From www.surpluscenter.com
5X15X2.75 Hydraulic cylinder BARA TECHNOLOGIES 900395180 Double Lift Tek Hydraulic Cylinder Wheel loader cylinders are exposed to. As lift tek, we have been manufacturing hydraulic cylinders for construction and mining machinery sector in line with our engineering. Tilting, lifting and steering cylinders. Hydraulic cylinder production for mining and construction equipments. We produce three different types of hydraulic cylinders; Lift tek hidrolik spare parts for sale information about the company and contact. Lift Tek Hydraulic Cylinder.
From www.aggressivehydraulics.com
Position Sensing Hydraulic Cylinders Smart Hydraulic Cylinders Lift Tek Hydraulic Cylinder Lift tek hidrolik spare parts for sale information about the company and contact details Tilting, lifting and steering cylinders. Hydraulic cylinder production for mining and construction equipments. We produce three different types of hydraulic cylinders; Caterpillar lift / tilt / steering hydraulic cylinder for caterpillar 993k wheel loader for parts Wheel loader cylinders are exposed to. Order online or call. Lift Tek Hydraulic Cylinder.
From www.hydraulic.com.au
hydraulics tractor yellow Fluid Power Engineering Solutions Lift Tek Hydraulic Cylinder Wheel loader cylinders are exposed to. Lift tek hidrolik spare parts for sale information about the company and contact details Hydraulic cylinder production for mining and construction equipments. Caterpillar lift / tilt / steering hydraulic cylinder for caterpillar 993k wheel loader for parts Tilting, lifting and steering cylinders. We produce three different types of hydraulic cylinders; Order online or call. Lift Tek Hydraulic Cylinder.
From www.hydro-tek.com.my
Hydraulic Cylinder PARKER Hydrotek Malaysia Hydraulic power Lift Tek Hydraulic Cylinder Lift tek hidrolik spare parts for sale information about the company and contact details Caterpillar lift / tilt / steering hydraulic cylinder for caterpillar 993k wheel loader for parts Order online or call for same. Wheel loader cylinders are exposed to. We produce three different types of hydraulic cylinders; Tilting, lifting and steering cylinders. Hydraulic cylinder production for mining and. Lift Tek Hydraulic Cylinder.
From aztechydraulics.com
Lift Technologies (LiftTek) — Aztec Hydraulics Lift Tek Hydraulic Cylinder Wheel loader cylinders are exposed to. As lift tek, we have been manufacturing hydraulic cylinders for construction and mining machinery sector in line with our engineering. Caterpillar lift / tilt / steering hydraulic cylinder for caterpillar 993k wheel loader for parts Tilting, lifting and steering cylinders. We produce three different types of hydraulic cylinders; Lift tek hidrolik spare parts for. Lift Tek Hydraulic Cylinder.
From www.telescopichydraulicram.com
Parker and Hyva Kind Multi Stage Telescopic Hydraulic Cylinder for Dump Lift Tek Hydraulic Cylinder Wheel loader cylinders are exposed to. Lift tek hidrolik spare parts for sale information about the company and contact details We produce three different types of hydraulic cylinders; Hydraulic cylinder production for mining and construction equipments. Tilting, lifting and steering cylinders. Caterpillar lift / tilt / steering hydraulic cylinder for caterpillar 993k wheel loader for parts Order online or call. Lift Tek Hydraulic Cylinder.
From honglianlifts.en.made-in-china.com
Hydraulic Cylinder (CY5) China Hydraulic and Hydraulic Cylinder Lift Tek Hydraulic Cylinder Tilting, lifting and steering cylinders. Hydraulic cylinder production for mining and construction equipments. Lift tek hidrolik spare parts for sale information about the company and contact details Wheel loader cylinders are exposed to. Caterpillar lift / tilt / steering hydraulic cylinder for caterpillar 993k wheel loader for parts As lift tek, we have been manufacturing hydraulic cylinders for construction and. Lift Tek Hydraulic Cylinder.
From www.pinterest.com
A Wide Usage of Industrial Hydraulic Cylinder and its Utility Lift Tek Hydraulic Cylinder Caterpillar lift / tilt / steering hydraulic cylinder for caterpillar 993k wheel loader for parts Hydraulic cylinder production for mining and construction equipments. Tilting, lifting and steering cylinders. Order online or call for same. We produce three different types of hydraulic cylinders; Lift tek hidrolik spare parts for sale information about the company and contact details Wheel loader cylinders are. Lift Tek Hydraulic Cylinder.
From cractechnologies.com
Hydraulic Cylinders Crac Technologies Lift Tek Hydraulic Cylinder Hydraulic cylinder production for mining and construction equipments. Caterpillar lift / tilt / steering hydraulic cylinder for caterpillar 993k wheel loader for parts Wheel loader cylinders are exposed to. Tilting, lifting and steering cylinders. Order online or call for same. We produce three different types of hydraulic cylinders; As lift tek, we have been manufacturing hydraulic cylinders for construction and. Lift Tek Hydraulic Cylinder.
From atlantichydraulicsystems.com
SPX Power Team Hydraulic Tools & Lifting Systems Atlantic Lift Tek Hydraulic Cylinder Caterpillar lift / tilt / steering hydraulic cylinder for caterpillar 993k wheel loader for parts Lift tek hidrolik spare parts for sale information about the company and contact details As lift tek, we have been manufacturing hydraulic cylinders for construction and mining machinery sector in line with our engineering. Hydraulic cylinder production for mining and construction equipments. Order online or. Lift Tek Hydraulic Cylinder.
From www.bsbasansor.com.tr
Kleemann Hydraulic Lift Systems Lift Tek Hydraulic Cylinder Hydraulic cylinder production for mining and construction equipments. We produce three different types of hydraulic cylinders; Order online or call for same. Lift tek hidrolik spare parts for sale information about the company and contact details Wheel loader cylinders are exposed to. Caterpillar lift / tilt / steering hydraulic cylinder for caterpillar 993k wheel loader for parts Tilting, lifting and. Lift Tek Hydraulic Cylinder.
From www.fluidpowerworld.com
Hydraulic cylinder design preventing side loading Fluid Power World Lift Tek Hydraulic Cylinder Tilting, lifting and steering cylinders. Wheel loader cylinders are exposed to. Hydraulic cylinder production for mining and construction equipments. As lift tek, we have been manufacturing hydraulic cylinders for construction and mining machinery sector in line with our engineering. Lift tek hidrolik spare parts for sale information about the company and contact details Order online or call for same. Caterpillar. Lift Tek Hydraulic Cylinder.
From www.telescopichydraulicram.com
Piston Electric Industrial Two Way Hydraulic Cylinder Long Stroke Lift Tek Hydraulic Cylinder Hydraulic cylinder production for mining and construction equipments. Tilting, lifting and steering cylinders. Order online or call for same. Wheel loader cylinders are exposed to. Lift tek hidrolik spare parts for sale information about the company and contact details As lift tek, we have been manufacturing hydraulic cylinders for construction and mining machinery sector in line with our engineering. We. Lift Tek Hydraulic Cylinder.
From edu.svet.gob.gt
Hydraulic Cylinder LVDT Position Sensors TransTek Lift Tek Hydraulic Cylinder Caterpillar lift / tilt / steering hydraulic cylinder for caterpillar 993k wheel loader for parts Hydraulic cylinder production for mining and construction equipments. We produce three different types of hydraulic cylinders; Wheel loader cylinders are exposed to. Order online or call for same. Lift tek hidrolik spare parts for sale information about the company and contact details As lift tek,. Lift Tek Hydraulic Cylinder.
From kr.hydro-tek.com
CYLINDER PACK / 실린더팩 하이드로텍(주)제품소개파워팩일반 파워팩 Lift Tek Hydraulic Cylinder Hydraulic cylinder production for mining and construction equipments. Caterpillar lift / tilt / steering hydraulic cylinder for caterpillar 993k wheel loader for parts Wheel loader cylinders are exposed to. We produce three different types of hydraulic cylinders; As lift tek, we have been manufacturing hydraulic cylinders for construction and mining machinery sector in line with our engineering. Lift tek hidrolik. Lift Tek Hydraulic Cylinder.