Dodge Ram Steering Column Tilt . Either remove the column cover and push the lever inside it and put it in the position you want it in then replace the cover or put a. You can see the piece that i'm talking about in the pictures in the first. I was so disappointed that the conventional tilt steering wheel has been. In this video i will show you how to fix your steering wheel that will not tilt up and down any more. I already read the steering column faqs and articles and the columns pictured (saginaw i think) look nothing like the. I would try to push. I'm a newbie to dodge products and i need too repair what seems to be a bad connection on the steering column at the top. Now i've had tilt steering cars my whole dang driving life and never, ever could feel or hear anything in the column. The upper shroud around the steering column is probably hitting a fixed part of the instrument panel structure. I recently saw the new 2019 ram in person. I recently attempted to actuate.
from www.ebay.com
The upper shroud around the steering column is probably hitting a fixed part of the instrument panel structure. I recently saw the new 2019 ram in person. Now i've had tilt steering cars my whole dang driving life and never, ever could feel or hear anything in the column. I would try to push. Either remove the column cover and push the lever inside it and put it in the position you want it in then replace the cover or put a. In this video i will show you how to fix your steering wheel that will not tilt up and down any more. I was so disappointed that the conventional tilt steering wheel has been. I already read the steering column faqs and articles and the columns pictured (saginaw i think) look nothing like the. You can see the piece that i'm talking about in the pictures in the first. I'm a newbie to dodge products and i need too repair what seems to be a bad connection on the steering column at the top.
95 96 Dodge Ram 1500 2500 3500 Steering Column Assembly Column Shift
Dodge Ram Steering Column Tilt I recently attempted to actuate. I'm a newbie to dodge products and i need too repair what seems to be a bad connection on the steering column at the top. I would try to push. I was so disappointed that the conventional tilt steering wheel has been. I recently saw the new 2019 ram in person. I recently attempted to actuate. The upper shroud around the steering column is probably hitting a fixed part of the instrument panel structure. Either remove the column cover and push the lever inside it and put it in the position you want it in then replace the cover or put a. In this video i will show you how to fix your steering wheel that will not tilt up and down any more. You can see the piece that i'm talking about in the pictures in the first. Now i've had tilt steering cars my whole dang driving life and never, ever could feel or hear anything in the column. I already read the steering column faqs and articles and the columns pictured (saginaw i think) look nothing like the.
From wiringfixblizzard.z4.web.core.windows.net
Dodge Ram Steering Column Parts Dodge Ram Steering Column Tilt I recently attempted to actuate. I already read the steering column faqs and articles and the columns pictured (saginaw i think) look nothing like the. The upper shroud around the steering column is probably hitting a fixed part of the instrument panel structure. Either remove the column cover and push the lever inside it and put it in the position. Dodge Ram Steering Column Tilt.
From enginemoses88.z13.web.core.windows.net
2001 Dodge Ram 1500 Steering Column Bushing Dodge Ram Steering Column Tilt In this video i will show you how to fix your steering wheel that will not tilt up and down any more. I already read the steering column faqs and articles and the columns pictured (saginaw i think) look nothing like the. Either remove the column cover and push the lever inside it and put it in the position you. Dodge Ram Steering Column Tilt.
From wirelibschweizer.z19.web.core.windows.net
Dodge Ram Steering Column Replacement Dodge Ram Steering Column Tilt I was so disappointed that the conventional tilt steering wheel has been. I recently saw the new 2019 ram in person. I already read the steering column faqs and articles and the columns pictured (saginaw i think) look nothing like the. I'm a newbie to dodge products and i need too repair what seems to be a bad connection on. Dodge Ram Steering Column Tilt.
From www.ebay.com
95 96 Dodge Ram 1500 2500 3500 Steering Column Assembly Column Shift Dodge Ram Steering Column Tilt You can see the piece that i'm talking about in the pictures in the first. I already read the steering column faqs and articles and the columns pictured (saginaw i think) look nothing like the. I would try to push. I recently attempted to actuate. I recently saw the new 2019 ram in person. The upper shroud around the steering. Dodge Ram Steering Column Tilt.
From www.ebay.com
95 96 Dodge Ram 1500 2500 3500 Steering Column Assembly Column Shift Dodge Ram Steering Column Tilt Either remove the column cover and push the lever inside it and put it in the position you want it in then replace the cover or put a. The upper shroud around the steering column is probably hitting a fixed part of the instrument panel structure. I would try to push. I recently saw the new 2019 ram in person.. Dodge Ram Steering Column Tilt.
From dodgecarsbest.blogspot.com
Dodge Ram Used Parts Dodge Cars Best Dodge Ram Steering Column Tilt I would try to push. In this video i will show you how to fix your steering wheel that will not tilt up and down any more. The upper shroud around the steering column is probably hitting a fixed part of the instrument panel structure. I recently saw the new 2019 ram in person. You can see the piece that. Dodge Ram Steering Column Tilt.
From mavink.com
Dodge Ram Steering Column Diagram Dodge Ram Steering Column Tilt I would try to push. The upper shroud around the steering column is probably hitting a fixed part of the instrument panel structure. Now i've had tilt steering cars my whole dang driving life and never, ever could feel or hear anything in the column. I was so disappointed that the conventional tilt steering wheel has been. I recently saw. Dodge Ram Steering Column Tilt.
From www.2040-parts.com
Purchase 1991 Dodge Truck Tilt Steering Column 91 92 Mopar Ram Pick Up Dodge Ram Steering Column Tilt Either remove the column cover and push the lever inside it and put it in the position you want it in then replace the cover or put a. I was so disappointed that the conventional tilt steering wheel has been. I would try to push. I already read the steering column faqs and articles and the columns pictured (saginaw i. Dodge Ram Steering Column Tilt.
From www.youtube.com
DODGE DURANGO RAM TILT STEERING WHEEL LEVER "REPAIR" YouTube Dodge Ram Steering Column Tilt Now i've had tilt steering cars my whole dang driving life and never, ever could feel or hear anything in the column. I would try to push. In this video i will show you how to fix your steering wheel that will not tilt up and down any more. I recently attempted to actuate. The upper shroud around the steering. Dodge Ram Steering Column Tilt.
From www.myxxgirl.com
Dodge Ram Steering Column Assembly My XXX Hot Girl Dodge Ram Steering Column Tilt I was so disappointed that the conventional tilt steering wheel has been. I recently saw the new 2019 ram in person. You can see the piece that i'm talking about in the pictures in the first. I'm a newbie to dodge products and i need too repair what seems to be a bad connection on the steering column at the. Dodge Ram Steering Column Tilt.
From www.moparpartsgiant.com
1987 Dodge Ram Van Column, Steering, Tilt Upper & Lower Dodge Ram Steering Column Tilt I'm a newbie to dodge products and i need too repair what seems to be a bad connection on the steering column at the top. I already read the steering column faqs and articles and the columns pictured (saginaw i think) look nothing like the. Now i've had tilt steering cars my whole dang driving life and never, ever could. Dodge Ram Steering Column Tilt.
From octopus-center.com
DODGE RAM LEVER TILT STEERING COLUMN ADJUSTER COLUMN RELEASE 20102018 Dodge Ram Steering Column Tilt I recently saw the new 2019 ram in person. I would try to push. I'm a newbie to dodge products and i need too repair what seems to be a bad connection on the steering column at the top. Now i've had tilt steering cars my whole dang driving life and never, ever could feel or hear anything in the. Dodge Ram Steering Column Tilt.
From www.moparpartsgiant.com
2005 Dodge Ram 2500 Column, Steering Upper And Lower Dodge Ram Steering Column Tilt I'm a newbie to dodge products and i need too repair what seems to be a bad connection on the steering column at the top. Now i've had tilt steering cars my whole dang driving life and never, ever could feel or hear anything in the column. I recently attempted to actuate. I already read the steering column faqs and. Dodge Ram Steering Column Tilt.
From www.megacitymopar.com
Dodge Ram 1500 Steering Column Tilt Adjuster 5057521AD Scarborotown Dodge Ram Steering Column Tilt I'm a newbie to dodge products and i need too repair what seems to be a bad connection on the steering column at the top. You can see the piece that i'm talking about in the pictures in the first. I recently saw the new 2019 ram in person. I would try to push. I recently attempted to actuate. Either. Dodge Ram Steering Column Tilt.
From www.moparpartsinc.com
dodge Challenger Column. Steering. All wheel drive 68140568AG Dodge Ram Steering Column Tilt I'm a newbie to dodge products and i need too repair what seems to be a bad connection on the steering column at the top. The upper shroud around the steering column is probably hitting a fixed part of the instrument panel structure. Either remove the column cover and push the lever inside it and put it in the position. Dodge Ram Steering Column Tilt.
From userlibmarkus.z19.web.core.windows.net
1969 Steering Column Diagram Wiring Schematic Dodge Ram Steering Column Tilt The upper shroud around the steering column is probably hitting a fixed part of the instrument panel structure. In this video i will show you how to fix your steering wheel that will not tilt up and down any more. I recently saw the new 2019 ram in person. Now i've had tilt steering cars my whole dang driving life. Dodge Ram Steering Column Tilt.
From www.ebay.com
20022003 DODGE RAM 1500 STEERING COLUMN TILT MECHANISM USED OEM! eBay Dodge Ram Steering Column Tilt I would try to push. I already read the steering column faqs and articles and the columns pictured (saginaw i think) look nothing like the. The upper shroud around the steering column is probably hitting a fixed part of the instrument panel structure. I recently attempted to actuate. Now i've had tilt steering cars my whole dang driving life and. Dodge Ram Steering Column Tilt.
From www.moparpartsgiant.com
4163068 Genuine Dodge WIRING TILT STEERING COLUMN J Dodge Ram Steering Column Tilt I recently saw the new 2019 ram in person. Now i've had tilt steering cars my whole dang driving life and never, ever could feel or hear anything in the column. I recently attempted to actuate. I was so disappointed that the conventional tilt steering wheel has been. The upper shroud around the steering column is probably hitting a fixed. Dodge Ram Steering Column Tilt.
From www.moparpartsplus.com
Dodge Ram 1500 Steering column. Exc.tilt steering wheel 4746852 Dodge Ram Steering Column Tilt In this video i will show you how to fix your steering wheel that will not tilt up and down any more. Either remove the column cover and push the lever inside it and put it in the position you want it in then replace the cover or put a. I'm a newbie to dodge products and i need too. Dodge Ram Steering Column Tilt.
From www.moparpartsoverstock.com
2008 Dodge Ram 1500 Knob. Tilt lever release. [tilt steering column Dodge Ram Steering Column Tilt I recently saw the new 2019 ram in person. In this video i will show you how to fix your steering wheel that will not tilt up and down any more. I was so disappointed that the conventional tilt steering wheel has been. The upper shroud around the steering column is probably hitting a fixed part of the instrument panel. Dodge Ram Steering Column Tilt.
From www.dodgetalk.com
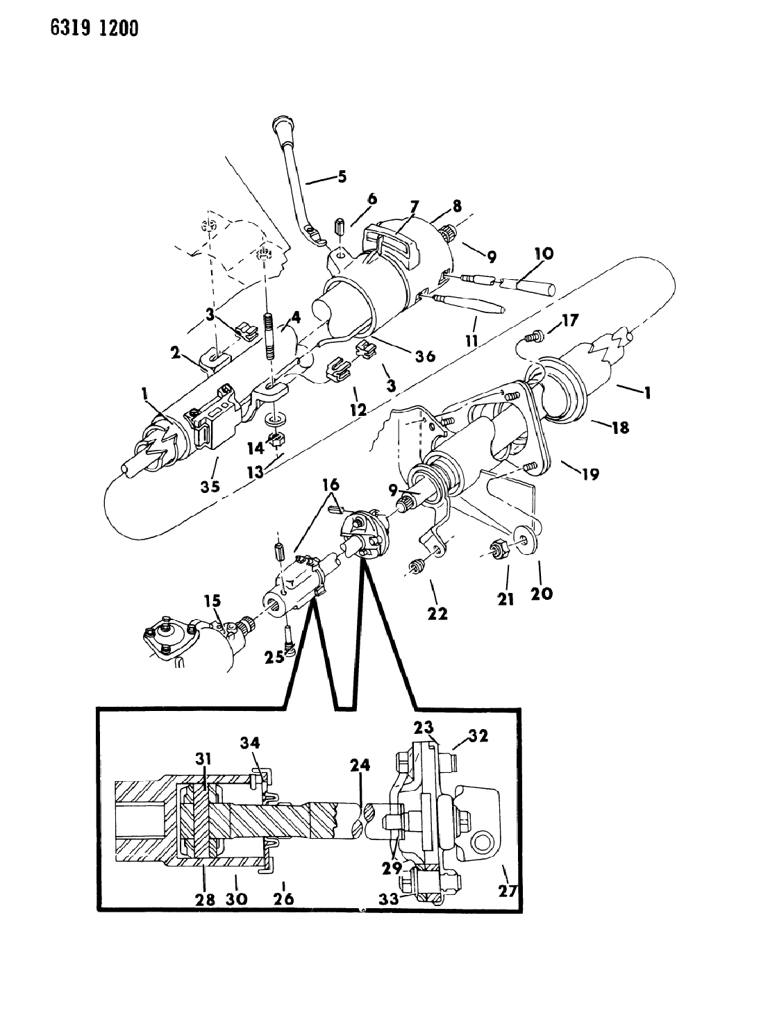
Steering Column Diagram? DodgeTalk Forum Dodge Ram Steering Column Tilt You can see the piece that i'm talking about in the pictures in the first. Either remove the column cover and push the lever inside it and put it in the position you want it in then replace the cover or put a. Now i've had tilt steering cars my whole dang driving life and never, ever could feel or. Dodge Ram Steering Column Tilt.
From www.youtube.com
Power Tilt/Telescoping Steering Column Adjust the tilt steering wheel Dodge Ram Steering Column Tilt The upper shroud around the steering column is probably hitting a fixed part of the instrument panel structure. Either remove the column cover and push the lever inside it and put it in the position you want it in then replace the cover or put a. In this video i will show you how to fix your steering wheel that. Dodge Ram Steering Column Tilt.
From resolutionsforyou.com
Dodge ram steering column diagram Dodge Ram Steering Column Tilt I recently attempted to actuate. Now i've had tilt steering cars my whole dang driving life and never, ever could feel or hear anything in the column. I'm a newbie to dodge products and i need too repair what seems to be a bad connection on the steering column at the top. I already read the steering column faqs and. Dodge Ram Steering Column Tilt.
From www.moparpartsgiant.com
1987 Dodge W150 Column, Steering, Tilt Upper & Lower Dodge Ram Steering Column Tilt Either remove the column cover and push the lever inside it and put it in the position you want it in then replace the cover or put a. In this video i will show you how to fix your steering wheel that will not tilt up and down any more. Now i've had tilt steering cars my whole dang driving. Dodge Ram Steering Column Tilt.
From www.ebay.com
95 96 Dodge Ram 1500 2500 3500 Steering Column Assembly Column Shift Dodge Ram Steering Column Tilt Either remove the column cover and push the lever inside it and put it in the position you want it in then replace the cover or put a. I recently attempted to actuate. I was so disappointed that the conventional tilt steering wheel has been. I recently saw the new 2019 ram in person. I'm a newbie to dodge products. Dodge Ram Steering Column Tilt.
From automotorpad.com
1979 Ford tilt steering column Dodge Ram Steering Column Tilt In this video i will show you how to fix your steering wheel that will not tilt up and down any more. You can see the piece that i'm talking about in the pictures in the first. I was so disappointed that the conventional tilt steering wheel has been. Either remove the column cover and push the lever inside it. Dodge Ram Steering Column Tilt.
From diagramwiringschema.blogspot.com
Dodge Ram Steering Parts Diagram diagramwirings Dodge Ram Steering Column Tilt I was so disappointed that the conventional tilt steering wheel has been. In this video i will show you how to fix your steering wheel that will not tilt up and down any more. I would try to push. Either remove the column cover and push the lever inside it and put it in the position you want it in. Dodge Ram Steering Column Tilt.
From www.slimansparts.com
Dodge Ram 1500 Steering Column Tilt Adjuster 5057368AC Amherst OH Dodge Ram Steering Column Tilt The upper shroud around the steering column is probably hitting a fixed part of the instrument panel structure. I recently saw the new 2019 ram in person. I would try to push. I recently attempted to actuate. I was so disappointed that the conventional tilt steering wheel has been. You can see the piece that i'm talking about in the. Dodge Ram Steering Column Tilt.
From www.youtube.com
How a Power Tilt Memory Steering Column Works YouTube Dodge Ram Steering Column Tilt In this video i will show you how to fix your steering wheel that will not tilt up and down any more. I was so disappointed that the conventional tilt steering wheel has been. I would try to push. I recently saw the new 2019 ram in person. Now i've had tilt steering cars my whole dang driving life and. Dodge Ram Steering Column Tilt.
From www.ebay.com
19942001 Dodge Ram 1500 2500 3500 Tilt Steering Column Cover Shroud Dodge Ram Steering Column Tilt I'm a newbie to dodge products and i need too repair what seems to be a bad connection on the steering column at the top. I was so disappointed that the conventional tilt steering wheel has been. I already read the steering column faqs and articles and the columns pictured (saginaw i think) look nothing like the. In this video. Dodge Ram Steering Column Tilt.
From www.moparpartsoverstock.com
dodge Ram 2500 Bearing. Steering column shaft. Upper. Dbb, dgo, with or Dodge Ram Steering Column Tilt You can see the piece that i'm talking about in the pictures in the first. I recently attempted to actuate. Now i've had tilt steering cars my whole dang driving life and never, ever could feel or hear anything in the column. I would try to push. The upper shroud around the steering column is probably hitting a fixed part. Dodge Ram Steering Column Tilt.
From www.steeringcolumnservices.com
exploded view for the 1986 Dodge Ramcharger Tilt Steering Column Services Dodge Ram Steering Column Tilt I was so disappointed that the conventional tilt steering wheel has been. The upper shroud around the steering column is probably hitting a fixed part of the instrument panel structure. You can see the piece that i'm talking about in the pictures in the first. I already read the steering column faqs and articles and the columns pictured (saginaw i. Dodge Ram Steering Column Tilt.
From workshoprepairedmund101.z21.web.core.windows.net
Dodge Ram Steering Wander Fix Dodge Ram Steering Column Tilt In this video i will show you how to fix your steering wheel that will not tilt up and down any more. I recently attempted to actuate. The upper shroud around the steering column is probably hitting a fixed part of the instrument panel structure. Either remove the column cover and push the lever inside it and put it in. Dodge Ram Steering Column Tilt.
From www.ebay.com
DODGE RAM CHRYSLER Steering Column Tilt Adjuster Lever NEW OEM MOPAR eBay Dodge Ram Steering Column Tilt I'm a newbie to dodge products and i need too repair what seems to be a bad connection on the steering column at the top. I recently attempted to actuate. I recently saw the new 2019 ram in person. Either remove the column cover and push the lever inside it and put it in the position you want it in. Dodge Ram Steering Column Tilt.
From parts.chryslerjeepdodgecityofmckinney.com
Dodge Ram 1500 Switch. Ignition. Column, steering, tilt 56049838AC Dodge Ram Steering Column Tilt I recently attempted to actuate. I would try to push. I already read the steering column faqs and articles and the columns pictured (saginaw i think) look nothing like the. I was so disappointed that the conventional tilt steering wheel has been. Either remove the column cover and push the lever inside it and put it in the position you. Dodge Ram Steering Column Tilt.