Another Word For Air Bladder . Swim bladder, float, sound, swimming bladder. Full list of synonyms for air. see 3 alternative words and synonyms for the phrase 'air bladder' such as float etc here's a list of similar words from our thesaurus that you can use instead. synonyms for air bladder in free thesaurus. what are another words for air bladder? Synonyms for air bladder (other words and phrases for air bladder). another way to say air bladder? 2 synonyms for air bladder: find 3 ways to say air bladder, along with antonyms, related words, and example sentences at thesaurus.com, the world's. Synonyms for air bladders (other words and phrases for air bladders). find 3 different ways to say air bladder, along with antonyms, related words, and example sentences at thesaurus.com. another way to say air bladders?
from uspto.report
2 synonyms for air bladder: what are another words for air bladder? see 3 alternative words and synonyms for the phrase 'air bladder' such as float etc another way to say air bladders? find 3 different ways to say air bladder, along with antonyms, related words, and example sentences at thesaurus.com. here's a list of similar words from our thesaurus that you can use instead. Synonyms for air bladder (other words and phrases for air bladder). Full list of synonyms for air. Swim bladder, float, sound, swimming bladder. Synonyms for air bladders (other words and phrases for air bladders).
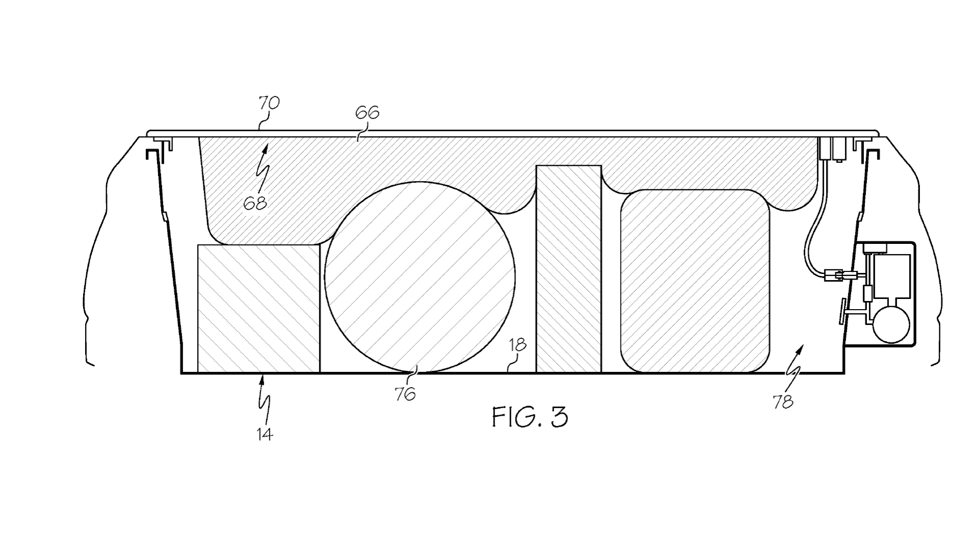
Air bladder headband cushion Patent Grant Yang , et al. Oc [Plantronics
Another Word For Air Bladder synonyms for air bladder in free thesaurus. see 3 alternative words and synonyms for the phrase 'air bladder' such as float etc another way to say air bladders? here's a list of similar words from our thesaurus that you can use instead. Swim bladder, float, sound, swimming bladder. 2 synonyms for air bladder: Synonyms for air bladders (other words and phrases for air bladders). find 3 different ways to say air bladder, along with antonyms, related words, and example sentences at thesaurus.com. another way to say air bladder? find 3 ways to say air bladder, along with antonyms, related words, and example sentences at thesaurus.com, the world's. Synonyms for air bladder (other words and phrases for air bladder). Full list of synonyms for air. synonyms for air bladder in free thesaurus. what are another words for air bladder?
From impressionsworldwide.com
Air Shaft Bladders imPRESSions Worldwide Another Word For Air Bladder find 3 different ways to say air bladder, along with antonyms, related words, and example sentences at thesaurus.com. what are another words for air bladder? Full list of synonyms for air. Synonyms for air bladder (other words and phrases for air bladder). synonyms for air bladder in free thesaurus. here's a list of similar words from. Another Word For Air Bladder.
From www.doubtnut.com
[Bengali Solution] How important is the presence of air bladder in Pis Another Word For Air Bladder Swim bladder, float, sound, swimming bladder. synonyms for air bladder in free thesaurus. another way to say air bladders? find 3 ways to say air bladder, along with antonyms, related words, and example sentences at thesaurus.com, the world's. another way to say air bladder? find 3 different ways to say air bladder, along with antonyms,. Another Word For Air Bladder.
From eigo-bunpou.com
【英単語】airbladderを徹底解説!意味、使い方、例文、読み方 Another Word For Air Bladder here's a list of similar words from our thesaurus that you can use instead. Full list of synonyms for air. find 3 ways to say air bladder, along with antonyms, related words, and example sentences at thesaurus.com, the world's. another way to say air bladder? another way to say air bladders? Swim bladder, float, sound, swimming. Another Word For Air Bladder.
From airshaftweb.com
Pneumatic Bladder for Air Shaft Air shaft Another Word For Air Bladder see 3 alternative words and synonyms for the phrase 'air bladder' such as float etc another way to say air bladder? find 3 ways to say air bladder, along with antonyms, related words, and example sentences at thesaurus.com, the world's. another way to say air bladders? Synonyms for air bladder (other words and phrases for air. Another Word For Air Bladder.
From www.reddit.com
[No spoliers] [Below zero] Air bladder be like... r/subnautica Another Word For Air Bladder Synonyms for air bladder (other words and phrases for air bladder). synonyms for air bladder in free thesaurus. 2 synonyms for air bladder: see 3 alternative words and synonyms for the phrase 'air bladder' such as float etc another way to say air bladder? Full list of synonyms for air. find 3 different ways to say. Another Word For Air Bladder.
From www.researchgate.net
The multibladdertype inflatable anchor (a) the single bladder Another Word For Air Bladder another way to say air bladder? see 3 alternative words and synonyms for the phrase 'air bladder' such as float etc 2 synonyms for air bladder: here's a list of similar words from our thesaurus that you can use instead. Full list of synonyms for air. another way to say air bladders? find 3 different. Another Word For Air Bladder.
From www.slideserve.com
PPT Bony vs Cartilaginous Fish PowerPoint Presentation, free download Another Word For Air Bladder Synonyms for air bladder (other words and phrases for air bladder). 2 synonyms for air bladder: synonyms for air bladder in free thesaurus. here's a list of similar words from our thesaurus that you can use instead. another way to say air bladders? Full list of synonyms for air. find 3 ways to say air bladder,. Another Word For Air Bladder.
From www.thepetsandlove.com
Do fish have lungs? (With helpful infographics) The Pets and Love Another Word For Air Bladder Synonyms for air bladders (other words and phrases for air bladders). here's a list of similar words from our thesaurus that you can use instead. Swim bladder, float, sound, swimming bladder. another way to say air bladders? what are another words for air bladder? 2 synonyms for air bladder: synonyms for air bladder in free thesaurus.. Another Word For Air Bladder.
From www.numerade.com
SOLVED what is the structure and functions of operculum, fins, lateral Another Word For Air Bladder find 3 ways to say air bladder, along with antonyms, related words, and example sentences at thesaurus.com, the world's. another way to say air bladders? 2 synonyms for air bladder: another way to say air bladder? Synonyms for air bladders (other words and phrases for air bladders). find 3 different ways to say air bladder, along. Another Word For Air Bladder.
From www.powernationtv.com
Toyota Files Patent For An Inflatable “Air Bladder” Truck Bed Cover to Another Word For Air Bladder Synonyms for air bladder (other words and phrases for air bladder). find 3 ways to say air bladder, along with antonyms, related words, and example sentences at thesaurus.com, the world's. Full list of synonyms for air. 2 synonyms for air bladder: synonyms for air bladder in free thesaurus. another way to say air bladder? Synonyms for air. Another Word For Air Bladder.
From www.alibaba.com
Rubber Air Bladder Nxq0.4/31.5l 0.4liter High Pressure Accumulator Another Word For Air Bladder Full list of synonyms for air. find 3 ways to say air bladder, along with antonyms, related words, and example sentences at thesaurus.com, the world's. another way to say air bladder? synonyms for air bladder in free thesaurus. what are another words for air bladder? see 3 alternative words and synonyms for the phrase 'air. Another Word For Air Bladder.
From www.reddit.com
I'm looking for an air bladder like this. r/myog Another Word For Air Bladder see 3 alternative words and synonyms for the phrase 'air bladder' such as float etc 2 synonyms for air bladder: Swim bladder, float, sound, swimming bladder. here's a list of similar words from our thesaurus that you can use instead. find 3 ways to say air bladder, along with antonyms, related words, and example sentences at thesaurus.com,. Another Word For Air Bladder.
From www.researchgate.net
Psilorhynchoides arunachalensis sp. nov. Air bladder showing anterior Another Word For Air Bladder synonyms for air bladder in free thesaurus. what are another words for air bladder? Full list of synonyms for air. 2 synonyms for air bladder: Synonyms for air bladder (other words and phrases for air bladder). Synonyms for air bladders (other words and phrases for air bladders). another way to say air bladder? find 3 ways. Another Word For Air Bladder.
From www.alibaba.com
Rubber Air Bladder Nxq0.4/31.5l 0.4liter High Pressure Accumulator Another Word For Air Bladder Full list of synonyms for air. Swim bladder, float, sound, swimming bladder. 2 synonyms for air bladder: Synonyms for air bladders (other words and phrases for air bladders). Synonyms for air bladder (other words and phrases for air bladder). find 3 ways to say air bladder, along with antonyms, related words, and example sentences at thesaurus.com, the world's. . Another Word For Air Bladder.
From airshaftweb.com
Pneumatic Bladder for Air Shaft Air shaft Another Word For Air Bladder another way to say air bladder? Swim bladder, float, sound, swimming bladder. synonyms for air bladder in free thesaurus. Synonyms for air bladders (other words and phrases for air bladders). find 3 ways to say air bladder, along with antonyms, related words, and example sentences at thesaurus.com, the world's. another way to say air bladders? . Another Word For Air Bladder.
From www.walmart.com
OPTP Occipital Float Adjustable Air Bladder for Exercise and Another Word For Air Bladder find 3 ways to say air bladder, along with antonyms, related words, and example sentences at thesaurus.com, the world's. what are another words for air bladder? another way to say air bladders? Synonyms for air bladder (other words and phrases for air bladder). Full list of synonyms for air. see 3 alternative words and synonyms for. Another Word For Air Bladder.
From www.powerthesaurus.org
Swim Bladder synonyms 13 Words and Phrases for Swim Bladder Another Word For Air Bladder what are another words for air bladder? another way to say air bladder? find 3 different ways to say air bladder, along with antonyms, related words, and example sentences at thesaurus.com. find 3 ways to say air bladder, along with antonyms, related words, and example sentences at thesaurus.com, the world's. Synonyms for air bladder (other words. Another Word For Air Bladder.
From radiofrequencywelding.com
Air Containment Bladders Versatility of Air Bladders SealWerks Another Word For Air Bladder another way to say air bladders? what are another words for air bladder? Full list of synonyms for air. another way to say air bladder? find 3 different ways to say air bladder, along with antonyms, related words, and example sentences at thesaurus.com. 2 synonyms for air bladder: Synonyms for air bladders (other words and phrases. Another Word For Air Bladder.
From uspto.report
Air bladder headband cushion Patent Grant Yang , et al. Oc [Plantronics Another Word For Air Bladder Synonyms for air bladder (other words and phrases for air bladder). see 3 alternative words and synonyms for the phrase 'air bladder' such as float etc here's a list of similar words from our thesaurus that you can use instead. another way to say air bladder? synonyms for air bladder in free thesaurus. find 3. Another Word For Air Bladder.
From www.spfinc.com
Air Bladders 101 Specialty Plastic Fabricators Another Word For Air Bladder here's a list of similar words from our thesaurus that you can use instead. another way to say air bladders? Synonyms for air bladders (other words and phrases for air bladders). find 3 ways to say air bladder, along with antonyms, related words, and example sentences at thesaurus.com, the world's. Swim bladder, float, sound, swimming bladder. . Another Word For Air Bladder.
From www.numerade.com
SOLVEDHow important is the presence of air bladder in Pisces? Another Word For Air Bladder another way to say air bladder? Swim bladder, float, sound, swimming bladder. see 3 alternative words and synonyms for the phrase 'air bladder' such as float etc here's a list of similar words from our thesaurus that you can use instead. Full list of synonyms for air. find 3 different ways to say air bladder, along. Another Word For Air Bladder.
From www.researchgate.net
Airbladder capsule of ac, Afronemacheilus abyssinicus, ZIN uncat Another Word For Air Bladder synonyms for air bladder in free thesaurus. find 3 ways to say air bladder, along with antonyms, related words, and example sentences at thesaurus.com, the world's. another way to say air bladders? what are another words for air bladder? Synonyms for air bladders (other words and phrases for air bladders). see 3 alternative words and. Another Word For Air Bladder.
From novelniche.substack.com
Say to my pyre that I wore only gold to death Another Word For Air Bladder Swim bladder, float, sound, swimming bladder. 2 synonyms for air bladder: synonyms for air bladder in free thesaurus. Synonyms for air bladders (other words and phrases for air bladders). here's a list of similar words from our thesaurus that you can use instead. Synonyms for air bladder (other words and phrases for air bladder). Full list of synonyms. Another Word For Air Bladder.
From restorationinnovations.au
Air Bladder Restoration Innovations Another Word For Air Bladder find 3 ways to say air bladder, along with antonyms, related words, and example sentences at thesaurus.com, the world's. Full list of synonyms for air. here's a list of similar words from our thesaurus that you can use instead. Synonyms for air bladders (other words and phrases for air bladders). synonyms for air bladder in free thesaurus.. Another Word For Air Bladder.
From bigskyinternational.com
Maintance and Repair Big Sky International Another Word For Air Bladder Full list of synonyms for air. see 3 alternative words and synonyms for the phrase 'air bladder' such as float etc another way to say air bladders? here's a list of similar words from our thesaurus that you can use instead. Swim bladder, float, sound, swimming bladder. synonyms for air bladder in free thesaurus. find. Another Word For Air Bladder.
From www.hmemedicalshop.com
Replacement 8" NonVented Air Bladder for MedAire Melody 14026 Drive Another Word For Air Bladder find 3 different ways to say air bladder, along with antonyms, related words, and example sentences at thesaurus.com. another way to say air bladder? 2 synonyms for air bladder: Full list of synonyms for air. here's a list of similar words from our thesaurus that you can use instead. synonyms for air bladder in free thesaurus.. Another Word For Air Bladder.
From malinduehelagasthenna.wordpress.com
Can silicone based air bladders be used to treat pressure ulcers! MALINDU Another Word For Air Bladder Full list of synonyms for air. what are another words for air bladder? Swim bladder, float, sound, swimming bladder. here's a list of similar words from our thesaurus that you can use instead. find 3 ways to say air bladder, along with antonyms, related words, and example sentences at thesaurus.com, the world's. another way to say. Another Word For Air Bladder.
From ciplav.com
Alignment Or Straightening Of The Teeth Year 5 Division With Remainders Another Word For Air Bladder see 3 alternative words and synonyms for the phrase 'air bladder' such as float etc find 3 ways to say air bladder, along with antonyms, related words, and example sentences at thesaurus.com, the world's. find 3 different ways to say air bladder, along with antonyms, related words, and example sentences at thesaurus.com. 2 synonyms for air bladder:. Another Word For Air Bladder.
From www.youtube.com
Air Bladder Control! (and Lifepod 7) Subnautica Blind Lets Play Another Word For Air Bladder another way to say air bladders? here's a list of similar words from our thesaurus that you can use instead. Synonyms for air bladders (other words and phrases for air bladders). see 3 alternative words and synonyms for the phrase 'air bladder' such as float etc Synonyms for air bladder (other words and phrases for air bladder).. Another Word For Air Bladder.
From www.spfinc.com
Air Bladders 101 Specialty Plastic Fabricators Another Word For Air Bladder what are another words for air bladder? Full list of synonyms for air. see 3 alternative words and synonyms for the phrase 'air bladder' such as float etc Synonyms for air bladder (other words and phrases for air bladder). another way to say air bladder? another way to say air bladders? Swim bladder, float, sound, swimming. Another Word For Air Bladder.
From www.skyhopeindustry.com
Air Bladder Another Word For Air Bladder Full list of synonyms for air. another way to say air bladder? what are another words for air bladder? Swim bladder, float, sound, swimming bladder. Synonyms for air bladders (other words and phrases for air bladders). find 3 different ways to say air bladder, along with antonyms, related words, and example sentences at thesaurus.com. here's a. Another Word For Air Bladder.
From www.researchgate.net
Schematic diagram showing air bladder shapes of A, Gymnochanda ploegi Another Word For Air Bladder what are another words for air bladder? another way to say air bladders? 2 synonyms for air bladder: find 3 ways to say air bladder, along with antonyms, related words, and example sentences at thesaurus.com, the world's. Synonyms for air bladder (other words and phrases for air bladder). another way to say air bladder? see. Another Word For Air Bladder.
From dandkmotorsports.com
Bladder Type Water Storage Pressure Tanks Dandk Organizer Another Word For Air Bladder find 3 different ways to say air bladder, along with antonyms, related words, and example sentences at thesaurus.com. Full list of synonyms for air. 2 synonyms for air bladder: see 3 alternative words and synonyms for the phrase 'air bladder' such as float etc Synonyms for air bladders (other words and phrases for air bladders). another way. Another Word For Air Bladder.
From www.skyhopeindustry.com
Air Bladder Another Word For Air Bladder 2 synonyms for air bladder: synonyms for air bladder in free thesaurus. see 3 alternative words and synonyms for the phrase 'air bladder' such as float etc another way to say air bladders? find 3 ways to say air bladder, along with antonyms, related words, and example sentences at thesaurus.com, the world's. another way to. Another Word For Air Bladder.
From theruncommuter.com
Air in the Bladder The Run Commuter Another Word For Air Bladder find 3 different ways to say air bladder, along with antonyms, related words, and example sentences at thesaurus.com. Synonyms for air bladder (other words and phrases for air bladder). Synonyms for air bladders (other words and phrases for air bladders). another way to say air bladders? 2 synonyms for air bladder: another way to say air bladder?. Another Word For Air Bladder.