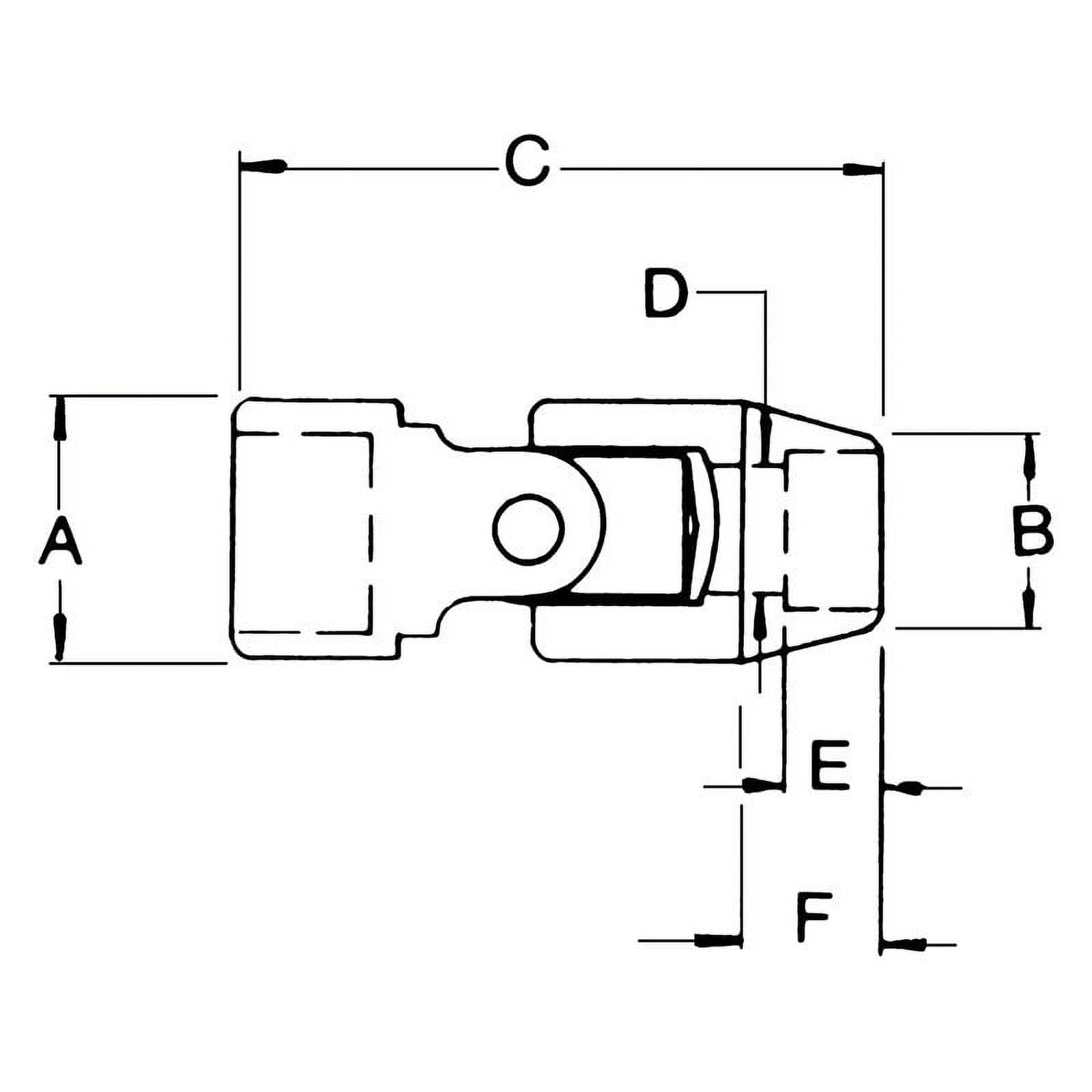
Pinless Impact Universal Joint . Universal joint extensions can be used with any socket style; 30° maximum operating flex angle; 1/2 inch drive impact universal joint. Smooth 360° rotation for easier. The tekton 1/2 inch drive pinless impact universal joint works around obstructions and gets into tight spots, delivering the torque needed to break loose stubborn fasteners.
from www.tools.com
30° maximum operating flex angle; The tekton 1/2 inch drive pinless impact universal joint works around obstructions and gets into tight spots, delivering the torque needed to break loose stubborn fasteners. 1/2 inch drive impact universal joint. Universal joint extensions can be used with any socket style; Smooth 360° rotation for easier.
GearWrench 6", 9" & 12" 3/8" Drive XCore Pinless Universal Joint
Pinless Impact Universal Joint 30° maximum operating flex angle; 1/2 inch drive impact universal joint. Universal joint extensions can be used with any socket style; The tekton 1/2 inch drive pinless impact universal joint works around obstructions and gets into tight spots, delivering the torque needed to break loose stubborn fasteners. Smooth 360° rotation for easier. 30° maximum operating flex angle;
From www.walmart.com
GearWrench 84426 3/8" Drive 3/4" 6Point Pinless Impact Universal Pinless Impact Universal Joint 1/2 inch drive impact universal joint. The tekton 1/2 inch drive pinless impact universal joint works around obstructions and gets into tight spots, delivering the torque needed to break loose stubborn fasteners. Smooth 360° rotation for easier. Universal joint extensions can be used with any socket style; 30° maximum operating flex angle; Pinless Impact Universal Joint.
From www.walmart.com
Craftsman Universal Joint Socket Adapter 3/8 in. Pinless Impact Drive Pinless Impact Universal Joint Smooth 360° rotation for easier. 30° maximum operating flex angle; Universal joint extensions can be used with any socket style; 1/2 inch drive impact universal joint. The tekton 1/2 inch drive pinless impact universal joint works around obstructions and gets into tight spots, delivering the torque needed to break loose stubborn fasteners. Pinless Impact Universal Joint.
From www.tekton.com
3/8 Inch Drive Impact Universal Joint TEKTON Pinless Impact Universal Joint Smooth 360° rotation for easier. Universal joint extensions can be used with any socket style; The tekton 1/2 inch drive pinless impact universal joint works around obstructions and gets into tight spots, delivering the torque needed to break loose stubborn fasteners. 30° maximum operating flex angle; 1/2 inch drive impact universal joint. Pinless Impact Universal Joint.
From www.gearwrench.com
7 Pc. XCore™ Pinless Universal Impact Extension Socket Set Pinless Impact Universal Joint Universal joint extensions can be used with any socket style; 1/2 inch drive impact universal joint. The tekton 1/2 inch drive pinless impact universal joint works around obstructions and gets into tight spots, delivering the torque needed to break loose stubborn fasteners. Smooth 360° rotation for easier. 30° maximum operating flex angle; Pinless Impact Universal Joint.
From www.astrotools.com
3/8" & 1/2" Pinless Universal Joint Impact Adapters Astro Pneumatic Tools Pinless Impact Universal Joint Smooth 360° rotation for easier. Universal joint extensions can be used with any socket style; 30° maximum operating flex angle; 1/2 inch drive impact universal joint. The tekton 1/2 inch drive pinless impact universal joint works around obstructions and gets into tight spots, delivering the torque needed to break loose stubborn fasteners. Pinless Impact Universal Joint.
From www.walmart.com
GearWrench 84483 XCore 3/8" Drive 9/16" 6Point Pinless Impact Pinless Impact Universal Joint The tekton 1/2 inch drive pinless impact universal joint works around obstructions and gets into tight spots, delivering the torque needed to break loose stubborn fasteners. Universal joint extensions can be used with any socket style; 1/2 inch drive impact universal joint. 30° maximum operating flex angle; Smooth 360° rotation for easier. Pinless Impact Universal Joint.
From www.gearwrench.com
1/4" Drive XCore™ Pinless Impact Universal Joint Pinless Impact Universal Joint Universal joint extensions can be used with any socket style; 30° maximum operating flex angle; The tekton 1/2 inch drive pinless impact universal joint works around obstructions and gets into tight spots, delivering the torque needed to break loose stubborn fasteners. 1/2 inch drive impact universal joint. Smooth 360° rotation for easier. Pinless Impact Universal Joint.
From www.discountertools.com
GearWrench 84180 1/4" Drive XCore Pinless Impact Universal Joint Pinless Impact Universal Joint 30° maximum operating flex angle; 1/2 inch drive impact universal joint. The tekton 1/2 inch drive pinless impact universal joint works around obstructions and gets into tight spots, delivering the torque needed to break loose stubborn fasteners. Smooth 360° rotation for easier. Universal joint extensions can be used with any socket style; Pinless Impact Universal Joint.
From www.tools.com
GearWrench 6", 9" & 12" 3/8" Drive XCore Pinless Universal Joint Pinless Impact Universal Joint The tekton 1/2 inch drive pinless impact universal joint works around obstructions and gets into tight spots, delivering the torque needed to break loose stubborn fasteners. 1/2 inch drive impact universal joint. 30° maximum operating flex angle; Universal joint extensions can be used with any socket style; Smooth 360° rotation for easier. Pinless Impact Universal Joint.
From www.astrotools.com
3/8" & 1/2" Pinless Universal Joint Impact Adapters Astro Pneumatic Tools Pinless Impact Universal Joint Universal joint extensions can be used with any socket style; 1/2 inch drive impact universal joint. The tekton 1/2 inch drive pinless impact universal joint works around obstructions and gets into tight spots, delivering the torque needed to break loose stubborn fasteners. Smooth 360° rotation for easier. 30° maximum operating flex angle; Pinless Impact Universal Joint.
From www.astrotools.com
3/8" & 1/2" Pinless Universal Joint Impact Adapters Astro Pneumatic Tools Pinless Impact Universal Joint 30° maximum operating flex angle; The tekton 1/2 inch drive pinless impact universal joint works around obstructions and gets into tight spots, delivering the torque needed to break loose stubborn fasteners. Universal joint extensions can be used with any socket style; 1/2 inch drive impact universal joint. Smooth 360° rotation for easier. Pinless Impact Universal Joint.
From www.acmetools.com
GEARWRENCH 3/8in Drive XCore Pinless Universal Joint Impact Extension Pinless Impact Universal Joint Universal joint extensions can be used with any socket style; The tekton 1/2 inch drive pinless impact universal joint works around obstructions and gets into tight spots, delivering the torque needed to break loose stubborn fasteners. 1/2 inch drive impact universal joint. Smooth 360° rotation for easier. 30° maximum operating flex angle; Pinless Impact Universal Joint.
From www.tekton.com
1/2 Inch Drive Impact Universal Joint TEKTON Pinless Impact Universal Joint Smooth 360° rotation for easier. Universal joint extensions can be used with any socket style; 1/2 inch drive impact universal joint. The tekton 1/2 inch drive pinless impact universal joint works around obstructions and gets into tight spots, delivering the torque needed to break loose stubborn fasteners. 30° maximum operating flex angle; Pinless Impact Universal Joint.
From fatmonkeytools.com
GEARWRENCH 84721N 1/2″ Drive XCore™ Pinless Universal Joint Impact Pinless Impact Universal Joint The tekton 1/2 inch drive pinless impact universal joint works around obstructions and gets into tight spots, delivering the torque needed to break loose stubborn fasteners. 30° maximum operating flex angle; Smooth 360° rotation for easier. Universal joint extensions can be used with any socket style; 1/2 inch drive impact universal joint. Pinless Impact Universal Joint.
From www.gearwrench.com
3 Pc. XCore™ Pinless Impact Universal Joint Set Pinless Impact Universal Joint 1/2 inch drive impact universal joint. Universal joint extensions can be used with any socket style; Smooth 360° rotation for easier. The tekton 1/2 inch drive pinless impact universal joint works around obstructions and gets into tight spots, delivering the torque needed to break loose stubborn fasteners. 30° maximum operating flex angle; Pinless Impact Universal Joint.
From www.tekton.com
1/2 Inch Drive Impact Universal Joint TEKTON Pinless Impact Universal Joint 30° maximum operating flex angle; Universal joint extensions can be used with any socket style; 1/2 inch drive impact universal joint. Smooth 360° rotation for easier. The tekton 1/2 inch drive pinless impact universal joint works around obstructions and gets into tight spots, delivering the torque needed to break loose stubborn fasteners. Pinless Impact Universal Joint.
From www.gearwrench.com
3/8" Drive XCore™ Pinless Impact Universal Joint Pinless Impact Universal Joint The tekton 1/2 inch drive pinless impact universal joint works around obstructions and gets into tight spots, delivering the torque needed to break loose stubborn fasteners. 30° maximum operating flex angle; Smooth 360° rotation for easier. Universal joint extensions can be used with any socket style; 1/2 inch drive impact universal joint. Pinless Impact Universal Joint.
From www.homedepot.com
Reviews for GEARWRENCH 1/4 in., 3/8 in., and 1/2 in. Drive XCore Pinless Impact Universal Joint Universal joint extensions can be used with any socket style; The tekton 1/2 inch drive pinless impact universal joint works around obstructions and gets into tight spots, delivering the torque needed to break loose stubborn fasteners. Smooth 360° rotation for easier. 30° maximum operating flex angle; 1/2 inch drive impact universal joint. Pinless Impact Universal Joint.
From www.handytwins.com
Pinless Hex Ball Impact Universal Joint Handy Twins International Co Pinless Impact Universal Joint 30° maximum operating flex angle; The tekton 1/2 inch drive pinless impact universal joint works around obstructions and gets into tight spots, delivering the torque needed to break loose stubborn fasteners. Smooth 360° rotation for easier. 1/2 inch drive impact universal joint. Universal joint extensions can be used with any socket style; Pinless Impact Universal Joint.
From www.homedepot.com
GEARWRENCH 1/2 in. Drive XCore Pinless Universal Joint Impact Pinless Impact Universal Joint Smooth 360° rotation for easier. 1/2 inch drive impact universal joint. Universal joint extensions can be used with any socket style; The tekton 1/2 inch drive pinless impact universal joint works around obstructions and gets into tight spots, delivering the torque needed to break loose stubborn fasteners. 30° maximum operating flex angle; Pinless Impact Universal Joint.
From www.tooloutfitters.com
GearWrench 84180 KDT84180 1/4" Drive XCore™ Pinless Impact Universal Joint Pinless Impact Universal Joint Universal joint extensions can be used with any socket style; 1/2 inch drive impact universal joint. The tekton 1/2 inch drive pinless impact universal joint works around obstructions and gets into tight spots, delivering the torque needed to break loose stubborn fasteners. Smooth 360° rotation for easier. 30° maximum operating flex angle; Pinless Impact Universal Joint.
From www.gearwrench.com
1/2" Drive XCore™ Pinless Impact Universal Joint Pinless Impact Universal Joint Smooth 360° rotation for easier. The tekton 1/2 inch drive pinless impact universal joint works around obstructions and gets into tight spots, delivering the torque needed to break loose stubborn fasteners. 30° maximum operating flex angle; 1/2 inch drive impact universal joint. Universal joint extensions can be used with any socket style; Pinless Impact Universal Joint.
From www.astrotools.com
3/8" & 1/2" Pinless Universal Joint Impact Adapters Astro Pneumatic Tools Pinless Impact Universal Joint 30° maximum operating flex angle; The tekton 1/2 inch drive pinless impact universal joint works around obstructions and gets into tight spots, delivering the torque needed to break loose stubborn fasteners. 1/2 inch drive impact universal joint. Universal joint extensions can be used with any socket style; Smooth 360° rotation for easier. Pinless Impact Universal Joint.
From www.walmart.com
GearWrench 84410 3/8" Drive 10 mm 6Point Pinless Impact Universal Pinless Impact Universal Joint 30° maximum operating flex angle; The tekton 1/2 inch drive pinless impact universal joint works around obstructions and gets into tight spots, delivering the torque needed to break loose stubborn fasteners. 1/2 inch drive impact universal joint. Universal joint extensions can be used with any socket style; Smooth 360° rotation for easier. Pinless Impact Universal Joint.
From www.gearwrench.com
1/2" Dr XCore™ Pinless Universal Joint Impact Extension Set Pinless Impact Universal Joint 30° maximum operating flex angle; 1/2 inch drive impact universal joint. Universal joint extensions can be used with any socket style; The tekton 1/2 inch drive pinless impact universal joint works around obstructions and gets into tight spots, delivering the torque needed to break loose stubborn fasteners. Smooth 360° rotation for easier. Pinless Impact Universal Joint.
From www.penntoolco.com
GEARWRENCH 3 Pc. XCore Pinless Impact UniversalJoint Set KD84960 Pinless Impact Universal Joint The tekton 1/2 inch drive pinless impact universal joint works around obstructions and gets into tight spots, delivering the torque needed to break loose stubborn fasteners. Smooth 360° rotation for easier. Universal joint extensions can be used with any socket style; 30° maximum operating flex angle; 1/2 inch drive impact universal joint. Pinless Impact Universal Joint.
From www.tools.com
GearWrench 3 Piece 1/2" Drive XCore Pinless Universal Joint Impact Pinless Impact Universal Joint 1/2 inch drive impact universal joint. Universal joint extensions can be used with any socket style; 30° maximum operating flex angle; Smooth 360° rotation for easier. The tekton 1/2 inch drive pinless impact universal joint works around obstructions and gets into tight spots, delivering the torque needed to break loose stubborn fasteners. Pinless Impact Universal Joint.
From pikhome.com
3 Pc XCore Pinless Impact Universal Joint Set PiKHome Pinless Impact Universal Joint The tekton 1/2 inch drive pinless impact universal joint works around obstructions and gets into tight spots, delivering the torque needed to break loose stubborn fasteners. Universal joint extensions can be used with any socket style; Smooth 360° rotation for easier. 30° maximum operating flex angle; 1/2 inch drive impact universal joint. Pinless Impact Universal Joint.
From www.acmetools.com
3/8" Drive XCore™ Pinless Universal Joint Impact Extension 12" 84452 Pinless Impact Universal Joint 30° maximum operating flex angle; 1/2 inch drive impact universal joint. The tekton 1/2 inch drive pinless impact universal joint works around obstructions and gets into tight spots, delivering the torque needed to break loose stubborn fasteners. Universal joint extensions can be used with any socket style; Smooth 360° rotation for easier. Pinless Impact Universal Joint.
From www.zoro.com
Gearwrench 3/8" Drive XCore™ Pinless Impact Universal Joint 84440 Zoro Pinless Impact Universal Joint Universal joint extensions can be used with any socket style; The tekton 1/2 inch drive pinless impact universal joint works around obstructions and gets into tight spots, delivering the torque needed to break loose stubborn fasteners. 1/2 inch drive impact universal joint. 30° maximum operating flex angle; Smooth 360° rotation for easier. Pinless Impact Universal Joint.
From www.kmart.com
Craftsman Pinless Impact Universal Joint Socket Adapter, 1/4 in. Drive Pinless Impact Universal Joint Smooth 360° rotation for easier. The tekton 1/2 inch drive pinless impact universal joint works around obstructions and gets into tight spots, delivering the torque needed to break loose stubborn fasteners. Universal joint extensions can be used with any socket style; 1/2 inch drive impact universal joint. 30° maximum operating flex angle; Pinless Impact Universal Joint.
From www.gearwrench.com
3 Pc. XCore™ Pinless Impact Universal Joint Set Pinless Impact Universal Joint 30° maximum operating flex angle; Universal joint extensions can be used with any socket style; The tekton 1/2 inch drive pinless impact universal joint works around obstructions and gets into tight spots, delivering the torque needed to break loose stubborn fasteners. Smooth 360° rotation for easier. 1/2 inch drive impact universal joint. Pinless Impact Universal Joint.
From www.mutualscrew.com
GearWrench 3pc 1/2" Drive Pinless Impact Universal Joint Extension Set Pinless Impact Universal Joint The tekton 1/2 inch drive pinless impact universal joint works around obstructions and gets into tight spots, delivering the torque needed to break loose stubborn fasteners. 30° maximum operating flex angle; Smooth 360° rotation for easier. Universal joint extensions can be used with any socket style; 1/2 inch drive impact universal joint. Pinless Impact Universal Joint.
From www.walmart.com
GearWrench 84440 3/8" Drive Xcore Pinless Impact Universaljoint Pinless Impact Universal Joint 30° maximum operating flex angle; The tekton 1/2 inch drive pinless impact universal joint works around obstructions and gets into tight spots, delivering the torque needed to break loose stubborn fasteners. Smooth 360° rotation for easier. 1/2 inch drive impact universal joint. Universal joint extensions can be used with any socket style; Pinless Impact Universal Joint.