What Is A Central Warning Lamp . When the central warning light is yellow, it indicates that there is a problem that. Some warning and indicator lamps light up. the central warning light appears in two colors, yellow and red. the warning and indicator lamps indicate various warnings , faults or certain functions. the central warning lamp is coming on intermittently with the message to put the car in park and take it to a. an annunciator panel is a group of lights used as a central indicator of status of equipment or systems in an industrial. An amber central warning lamp light means that action is required. knowing what’s on your volkswagen dashboard increases driving security and safety.
from storagewyh.blob.core.windows.net
the warning and indicator lamps indicate various warnings , faults or certain functions. When the central warning light is yellow, it indicates that there is a problem that. the central warning lamp is coming on intermittently with the message to put the car in park and take it to a. the central warning light appears in two colors, yellow and red. an annunciator panel is a group of lights used as a central indicator of status of equipment or systems in an industrial. knowing what’s on your volkswagen dashboard increases driving security and safety. Some warning and indicator lamps light up. An amber central warning lamp light means that action is required.
Mahindra Owners Manual
What Is A Central Warning Lamp knowing what’s on your volkswagen dashboard increases driving security and safety. an annunciator panel is a group of lights used as a central indicator of status of equipment or systems in an industrial. When the central warning light is yellow, it indicates that there is a problem that. Some warning and indicator lamps light up. An amber central warning lamp light means that action is required. the central warning light appears in two colors, yellow and red. the warning and indicator lamps indicate various warnings , faults or certain functions. the central warning lamp is coming on intermittently with the message to put the car in park and take it to a. knowing what’s on your volkswagen dashboard increases driving security and safety.
From www.advanceglobal.com.au
Slimline Dual6 LED Warning Lamp Ultra Bright and Versatile What Is A Central Warning Lamp knowing what’s on your volkswagen dashboard increases driving security and safety. Some warning and indicator lamps light up. the central warning light appears in two colors, yellow and red. an annunciator panel is a group of lights used as a central indicator of status of equipment or systems in an industrial. the central warning lamp is. What Is A Central Warning Lamp.
From aerosafetysystems.com
AH500SD Programmable annunciator Aero Safety Systems What Is A Central Warning Lamp an annunciator panel is a group of lights used as a central indicator of status of equipment or systems in an industrial. When the central warning light is yellow, it indicates that there is a problem that. the central warning lamp is coming on intermittently with the message to put the car in park and take it to. What Is A Central Warning Lamp.
From www.tradekorea.com
Warning Lamp / Strobe Lamp tradekorea What Is A Central Warning Lamp When the central warning light is yellow, it indicates that there is a problem that. the central warning lamp is coming on intermittently with the message to put the car in park and take it to a. an annunciator panel is a group of lights used as a central indicator of status of equipment or systems in an. What Is A Central Warning Lamp.
From www.advanceglobal.com.au
Slimline6 LED Warning Lamp Ultra Bright and Reliable What Is A Central Warning Lamp When the central warning light is yellow, it indicates that there is a problem that. an annunciator panel is a group of lights used as a central indicator of status of equipment or systems in an industrial. the central warning lamp is coming on intermittently with the message to put the car in park and take it to. What Is A Central Warning Lamp.
From www.aircraftspruce.com
Aero Safety Systems Ah502Sd Central Warning Panel Aircraft Spruce What Is A Central Warning Lamp An amber central warning lamp light means that action is required. knowing what’s on your volkswagen dashboard increases driving security and safety. Some warning and indicator lamps light up. the central warning lamp is coming on intermittently with the message to put the car in park and take it to a. an annunciator panel is a group. What Is A Central Warning Lamp.
From www.advanceglobal.com.au
Maxiview4 LED Warning Lamp High Output and Durable What Is A Central Warning Lamp the central warning lamp is coming on intermittently with the message to put the car in park and take it to a. the central warning light appears in two colors, yellow and red. an annunciator panel is a group of lights used as a central indicator of status of equipment or systems in an industrial. the. What Is A Central Warning Lamp.
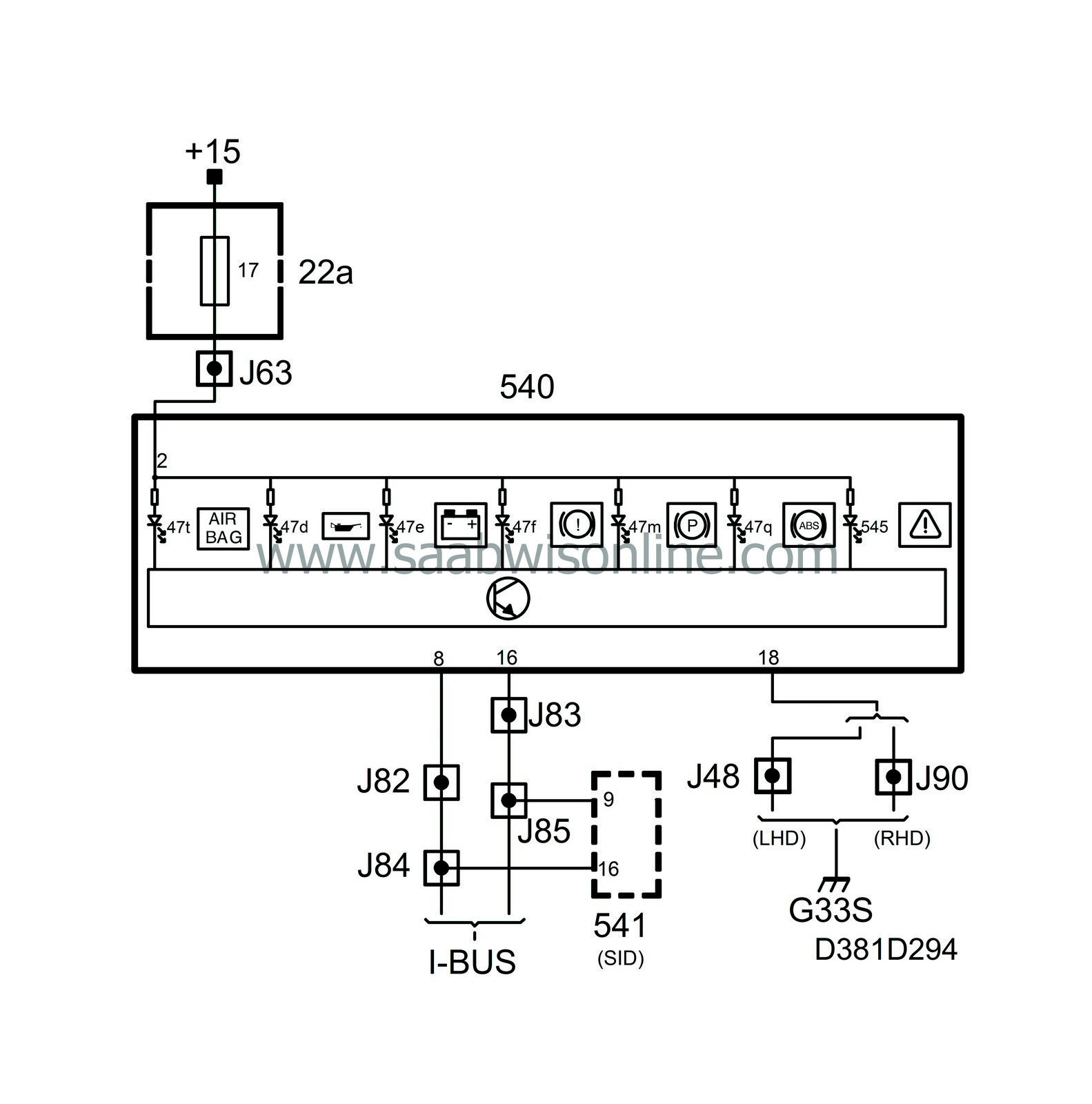
From saabwisonline.com
Central warning lamp 93 2002 SAAB Information System Online What Is A Central Warning Lamp the central warning light appears in two colors, yellow and red. An amber central warning lamp light means that action is required. knowing what’s on your volkswagen dashboard increases driving security and safety. When the central warning light is yellow, it indicates that there is a problem that. the central warning lamp is coming on intermittently with. What Is A Central Warning Lamp.
From tillescenter.org
Baomain Alarm Warning Flash Light 24 VDC Industrial Buzzer Red LED What Is A Central Warning Lamp An amber central warning lamp light means that action is required. the central warning lamp is coming on intermittently with the message to put the car in park and take it to a. the warning and indicator lamps indicate various warnings , faults or certain functions. When the central warning light is yellow, it indicates that there is. What Is A Central Warning Lamp.
From shellysavonlea.net
Vw Tiguan Warning Lights Symbols Explained Shelly Lighting What Is A Central Warning Lamp the central warning lamp is coming on intermittently with the message to put the car in park and take it to a. Some warning and indicator lamps light up. the warning and indicator lamps indicate various warnings , faults or certain functions. knowing what’s on your volkswagen dashboard increases driving security and safety. the central warning. What Is A Central Warning Lamp.
From www.advanceglobal.com.au
Ultra Bright Slimline Dual4 LED Warning Lamp for Mining & Emergency What Is A Central Warning Lamp an annunciator panel is a group of lights used as a central indicator of status of equipment or systems in an industrial. When the central warning light is yellow, it indicates that there is a problem that. the central warning light appears in two colors, yellow and red. the warning and indicator lamps indicate various warnings ,. What Is A Central Warning Lamp.
From www.bukalapak.com
Jual WARNING LIGHT ROTARY LAMP LTE1131 3in. di Lapak CENTRAL ELECTRINDO What Is A Central Warning Lamp the warning and indicator lamps indicate various warnings , faults or certain functions. When the central warning light is yellow, it indicates that there is a problem that. the central warning lamp is coming on intermittently with the message to put the car in park and take it to a. an annunciator panel is a group of. What Is A Central Warning Lamp.
From www.volkswagen-vans.co.uk
Central Warning Light Volkswagen Vans UK What Is A Central Warning Lamp Some warning and indicator lamps light up. An amber central warning lamp light means that action is required. the central warning light appears in two colors, yellow and red. knowing what’s on your volkswagen dashboard increases driving security and safety. the central warning lamp is coming on intermittently with the message to put the car in park. What Is A Central Warning Lamp.
From hiland.en.made-in-china.com
Hiland Flashing Warning Alarm Lamp F5020 for Garage Door China Flash What Is A Central Warning Lamp the warning and indicator lamps indicate various warnings , faults or certain functions. An amber central warning lamp light means that action is required. When the central warning light is yellow, it indicates that there is a problem that. the central warning lamp is coming on intermittently with the message to put the car in park and take. What Is A Central Warning Lamp.
From www.volkswagen.co.uk
Red Central Warning Light Volkswagen UK What Is A Central Warning Lamp An amber central warning lamp light means that action is required. the central warning light appears in two colors, yellow and red. an annunciator panel is a group of lights used as a central indicator of status of equipment or systems in an industrial. the warning and indicator lamps indicate various warnings , faults or certain functions.. What Is A Central Warning Lamp.
From aerosafetysystems.com
New ProfessionalStandard Central Warning System Aero Safety Systems What Is A Central Warning Lamp the central warning lamp is coming on intermittently with the message to put the car in park and take it to a. When the central warning light is yellow, it indicates that there is a problem that. an annunciator panel is a group of lights used as a central indicator of status of equipment or systems in an. What Is A Central Warning Lamp.
From saabwisonline.com
Central warning lamp 93 2002 SAAB Information System Online What Is A Central Warning Lamp An amber central warning lamp light means that action is required. knowing what’s on your volkswagen dashboard increases driving security and safety. Some warning and indicator lamps light up. the warning and indicator lamps indicate various warnings , faults or certain functions. When the central warning light is yellow, it indicates that there is a problem that. . What Is A Central Warning Lamp.
From www.volkswagenforum.co.uk
Central warning lamp on intermittently UK Volkswagen Forum What Is A Central Warning Lamp the warning and indicator lamps indicate various warnings , faults or certain functions. Some warning and indicator lamps light up. When the central warning light is yellow, it indicates that there is a problem that. the central warning lamp is coming on intermittently with the message to put the car in park and take it to a. . What Is A Central Warning Lamp.
From www.computerlinx.com
LED Safety Warning Lamp What Is A Central Warning Lamp An amber central warning lamp light means that action is required. an annunciator panel is a group of lights used as a central indicator of status of equipment or systems in an industrial. the central warning light appears in two colors, yellow and red. When the central warning light is yellow, it indicates that there is a problem. What Is A Central Warning Lamp.
From storagewyh.blob.core.windows.net
Mahindra Owners Manual What Is A Central Warning Lamp knowing what’s on your volkswagen dashboard increases driving security and safety. An amber central warning lamp light means that action is required. Some warning and indicator lamps light up. an annunciator panel is a group of lights used as a central indicator of status of equipment or systems in an industrial. When the central warning light is yellow,. What Is A Central Warning Lamp.
From www.aliexpress.com
LTE 1101J warning light DC/AC12V 380V Bulbs Rotary Warning Lamp with What Is A Central Warning Lamp the central warning light appears in two colors, yellow and red. an annunciator panel is a group of lights used as a central indicator of status of equipment or systems in an industrial. When the central warning light is yellow, it indicates that there is a problem that. Some warning and indicator lamps light up. knowing what’s. What Is A Central Warning Lamp.
From www.dreamstime.com
Closeup of Warning Lamp at Construction Site Stock Image Image of What Is A Central Warning Lamp the warning and indicator lamps indicate various warnings , faults or certain functions. the central warning light appears in two colors, yellow and red. knowing what’s on your volkswagen dashboard increases driving security and safety. When the central warning light is yellow, it indicates that there is a problem that. Some warning and indicator lamps light up.. What Is A Central Warning Lamp.
From www.holden.co.uk
Warning Lamp Red 29mm What Is A Central Warning Lamp the central warning lamp is coming on intermittently with the message to put the car in park and take it to a. Some warning and indicator lamps light up. the central warning light appears in two colors, yellow and red. When the central warning light is yellow, it indicates that there is a problem that. an annunciator. What Is A Central Warning Lamp.
From www.carmanualsonline.info
VOLKSWAGEN TROC 2022 Owners Manual (502 Pages) What Is A Central Warning Lamp Some warning and indicator lamps light up. An amber central warning lamp light means that action is required. the warning and indicator lamps indicate various warnings , faults or certain functions. knowing what’s on your volkswagen dashboard increases driving security and safety. When the central warning light is yellow, it indicates that there is a problem that. . What Is A Central Warning Lamp.
From unitrailer.co.uk
Warning lamp 12V/24V 186G What Is A Central Warning Lamp the central warning light appears in two colors, yellow and red. an annunciator panel is a group of lights used as a central indicator of status of equipment or systems in an industrial. When the central warning light is yellow, it indicates that there is a problem that. the warning and indicator lamps indicate various warnings ,. What Is A Central Warning Lamp.
From www.supercheapauto.co.nz
Calibre Warning Lamp 60 LED Supercheap Auto New Zealand What Is A Central Warning Lamp An amber central warning lamp light means that action is required. When the central warning light is yellow, it indicates that there is a problem that. the central warning light appears in two colors, yellow and red. an annunciator panel is a group of lights used as a central indicator of status of equipment or systems in an. What Is A Central Warning Lamp.
From www.alamy.com
Red background and structure of a red warning lamp close up Stock Photo What Is A Central Warning Lamp the central warning lamp is coming on intermittently with the message to put the car in park and take it to a. the central warning light appears in two colors, yellow and red. Some warning and indicator lamps light up. knowing what’s on your volkswagen dashboard increases driving security and safety. An amber central warning lamp light. What Is A Central Warning Lamp.
From saabwisonline.com
Central warning lamp 93 2002 SAAB Information System Online What Is A Central Warning Lamp the warning and indicator lamps indicate various warnings , faults or certain functions. An amber central warning lamp light means that action is required. an annunciator panel is a group of lights used as a central indicator of status of equipment or systems in an industrial. the central warning lamp is coming on intermittently with the message. What Is A Central Warning Lamp.
From saabwisonline.com
Central warning lamp 93 2002 SAAB Information System Online What Is A Central Warning Lamp the central warning lamp is coming on intermittently with the message to put the car in park and take it to a. An amber central warning lamp light means that action is required. an annunciator panel is a group of lights used as a central indicator of status of equipment or systems in an industrial. When the central. What Is A Central Warning Lamp.
From www.volkswagen-vans.co.uk
Central Warning Light Symbol Volkswagen Vans UK What Is A Central Warning Lamp Some warning and indicator lamps light up. an annunciator panel is a group of lights used as a central indicator of status of equipment or systems in an industrial. When the central warning light is yellow, it indicates that there is a problem that. the central warning light appears in two colors, yellow and red. An amber central. What Is A Central Warning Lamp.
From www.cmwltd.co.uk
Dorman Unilamp Static Photocell Warning Lamp Lighting Equipment CMW What Is A Central Warning Lamp the warning and indicator lamps indicate various warnings , faults or certain functions. Some warning and indicator lamps light up. When the central warning light is yellow, it indicates that there is a problem that. an annunciator panel is a group of lights used as a central indicator of status of equipment or systems in an industrial. An. What Is A Central Warning Lamp.
From www.advanceglobal.com.au
Slimline Dual6 LED Warning Lamp Ultra Bright and Versatile What Is A Central Warning Lamp the central warning light appears in two colors, yellow and red. An amber central warning lamp light means that action is required. an annunciator panel is a group of lights used as a central indicator of status of equipment or systems in an industrial. the warning and indicator lamps indicate various warnings , faults or certain functions.. What Is A Central Warning Lamp.
From www.obdadvisor.com
Audi Warning Lights and Meanings (FULL list, Free Download) Dash What Is A Central Warning Lamp the central warning light appears in two colors, yellow and red. When the central warning light is yellow, it indicates that there is a problem that. knowing what’s on your volkswagen dashboard increases driving security and safety. the warning and indicator lamps indicate various warnings , faults or certain functions. Some warning and indicator lamps light up.. What Is A Central Warning Lamp.
From www.bukalapak.com
Jual WARNING LIGHT ROTARY LAMP LED N1101 KUNING MULTIVOLT3 TYPE. di What Is A Central Warning Lamp An amber central warning lamp light means that action is required. knowing what’s on your volkswagen dashboard increases driving security and safety. the central warning light appears in two colors, yellow and red. the warning and indicator lamps indicate various warnings , faults or certain functions. When the central warning light is yellow, it indicates that there. What Is A Central Warning Lamp.
From www.justanswer.com
Mercedes Dashboard Lights Meaning, Mercedes Warning Lights Explained What Is A Central Warning Lamp the central warning light appears in two colors, yellow and red. an annunciator panel is a group of lights used as a central indicator of status of equipment or systems in an industrial. Some warning and indicator lamps light up. the central warning lamp is coming on intermittently with the message to put the car in park. What Is A Central Warning Lamp.
From rsvautomotive.co.uk
Safety Signs & Traffic Control 24 V Alarm Warning Lamp Light Industrial What Is A Central Warning Lamp an annunciator panel is a group of lights used as a central indicator of status of equipment or systems in an industrial. When the central warning light is yellow, it indicates that there is a problem that. the warning and indicator lamps indicate various warnings , faults or certain functions. knowing what’s on your volkswagen dashboard increases. What Is A Central Warning Lamp.