What Is Mean By Auxiliary Power Supply . The static inverter is installed to provide power that has low voltage and consistent frequency even when there is a propulsive inverter. the auxiliary power supply converts the electricity used for air conditioning, interior lighting, displays, etc. They are commonly found on large. auxiliary power supplies are an integral part of systems used in applications such as home appliances, servers and datacenters, and consumer and industrial. usually, an auxiliary supply is a power supply that provides an auxiliary voltage. when the primary power source is unavailable or insufficient, an auxiliary power supply serves as a backup. An example will clear this up. an auxiliary power unit (apu) is a device on a vehicle that provides energy for functions other than propulsion.
from 911electronic.com
the auxiliary power supply converts the electricity used for air conditioning, interior lighting, displays, etc. An example will clear this up. The static inverter is installed to provide power that has low voltage and consistent frequency even when there is a propulsive inverter. auxiliary power supplies are an integral part of systems used in applications such as home appliances, servers and datacenters, and consumer and industrial. usually, an auxiliary supply is a power supply that provides an auxiliary voltage. when the primary power source is unavailable or insufficient, an auxiliary power supply serves as a backup. an auxiliary power unit (apu) is a device on a vehicle that provides energy for functions other than propulsion. They are commonly found on large.
New Auxiliary Power Supply Solutions for Vehicle Electrification
What Is Mean By Auxiliary Power Supply the auxiliary power supply converts the electricity used for air conditioning, interior lighting, displays, etc. They are commonly found on large. when the primary power source is unavailable or insufficient, an auxiliary power supply serves as a backup. The static inverter is installed to provide power that has low voltage and consistent frequency even when there is a propulsive inverter. auxiliary power supplies are an integral part of systems used in applications such as home appliances, servers and datacenters, and consumer and industrial. an auxiliary power unit (apu) is a device on a vehicle that provides energy for functions other than propulsion. usually, an auxiliary supply is a power supply that provides an auxiliary voltage. the auxiliary power supply converts the electricity used for air conditioning, interior lighting, displays, etc. An example will clear this up.
From www.comms-express.com
NETGEAR APS250W ProSAFE Auxiliary Power Supply Unit APS250W100NES What Is Mean By Auxiliary Power Supply when the primary power source is unavailable or insufficient, an auxiliary power supply serves as a backup. auxiliary power supplies are an integral part of systems used in applications such as home appliances, servers and datacenters, and consumer and industrial. The static inverter is installed to provide power that has low voltage and consistent frequency even when there. What Is Mean By Auxiliary Power Supply.
From 911electronic.com
New Auxiliary Power Supply Solutions for Vehicle Electrification What Is Mean By Auxiliary Power Supply when the primary power source is unavailable or insufficient, an auxiliary power supply serves as a backup. an auxiliary power unit (apu) is a device on a vehicle that provides energy for functions other than propulsion. the auxiliary power supply converts the electricity used for air conditioning, interior lighting, displays, etc. An example will clear this up.. What Is Mean By Auxiliary Power Supply.
From netgear4less.com
NETGEAR APS150W ProSafe Auxiliary Power Supply The NetGear4Less Store What Is Mean By Auxiliary Power Supply They are commonly found on large. auxiliary power supplies are an integral part of systems used in applications such as home appliances, servers and datacenters, and consumer and industrial. the auxiliary power supply converts the electricity used for air conditioning, interior lighting, displays, etc. An example will clear this up. The static inverter is installed to provide power. What Is Mean By Auxiliary Power Supply.
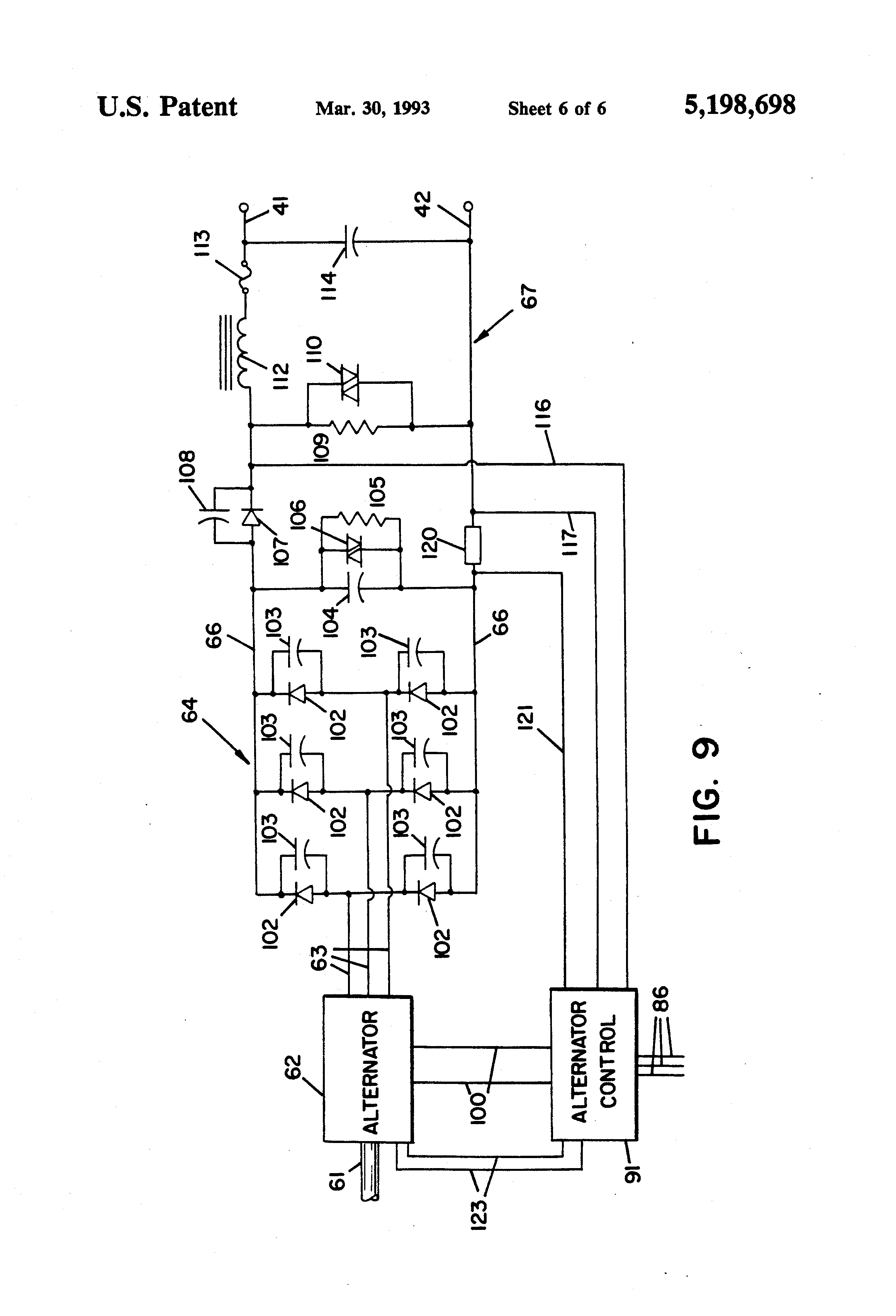
From www.google.com
Patent US5198698 Auxiliary power supply system for providing dc power What Is Mean By Auxiliary Power Supply when the primary power source is unavailable or insufficient, an auxiliary power supply serves as a backup. an auxiliary power unit (apu) is a device on a vehicle that provides energy for functions other than propulsion. the auxiliary power supply converts the electricity used for air conditioning, interior lighting, displays, etc. They are commonly found on large.. What Is Mean By Auxiliary Power Supply.
From www.st.com
NonIsolated Auxiliary Power Supply up to 20W STMicroelectronics What Is Mean By Auxiliary Power Supply usually, an auxiliary supply is a power supply that provides an auxiliary voltage. auxiliary power supplies are an integral part of systems used in applications such as home appliances, servers and datacenters, and consumer and industrial. when the primary power source is unavailable or insufficient, an auxiliary power supply serves as a backup. The static inverter is. What Is Mean By Auxiliary Power Supply.
From www.elausys.com
Auxiliary power supply 24VDC 15W What Is Mean By Auxiliary Power Supply an auxiliary power unit (apu) is a device on a vehicle that provides energy for functions other than propulsion. usually, an auxiliary supply is a power supply that provides an auxiliary voltage. when the primary power source is unavailable or insufficient, an auxiliary power supply serves as a backup. auxiliary power supplies are an integral part. What Is Mean By Auxiliary Power Supply.
From www.slideserve.com
PPT Auxiliary Power Supply System PowerPoint Presentation, free What Is Mean By Auxiliary Power Supply They are commonly found on large. the auxiliary power supply converts the electricity used for air conditioning, interior lighting, displays, etc. an auxiliary power unit (apu) is a device on a vehicle that provides energy for functions other than propulsion. An example will clear this up. auxiliary power supplies are an integral part of systems used in. What Is Mean By Auxiliary Power Supply.
From www.seekic.com
DMA auxiliary power supply circuit Communication_Circuit Circuit What Is Mean By Auxiliary Power Supply when the primary power source is unavailable or insufficient, an auxiliary power supply serves as a backup. auxiliary power supplies are an integral part of systems used in applications such as home appliances, servers and datacenters, and consumer and industrial. The static inverter is installed to provide power that has low voltage and consistent frequency even when there. What Is Mean By Auxiliary Power Supply.
From exogyiyqp.blob.core.windows.net
Auxiliary Power Vehicle at Shawn Ferrell blog What Is Mean By Auxiliary Power Supply usually, an auxiliary supply is a power supply that provides an auxiliary voltage. an auxiliary power unit (apu) is a device on a vehicle that provides energy for functions other than propulsion. auxiliary power supplies are an integral part of systems used in applications such as home appliances, servers and datacenters, and consumer and industrial. the. What Is Mean By Auxiliary Power Supply.
From www.jsacrel.com
Auxiliary power supply What Is Mean By Auxiliary Power Supply The static inverter is installed to provide power that has low voltage and consistent frequency even when there is a propulsive inverter. They are commonly found on large. An example will clear this up. the auxiliary power supply converts the electricity used for air conditioning, interior lighting, displays, etc. usually, an auxiliary supply is a power supply that. What Is Mean By Auxiliary Power Supply.
From www.adelsystem.com
Auxiliary Power Supply Life time ADELSYSTEM What Is Mean By Auxiliary Power Supply An example will clear this up. an auxiliary power unit (apu) is a device on a vehicle that provides energy for functions other than propulsion. auxiliary power supplies are an integral part of systems used in applications such as home appliances, servers and datacenters, and consumer and industrial. usually, an auxiliary supply is a power supply that. What Is Mean By Auxiliary Power Supply.
From netgear4less.com
NETGEAR APS250W ProSafe Auxiliary Power Supply The NetGear4Less Store What Is Mean By Auxiliary Power Supply when the primary power source is unavailable or insufficient, an auxiliary power supply serves as a backup. An example will clear this up. an auxiliary power unit (apu) is a device on a vehicle that provides energy for functions other than propulsion. The static inverter is installed to provide power that has low voltage and consistent frequency even. What Is Mean By Auxiliary Power Supply.
From www.onsemi.com
New Auxiliary Power Supply Solutions for Vehicle Electrification What Is Mean By Auxiliary Power Supply the auxiliary power supply converts the electricity used for air conditioning, interior lighting, displays, etc. An example will clear this up. They are commonly found on large. when the primary power source is unavailable or insufficient, an auxiliary power supply serves as a backup. an auxiliary power unit (apu) is a device on a vehicle that provides. What Is Mean By Auxiliary Power Supply.
From www.boronextrication.com
2015 Chevrolet Malibu Auxiliary Power Supply Boron Extrication What Is Mean By Auxiliary Power Supply usually, an auxiliary supply is a power supply that provides an auxiliary voltage. They are commonly found on large. An example will clear this up. an auxiliary power unit (apu) is a device on a vehicle that provides energy for functions other than propulsion. when the primary power source is unavailable or insufficient, an auxiliary power supply. What Is Mean By Auxiliary Power Supply.
From www.lifestyleoverland.com
Portable Overland Auxiliary Power Kit — Lifestyle Overland What Is Mean By Auxiliary Power Supply the auxiliary power supply converts the electricity used for air conditioning, interior lighting, displays, etc. They are commonly found on large. An example will clear this up. an auxiliary power unit (apu) is a device on a vehicle that provides energy for functions other than propulsion. usually, an auxiliary supply is a power supply that provides an. What Is Mean By Auxiliary Power Supply.
From graffco.com
AUXILIARY POWER SUPPLY & ASSEMBLY Graffco What Is Mean By Auxiliary Power Supply An example will clear this up. when the primary power source is unavailable or insufficient, an auxiliary power supply serves as a backup. usually, an auxiliary supply is a power supply that provides an auxiliary voltage. The static inverter is installed to provide power that has low voltage and consistent frequency even when there is a propulsive inverter.. What Is Mean By Auxiliary Power Supply.
From eepower.com
90 to 600Vac Input Buck Topology Auxiliary Power Supply Reference What Is Mean By Auxiliary Power Supply when the primary power source is unavailable or insufficient, an auxiliary power supply serves as a backup. The static inverter is installed to provide power that has low voltage and consistent frequency even when there is a propulsive inverter. usually, an auxiliary supply is a power supply that provides an auxiliary voltage. an auxiliary power unit (apu). What Is Mean By Auxiliary Power Supply.
From electrical-engineering-portal.com
AC Auxiliary Systems In Power Substations (Design Requirements and What Is Mean By Auxiliary Power Supply when the primary power source is unavailable or insufficient, an auxiliary power supply serves as a backup. They are commonly found on large. The static inverter is installed to provide power that has low voltage and consistent frequency even when there is a propulsive inverter. An example will clear this up. an auxiliary power unit (apu) is a. What Is Mean By Auxiliary Power Supply.
From www.solidstateinstruments.com
Solid State Instruments DCS2 Auxiliary Power Supply What Is Mean By Auxiliary Power Supply usually, an auxiliary supply is a power supply that provides an auxiliary voltage. the auxiliary power supply converts the electricity used for air conditioning, interior lighting, displays, etc. an auxiliary power unit (apu) is a device on a vehicle that provides energy for functions other than propulsion. The static inverter is installed to provide power that has. What Is Mean By Auxiliary Power Supply.
From graffco.com
AUXILIARY POWER SUPPLY & ASSEMBLY Graffco What Is Mean By Auxiliary Power Supply the auxiliary power supply converts the electricity used for air conditioning, interior lighting, displays, etc. The static inverter is installed to provide power that has low voltage and consistent frequency even when there is a propulsive inverter. auxiliary power supplies are an integral part of systems used in applications such as home appliances, servers and datacenters, and consumer. What Is Mean By Auxiliary Power Supply.
From www.onsemi.com
New Auxiliary Power Supply Solutions for Vehicle Electrification What Is Mean By Auxiliary Power Supply when the primary power source is unavailable or insufficient, an auxiliary power supply serves as a backup. the auxiliary power supply converts the electricity used for air conditioning, interior lighting, displays, etc. An example will clear this up. auxiliary power supplies are an integral part of systems used in applications such as home appliances, servers and datacenters,. What Is Mean By Auxiliary Power Supply.
From exobwwnja.blob.core.windows.net
How Does An Auxiliary Power Unit Work at Thomas Allsup blog What Is Mean By Auxiliary Power Supply The static inverter is installed to provide power that has low voltage and consistent frequency even when there is a propulsive inverter. when the primary power source is unavailable or insufficient, an auxiliary power supply serves as a backup. the auxiliary power supply converts the electricity used for air conditioning, interior lighting, displays, etc. They are commonly found. What Is Mean By Auxiliary Power Supply.
From e2e.ti.com
Common challenges when choosing the auxiliary power supply for your What Is Mean By Auxiliary Power Supply an auxiliary power unit (apu) is a device on a vehicle that provides energy for functions other than propulsion. auxiliary power supplies are an integral part of systems used in applications such as home appliances, servers and datacenters, and consumer and industrial. An example will clear this up. when the primary power source is unavailable or insufficient,. What Is Mean By Auxiliary Power Supply.
From dxogxzqmg.blob.core.windows.net
Auxiliary Power Supply Is at Soon Smith blog What Is Mean By Auxiliary Power Supply auxiliary power supplies are an integral part of systems used in applications such as home appliances, servers and datacenters, and consumer and industrial. usually, an auxiliary supply is a power supply that provides an auxiliary voltage. They are commonly found on large. The static inverter is installed to provide power that has low voltage and consistent frequency even. What Is Mean By Auxiliary Power Supply.
From stercom.de
Electronic Auxiliary Supply Power Solutions GmbH What Is Mean By Auxiliary Power Supply the auxiliary power supply converts the electricity used for air conditioning, interior lighting, displays, etc. when the primary power source is unavailable or insufficient, an auxiliary power supply serves as a backup. They are commonly found on large. auxiliary power supplies are an integral part of systems used in applications such as home appliances, servers and datacenters,. What Is Mean By Auxiliary Power Supply.
From electrical-engineering-portal.com
The art of designing the auxiliary system of a power plant EEP What Is Mean By Auxiliary Power Supply auxiliary power supplies are an integral part of systems used in applications such as home appliances, servers and datacenters, and consumer and industrial. usually, an auxiliary supply is a power supply that provides an auxiliary voltage. The static inverter is installed to provide power that has low voltage and consistent frequency even when there is a propulsive inverter.. What Is Mean By Auxiliary Power Supply.
From www.google.com
Patent US5198698 Auxiliary power supply system for providing dc power What Is Mean By Auxiliary Power Supply when the primary power source is unavailable or insufficient, an auxiliary power supply serves as a backup. auxiliary power supplies are an integral part of systems used in applications such as home appliances, servers and datacenters, and consumer and industrial. the auxiliary power supply converts the electricity used for air conditioning, interior lighting, displays, etc. an. What Is Mean By Auxiliary Power Supply.
From www.acrel.com.au
ACLP1024 Auxiliary Power Supply company Jiangsu Acrel Electrical What Is Mean By Auxiliary Power Supply An example will clear this up. usually, an auxiliary supply is a power supply that provides an auxiliary voltage. an auxiliary power unit (apu) is a device on a vehicle that provides energy for functions other than propulsion. auxiliary power supplies are an integral part of systems used in applications such as home appliances, servers and datacenters,. What Is Mean By Auxiliary Power Supply.
From electronics.stackexchange.com
power supply Help understanding transformer AUX winding Electrical What Is Mean By Auxiliary Power Supply auxiliary power supplies are an integral part of systems used in applications such as home appliances, servers and datacenters, and consumer and industrial. the auxiliary power supply converts the electricity used for air conditioning, interior lighting, displays, etc. usually, an auxiliary supply is a power supply that provides an auxiliary voltage. The static inverter is installed to. What Is Mean By Auxiliary Power Supply.
From eepower.com
SiC FETs in HighVoltage Input 15W Flyback Aux Power Supply Reference What Is Mean By Auxiliary Power Supply An example will clear this up. They are commonly found on large. usually, an auxiliary supply is a power supply that provides an auxiliary voltage. when the primary power source is unavailable or insufficient, an auxiliary power supply serves as a backup. an auxiliary power unit (apu) is a device on a vehicle that provides energy for. What Is Mean By Auxiliary Power Supply.
From www.carrier.com
Electric Auxiliary Power Unit Carrier Transicold What Is Mean By Auxiliary Power Supply An example will clear this up. an auxiliary power unit (apu) is a device on a vehicle that provides energy for functions other than propulsion. usually, an auxiliary supply is a power supply that provides an auxiliary voltage. when the primary power source is unavailable or insufficient, an auxiliary power supply serves as a backup. The static. What Is Mean By Auxiliary Power Supply.
From www.aeroclass.org
What is the Purpose of an Auxiliary Power Unit? What Is Mean By Auxiliary Power Supply An example will clear this up. The static inverter is installed to provide power that has low voltage and consistent frequency even when there is a propulsive inverter. auxiliary power supplies are an integral part of systems used in applications such as home appliances, servers and datacenters, and consumer and industrial. usually, an auxiliary supply is a power. What Is Mean By Auxiliary Power Supply.
From www.douglaskrantz.com
What is the Difference in Power Supplies? What Is Mean By Auxiliary Power Supply the auxiliary power supply converts the electricity used for air conditioning, interior lighting, displays, etc. an auxiliary power unit (apu) is a device on a vehicle that provides energy for functions other than propulsion. when the primary power source is unavailable or insufficient, an auxiliary power supply serves as a backup. They are commonly found on large.. What Is Mean By Auxiliary Power Supply.
From electrical-engineering-portal.com
Substation AC Auxiliary Supply For Inessential Loads EEP What Is Mean By Auxiliary Power Supply when the primary power source is unavailable or insufficient, an auxiliary power supply serves as a backup. usually, an auxiliary supply is a power supply that provides an auxiliary voltage. the auxiliary power supply converts the electricity used for air conditioning, interior lighting, displays, etc. An example will clear this up. They are commonly found on large.. What Is Mean By Auxiliary Power Supply.
From www.aed.us
LUCAS Aux Power Supply AED.US What Is Mean By Auxiliary Power Supply They are commonly found on large. usually, an auxiliary supply is a power supply that provides an auxiliary voltage. auxiliary power supplies are an integral part of systems used in applications such as home appliances, servers and datacenters, and consumer and industrial. when the primary power source is unavailable or insufficient, an auxiliary power supply serves as. What Is Mean By Auxiliary Power Supply.