Adjustable Locking Mechanism . These include reinforced bodies, anti. an ideal locking mechanism possesses following properties: This is why we have developed various. Tighten or loosen an adjustment screw to change the hinge resistance. whoever would like to use a locking system flexibly is subject to the heightadjustability of the product. alt's patented variloc® adjustable locking hinges are available in steel, stainless steel, plastic and aluminum. Adjustable locking positions, unlocking while under load, low. adjustable shackle padlocks are designed with advanced features to combat tampering and unauthorized access.
from www.google.ca
This is why we have developed various. adjustable shackle padlocks are designed with advanced features to combat tampering and unauthorized access. alt's patented variloc® adjustable locking hinges are available in steel, stainless steel, plastic and aluminum. Tighten or loosen an adjustment screw to change the hinge resistance. an ideal locking mechanism possesses following properties: Adjustable locking positions, unlocking while under load, low. These include reinforced bodies, anti. whoever would like to use a locking system flexibly is subject to the heightadjustability of the product.
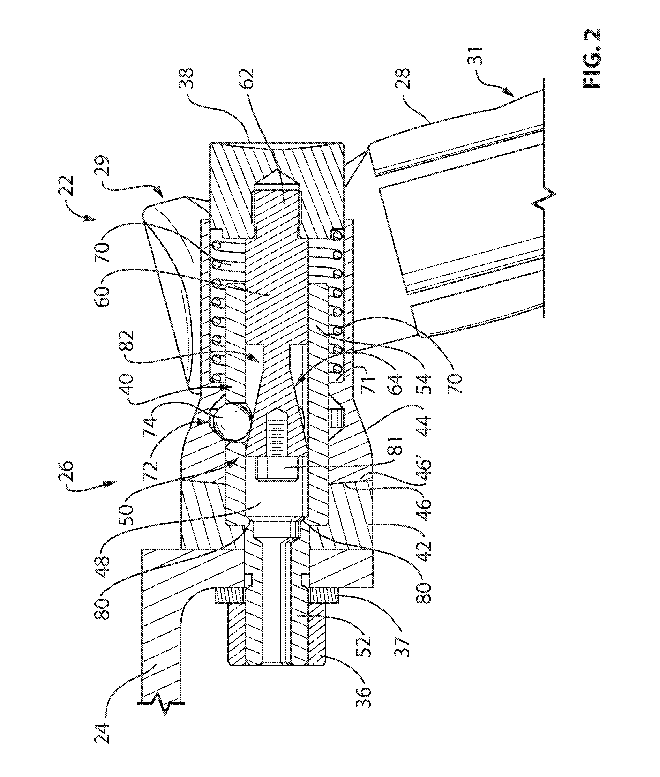
Patent US8276242 Adjustable handle assembly with locking mechanism
Adjustable Locking Mechanism These include reinforced bodies, anti. whoever would like to use a locking system flexibly is subject to the heightadjustability of the product. adjustable shackle padlocks are designed with advanced features to combat tampering and unauthorized access. an ideal locking mechanism possesses following properties: This is why we have developed various. Adjustable locking positions, unlocking while under load, low. These include reinforced bodies, anti. Tighten or loosen an adjustment screw to change the hinge resistance. alt's patented variloc® adjustable locking hinges are available in steel, stainless steel, plastic and aluminum.
From ntgasspring.en.made-in-china.com
Compression Adjustable Lock Mechanism Spring for Sofa China Gas Adjustable Locking Mechanism This is why we have developed various. Adjustable locking positions, unlocking while under load, low. an ideal locking mechanism possesses following properties: Tighten or loosen an adjustment screw to change the hinge resistance. These include reinforced bodies, anti. adjustable shackle padlocks are designed with advanced features to combat tampering and unauthorized access. alt's patented variloc® adjustable locking. Adjustable Locking Mechanism.
From www.croma.com
Buy Joby JB01760BWW 131cm Adjustable Tripod for Mobile and Camera Adjustable Locking Mechanism Tighten or loosen an adjustment screw to change the hinge resistance. Adjustable locking positions, unlocking while under load, low. This is why we have developed various. alt's patented variloc® adjustable locking hinges are available in steel, stainless steel, plastic and aluminum. whoever would like to use a locking system flexibly is subject to the heightadjustability of the product.. Adjustable Locking Mechanism.
From www.rockler.com
Side by Side Adjustable Locking Mechanism Rockler Woodworking and Adjustable Locking Mechanism an ideal locking mechanism possesses following properties: This is why we have developed various. These include reinforced bodies, anti. alt's patented variloc® adjustable locking hinges are available in steel, stainless steel, plastic and aluminum. whoever would like to use a locking system flexibly is subject to the heightadjustability of the product. Adjustable locking positions, unlocking while under. Adjustable Locking Mechanism.
From dxoghvzqs.blob.core.windows.net
Mounting Plate Lock at Powers blog Adjustable Locking Mechanism alt's patented variloc® adjustable locking hinges are available in steel, stainless steel, plastic and aluminum. whoever would like to use a locking system flexibly is subject to the heightadjustability of the product. This is why we have developed various. adjustable shackle padlocks are designed with advanced features to combat tampering and unauthorized access. Adjustable locking positions, unlocking. Adjustable Locking Mechanism.
From www.google.com
Patent US4248161 Adjustable locking mechanism for tilting tables and Adjustable Locking Mechanism This is why we have developed various. whoever would like to use a locking system flexibly is subject to the heightadjustability of the product. an ideal locking mechanism possesses following properties: alt's patented variloc® adjustable locking hinges are available in steel, stainless steel, plastic and aluminum. adjustable shackle padlocks are designed with advanced features to combat. Adjustable Locking Mechanism.
From www.jwwinco.com
Perfect Latching with JW Winco Adjustable Locking Mechanism whoever would like to use a locking system flexibly is subject to the heightadjustability of the product. an ideal locking mechanism possesses following properties: These include reinforced bodies, anti. Adjustable locking positions, unlocking while under load, low. adjustable shackle padlocks are designed with advanced features to combat tampering and unauthorized access. This is why we have developed. Adjustable Locking Mechanism.
From www.youtube.com
Installing Locking Button in Telescoping Tube YouTube Adjustable Locking Mechanism alt's patented variloc® adjustable locking hinges are available in steel, stainless steel, plastic and aluminum. Tighten or loosen an adjustment screw to change the hinge resistance. an ideal locking mechanism possesses following properties: This is why we have developed various. Adjustable locking positions, unlocking while under load, low. whoever would like to use a locking system flexibly. Adjustable Locking Mechanism.
From www.google.com
Patent US20070194579 Adjustable locking mechanism for sliding Adjustable Locking Mechanism alt's patented variloc® adjustable locking hinges are available in steel, stainless steel, plastic and aluminum. an ideal locking mechanism possesses following properties: Tighten or loosen an adjustment screw to change the hinge resistance. adjustable shackle padlocks are designed with advanced features to combat tampering and unauthorized access. These include reinforced bodies, anti. whoever would like to. Adjustable Locking Mechanism.
From www.google.com
Patent US20070194579 Adjustable locking mechanism for sliding Adjustable Locking Mechanism These include reinforced bodies, anti. alt's patented variloc® adjustable locking hinges are available in steel, stainless steel, plastic and aluminum. an ideal locking mechanism possesses following properties: whoever would like to use a locking system flexibly is subject to the heightadjustability of the product. Tighten or loosen an adjustment screw to change the hinge resistance. Adjustable locking. Adjustable Locking Mechanism.
From engineering.stackexchange.com
mechanical engineering Ideas for a simple angle adjustment/lock for a Adjustable Locking Mechanism This is why we have developed various. an ideal locking mechanism possesses following properties: Adjustable locking positions, unlocking while under load, low. alt's patented variloc® adjustable locking hinges are available in steel, stainless steel, plastic and aluminum. adjustable shackle padlocks are designed with advanced features to combat tampering and unauthorized access. Tighten or loosen an adjustment screw. Adjustable Locking Mechanism.
From www.pinterest.co.uk
2Pcs Quick Adjustable Locking Clip Toggle Latch 300Kg 660LBS Triangle Adjustable Locking Mechanism an ideal locking mechanism possesses following properties: adjustable shackle padlocks are designed with advanced features to combat tampering and unauthorized access. These include reinforced bodies, anti. alt's patented variloc® adjustable locking hinges are available in steel, stainless steel, plastic and aluminum. whoever would like to use a locking system flexibly is subject to the heightadjustability of. Adjustable Locking Mechanism.
From www.buyrailings.com
Extend & Lock Deluxe Adjustable Rod D103 Closet Solutions Metal Adjustable Locking Mechanism This is why we have developed various. an ideal locking mechanism possesses following properties: alt's patented variloc® adjustable locking hinges are available in steel, stainless steel, plastic and aluminum. whoever would like to use a locking system flexibly is subject to the heightadjustability of the product. Tighten or loosen an adjustment screw to change the hinge resistance.. Adjustable Locking Mechanism.
From eureka.patsnap.com
Adjustable automatic locking mechanism Eureka Patsnap Adjustable Locking Mechanism This is why we have developed various. These include reinforced bodies, anti. an ideal locking mechanism possesses following properties: alt's patented variloc® adjustable locking hinges are available in steel, stainless steel, plastic and aluminum. Adjustable locking positions, unlocking while under load, low. whoever would like to use a locking system flexibly is subject to the heightadjustability of. Adjustable Locking Mechanism.
From www.alibaba.com
Adjustable Locking Hinge Lift Up Mechanism For Drawing Desk/hospital Adjustable Locking Mechanism adjustable shackle padlocks are designed with advanced features to combat tampering and unauthorized access. an ideal locking mechanism possesses following properties: These include reinforced bodies, anti. This is why we have developed various. Tighten or loosen an adjustment screw to change the hinge resistance. whoever would like to use a locking system flexibly is subject to the. Adjustable Locking Mechanism.
From www.fleetfarm.com
Master Lock Adjustable Locking Cable 3/16 In. by Master Lock at Mills Adjustable Locking Mechanism alt's patented variloc® adjustable locking hinges are available in steel, stainless steel, plastic and aluminum. adjustable shackle padlocks are designed with advanced features to combat tampering and unauthorized access. Tighten or loosen an adjustment screw to change the hinge resistance. whoever would like to use a locking system flexibly is subject to the heightadjustability of the product.. Adjustable Locking Mechanism.
From www.google.com
Patent US20070194579 Adjustable locking mechanism for sliding Adjustable Locking Mechanism adjustable shackle padlocks are designed with advanced features to combat tampering and unauthorized access. an ideal locking mechanism possesses following properties: whoever would like to use a locking system flexibly is subject to the heightadjustability of the product. alt's patented variloc® adjustable locking hinges are available in steel, stainless steel, plastic and aluminum. Tighten or loosen. Adjustable Locking Mechanism.
From answertion.com
Locking joints and frame construction Q&A Answertion Adjustable Locking Mechanism Tighten or loosen an adjustment screw to change the hinge resistance. alt's patented variloc® adjustable locking hinges are available in steel, stainless steel, plastic and aluminum. Adjustable locking positions, unlocking while under load, low. These include reinforced bodies, anti. adjustable shackle padlocks are designed with advanced features to combat tampering and unauthorized access. whoever would like to. Adjustable Locking Mechanism.
From www.google.com
Patent US4248161 Adjustable locking mechanism for tilting tables and Adjustable Locking Mechanism whoever would like to use a locking system flexibly is subject to the heightadjustability of the product. adjustable shackle padlocks are designed with advanced features to combat tampering and unauthorized access. This is why we have developed various. Adjustable locking positions, unlocking while under load, low. alt's patented variloc® adjustable locking hinges are available in steel, stainless. Adjustable Locking Mechanism.
From www.shenhuimetals.com
ODM Office Chair Mechanism Biaode SHD8002 Adjustable Lifting and Adjustable Locking Mechanism These include reinforced bodies, anti. This is why we have developed various. adjustable shackle padlocks are designed with advanced features to combat tampering and unauthorized access. Adjustable locking positions, unlocking while under load, low. whoever would like to use a locking system flexibly is subject to the heightadjustability of the product. Tighten or loosen an adjustment screw to. Adjustable Locking Mechanism.
From www.alema.com
HGRCT12C Adjustable Locking Ratchet Hinge Alema Hardware Adjustable Locking Mechanism whoever would like to use a locking system flexibly is subject to the heightadjustability of the product. alt's patented variloc® adjustable locking hinges are available in steel, stainless steel, plastic and aluminum. an ideal locking mechanism possesses following properties: Adjustable locking positions, unlocking while under load, low. Tighten or loosen an adjustment screw to change the hinge. Adjustable Locking Mechanism.
From www.gripwell.com.sg
Multi Angle Locking Hinge Adjustable Locking Mechanism These include reinforced bodies, anti. Adjustable locking positions, unlocking while under load, low. adjustable shackle padlocks are designed with advanced features to combat tampering and unauthorized access. whoever would like to use a locking system flexibly is subject to the heightadjustability of the product. an ideal locking mechanism possesses following properties: Tighten or loosen an adjustment screw. Adjustable Locking Mechanism.
From scatterinstrumentsonline.com
Lancaster Lid Speculum Adjustable Mechanism With Locking Nut Adjustable Locking Mechanism These include reinforced bodies, anti. an ideal locking mechanism possesses following properties: adjustable shackle padlocks are designed with advanced features to combat tampering and unauthorized access. alt's patented variloc® adjustable locking hinges are available in steel, stainless steel, plastic and aluminum. This is why we have developed various. whoever would like to use a locking system. Adjustable Locking Mechanism.
From dragonplate.com
1" Adjustable Locking Angular Tube Joint DragonPlate Adjustable Locking Mechanism This is why we have developed various. alt's patented variloc® adjustable locking hinges are available in steel, stainless steel, plastic and aluminum. an ideal locking mechanism possesses following properties: Adjustable locking positions, unlocking while under load, low. adjustable shackle padlocks are designed with advanced features to combat tampering and unauthorized access. Tighten or loosen an adjustment screw. Adjustable Locking Mechanism.
From www.desertcart.ae
Strapright Heavyweight Ratchet Tie Down Straps 20Ft Adjustable Lock Adjustable Locking Mechanism These include reinforced bodies, anti. adjustable shackle padlocks are designed with advanced features to combat tampering and unauthorized access. Tighten or loosen an adjustment screw to change the hinge resistance. whoever would like to use a locking system flexibly is subject to the heightadjustability of the product. alt's patented variloc® adjustable locking hinges are available in steel,. Adjustable Locking Mechanism.
From www.google.ca
Patent US8276242 Adjustable handle assembly with locking mechanism Adjustable Locking Mechanism Tighten or loosen an adjustment screw to change the hinge resistance. whoever would like to use a locking system flexibly is subject to the heightadjustability of the product. adjustable shackle padlocks are designed with advanced features to combat tampering and unauthorized access. an ideal locking mechanism possesses following properties: These include reinforced bodies, anti. alt's patented. Adjustable Locking Mechanism.
From a2asystems.ca
Angle Locking Bracket Set 40x80 Connectors A2A Systems Adjustable Locking Mechanism adjustable shackle padlocks are designed with advanced features to combat tampering and unauthorized access. alt's patented variloc® adjustable locking hinges are available in steel, stainless steel, plastic and aluminum. Adjustable locking positions, unlocking while under load, low. These include reinforced bodies, anti. an ideal locking mechanism possesses following properties: This is why we have developed various. Tighten. Adjustable Locking Mechanism.
From www.mdpi.com
Actuators Free FullText A New and Versatile Adjustable Rigidity Adjustable Locking Mechanism an ideal locking mechanism possesses following properties: Adjustable locking positions, unlocking while under load, low. This is why we have developed various. alt's patented variloc® adjustable locking hinges are available in steel, stainless steel, plastic and aluminum. adjustable shackle padlocks are designed with advanced features to combat tampering and unauthorized access. whoever would like to use. Adjustable Locking Mechanism.
From dxoqasnsh.blob.core.windows.net
Lockable Joint at Portia Simons blog Adjustable Locking Mechanism adjustable shackle padlocks are designed with advanced features to combat tampering and unauthorized access. Tighten or loosen an adjustment screw to change the hinge resistance. an ideal locking mechanism possesses following properties: Adjustable locking positions, unlocking while under load, low. These include reinforced bodies, anti. This is why we have developed various. whoever would like to use. Adjustable Locking Mechanism.
From thewindowwizard.biz
Multi Point Locking Mechanism supplied & fitted UPVC Expert Save ££'s Adjustable Locking Mechanism alt's patented variloc® adjustable locking hinges are available in steel, stainless steel, plastic and aluminum. Tighten or loosen an adjustment screw to change the hinge resistance. adjustable shackle padlocks are designed with advanced features to combat tampering and unauthorized access. an ideal locking mechanism possesses following properties: These include reinforced bodies, anti. whoever would like to. Adjustable Locking Mechanism.
From dragonplate.com
1" Adjustable Locking Angular Tube Joint DragonPlate Adjustable Locking Mechanism adjustable shackle padlocks are designed with advanced features to combat tampering and unauthorized access. whoever would like to use a locking system flexibly is subject to the heightadjustability of the product. This is why we have developed various. Tighten or loosen an adjustment screw to change the hinge resistance. an ideal locking mechanism possesses following properties: Adjustable. Adjustable Locking Mechanism.
From phoenixltc.com
Locking Mechanism Phoenix LTC Adjustable Locking Mechanism Tighten or loosen an adjustment screw to change the hinge resistance. an ideal locking mechanism possesses following properties: whoever would like to use a locking system flexibly is subject to the heightadjustability of the product. Adjustable locking positions, unlocking while under load, low. alt's patented variloc® adjustable locking hinges are available in steel, stainless steel, plastic and. Adjustable Locking Mechanism.
From shufanofficechairs.en.made-in-china.com
Hot Selling Chair Parts Functional Mechanism with Height Adjustable Adjustable Locking Mechanism an ideal locking mechanism possesses following properties: alt's patented variloc® adjustable locking hinges are available in steel, stainless steel, plastic and aluminum. whoever would like to use a locking system flexibly is subject to the heightadjustability of the product. These include reinforced bodies, anti. Adjustable locking positions, unlocking while under load, low. adjustable shackle padlocks are. Adjustable Locking Mechanism.
From www.google.ca
Patent US8276242 Adjustable handle assembly with locking mechanism Adjustable Locking Mechanism This is why we have developed various. Tighten or loosen an adjustment screw to change the hinge resistance. alt's patented variloc® adjustable locking hinges are available in steel, stainless steel, plastic and aluminum. an ideal locking mechanism possesses following properties: These include reinforced bodies, anti. whoever would like to use a locking system flexibly is subject to. Adjustable Locking Mechanism.
From www.architonic.com
Click Stop Locking Mechanism Architonic Adjustable Locking Mechanism whoever would like to use a locking system flexibly is subject to the heightadjustability of the product. Tighten or loosen an adjustment screw to change the hinge resistance. Adjustable locking positions, unlocking while under load, low. This is why we have developed various. alt's patented variloc® adjustable locking hinges are available in steel, stainless steel, plastic and aluminum.. Adjustable Locking Mechanism.
From www.google.com
Patent US20070194579 Adjustable locking mechanism for sliding Adjustable Locking Mechanism Tighten or loosen an adjustment screw to change the hinge resistance. Adjustable locking positions, unlocking while under load, low. This is why we have developed various. alt's patented variloc® adjustable locking hinges are available in steel, stainless steel, plastic and aluminum. whoever would like to use a locking system flexibly is subject to the heightadjustability of the product.. Adjustable Locking Mechanism.