Bt50 Manual Gearbox Issues . I have bought a bt50 3.2 lt with a 6 speed manual gearbox in 2014, my 2000 windsor crown weighs loaded up at 2.4 tonne. If you're not feeling this click for the 3rd gear, something may be wrong with the springs in the synchro collar/detent mechanism. Find out how to fix or prevent these issues and what to do if you encounter them. 2012 late model bt50 with 76000 km but out of time warranty. Has anyone had a problem with developing gearbox bearing noise.
from workshopmanuals.org
Find out how to fix or prevent these issues and what to do if you encounter them. If you're not feeling this click for the 3rd gear, something may be wrong with the springs in the synchro collar/detent mechanism. Has anyone had a problem with developing gearbox bearing noise. 2012 late model bt50 with 76000 km but out of time warranty. I have bought a bt50 3.2 lt with a 6 speed manual gearbox in 2014, my 2000 windsor crown weighs loaded up at 2.4 tonne.
Mazda BT50 Repair Manual 20062015 PDF Download
Bt50 Manual Gearbox Issues If you're not feeling this click for the 3rd gear, something may be wrong with the springs in the synchro collar/detent mechanism. Has anyone had a problem with developing gearbox bearing noise. I have bought a bt50 3.2 lt with a 6 speed manual gearbox in 2014, my 2000 windsor crown weighs loaded up at 2.4 tonne. 2012 late model bt50 with 76000 km but out of time warranty. If you're not feeling this click for the 3rd gear, something may be wrong with the springs in the synchro collar/detent mechanism. Find out how to fix or prevent these issues and what to do if you encounter them.
From www.b-parts.com
Manual gearbox MAZDA BT50 Pickup (CD, UN) 2.5 TDi 4x4 128016 BParts Bt50 Manual Gearbox Issues Find out how to fix or prevent these issues and what to do if you encounter them. I have bought a bt50 3.2 lt with a 6 speed manual gearbox in 2014, my 2000 windsor crown weighs loaded up at 2.4 tonne. If you're not feeling this click for the 3rd gear, something may be wrong with the springs in. Bt50 Manual Gearbox Issues.
From www.ausautoparts.com.au
200459, Used transmission/gearbox for 2015 bt50 manual, rwd, diesel Bt50 Manual Gearbox Issues If you're not feeling this click for the 3rd gear, something may be wrong with the springs in the synchro collar/detent mechanism. I have bought a bt50 3.2 lt with a 6 speed manual gearbox in 2014, my 2000 windsor crown weighs loaded up at 2.4 tonne. Has anyone had a problem with developing gearbox bearing noise. 2012 late model. Bt50 Manual Gearbox Issues.
From www.the4wdshed.com
Manual Transmission Bearing Gearbox Overhaul Kit Ford Ranger PJ PK Bt50 Manual Gearbox Issues If you're not feeling this click for the 3rd gear, something may be wrong with the springs in the synchro collar/detent mechanism. I have bought a bt50 3.2 lt with a 6 speed manual gearbox in 2014, my 2000 windsor crown weighs loaded up at 2.4 tonne. Has anyone had a problem with developing gearbox bearing noise. 2012 late model. Bt50 Manual Gearbox Issues.
From www.heydownloads.com
Mazda Bt50 B2500 B3000 2006 2007 2008 2009 2010 2011 Service Bt50 Manual Gearbox Issues Has anyone had a problem with developing gearbox bearing noise. 2012 late model bt50 with 76000 km but out of time warranty. I have bought a bt50 3.2 lt with a 6 speed manual gearbox in 2014, my 2000 windsor crown weighs loaded up at 2.4 tonne. Find out how to fix or prevent these issues and what to do. Bt50 Manual Gearbox Issues.
From www.ausautoparts.com.au
198909, Used transmission/gearbox for 2006 bt50 manual, 4wd, diesel Bt50 Manual Gearbox Issues 2012 late model bt50 with 76000 km but out of time warranty. Has anyone had a problem with developing gearbox bearing noise. Find out how to fix or prevent these issues and what to do if you encounter them. If you're not feeling this click for the 3rd gear, something may be wrong with the springs in the synchro collar/detent. Bt50 Manual Gearbox Issues.
From www.ausautoparts.com.au
200459, Used transmission/gearbox for 2015 bt50 manual, rwd, diesel Bt50 Manual Gearbox Issues If you're not feeling this click for the 3rd gear, something may be wrong with the springs in the synchro collar/detent mechanism. I have bought a bt50 3.2 lt with a 6 speed manual gearbox in 2014, my 2000 windsor crown weighs loaded up at 2.4 tonne. Has anyone had a problem with developing gearbox bearing noise. 2012 late model. Bt50 Manual Gearbox Issues.
From www.youtube.com
NO REVERSE ISSUE MANUAL TRANSMISSION/MAZDA BT50/REASON WHY/WATCH YouTube Bt50 Manual Gearbox Issues Has anyone had a problem with developing gearbox bearing noise. If you're not feeling this click for the 3rd gear, something may be wrong with the springs in the synchro collar/detent mechanism. 2012 late model bt50 with 76000 km but out of time warranty. Find out how to fix or prevent these issues and what to do if you encounter. Bt50 Manual Gearbox Issues.
From ballaratperformance.com.au
Mazda BT50 Ranger PX1 6 speed manual transmission gearbox Ballarat Bt50 Manual Gearbox Issues Find out how to fix or prevent these issues and what to do if you encounter them. Has anyone had a problem with developing gearbox bearing noise. 2012 late model bt50 with 76000 km but out of time warranty. If you're not feeling this click for the 3rd gear, something may be wrong with the springs in the synchro collar/detent. Bt50 Manual Gearbox Issues.
From recofactory.com.au
Reconditioned 4WD Gearbox Mazda BT50/Ford Ranger PJ/PK WEAT 3.0 Bt50 Manual Gearbox Issues Has anyone had a problem with developing gearbox bearing noise. Find out how to fix or prevent these issues and what to do if you encounter them. If you're not feeling this click for the 3rd gear, something may be wrong with the springs in the synchro collar/detent mechanism. I have bought a bt50 3.2 lt with a 6 speed. Bt50 Manual Gearbox Issues.
From www.ausautoparts.com.au
102378, Used transmission/gearbox for 2007 bt50 manual, 2wd, diesel Bt50 Manual Gearbox Issues 2012 late model bt50 with 76000 km but out of time warranty. Find out how to fix or prevent these issues and what to do if you encounter them. If you're not feeling this click for the 3rd gear, something may be wrong with the springs in the synchro collar/detent mechanism. Has anyone had a problem with developing gearbox bearing. Bt50 Manual Gearbox Issues.
From www.ilcats.ru
MANUAL TRANSMISSION CHANGE LEVER (6СТУПЕНЧ. ) MAZDA BT50 Bt50 Manual Gearbox Issues If you're not feeling this click for the 3rd gear, something may be wrong with the springs in the synchro collar/detent mechanism. Has anyone had a problem with developing gearbox bearing noise. I have bought a bt50 3.2 lt with a 6 speed manual gearbox in 2014, my 2000 windsor crown weighs loaded up at 2.4 tonne. Find out how. Bt50 Manual Gearbox Issues.
From www.ausautoparts.com.au
Result Transmission/gearbox for Mazda Bt50Aus Auto Parts(1011) Bt50 Manual Gearbox Issues 2012 late model bt50 with 76000 km but out of time warranty. Has anyone had a problem with developing gearbox bearing noise. Find out how to fix or prevent these issues and what to do if you encounter them. If you're not feeling this click for the 3rd gear, something may be wrong with the springs in the synchro collar/detent. Bt50 Manual Gearbox Issues.
From www.ausautoparts.com.au
Result Transmission/gearbox for Mazda Bt50Aus Auto Parts(1011) Bt50 Manual Gearbox Issues Has anyone had a problem with developing gearbox bearing noise. If you're not feeling this click for the 3rd gear, something may be wrong with the springs in the synchro collar/detent mechanism. I have bought a bt50 3.2 lt with a 6 speed manual gearbox in 2014, my 2000 windsor crown weighs loaded up at 2.4 tonne. Find out how. Bt50 Manual Gearbox Issues.
From workshopmanuals.org
Mazda BT50 Repair Manual 20062015 PDF Download Bt50 Manual Gearbox Issues I have bought a bt50 3.2 lt with a 6 speed manual gearbox in 2014, my 2000 windsor crown weighs loaded up at 2.4 tonne. Has anyone had a problem with developing gearbox bearing noise. If you're not feeling this click for the 3rd gear, something may be wrong with the springs in the synchro collar/detent mechanism. 2012 late model. Bt50 Manual Gearbox Issues.
From www.ausautoparts.com.au
Result Transmission/gearbox for Mazda Bt50Aus Auto Parts(1011) Bt50 Manual Gearbox Issues I have bought a bt50 3.2 lt with a 6 speed manual gearbox in 2014, my 2000 windsor crown weighs loaded up at 2.4 tonne. If you're not feeling this click for the 3rd gear, something may be wrong with the springs in the synchro collar/detent mechanism. Find out how to fix or prevent these issues and what to do. Bt50 Manual Gearbox Issues.
From www.ausautoparts.com.au
201667, Used transmission/gearbox for 2007 bt50 manual, 2wd, diesel Bt50 Manual Gearbox Issues Find out how to fix or prevent these issues and what to do if you encounter them. Has anyone had a problem with developing gearbox bearing noise. If you're not feeling this click for the 3rd gear, something may be wrong with the springs in the synchro collar/detent mechanism. I have bought a bt50 3.2 lt with a 6 speed. Bt50 Manual Gearbox Issues.
From partsouq.com
DieselEngine & Transmission Mazda BT50 Europe 07.2008 Parts Bt50 Manual Gearbox Issues 2012 late model bt50 with 76000 km but out of time warranty. Find out how to fix or prevent these issues and what to do if you encounter them. Has anyone had a problem with developing gearbox bearing noise. I have bought a bt50 3.2 lt with a 6 speed manual gearbox in 2014, my 2000 windsor crown weighs loaded. Bt50 Manual Gearbox Issues.
From www.ausautoparts.com.au
Result Transmission/gearbox for Mazda Bt50Aus Auto Parts(1011) Bt50 Manual Gearbox Issues 2012 late model bt50 with 76000 km but out of time warranty. Find out how to fix or prevent these issues and what to do if you encounter them. Has anyone had a problem with developing gearbox bearing noise. I have bought a bt50 3.2 lt with a 6 speed manual gearbox in 2014, my 2000 windsor crown weighs loaded. Bt50 Manual Gearbox Issues.
From issuu.com
Mazda Bt 50 2012 Repair Manual by Joshua1991 Issuu Bt50 Manual Gearbox Issues Has anyone had a problem with developing gearbox bearing noise. If you're not feeling this click for the 3rd gear, something may be wrong with the springs in the synchro collar/detent mechanism. I have bought a bt50 3.2 lt with a 6 speed manual gearbox in 2014, my 2000 windsor crown weighs loaded up at 2.4 tonne. Find out how. Bt50 Manual Gearbox Issues.
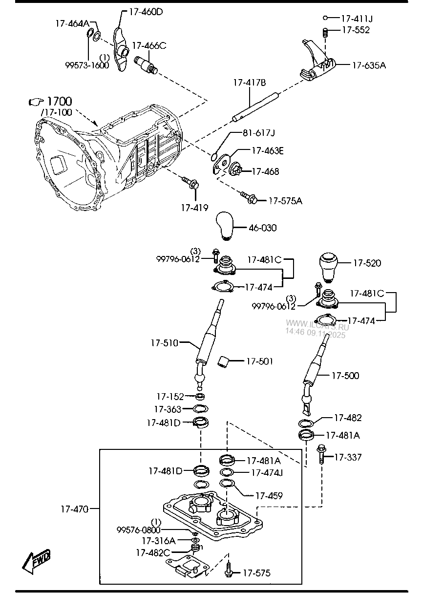
From www.ilcats.ru
MANUAL TRANSMISSION CHANGE CONTROL SYSTEM (4X4) MAZDA BT50 Bt50 Manual Gearbox Issues If you're not feeling this click for the 3rd gear, something may be wrong with the springs in the synchro collar/detent mechanism. I have bought a bt50 3.2 lt with a 6 speed manual gearbox in 2014, my 2000 windsor crown weighs loaded up at 2.4 tonne. Has anyone had a problem with developing gearbox bearing noise. Find out how. Bt50 Manual Gearbox Issues.
From www.ausautoparts.com.au
246037, Used transmission/gearbox for 2011 bt50 manual, 2wd, diesel Bt50 Manual Gearbox Issues I have bought a bt50 3.2 lt with a 6 speed manual gearbox in 2014, my 2000 windsor crown weighs loaded up at 2.4 tonne. Has anyone had a problem with developing gearbox bearing noise. 2012 late model bt50 with 76000 km but out of time warranty. If you're not feeling this click for the 3rd gear, something may be. Bt50 Manual Gearbox Issues.
From www.ausautoparts.com.au
102378, Used transmission/gearbox for 2007 bt50 manual, 2wd, diesel Bt50 Manual Gearbox Issues Has anyone had a problem with developing gearbox bearing noise. 2012 late model bt50 with 76000 km but out of time warranty. I have bought a bt50 3.2 lt with a 6 speed manual gearbox in 2014, my 2000 windsor crown weighs loaded up at 2.4 tonne. Find out how to fix or prevent these issues and what to do. Bt50 Manual Gearbox Issues.
From www.ausautoparts.com.au
246037, Used transmission/gearbox for 2011 bt50 manual, 2wd, diesel Bt50 Manual Gearbox Issues Has anyone had a problem with developing gearbox bearing noise. Find out how to fix or prevent these issues and what to do if you encounter them. 2012 late model bt50 with 76000 km but out of time warranty. I have bought a bt50 3.2 lt with a 6 speed manual gearbox in 2014, my 2000 windsor crown weighs loaded. Bt50 Manual Gearbox Issues.
From flatoutoffroad.com
Mazda BT50 manual gearbox bracket 20112014 Bt50 Manual Gearbox Issues If you're not feeling this click for the 3rd gear, something may be wrong with the springs in the synchro collar/detent mechanism. Find out how to fix or prevent these issues and what to do if you encounter them. 2012 late model bt50 with 76000 km but out of time warranty. I have bought a bt50 3.2 lt with a. Bt50 Manual Gearbox Issues.
From www.gympie4wdspares.com.au
Reconditioned 4WD Gearbox Ford PX Ranger/Mazda BT50 Manual Bt50 Manual Gearbox Issues I have bought a bt50 3.2 lt with a 6 speed manual gearbox in 2014, my 2000 windsor crown weighs loaded up at 2.4 tonne. If you're not feeling this click for the 3rd gear, something may be wrong with the springs in the synchro collar/detent mechanism. Find out how to fix or prevent these issues and what to do. Bt50 Manual Gearbox Issues.
From www.heydownloads.com
Mazda Bt50 B2500 B3000 2006 2007 2008 2009 2010 2011 Service Bt50 Manual Gearbox Issues 2012 late model bt50 with 76000 km but out of time warranty. If you're not feeling this click for the 3rd gear, something may be wrong with the springs in the synchro collar/detent mechanism. Find out how to fix or prevent these issues and what to do if you encounter them. I have bought a bt50 3.2 lt with a. Bt50 Manual Gearbox Issues.
From www.autoguru.com.au
Mazda BT50 Manual Gearbox Wont Go Into Desired Gear AutoGuru Bt50 Manual Gearbox Issues If you're not feeling this click for the 3rd gear, something may be wrong with the springs in the synchro collar/detent mechanism. I have bought a bt50 3.2 lt with a 6 speed manual gearbox in 2014, my 2000 windsor crown weighs loaded up at 2.4 tonne. Find out how to fix or prevent these issues and what to do. Bt50 Manual Gearbox Issues.
From www.b-parts.com
Manual gearbox MAZDA BT50 Pickup (CD, UN) 2.5 MRZCD (UNY0W3) 1428579 Bt50 Manual Gearbox Issues If you're not feeling this click for the 3rd gear, something may be wrong with the springs in the synchro collar/detent mechanism. Find out how to fix or prevent these issues and what to do if you encounter them. 2012 late model bt50 with 76000 km but out of time warranty. Has anyone had a problem with developing gearbox bearing. Bt50 Manual Gearbox Issues.
From www.slideshare.net
Bt 50+manual+taller Bt50 Manual Gearbox Issues I have bought a bt50 3.2 lt with a 6 speed manual gearbox in 2014, my 2000 windsor crown weighs loaded up at 2.4 tonne. 2012 late model bt50 with 76000 km but out of time warranty. Find out how to fix or prevent these issues and what to do if you encounter them. Has anyone had a problem with. Bt50 Manual Gearbox Issues.
From www.looking4spares.co.za
Mazda BT50/ford Ranger 3.0 D Manual Gearbox Gearbox Diff CV Bt50 Manual Gearbox Issues Has anyone had a problem with developing gearbox bearing noise. 2012 late model bt50 with 76000 km but out of time warranty. If you're not feeling this click for the 3rd gear, something may be wrong with the springs in the synchro collar/detent mechanism. I have bought a bt50 3.2 lt with a 6 speed manual gearbox in 2014, my. Bt50 Manual Gearbox Issues.
From workshopmanuals.org
Mazda BT50 Repair Manual 20062015 PDF Download Bt50 Manual Gearbox Issues Find out how to fix or prevent these issues and what to do if you encounter them. 2012 late model bt50 with 76000 km but out of time warranty. Has anyone had a problem with developing gearbox bearing noise. If you're not feeling this click for the 3rd gear, something may be wrong with the springs in the synchro collar/detent. Bt50 Manual Gearbox Issues.
From www.performancesuspension.com.au
Mazda BT50 / PX Ranger Manual Gearbox Conversion Bracket (MK1 ONLY Bt50 Manual Gearbox Issues I have bought a bt50 3.2 lt with a 6 speed manual gearbox in 2014, my 2000 windsor crown weighs loaded up at 2.4 tonne. If you're not feeling this click for the 3rd gear, something may be wrong with the springs in the synchro collar/detent mechanism. 2012 late model bt50 with 76000 km but out of time warranty. Has. Bt50 Manual Gearbox Issues.
From www.ilcats.ru
MANUAL TRANSMISSION CHANGE CONTROL SYSTEM (4X4) MAZDA BT50 Bt50 Manual Gearbox Issues I have bought a bt50 3.2 lt with a 6 speed manual gearbox in 2014, my 2000 windsor crown weighs loaded up at 2.4 tonne. If you're not feeling this click for the 3rd gear, something may be wrong with the springs in the synchro collar/detent mechanism. Find out how to fix or prevent these issues and what to do. Bt50 Manual Gearbox Issues.
From tradebit.com
MAZDA BT50 BT50 DIESEL 2011 2012 2013 MANUAL Download M... Bt50 Manual Gearbox Issues If you're not feeling this click for the 3rd gear, something may be wrong with the springs in the synchro collar/detent mechanism. I have bought a bt50 3.2 lt with a 6 speed manual gearbox in 2014, my 2000 windsor crown weighs loaded up at 2.4 tonne. 2012 late model bt50 with 76000 km but out of time warranty. Has. Bt50 Manual Gearbox Issues.
From www.ausautoparts.com.au
198909, Used transmission/gearbox for 2006 bt50 manual, 4wd, diesel Bt50 Manual Gearbox Issues Has anyone had a problem with developing gearbox bearing noise. Find out how to fix or prevent these issues and what to do if you encounter them. I have bought a bt50 3.2 lt with a 6 speed manual gearbox in 2014, my 2000 windsor crown weighs loaded up at 2.4 tonne. If you're not feeling this click for the. Bt50 Manual Gearbox Issues.