Ac Compressor Clutch Not Kicking On . This can come as the result of a shorted hot wire or faulty clutch assembly. When the ac compressor clutch goes bad, the air conditioning may not work at all or it can work intermittently. However, one must also determine the reason behind the fuse’s failure. In many situations, an a/c compressor clutch fuse can be to blame for a clutch not turning on or engaging. Here are the 3 most common causes: How to diagnose ac clutch not engaging. It may be caused by a faulty compressor relay or switch, low system. If your air conditioning (ac) clutch is not engaging all the time, it could be due to a range of issues. To determine whether your ac clutch is working, you have to set the a/c settings in your car cabin to the max. It could also be caused by a leak in the compressor or damage to the wiring. The lack of the distinctive metallic 'click' (clutch plate engaging the idler pulley face) usually indicates one of several possibilities;.
from www.ford-trucks.com
How to diagnose ac clutch not engaging. It could also be caused by a leak in the compressor or damage to the wiring. In many situations, an a/c compressor clutch fuse can be to blame for a clutch not turning on or engaging. The lack of the distinctive metallic 'click' (clutch plate engaging the idler pulley face) usually indicates one of several possibilities;. If your air conditioning (ac) clutch is not engaging all the time, it could be due to a range of issues. It may be caused by a faulty compressor relay or switch, low system. However, one must also determine the reason behind the fuse’s failure. When the ac compressor clutch goes bad, the air conditioning may not work at all or it can work intermittently. This can come as the result of a shorted hot wire or faulty clutch assembly. Here are the 3 most common causes:
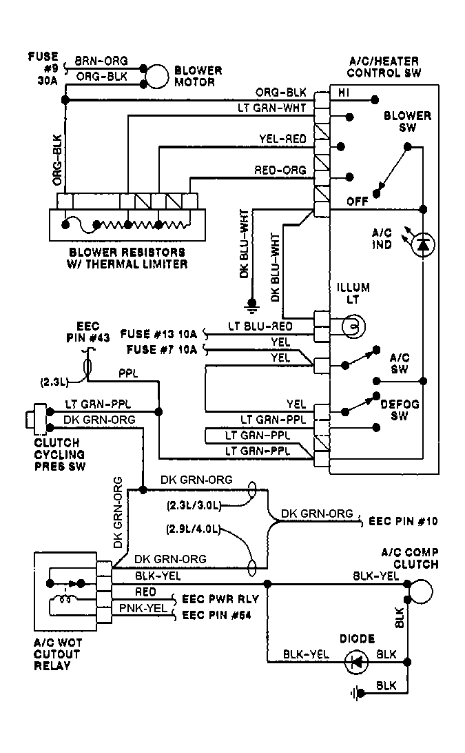
1991 Ford Explorer AC Compressor Clutch not kicking on Ford Truck
Ac Compressor Clutch Not Kicking On When the ac compressor clutch goes bad, the air conditioning may not work at all or it can work intermittently. How to diagnose ac clutch not engaging. However, one must also determine the reason behind the fuse’s failure. The lack of the distinctive metallic 'click' (clutch plate engaging the idler pulley face) usually indicates one of several possibilities;. Here are the 3 most common causes: It could also be caused by a leak in the compressor or damage to the wiring. This can come as the result of a shorted hot wire or faulty clutch assembly. To determine whether your ac clutch is working, you have to set the a/c settings in your car cabin to the max. It may be caused by a faulty compressor relay or switch, low system. When the ac compressor clutch goes bad, the air conditioning may not work at all or it can work intermittently. If your air conditioning (ac) clutch is not engaging all the time, it could be due to a range of issues. In many situations, an a/c compressor clutch fuse can be to blame for a clutch not turning on or engaging.
From curateview.com
How to Manually Engage AC Compressor Clutch, An Easy Guide Ac Compressor Clutch Not Kicking On To determine whether your ac clutch is working, you have to set the a/c settings in your car cabin to the max. When the ac compressor clutch goes bad, the air conditioning may not work at all or it can work intermittently. Here are the 3 most common causes: How to diagnose ac clutch not engaging. It may be caused. Ac Compressor Clutch Not Kicking On.
From www.youtube.com
Ford F150 & Expedition A/C Not Cooling Crazy Compressor Clutch Ac Compressor Clutch Not Kicking On How to diagnose ac clutch not engaging. Here are the 3 most common causes: When the ac compressor clutch goes bad, the air conditioning may not work at all or it can work intermittently. If your air conditioning (ac) clutch is not engaging all the time, it could be due to a range of issues. It could also be caused. Ac Compressor Clutch Not Kicking On.
From www.355nation.net
AC Compressor Not Kicking On Chevrolet Colorado & GMC Canyon Forum Ac Compressor Clutch Not Kicking On How to diagnose ac clutch not engaging. Here are the 3 most common causes: This can come as the result of a shorted hot wire or faulty clutch assembly. To determine whether your ac clutch is working, you have to set the a/c settings in your car cabin to the max. It could also be caused by a leak in. Ac Compressor Clutch Not Kicking On.
From enginezoothecium.z13.web.core.windows.net
Car Ac Compressor Not Kicking On Ac Compressor Clutch Not Kicking On However, one must also determine the reason behind the fuse’s failure. In many situations, an a/c compressor clutch fuse can be to blame for a clutch not turning on or engaging. It may be caused by a faulty compressor relay or switch, low system. When the ac compressor clutch goes bad, the air conditioning may not work at all or. Ac Compressor Clutch Not Kicking On.
From morganpartsstore.blogspot.com
Ford F150 Ac Compressor Clutch Not Engaging [New Unit] Parts Store Ac Compressor Clutch Not Kicking On Here are the 3 most common causes: When the ac compressor clutch goes bad, the air conditioning may not work at all or it can work intermittently. The lack of the distinctive metallic 'click' (clutch plate engaging the idler pulley face) usually indicates one of several possibilities;. However, one must also determine the reason behind the fuse’s failure. It could. Ac Compressor Clutch Not Kicking On.
From www.ford-trucks.com
1991 Ford Explorer AC Compressor Clutch not kicking on Ford Truck Ac Compressor Clutch Not Kicking On However, one must also determine the reason behind the fuse’s failure. To determine whether your ac clutch is working, you have to set the a/c settings in your car cabin to the max. How to diagnose ac clutch not engaging. It may be caused by a faulty compressor relay or switch, low system. The lack of the distinctive metallic 'click'. Ac Compressor Clutch Not Kicking On.
From www.ford-trucks.com
1991 Ford Explorer AC Compressor Clutch not kicking on Ford Truck Ac Compressor Clutch Not Kicking On This can come as the result of a shorted hot wire or faulty clutch assembly. It may be caused by a faulty compressor relay or switch, low system. Here are the 3 most common causes: If your air conditioning (ac) clutch is not engaging all the time, it could be due to a range of issues. The lack of the. Ac Compressor Clutch Not Kicking On.
From www.youtube.com
How to Remove and Replace an AC Compressor Clutch and Bearing (Long Ac Compressor Clutch Not Kicking On It could also be caused by a leak in the compressor or damage to the wiring. The lack of the distinctive metallic 'click' (clutch plate engaging the idler pulley face) usually indicates one of several possibilities;. However, one must also determine the reason behind the fuse’s failure. To determine whether your ac clutch is working, you have to set the. Ac Compressor Clutch Not Kicking On.
From www.ford-trucks.com
1991 Ford Explorer AC Compressor Clutch not kicking on Ford Truck Ac Compressor Clutch Not Kicking On In many situations, an a/c compressor clutch fuse can be to blame for a clutch not turning on or engaging. When the ac compressor clutch goes bad, the air conditioning may not work at all or it can work intermittently. The lack of the distinctive metallic 'click' (clutch plate engaging the idler pulley face) usually indicates one of several possibilities;.. Ac Compressor Clutch Not Kicking On.
From www.ford-trucks.com
1991 Ford Explorer AC Compressor Clutch not kicking on Ford Truck Ac Compressor Clutch Not Kicking On The lack of the distinctive metallic 'click' (clutch plate engaging the idler pulley face) usually indicates one of several possibilities;. If your air conditioning (ac) clutch is not engaging all the time, it could be due to a range of issues. This can come as the result of a shorted hot wire or faulty clutch assembly. To determine whether your. Ac Compressor Clutch Not Kicking On.
From www.motorhills.com
Car AC Compressor Not turn on Reasons And Solutions Ac Compressor Clutch Not Kicking On It may be caused by a faulty compressor relay or switch, low system. The lack of the distinctive metallic 'click' (clutch plate engaging the idler pulley face) usually indicates one of several possibilities;. However, one must also determine the reason behind the fuse’s failure. How to diagnose ac clutch not engaging. In many situations, an a/c compressor clutch fuse can. Ac Compressor Clutch Not Kicking On.
From schematicfixlankier.z21.web.core.windows.net
Install Ac Compressor Clutch Ac Compressor Clutch Not Kicking On This can come as the result of a shorted hot wire or faulty clutch assembly. When the ac compressor clutch goes bad, the air conditioning may not work at all or it can work intermittently. How to diagnose ac clutch not engaging. However, one must also determine the reason behind the fuse’s failure. It could also be caused by a. Ac Compressor Clutch Not Kicking On.
From fyoqkazpk.blob.core.windows.net
Ac Clutch Not Kicking In at Wade blog Ac Compressor Clutch Not Kicking On To determine whether your ac clutch is working, you have to set the a/c settings in your car cabin to the max. When the ac compressor clutch goes bad, the air conditioning may not work at all or it can work intermittently. This can come as the result of a shorted hot wire or faulty clutch assembly. It may be. Ac Compressor Clutch Not Kicking On.
From www.ford-trucks.com
1991 Ford Explorer AC Compressor Clutch not kicking on Ford Truck Ac Compressor Clutch Not Kicking On When the ac compressor clutch goes bad, the air conditioning may not work at all or it can work intermittently. If your air conditioning (ac) clutch is not engaging all the time, it could be due to a range of issues. In many situations, an a/c compressor clutch fuse can be to blame for a clutch not turning on or. Ac Compressor Clutch Not Kicking On.
From www.ford-trucks.com
1991 Ford Explorer AC Compressor Clutch not kicking on Ford Truck Ac Compressor Clutch Not Kicking On To determine whether your ac clutch is working, you have to set the a/c settings in your car cabin to the max. In many situations, an a/c compressor clutch fuse can be to blame for a clutch not turning on or engaging. The lack of the distinctive metallic 'click' (clutch plate engaging the idler pulley face) usually indicates one of. Ac Compressor Clutch Not Kicking On.
From www.youtube.com
How to Get AC Compressor to STOP Turning ON & OFF Repeatedly YouTube Ac Compressor Clutch Not Kicking On It could also be caused by a leak in the compressor or damage to the wiring. Here are the 3 most common causes: When the ac compressor clutch goes bad, the air conditioning may not work at all or it can work intermittently. In many situations, an a/c compressor clutch fuse can be to blame for a clutch not turning. Ac Compressor Clutch Not Kicking On.
From mechanicremurgitio.z13.web.core.windows.net
Car Ac Compressor Not Kicking On Ac Compressor Clutch Not Kicking On In many situations, an a/c compressor clutch fuse can be to blame for a clutch not turning on or engaging. To determine whether your ac clutch is working, you have to set the a/c settings in your car cabin to the max. The lack of the distinctive metallic 'click' (clutch plate engaging the idler pulley face) usually indicates one of. Ac Compressor Clutch Not Kicking On.
From www.youtube.com
HOW TO REPLACE AC CLUTCH COMPRESSOR ON CHEVROLET CHEVY. AC NOT WORKING Ac Compressor Clutch Not Kicking On When the ac compressor clutch goes bad, the air conditioning may not work at all or it can work intermittently. If your air conditioning (ac) clutch is not engaging all the time, it could be due to a range of issues. However, one must also determine the reason behind the fuse’s failure. To determine whether your ac clutch is working,. Ac Compressor Clutch Not Kicking On.
From www.reddit.com
Compressor not kicking on Central AC will this capacitor work r Ac Compressor Clutch Not Kicking On The lack of the distinctive metallic 'click' (clutch plate engaging the idler pulley face) usually indicates one of several possibilities;. It may be caused by a faulty compressor relay or switch, low system. It could also be caused by a leak in the compressor or damage to the wiring. To determine whether your ac clutch is working, you have to. Ac Compressor Clutch Not Kicking On.
From mechanicremurgitio.z13.web.core.windows.net
Car Ac Compressor Not Kicking On Ac Compressor Clutch Not Kicking On This can come as the result of a shorted hot wire or faulty clutch assembly. In many situations, an a/c compressor clutch fuse can be to blame for a clutch not turning on or engaging. The lack of the distinctive metallic 'click' (clutch plate engaging the idler pulley face) usually indicates one of several possibilities;. When the ac compressor clutch. Ac Compressor Clutch Not Kicking On.
From www.youtube.com
Howto Test for AC Compressor Clutch Function YouTube Ac Compressor Clutch Not Kicking On In many situations, an a/c compressor clutch fuse can be to blame for a clutch not turning on or engaging. To determine whether your ac clutch is working, you have to set the a/c settings in your car cabin to the max. It may be caused by a faulty compressor relay or switch, low system. It could also be caused. Ac Compressor Clutch Not Kicking On.
From hvacseer.com
Can You Replace Just The Clutch On An AC Compressor? Should You Ac Compressor Clutch Not Kicking On Here are the 3 most common causes: When the ac compressor clutch goes bad, the air conditioning may not work at all or it can work intermittently. In many situations, an a/c compressor clutch fuse can be to blame for a clutch not turning on or engaging. How to diagnose ac clutch not engaging. If your air conditioning (ac) clutch. Ac Compressor Clutch Not Kicking On.
From drivinglife.net
What Should I Do If AC Compressor Clutch Is Not Engaging? Ac Compressor Clutch Not Kicking On In many situations, an a/c compressor clutch fuse can be to blame for a clutch not turning on or engaging. However, one must also determine the reason behind the fuse’s failure. To determine whether your ac clutch is working, you have to set the a/c settings in your car cabin to the max. When the ac compressor clutch goes bad,. Ac Compressor Clutch Not Kicking On.
From www.youtube.com
Ac Compressor Clutch Explained YouTube Ac Compressor Clutch Not Kicking On It could also be caused by a leak in the compressor or damage to the wiring. It may be caused by a faulty compressor relay or switch, low system. When the ac compressor clutch goes bad, the air conditioning may not work at all or it can work intermittently. To determine whether your ac clutch is working, you have to. Ac Compressor Clutch Not Kicking On.
From repairenginewebers.z21.web.core.windows.net
Gmc Sierra Ac Compressor Not Kicking On Ac Compressor Clutch Not Kicking On Here are the 3 most common causes: How to diagnose ac clutch not engaging. It could also be caused by a leak in the compressor or damage to the wiring. To determine whether your ac clutch is working, you have to set the a/c settings in your car cabin to the max. However, one must also determine the reason behind. Ac Compressor Clutch Not Kicking On.
From fyoqkazpk.blob.core.windows.net
Ac Clutch Not Kicking In at Wade blog Ac Compressor Clutch Not Kicking On It may be caused by a faulty compressor relay or switch, low system. When the ac compressor clutch goes bad, the air conditioning may not work at all or it can work intermittently. However, one must also determine the reason behind the fuse’s failure. The lack of the distinctive metallic 'click' (clutch plate engaging the idler pulley face) usually indicates. Ac Compressor Clutch Not Kicking On.
From philkotse.com
Simple guide on what to do when AC compressor clutch isn’t engaging Ac Compressor Clutch Not Kicking On It may be caused by a faulty compressor relay or switch, low system. It could also be caused by a leak in the compressor or damage to the wiring. The lack of the distinctive metallic 'click' (clutch plate engaging the idler pulley face) usually indicates one of several possibilities;. This can come as the result of a shorted hot wire. Ac Compressor Clutch Not Kicking On.
From garagemeithachbvl.z21.web.core.windows.net
Car Ac Compressor Not Kicking On Ac Compressor Clutch Not Kicking On It may be caused by a faulty compressor relay or switch, low system. Here are the 3 most common causes: If your air conditioning (ac) clutch is not engaging all the time, it could be due to a range of issues. However, one must also determine the reason behind the fuse’s failure. It could also be caused by a leak. Ac Compressor Clutch Not Kicking On.
From www.youtube.com
Remove and Replace AC Compressor Clutch and Bearing Without Removing Ac Compressor Clutch Not Kicking On To determine whether your ac clutch is working, you have to set the a/c settings in your car cabin to the max. It may be caused by a faulty compressor relay or switch, low system. The lack of the distinctive metallic 'click' (clutch plate engaging the idler pulley face) usually indicates one of several possibilities;. It could also be caused. Ac Compressor Clutch Not Kicking On.
From medium.com
AC Compressor Clutch Not Engaging Common Causes and Fixes by Truck Ac Compressor Clutch Not Kicking On It may be caused by a faulty compressor relay or switch, low system. The lack of the distinctive metallic 'click' (clutch plate engaging the idler pulley face) usually indicates one of several possibilities;. It could also be caused by a leak in the compressor or damage to the wiring. Here are the 3 most common causes: When the ac compressor. Ac Compressor Clutch Not Kicking On.
From www.turbobuicks.com
A/C not clutch not kicking in Ac Compressor Clutch Not Kicking On The lack of the distinctive metallic 'click' (clutch plate engaging the idler pulley face) usually indicates one of several possibilities;. Here are the 3 most common causes: If your air conditioning (ac) clutch is not engaging all the time, it could be due to a range of issues. This can come as the result of a shorted hot wire or. Ac Compressor Clutch Not Kicking On.
From studentlesson.com
AC compressor clutch not engaging (causes & how to fix) student lesson Ac Compressor Clutch Not Kicking On It could also be caused by a leak in the compressor or damage to the wiring. However, one must also determine the reason behind the fuse’s failure. How to diagnose ac clutch not engaging. When the ac compressor clutch goes bad, the air conditioning may not work at all or it can work intermittently. This can come as the result. Ac Compressor Clutch Not Kicking On.
From garagerepairboyer123.z13.web.core.windows.net
Chevy Cruze Ac Compressor Clutch Not Working Ac Compressor Clutch Not Kicking On Here are the 3 most common causes: If your air conditioning (ac) clutch is not engaging all the time, it could be due to a range of issues. The lack of the distinctive metallic 'click' (clutch plate engaging the idler pulley face) usually indicates one of several possibilities;. However, one must also determine the reason behind the fuse’s failure. It. Ac Compressor Clutch Not Kicking On.
From ar.inspiredpencil.com
A C Compressor Clutch Not Engaging Ac Compressor Clutch Not Kicking On It could also be caused by a leak in the compressor or damage to the wiring. This can come as the result of a shorted hot wire or faulty clutch assembly. When the ac compressor clutch goes bad, the air conditioning may not work at all or it can work intermittently. Here are the 3 most common causes: The lack. Ac Compressor Clutch Not Kicking On.
From schematicfixlankier.z21.web.core.windows.net
A/c Compressor Clutch Replacement Ac Compressor Clutch Not Kicking On However, one must also determine the reason behind the fuse’s failure. Here are the 3 most common causes: It may be caused by a faulty compressor relay or switch, low system. It could also be caused by a leak in the compressor or damage to the wiring. The lack of the distinctive metallic 'click' (clutch plate engaging the idler pulley. Ac Compressor Clutch Not Kicking On.