Brake Lathe Parts Diagram . Move your mouse over the section of the lathe part your interested in and select. If your brake lathe is stuck, won’t turn on or won’t cut right then it’s time to fix your machine. All tool 777 brake lathe parts breakdown keywords: We have a convenient parts breakdown. 601 series disc and drum brake lathe parts reference. Combination brake lathe model 8922. Ammco 4000 brake lathe assembly parts. This manual includes thumbnail references. All tool 777 brake lathe parts breakdown author: Visit us online to order parts for this machine: All tool 777 brake lathe. Brake lathe parts breakdowns for models ammco, rels, van norman, and more. If you hover the mouse. Parts identifi cation the following pages include parts breakdowns with exploded view illustrations to help with ordering replacement or spare kits.
from brendaschematic.blogspot.com
All tool 777 brake lathe. Move your mouse over the section of the lathe part your interested in and select. Parts identifi cation the following pages include parts breakdowns with exploded view illustrations to help with ordering replacement or spare kits. Brake lathe parts breakdowns for models ammco, rels, van norman, and more. Combination brake lathe model 8922. This manual includes thumbnail references. If you hover the mouse. Ammco 4000 brake lathe assembly parts. 601 series disc and drum brake lathe parts reference. All tool 777 brake lathe parts breakdown author:
ammco brake lathe parts diagram
Brake Lathe Parts Diagram All tool 777 brake lathe. Move your mouse over the section of the lathe part your interested in and select. All tool 777 brake lathe. 601 series disc and drum brake lathe parts reference. Visit us online to order parts for this machine: This manual includes thumbnail references. Parts identifi cation the following pages include parts breakdowns with exploded view illustrations to help with ordering replacement or spare kits. Ammco 4000 brake lathe assembly parts. If you hover the mouse. We have a convenient parts breakdown. Combination brake lathe model 8922. Brake lathe parts breakdowns for models ammco, rels, van norman, and more. All tool 777 brake lathe parts breakdown keywords: If your brake lathe is stuck, won’t turn on or won’t cut right then it’s time to fix your machine. All tool 777 brake lathe parts breakdown author:
From circuitwiringgena.z13.web.core.windows.net
Ammco 4000 Brake Lathe Parts Diagram Brake Lathe Parts Diagram Visit us online to order parts for this machine: All tool 777 brake lathe parts breakdown keywords: Parts identifi cation the following pages include parts breakdowns with exploded view illustrations to help with ordering replacement or spare kits. Brake lathe parts breakdowns for models ammco, rels, van norman, and more. We have a convenient parts breakdown. All tool 777 brake. Brake Lathe Parts Diagram.
From brendaschematic.blogspot.com
ammco brake lathe parts diagram Brake Lathe Parts Diagram Visit us online to order parts for this machine: Ammco 4000 brake lathe assembly parts. All tool 777 brake lathe parts breakdown keywords: If you hover the mouse. This manual includes thumbnail references. Combination brake lathe model 8922. Brake lathe parts breakdowns for models ammco, rels, van norman, and more. If your brake lathe is stuck, won’t turn on or. Brake Lathe Parts Diagram.
From circuitdatamegan.z19.web.core.windows.net
Ammco Brake Lathe Parts Diagram Brake Lathe Parts Diagram All tool 777 brake lathe parts breakdown keywords: If you hover the mouse. 601 series disc and drum brake lathe parts reference. If your brake lathe is stuck, won’t turn on or won’t cut right then it’s time to fix your machine. Combination brake lathe model 8922. Brake lathe parts breakdowns for models ammco, rels, van norman, and more. Parts. Brake Lathe Parts Diagram.
From userfixoster.z19.web.core.windows.net
Ammco Brake Lathe Manual Brake Lathe Parts Diagram Parts identifi cation the following pages include parts breakdowns with exploded view illustrations to help with ordering replacement or spare kits. 601 series disc and drum brake lathe parts reference. Move your mouse over the section of the lathe part your interested in and select. This manual includes thumbnail references. Combination brake lathe model 8922. Visit us online to order. Brake Lathe Parts Diagram.
From schematiccerceee6wdz.z21.web.core.windows.net
Ammco Brake Lathe Manual Brake Lathe Parts Diagram Brake lathe parts breakdowns for models ammco, rels, van norman, and more. Move your mouse over the section of the lathe part your interested in and select. All tool 777 brake lathe parts breakdown keywords: Ammco 4000 brake lathe assembly parts. If you hover the mouse. We have a convenient parts breakdown. 601 series disc and drum brake lathe parts. Brake Lathe Parts Diagram.
From detoxicrecenze.com
Ammco 4000 Brake Lathe Parts Diagram My Wiring DIagram Brake Lathe Parts Diagram Visit us online to order parts for this machine: All tool 777 brake lathe parts breakdown keywords: Move your mouse over the section of the lathe part your interested in and select. All tool 777 brake lathe parts breakdown author: Ammco 4000 brake lathe assembly parts. We have a convenient parts breakdown. Brake lathe parts breakdowns for models ammco, rels,. Brake Lathe Parts Diagram.
From techschems.com
Unveiling the Anatomy of the Ammco 4000 Brake Lathe A Parts Diagram Brake Lathe Parts Diagram If your brake lathe is stuck, won’t turn on or won’t cut right then it’s time to fix your machine. Combination brake lathe model 8922. Visit us online to order parts for this machine: Ammco 4000 brake lathe assembly parts. Move your mouse over the section of the lathe part your interested in and select. 601 series disc and drum. Brake Lathe Parts Diagram.
From userdiagramshrive.z21.web.core.windows.net
Ammco Brake Lathe Parts Diagram Brake Lathe Parts Diagram Combination brake lathe model 8922. If you hover the mouse. 601 series disc and drum brake lathe parts reference. If your brake lathe is stuck, won’t turn on or won’t cut right then it’s time to fix your machine. All tool 777 brake lathe parts breakdown keywords: This manual includes thumbnail references. All tool 777 brake lathe parts breakdown author:. Brake Lathe Parts Diagram.
From 30doc.info
FMC 601 BRAKE LATHE MANUAL PDF Brake Lathe Parts Diagram 601 series disc and drum brake lathe parts reference. All tool 777 brake lathe. All tool 777 brake lathe parts breakdown keywords: Move your mouse over the section of the lathe part your interested in and select. Combination brake lathe model 8922. Brake lathe parts breakdowns for models ammco, rels, van norman, and more. Parts identifi cation the following pages. Brake Lathe Parts Diagram.
From techschems.com
Unveiling the Anatomy of the Ammco 4000 Brake Lathe A Parts Diagram Brake Lathe Parts Diagram This manual includes thumbnail references. All tool 777 brake lathe parts breakdown keywords: If your brake lathe is stuck, won’t turn on or won’t cut right then it’s time to fix your machine. Brake lathe parts breakdowns for models ammco, rels, van norman, and more. All tool 777 brake lathe. Move your mouse over the section of the lathe part. Brake Lathe Parts Diagram.
From www.automotivetools.com
Brake Lathe Parts Breakdown, for Accuturn model 8922, Right View Brake Lathe Parts Diagram All tool 777 brake lathe parts breakdown author: All tool 777 brake lathe. 601 series disc and drum brake lathe parts reference. This manual includes thumbnail references. Visit us online to order parts for this machine: Ammco 4000 brake lathe assembly parts. Brake lathe parts breakdowns for models ammco, rels, van norman, and more. All tool 777 brake lathe parts. Brake Lathe Parts Diagram.
From brendaschematic.blogspot.com
ammco brake lathe parts diagram Brake Lathe Parts Diagram If your brake lathe is stuck, won’t turn on or won’t cut right then it’s time to fix your machine. Move your mouse over the section of the lathe part your interested in and select. Parts identifi cation the following pages include parts breakdowns with exploded view illustrations to help with ordering replacement or spare kits. 601 series disc and. Brake Lathe Parts Diagram.
From automotivetools.com
Brake Lathe Parts Breakdown, for Accuturn model 7700, Front View Brake Lathe Parts Diagram Ammco 4000 brake lathe assembly parts. Brake lathe parts breakdowns for models ammco, rels, van norman, and more. Combination brake lathe model 8922. If you hover the mouse. All tool 777 brake lathe parts breakdown author: We have a convenient parts breakdown. Visit us online to order parts for this machine: All tool 777 brake lathe. Parts identifi cation the. Brake Lathe Parts Diagram.
From manualdbparameter.z21.web.core.windows.net
Ammco Brake Lathe Parts Diagram Brake Lathe Parts Diagram If you hover the mouse. Ammco 4000 brake lathe assembly parts. Move your mouse over the section of the lathe part your interested in and select. All tool 777 brake lathe. 601 series disc and drum brake lathe parts reference. All tool 777 brake lathe parts breakdown author: We have a convenient parts breakdown. All tool 777 brake lathe parts. Brake Lathe Parts Diagram.
From schematron.org
Ammco 4000 Brake Lathe Parts Diagram Wiring Diagram Pictures Brake Lathe Parts Diagram If you hover the mouse. All tool 777 brake lathe. All tool 777 brake lathe parts breakdown keywords: Ammco 4000 brake lathe assembly parts. If your brake lathe is stuck, won’t turn on or won’t cut right then it’s time to fix your machine. Brake lathe parts breakdowns for models ammco, rels, van norman, and more. 601 series disc and. Brake Lathe Parts Diagram.
From techschems.com
Unveiling the Anatomy of the Ammco 4000 Brake Lathe A Parts Diagram Brake Lathe Parts Diagram All tool 777 brake lathe parts breakdown keywords: Ammco 4000 brake lathe assembly parts. This manual includes thumbnail references. All tool 777 brake lathe. Combination brake lathe model 8922. 601 series disc and drum brake lathe parts reference. If your brake lathe is stuck, won’t turn on or won’t cut right then it’s time to fix your machine. Parts identifi. Brake Lathe Parts Diagram.
From circuitfixkidd88.z21.web.core.windows.net
ammco brake lathe parts diagram Brake Lathe Parts Diagram Ammco 4000 brake lathe assembly parts. If you hover the mouse. Parts identifi cation the following pages include parts breakdowns with exploded view illustrations to help with ordering replacement or spare kits. All tool 777 brake lathe. 601 series disc and drum brake lathe parts reference. Combination brake lathe model 8922. If your brake lathe is stuck, won’t turn on. Brake Lathe Parts Diagram.
From brendaschematic.blogspot.com
ammco brake lathe parts diagram Brake Lathe Parts Diagram Visit us online to order parts for this machine: Ammco 4000 brake lathe assembly parts. Brake lathe parts breakdowns for models ammco, rels, van norman, and more. If your brake lathe is stuck, won’t turn on or won’t cut right then it’s time to fix your machine. If you hover the mouse. All tool 777 brake lathe. All tool 777. Brake Lathe Parts Diagram.
From schematron.org
Ammco 4000 Brake Lathe Parts Diagram Wiring Diagram Pictures Brake Lathe Parts Diagram All tool 777 brake lathe parts breakdown keywords: All tool 777 brake lathe. Combination brake lathe model 8922. We have a convenient parts breakdown. If your brake lathe is stuck, won’t turn on or won’t cut right then it’s time to fix your machine. If you hover the mouse. Move your mouse over the section of the lathe part your. Brake Lathe Parts Diagram.
From techschems.com
Unveiling the Anatomy of the Ammco 4000 Brake Lathe A Parts Diagram Brake Lathe Parts Diagram Brake lathe parts breakdowns for models ammco, rels, van norman, and more. All tool 777 brake lathe parts breakdown author: All tool 777 brake lathe parts breakdown keywords: Move your mouse over the section of the lathe part your interested in and select. If you hover the mouse. Parts identifi cation the following pages include parts breakdowns with exploded view. Brake Lathe Parts Diagram.
From detoxicrecenze.com
Ammco 4000 Brake Lathe Parts Diagram My Wiring DIagram Brake Lathe Parts Diagram All tool 777 brake lathe. Brake lathe parts breakdowns for models ammco, rels, van norman, and more. 601 series disc and drum brake lathe parts reference. Combination brake lathe model 8922. All tool 777 brake lathe parts breakdown keywords: We have a convenient parts breakdown. Parts identifi cation the following pages include parts breakdowns with exploded view illustrations to help. Brake Lathe Parts Diagram.
From circuitdatamegan.z19.web.core.windows.net
Ammco Brake Lathe Parts Diagram Brake Lathe Parts Diagram If your brake lathe is stuck, won’t turn on or won’t cut right then it’s time to fix your machine. This manual includes thumbnail references. Brake lathe parts breakdowns for models ammco, rels, van norman, and more. All tool 777 brake lathe parts breakdown author: Parts identifi cation the following pages include parts breakdowns with exploded view illustrations to help. Brake Lathe Parts Diagram.
From circuitdatamegan.z19.web.core.windows.net
Ammco Brake Lathe Parts Diagram Brake Lathe Parts Diagram If you hover the mouse. All tool 777 brake lathe. Parts identifi cation the following pages include parts breakdowns with exploded view illustrations to help with ordering replacement or spare kits. All tool 777 brake lathe parts breakdown keywords: 601 series disc and drum brake lathe parts reference. All tool 777 brake lathe parts breakdown author: This manual includes thumbnail. Brake Lathe Parts Diagram.
From www.automotivetools.com
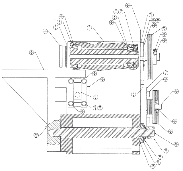
Brake Lathe Parts Breakdown, Spindle Assembly, for Ammco 4000 and Rels Brake Lathe Parts Diagram 601 series disc and drum brake lathe parts reference. All tool 777 brake lathe parts breakdown keywords: If your brake lathe is stuck, won’t turn on or won’t cut right then it’s time to fix your machine. Combination brake lathe model 8922. Visit us online to order parts for this machine: We have a convenient parts breakdown. Brake lathe parts. Brake Lathe Parts Diagram.
From automotivetools.com
Brake Lathe Parts Breakdown, for Accuturn model 8922, Feed Assembly Brake Lathe Parts Diagram Parts identifi cation the following pages include parts breakdowns with exploded view illustrations to help with ordering replacement or spare kits. All tool 777 brake lathe parts breakdown keywords: Combination brake lathe model 8922. This manual includes thumbnail references. If you hover the mouse. Brake lathe parts breakdowns for models ammco, rels, van norman, and more. Ammco 4000 brake lathe. Brake Lathe Parts Diagram.
From schematron.org
Ammco 4000 Brake Lathe Parts Diagram Wiring Diagram Pictures Brake Lathe Parts Diagram Move your mouse over the section of the lathe part your interested in and select. Visit us online to order parts for this machine: Ammco 4000 brake lathe assembly parts. If you hover the mouse. 601 series disc and drum brake lathe parts reference. Brake lathe parts breakdowns for models ammco, rels, van norman, and more. If your brake lathe. Brake Lathe Parts Diagram.
From atelier-yuwa.ciao.jp
Brake Lathe Parts Breakdown, Spindle Assembly, For Ammco 4000 And Rels Brake Lathe Parts Diagram If you hover the mouse. Brake lathe parts breakdowns for models ammco, rels, van norman, and more. Parts identifi cation the following pages include parts breakdowns with exploded view illustrations to help with ordering replacement or spare kits. If your brake lathe is stuck, won’t turn on or won’t cut right then it’s time to fix your machine. Ammco 4000. Brake Lathe Parts Diagram.
From librarydarryl.blogspot.com
Ammco Brake Lathe Parts Diagram Brake Lathe Parts Breakdown For Brake Lathe Parts Diagram All tool 777 brake lathe. We have a convenient parts breakdown. Brake lathe parts breakdowns for models ammco, rels, van norman, and more. 601 series disc and drum brake lathe parts reference. All tool 777 brake lathe parts breakdown keywords: If your brake lathe is stuck, won’t turn on or won’t cut right then it’s time to fix your machine.. Brake Lathe Parts Diagram.
From brendaschematic.blogspot.com
ammco brake lathe parts diagram Brake Lathe Parts Diagram 601 series disc and drum brake lathe parts reference. This manual includes thumbnail references. If your brake lathe is stuck, won’t turn on or won’t cut right then it’s time to fix your machine. Combination brake lathe model 8922. All tool 777 brake lathe parts breakdown author: Ammco 4000 brake lathe assembly parts. All tool 777 brake lathe parts breakdown. Brake Lathe Parts Diagram.
From brendaschematic.blogspot.com
ammco brake lathe parts diagram Brake Lathe Parts Diagram Parts identifi cation the following pages include parts breakdowns with exploded view illustrations to help with ordering replacement or spare kits. All tool 777 brake lathe. We have a convenient parts breakdown. If your brake lathe is stuck, won’t turn on or won’t cut right then it’s time to fix your machine. All tool 777 brake lathe parts breakdown author:. Brake Lathe Parts Diagram.
From techschems.com
Unveiling the Anatomy of the Ammco 4000 Brake Lathe A Parts Diagram Brake Lathe Parts Diagram Move your mouse over the section of the lathe part your interested in and select. This manual includes thumbnail references. Combination brake lathe model 8922. All tool 777 brake lathe parts breakdown author: Ammco 4000 brake lathe assembly parts. All tool 777 brake lathe parts breakdown keywords: We have a convenient parts breakdown. Brake lathe parts breakdowns for models ammco,. Brake Lathe Parts Diagram.
From circuitwiringsybil.z13.web.core.windows.net
Ammco Brake Lathe Parts Diagram Brake Lathe Parts Diagram Ammco 4000 brake lathe assembly parts. This manual includes thumbnail references. If your brake lathe is stuck, won’t turn on or won’t cut right then it’s time to fix your machine. If you hover the mouse. Move your mouse over the section of the lathe part your interested in and select. Combination brake lathe model 8922. All tool 777 brake. Brake Lathe Parts Diagram.
From www.jackssmallengines.com
Jet Tools EGH1880 EGH2180 EGH21120 Lathe Parts Diagram for Parts Brake Lathe Parts Diagram All tool 777 brake lathe. We have a convenient parts breakdown. 601 series disc and drum brake lathe parts reference. Ammco 4000 brake lathe assembly parts. If you hover the mouse. If your brake lathe is stuck, won’t turn on or won’t cut right then it’s time to fix your machine. All tool 777 brake lathe parts breakdown keywords: Parts. Brake Lathe Parts Diagram.
From automotivetools.com
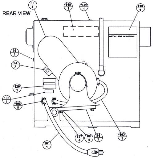
Brake Lathe Parts Breakdown, for Accuturn 8922, Rear View (Accuturn Brake Lathe Parts Diagram If you hover the mouse. This manual includes thumbnail references. We have a convenient parts breakdown. All tool 777 brake lathe parts breakdown keywords: Brake lathe parts breakdowns for models ammco, rels, van norman, and more. Combination brake lathe model 8922. Visit us online to order parts for this machine: All tool 777 brake lathe parts breakdown author: Parts identifi. Brake Lathe Parts Diagram.
From detoxicrecenze.com
Ammco 4000 Brake Lathe Parts Diagram My Wiring DIagram Brake Lathe Parts Diagram Parts identifi cation the following pages include parts breakdowns with exploded view illustrations to help with ordering replacement or spare kits. This manual includes thumbnail references. If you hover the mouse. All tool 777 brake lathe. Move your mouse over the section of the lathe part your interested in and select. Combination brake lathe model 8922. Visit us online to. Brake Lathe Parts Diagram.