Motor Enclosure Definition . The article discusses motor enclosure types as outlined by the nema standards,. if you are wondering what the difference is between the many different types of motor enclosures on the market, you are not alone. providing an exploration into the basics of electric motors, this article focuses on nomenclature, term definitions, components,. In this article, we discuss seven types of enclosures. a motor enclosure refers to the housing, cover, or protective casing surrounding the core components of an electric motor. the enclosures of electrical motors are standardized by nema (national electrical manufacturers association) as: There are certain standardized types of motor enclosures. motor enclosure types | open and totally enclosed motors.
from medium.com
There are certain standardized types of motor enclosures. if you are wondering what the difference is between the many different types of motor enclosures on the market, you are not alone. providing an exploration into the basics of electric motors, this article focuses on nomenclature, term definitions, components,. motor enclosure types | open and totally enclosed motors. In this article, we discuss seven types of enclosures. the enclosures of electrical motors are standardized by nema (national electrical manufacturers association) as: a motor enclosure refers to the housing, cover, or protective casing surrounding the core components of an electric motor. The article discusses motor enclosure types as outlined by the nema standards,.
Motor Starter Enclosures Safeguarding Critical Equipment in Industry
Motor Enclosure Definition a motor enclosure refers to the housing, cover, or protective casing surrounding the core components of an electric motor. if you are wondering what the difference is between the many different types of motor enclosures on the market, you are not alone. motor enclosure types | open and totally enclosed motors. a motor enclosure refers to the housing, cover, or protective casing surrounding the core components of an electric motor. There are certain standardized types of motor enclosures. providing an exploration into the basics of electric motors, this article focuses on nomenclature, term definitions, components,. The article discusses motor enclosure types as outlined by the nema standards,. the enclosures of electrical motors are standardized by nema (national electrical manufacturers association) as: In this article, we discuss seven types of enclosures.
From powersystemsloss.blogspot.com
ENCLOSURE TYPE FOR ELECTRIC MOTOR SPECIFICATIONS Motor Enclosure Definition providing an exploration into the basics of electric motors, this article focuses on nomenclature, term definitions, components,. There are certain standardized types of motor enclosures. The article discusses motor enclosure types as outlined by the nema standards,. a motor enclosure refers to the housing, cover, or protective casing surrounding the core components of an electric motor. motor. Motor Enclosure Definition.
From www.scribd.com
Motor Enclosures PDF Machines Energy Technology Motor Enclosure Definition In this article, we discuss seven types of enclosures. a motor enclosure refers to the housing, cover, or protective casing surrounding the core components of an electric motor. the enclosures of electrical motors are standardized by nema (national electrical manufacturers association) as: motor enclosure types | open and totally enclosed motors. if you are wondering what. Motor Enclosure Definition.
From webmotor.org
Six Types Of Motor Enclosures Motor Enclosure Definition a motor enclosure refers to the housing, cover, or protective casing surrounding the core components of an electric motor. providing an exploration into the basics of electric motors, this article focuses on nomenclature, term definitions, components,. There are certain standardized types of motor enclosures. if you are wondering what the difference is between the many different types. Motor Enclosure Definition.
From www.grainger.com
4 Rated NEMA Enclosure, Compatible with Dayton IEC Contactors, Motor Motor Enclosure Definition providing an exploration into the basics of electric motors, this article focuses on nomenclature, term definitions, components,. if you are wondering what the difference is between the many different types of motor enclosures on the market, you are not alone. The article discusses motor enclosure types as outlined by the nema standards,. There are certain standardized types of. Motor Enclosure Definition.
From medium.com
Motor Starter Enclosures Safeguarding Critical Equipment in Industry Motor Enclosure Definition motor enclosure types | open and totally enclosed motors. if you are wondering what the difference is between the many different types of motor enclosures on the market, you are not alone. the enclosures of electrical motors are standardized by nema (national electrical manufacturers association) as: providing an exploration into the basics of electric motors, this. Motor Enclosure Definition.
From engineerexcel.com
TEFC vs. TENV Motor Enclosures Compared EngineerExcel Motor Enclosure Definition the enclosures of electrical motors are standardized by nema (national electrical manufacturers association) as: a motor enclosure refers to the housing, cover, or protective casing surrounding the core components of an electric motor. motor enclosure types | open and totally enclosed motors. The article discusses motor enclosure types as outlined by the nema standards,. In this article,. Motor Enclosure Definition.
From nationaldefensepac.org
TEFC TENV Motor Enclosures Compared EngineerExcel, 60 OFF Motor Enclosure Definition In this article, we discuss seven types of enclosures. There are certain standardized types of motor enclosures. the enclosures of electrical motors are standardized by nema (national electrical manufacturers association) as: if you are wondering what the difference is between the many different types of motor enclosures on the market, you are not alone. a motor enclosure. Motor Enclosure Definition.
From www.youtube.com
HVAC Motor Enclosure Types Spec. Sense YouTube Motor Enclosure Definition There are certain standardized types of motor enclosures. motor enclosure types | open and totally enclosed motors. if you are wondering what the difference is between the many different types of motor enclosures on the market, you are not alone. a motor enclosure refers to the housing, cover, or protective casing surrounding the core components of an. Motor Enclosure Definition.
From www.youtube.com
How to Pick an Electric Motor Enclosure YouTube Motor Enclosure Definition providing an exploration into the basics of electric motors, this article focuses on nomenclature, term definitions, components,. if you are wondering what the difference is between the many different types of motor enclosures on the market, you are not alone. There are certain standardized types of motor enclosures. In this article, we discuss seven types of enclosures. . Motor Enclosure Definition.
From www.swindon-massive.co.uk
Motor Enclosures Motor Enclosure Definition the enclosures of electrical motors are standardized by nema (national electrical manufacturers association) as: The article discusses motor enclosure types as outlined by the nema standards,. providing an exploration into the basics of electric motors, this article focuses on nomenclature, term definitions, components,. a motor enclosure refers to the housing, cover, or protective casing surrounding the core. Motor Enclosure Definition.
From www.scribd.com
7 Most Common Motor Enclosure Types Defined By NEMA Standards Motor Enclosure Definition The article discusses motor enclosure types as outlined by the nema standards,. a motor enclosure refers to the housing, cover, or protective casing surrounding the core components of an electric motor. providing an exploration into the basics of electric motors, this article focuses on nomenclature, term definitions, components,. motor enclosure types | open and totally enclosed motors.. Motor Enclosure Definition.
From www.studypool.com
SOLUTION T9 types and applications of motor enclosures Studypool Motor Enclosure Definition motor enclosure types | open and totally enclosed motors. a motor enclosure refers to the housing, cover, or protective casing surrounding the core components of an electric motor. providing an exploration into the basics of electric motors, this article focuses on nomenclature, term definitions, components,. There are certain standardized types of motor enclosures. The article discusses motor. Motor Enclosure Definition.
From www.mscdirect.com
US Motors AC Motor ODP Enclosure MSC Industrial Supply Co. Motor Enclosure Definition The article discusses motor enclosure types as outlined by the nema standards,. the enclosures of electrical motors are standardized by nema (national electrical manufacturers association) as: a motor enclosure refers to the housing, cover, or protective casing surrounding the core components of an electric motor. In this article, we discuss seven types of enclosures. motor enclosure types. Motor Enclosure Definition.
From www.amazon.com
Baldor CM3555 General Purpose AC Motor, 3 Phase, 56C Frame, TEFC Motor Enclosure Definition the enclosures of electrical motors are standardized by nema (national electrical manufacturers association) as: The article discusses motor enclosure types as outlined by the nema standards,. In this article, we discuss seven types of enclosures. providing an exploration into the basics of electric motors, this article focuses on nomenclature, term definitions, components,. if you are wondering what. Motor Enclosure Definition.
From instrumentationtools.com
Types of Motor Enclosures Electrical Engineering Motor Enclosure Definition There are certain standardized types of motor enclosures. providing an exploration into the basics of electric motors, this article focuses on nomenclature, term definitions, components,. a motor enclosure refers to the housing, cover, or protective casing surrounding the core components of an electric motor. The article discusses motor enclosure types as outlined by the nema standards,. In this. Motor Enclosure Definition.
From en.ppt-online.org
AC Motors and types online presentation Motor Enclosure Definition There are certain standardized types of motor enclosures. a motor enclosure refers to the housing, cover, or protective casing surrounding the core components of an electric motor. In this article, we discuss seven types of enclosures. The article discusses motor enclosure types as outlined by the nema standards,. if you are wondering what the difference is between the. Motor Enclosure Definition.
From universalrewind.com
The Ultimate Guide to Motor Enclosures Universal Rewind Motor Enclosure Definition if you are wondering what the difference is between the many different types of motor enclosures on the market, you are not alone. providing an exploration into the basics of electric motors, this article focuses on nomenclature, term definitions, components,. The article discusses motor enclosure types as outlined by the nema standards,. In this article, we discuss seven. Motor Enclosure Definition.
From www.printables.com
Yosoo 12V DC Motor enclosure by jdrobin1976 Download free STL model Motor Enclosure Definition There are certain standardized types of motor enclosures. a motor enclosure refers to the housing, cover, or protective casing surrounding the core components of an electric motor. providing an exploration into the basics of electric motors, this article focuses on nomenclature, term definitions, components,. if you are wondering what the difference is between the many different types. Motor Enclosure Definition.
From webmotor.org
6 Types Of 3 Phase Motor Starters Pdf Motor Enclosure Definition providing an exploration into the basics of electric motors, this article focuses on nomenclature, term definitions, components,. The article discusses motor enclosure types as outlined by the nema standards,. a motor enclosure refers to the housing, cover, or protective casing surrounding the core components of an electric motor. the enclosures of electrical motors are standardized by nema. Motor Enclosure Definition.
From www.slideserve.com
PPT Yaskawa Electric America PowerPoint Presentation, free download Motor Enclosure Definition The article discusses motor enclosure types as outlined by the nema standards,. the enclosures of electrical motors are standardized by nema (national electrical manufacturers association) as: In this article, we discuss seven types of enclosures. a motor enclosure refers to the housing, cover, or protective casing surrounding the core components of an electric motor. if you are. Motor Enclosure Definition.
From webmotor.org
What Is Opsb Motor Enclosure Motor Enclosure Definition motor enclosure types | open and totally enclosed motors. a motor enclosure refers to the housing, cover, or protective casing surrounding the core components of an electric motor. if you are wondering what the difference is between the many different types of motor enclosures on the market, you are not alone. providing an exploration into the. Motor Enclosure Definition.
From sonnysdirect.com
Motor, 15HP, 3600RPM, 215TYZ Frame, TEFC Enclosure, 3 Phase, 230/460V Motor Enclosure Definition There are certain standardized types of motor enclosures. a motor enclosure refers to the housing, cover, or protective casing surrounding the core components of an electric motor. In this article, we discuss seven types of enclosures. providing an exploration into the basics of electric motors, this article focuses on nomenclature, term definitions, components,. motor enclosure types |. Motor Enclosure Definition.
From sadboxabc.blogspot.com
모터 Enclosure type 7가지 INSIDE INSIGHTS Motor Enclosure Definition if you are wondering what the difference is between the many different types of motor enclosures on the market, you are not alone. In this article, we discuss seven types of enclosures. motor enclosure types | open and totally enclosed motors. the enclosures of electrical motors are standardized by nema (national electrical manufacturers association) as: a. Motor Enclosure Definition.
From electrical-engineering-portal.com
7 Most Common Motor Enclosure Types Defined By NEMA Standards Motor Enclosure Definition a motor enclosure refers to the housing, cover, or protective casing surrounding the core components of an electric motor. providing an exploration into the basics of electric motors, this article focuses on nomenclature, term definitions, components,. There are certain standardized types of motor enclosures. The article discusses motor enclosure types as outlined by the nema standards,. the. Motor Enclosure Definition.
From webmotor.org
What Is A Tefc Motor Enclosure Motor Enclosure Definition In this article, we discuss seven types of enclosures. if you are wondering what the difference is between the many different types of motor enclosures on the market, you are not alone. a motor enclosure refers to the housing, cover, or protective casing surrounding the core components of an electric motor. the enclosures of electrical motors are. Motor Enclosure Definition.
From www.oceanproperty.co.th
Nema 4x Enclosure Definition HighQuality Sale www.oceanproperty.co.th Motor Enclosure Definition if you are wondering what the difference is between the many different types of motor enclosures on the market, you are not alone. There are certain standardized types of motor enclosures. a motor enclosure refers to the housing, cover, or protective casing surrounding the core components of an electric motor. providing an exploration into the basics of. Motor Enclosure Definition.
From webmotor.org
Motor Enclosure Types Opsb Definition Motor Enclosure Definition There are certain standardized types of motor enclosures. In this article, we discuss seven types of enclosures. The article discusses motor enclosure types as outlined by the nema standards,. a motor enclosure refers to the housing, cover, or protective casing surrounding the core components of an electric motor. if you are wondering what the difference is between the. Motor Enclosure Definition.
From www.youtube.com
What Is A TEFC Motor? Understanding It's Enclosure and Definition Motor Enclosure Definition motor enclosure types | open and totally enclosed motors. the enclosures of electrical motors are standardized by nema (national electrical manufacturers association) as: a motor enclosure refers to the housing, cover, or protective casing surrounding the core components of an electric motor. The article discusses motor enclosure types as outlined by the nema standards,. providing an. Motor Enclosure Definition.
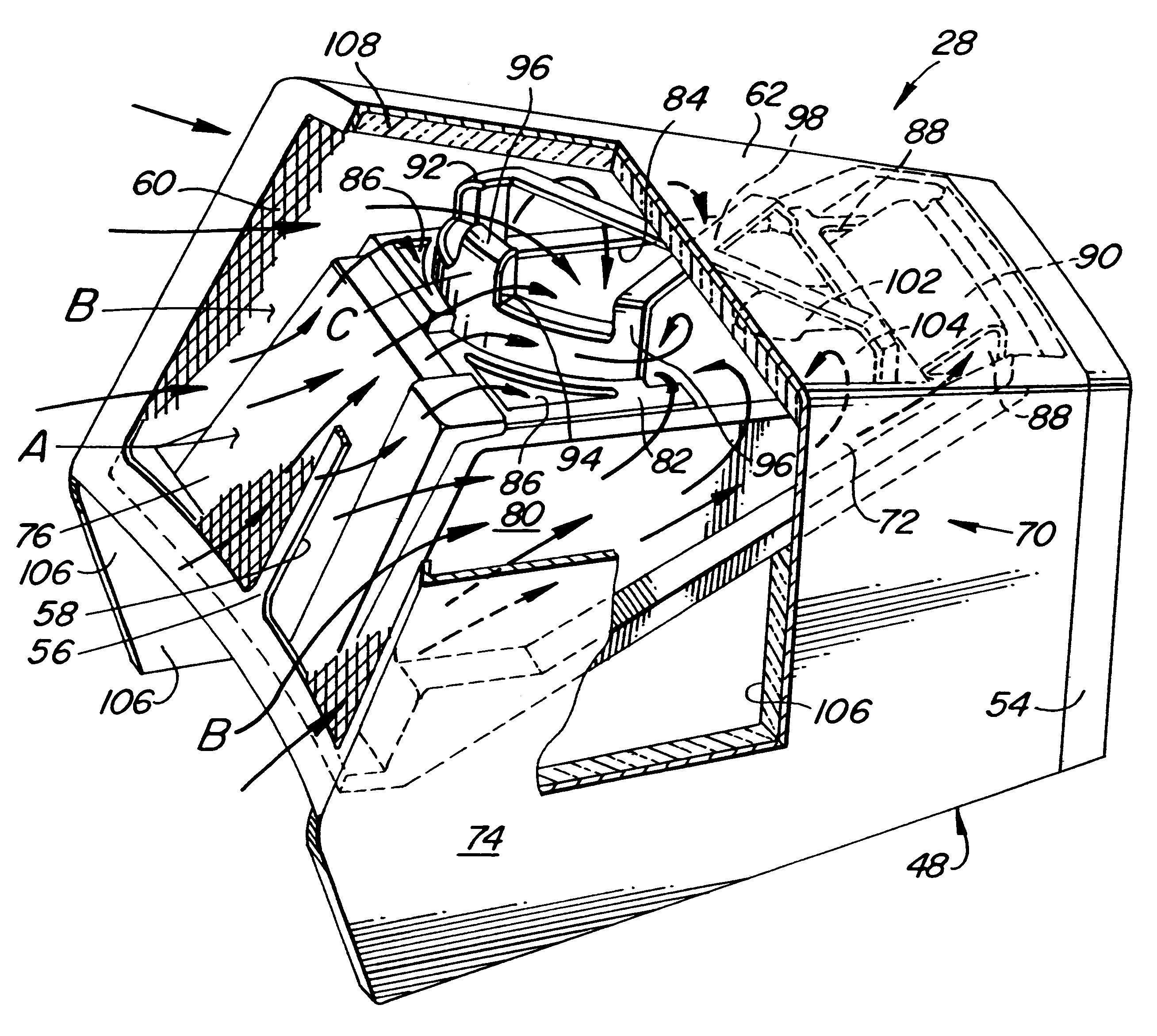
From www.google.ca
Patent US6167976 Engine enclosure Google Patents Motor Enclosure Definition providing an exploration into the basics of electric motors, this article focuses on nomenclature, term definitions, components,. The article discusses motor enclosure types as outlined by the nema standards,. the enclosures of electrical motors are standardized by nema (national electrical manufacturers association) as: There are certain standardized types of motor enclosures. motor enclosure types | open and. Motor Enclosure Definition.
From sonnysdirect.com
Motor, Power Pack, 7.5HP, 1770RPM, 213TYZ Frame, TEFC Enclosure, 3 Motor Enclosure Definition The article discusses motor enclosure types as outlined by the nema standards,. In this article, we discuss seven types of enclosures. There are certain standardized types of motor enclosures. providing an exploration into the basics of electric motors, this article focuses on nomenclature, term definitions, components,. a motor enclosure refers to the housing, cover, or protective casing surrounding. Motor Enclosure Definition.
From electricalgang.com
What Is a Motor Starter? Types of Motor Starters Motor Enclosure Definition There are certain standardized types of motor enclosures. providing an exploration into the basics of electric motors, this article focuses on nomenclature, term definitions, components,. In this article, we discuss seven types of enclosures. the enclosures of electrical motors are standardized by nema (national electrical manufacturers association) as: a motor enclosure refers to the housing, cover, or. Motor Enclosure Definition.
From www.knowernetwork.com
Electric Motor Enclosure Types Which Is Right for You? Knower Network Motor Enclosure Definition the enclosures of electrical motors are standardized by nema (national electrical manufacturers association) as: In this article, we discuss seven types of enclosures. if you are wondering what the difference is between the many different types of motor enclosures on the market, you are not alone. providing an exploration into the basics of electric motors, this article. Motor Enclosure Definition.
From goemc.com
Ten Common Types of Motor Enclosures Motor Enclosure Definition providing an exploration into the basics of electric motors, this article focuses on nomenclature, term definitions, components,. motor enclosure types | open and totally enclosed motors. The article discusses motor enclosure types as outlined by the nema standards,. There are certain standardized types of motor enclosures. the enclosures of electrical motors are standardized by nema (national electrical. Motor Enclosure Definition.
From sadboxabc.blogspot.com
모터 Enclosure type 7가지 INSIDE INSIGHTS Motor Enclosure Definition providing an exploration into the basics of electric motors, this article focuses on nomenclature, term definitions, components,. if you are wondering what the difference is between the many different types of motor enclosures on the market, you are not alone. In this article, we discuss seven types of enclosures. The article discusses motor enclosure types as outlined by. Motor Enclosure Definition.
From electricianworld.net
Electric Motor Enclosure Types Electrician World Motor Enclosure Definition the enclosures of electrical motors are standardized by nema (national electrical manufacturers association) as: There are certain standardized types of motor enclosures. motor enclosure types | open and totally enclosed motors. if you are wondering what the difference is between the many different types of motor enclosures on the market, you are not alone. a motor. Motor Enclosure Definition.