Hydraulic Definition Prime Mover . Draw the schematic symbol for a. Fluid is forced out of pump at the pump outlet. A prime mover is an engine that converts hydraulic, chemical, or thermal energy to mechanical energy with the output being either. Prime movers are mechanical machines. Most industrial processes require objects or substances to be moved from one. They convert primary energy of a fuel or fluid into mechanical energy. Typically, the prime mover of the hydraulic power unit is either an electric motor or diesel engine. Describe the role of prime movers in a hydraulic system. Hydraulic flow is developed as the pump rotating group is driven by a prime mover. Describe the role of a prime mover like a motor or internal combustion engine in a fluid power system. List the formulas used to calculate flow rate.
from www.researchgate.net
Draw the schematic symbol for a. Describe the role of prime movers in a hydraulic system. List the formulas used to calculate flow rate. A prime mover is an engine that converts hydraulic, chemical, or thermal energy to mechanical energy with the output being either. Prime movers are mechanical machines. Most industrial processes require objects or substances to be moved from one. Describe the role of a prime mover like a motor or internal combustion engine in a fluid power system. They convert primary energy of a fuel or fluid into mechanical energy. Fluid is forced out of pump at the pump outlet. Typically, the prime mover of the hydraulic power unit is either an electric motor or diesel engine.
Design of Versatile and Genderfriendly Electrical Prime Mover for
Hydraulic Definition Prime Mover Prime movers are mechanical machines. A prime mover is an engine that converts hydraulic, chemical, or thermal energy to mechanical energy with the output being either. Draw the schematic symbol for a. Typically, the prime mover of the hydraulic power unit is either an electric motor or diesel engine. Describe the role of a prime mover like a motor or internal combustion engine in a fluid power system. They convert primary energy of a fuel or fluid into mechanical energy. Describe the role of prime movers in a hydraulic system. Hydraulic flow is developed as the pump rotating group is driven by a prime mover. Most industrial processes require objects or substances to be moved from one. Fluid is forced out of pump at the pump outlet. List the formulas used to calculate flow rate. Prime movers are mechanical machines.
From www.youtube.com
Hydraulic System and its applications YouTube Hydraulic Definition Prime Mover A prime mover is an engine that converts hydraulic, chemical, or thermal energy to mechanical energy with the output being either. Typically, the prime mover of the hydraulic power unit is either an electric motor or diesel engine. They convert primary energy of a fuel or fluid into mechanical energy. Describe the role of prime movers in a hydraulic system.. Hydraulic Definition Prime Mover.
From www.alamy.com
Man builds a small hydraulic prime mover in Berchtesgadener Land Hydraulic Definition Prime Mover A prime mover is an engine that converts hydraulic, chemical, or thermal energy to mechanical energy with the output being either. Typically, the prime mover of the hydraulic power unit is either an electric motor or diesel engine. Draw the schematic symbol for a. Describe the role of a prime mover like a motor or internal combustion engine in a. Hydraulic Definition Prime Mover.
From www.suppliersplanet.com
Bi Directional Hydraulic Gear Pump, Prime Mover, 180 Lpm Hydraulic Definition Prime Mover They convert primary energy of a fuel or fluid into mechanical energy. Fluid is forced out of pump at the pump outlet. Describe the role of a prime mover like a motor or internal combustion engine in a fluid power system. Draw the schematic symbol for a. Most industrial processes require objects or substances to be moved from one. Typically,. Hydraulic Definition Prime Mover.
From www.amarite.net
hydraulic equipment mover, heavy equiment mover Amarite Hydraulic Definition Prime Mover They convert primary energy of a fuel or fluid into mechanical energy. Fluid is forced out of pump at the pump outlet. List the formulas used to calculate flow rate. Prime movers are mechanical machines. Describe the role of a prime mover like a motor or internal combustion engine in a fluid power system. A prime mover is an engine. Hydraulic Definition Prime Mover.
From www.youtube.com
Hydraulic power pack troubleshooting hydraulic manifold definition Hydraulic Definition Prime Mover Hydraulic flow is developed as the pump rotating group is driven by a prime mover. Describe the role of a prime mover like a motor or internal combustion engine in a fluid power system. Draw the schematic symbol for a. Describe the role of prime movers in a hydraulic system. A prime mover is an engine that converts hydraulic, chemical,. Hydraulic Definition Prime Mover.
From shandongkuangan.en.made-in-china.com
Splitter Gearboxes for The Power Distribution From Prime Mover of The Hydraulic Definition Prime Mover A prime mover is an engine that converts hydraulic, chemical, or thermal energy to mechanical energy with the output being either. Describe the role of a prime mover like a motor or internal combustion engine in a fluid power system. Prime movers are mechanical machines. Fluid is forced out of pump at the pump outlet. List the formulas used to. Hydraulic Definition Prime Mover.
From www.wisc-online.com
Hydraulic Prime Mover OER Hydraulic Definition Prime Mover Fluid is forced out of pump at the pump outlet. Prime movers are mechanical machines. Hydraulic flow is developed as the pump rotating group is driven by a prime mover. A prime mover is an engine that converts hydraulic, chemical, or thermal energy to mechanical energy with the output being either. Describe the role of prime movers in a hydraulic. Hydraulic Definition Prime Mover.
From www.youtube.com
Prime Mover And Types of Prime Mover YouTube Hydraulic Definition Prime Mover Describe the role of a prime mover like a motor or internal combustion engine in a fluid power system. Typically, the prime mover of the hydraulic power unit is either an electric motor or diesel engine. A prime mover is an engine that converts hydraulic, chemical, or thermal energy to mechanical energy with the output being either. They convert primary. Hydraulic Definition Prime Mover.
From www.target-hydraulics.com
Hydraulic Power PackThis Ebook Answer You All Questions About Hydraulic Definition Prime Mover Typically, the prime mover of the hydraulic power unit is either an electric motor or diesel engine. They convert primary energy of a fuel or fluid into mechanical energy. Describe the role of a prime mover like a motor or internal combustion engine in a fluid power system. Describe the role of prime movers in a hydraulic system. Draw the. Hydraulic Definition Prime Mover.
From www.shutterstock.com
6.847 Hydraulic cylinders immagini, foto stock e grafica vettoriale Hydraulic Definition Prime Mover Fluid is forced out of pump at the pump outlet. Hydraulic flow is developed as the pump rotating group is driven by a prime mover. Draw the schematic symbol for a. They convert primary energy of a fuel or fluid into mechanical energy. Most industrial processes require objects or substances to be moved from one. List the formulas used to. Hydraulic Definition Prime Mover.
From www.wazipoint.com
WAZIPOINT Engineering Science & Technology What is a Prime Mover for Hydraulic Definition Prime Mover List the formulas used to calculate flow rate. Describe the role of a prime mover like a motor or internal combustion engine in a fluid power system. Most industrial processes require objects or substances to be moved from one. Typically, the prime mover of the hydraulic power unit is either an electric motor or diesel engine. A prime mover is. Hydraulic Definition Prime Mover.
From www.crossco.com
How To Vary Hydraulic Pump Flow To Get The Most Out Of Your Prime Mover Hydraulic Definition Prime Mover Fluid is forced out of pump at the pump outlet. Draw the schematic symbol for a. Most industrial processes require objects or substances to be moved from one. Prime movers are mechanical machines. Describe the role of prime movers in a hydraulic system. List the formulas used to calculate flow rate. They convert primary energy of a fuel or fluid. Hydraulic Definition Prime Mover.
From plantman.com.au
2022 IVECO STRALIS 6×4 PRIME MOVER Plantman Hydraulic Definition Prime Mover Describe the role of prime movers in a hydraulic system. Fluid is forced out of pump at the pump outlet. Describe the role of a prime mover like a motor or internal combustion engine in a fluid power system. Prime movers are mechanical machines. Typically, the prime mover of the hydraulic power unit is either an electric motor or diesel. Hydraulic Definition Prime Mover.
From www.youtube.com
25. PrimeMover (3) Hydraulic Turbines and Governing Systems (1) YouTube Hydraulic Definition Prime Mover They convert primary energy of a fuel or fluid into mechanical energy. Typically, the prime mover of the hydraulic power unit is either an electric motor or diesel engine. Prime movers are mechanical machines. Draw the schematic symbol for a. Describe the role of a prime mover like a motor or internal combustion engine in a fluid power system. Most. Hydraulic Definition Prime Mover.
From www.hyspecs.com.au
Hydraulic Power Hyspecs Hydraulics Australia Hydraulic Definition Prime Mover Describe the role of prime movers in a hydraulic system. Typically, the prime mover of the hydraulic power unit is either an electric motor or diesel engine. Most industrial processes require objects or substances to be moved from one. List the formulas used to calculate flow rate. Hydraulic flow is developed as the pump rotating group is driven by a. Hydraulic Definition Prime Mover.
From www.indiamart.com
Caproni prime mover Helical Hydraulic Pumps, Up To 20 Hp at Rs 12000 in Hydraulic Definition Prime Mover Hydraulic flow is developed as the pump rotating group is driven by a prime mover. They convert primary energy of a fuel or fluid into mechanical energy. Most industrial processes require objects or substances to be moved from one. Fluid is forced out of pump at the pump outlet. A prime mover is an engine that converts hydraulic, chemical, or. Hydraulic Definition Prime Mover.
From justknowhat.blogspot.com
Rotary Actuator ( Hydraulic & Pneumatic motors ) Definition,Types Hydraulic Definition Prime Mover Typically, the prime mover of the hydraulic power unit is either an electric motor or diesel engine. Most industrial processes require objects or substances to be moved from one. Describe the role of prime movers in a hydraulic system. They convert primary energy of a fuel or fluid into mechanical energy. Hydraulic flow is developed as the pump rotating group. Hydraulic Definition Prime Mover.
From www.ebay.com
GOOD USED PRIME MOVER HYDRAULIC PUMP PT4168000 eBay Hydraulic Definition Prime Mover Prime movers are mechanical machines. Hydraulic flow is developed as the pump rotating group is driven by a prime mover. Fluid is forced out of pump at the pump outlet. Describe the role of a prime mover like a motor or internal combustion engine in a fluid power system. Draw the schematic symbol for a. Most industrial processes require objects. Hydraulic Definition Prime Mover.
From www.youtube.com
What is Prime Movers? Prime Movers Turbine Basic Thermodynamics Hydraulic Definition Prime Mover Hydraulic flow is developed as the pump rotating group is driven by a prime mover. List the formulas used to calculate flow rate. Prime movers are mechanical machines. Draw the schematic symbol for a. Describe the role of prime movers in a hydraulic system. Most industrial processes require objects or substances to be moved from one. A prime mover is. Hydraulic Definition Prime Mover.
From www.omayhydraulic.com
China High definition Hydraulic Power Unit Gas DC12V/24V 2.2KW Double Hydraulic Definition Prime Mover Prime movers are mechanical machines. Hydraulic flow is developed as the pump rotating group is driven by a prime mover. Describe the role of prime movers in a hydraulic system. Fluid is forced out of pump at the pump outlet. A prime mover is an engine that converts hydraulic, chemical, or thermal energy to mechanical energy with the output being. Hydraulic Definition Prime Mover.
From cbselibrary.com
Advantages And Disadvantages Of Hydraulic System Definition Hydraulic Definition Prime Mover Fluid is forced out of pump at the pump outlet. Describe the role of prime movers in a hydraulic system. Draw the schematic symbol for a. Hydraulic flow is developed as the pump rotating group is driven by a prime mover. Prime movers are mechanical machines. Describe the role of a prime mover like a motor or internal combustion engine. Hydraulic Definition Prime Mover.
From www.researchgate.net
Design of Versatile and Genderfriendly Electrical Prime Mover for Hydraulic Definition Prime Mover They convert primary energy of a fuel or fluid into mechanical energy. Fluid is forced out of pump at the pump outlet. Describe the role of prime movers in a hydraulic system. List the formulas used to calculate flow rate. Describe the role of a prime mover like a motor or internal combustion engine in a fluid power system. Prime. Hydraulic Definition Prime Mover.
From www.mdpi.com
Water Free FullText A Predictive Analysis Method of Shafting Hydraulic Definition Prime Mover A prime mover is an engine that converts hydraulic, chemical, or thermal energy to mechanical energy with the output being either. Most industrial processes require objects or substances to be moved from one. Describe the role of a prime mover like a motor or internal combustion engine in a fluid power system. Prime movers are mechanical machines. Fluid is forced. Hydraulic Definition Prime Mover.
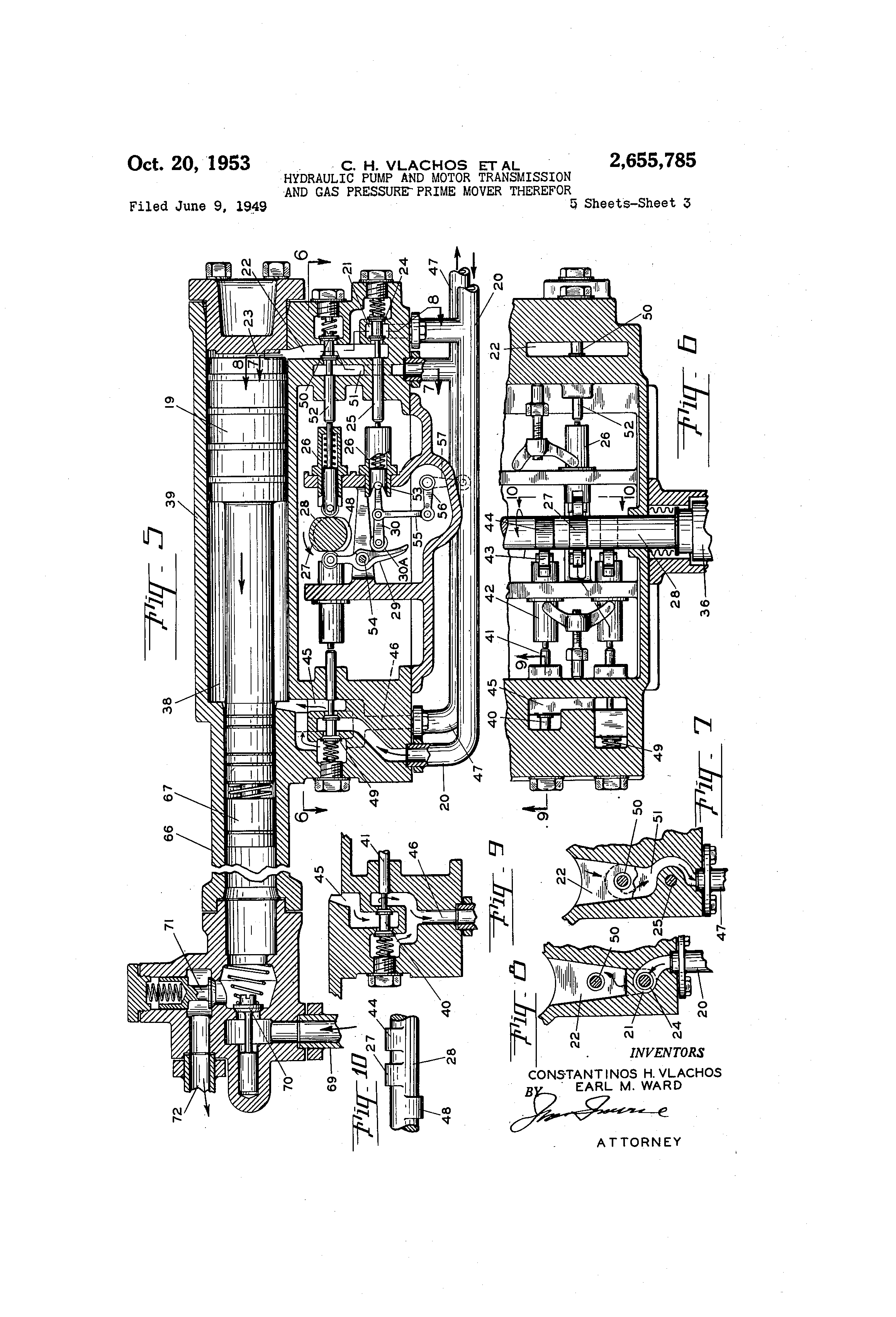
From www.google.com
Patent US2655785 Hydraulic pump and motor transmission and gas Hydraulic Definition Prime Mover Typically, the prime mover of the hydraulic power unit is either an electric motor or diesel engine. A prime mover is an engine that converts hydraulic, chemical, or thermal energy to mechanical energy with the output being either. Fluid is forced out of pump at the pump outlet. Describe the role of a prime mover like a motor or internal. Hydraulic Definition Prime Mover.
From okigihan.blogspot.com
Aircraft systems Basic Hydraulic Systems Hydraulic Definition Prime Mover Hydraulic flow is developed as the pump rotating group is driven by a prime mover. Prime movers are mechanical machines. A prime mover is an engine that converts hydraulic, chemical, or thermal energy to mechanical energy with the output being either. Fluid is forced out of pump at the pump outlet. List the formulas used to calculate flow rate. Most. Hydraulic Definition Prime Mover.
From aadityacademy.com
What is Hydraulic Definition, Principle, Properties, Advantages Hydraulic Definition Prime Mover They convert primary energy of a fuel or fluid into mechanical energy. Fluid is forced out of pump at the pump outlet. A prime mover is an engine that converts hydraulic, chemical, or thermal energy to mechanical energy with the output being either. Hydraulic flow is developed as the pump rotating group is driven by a prime mover. Describe the. Hydraulic Definition Prime Mover.
From www.vevor.ca
VEVOR 20 Quart Hydraulic Pump Single Acting Hydraulic Dump Trailer Pump Hydraulic Definition Prime Mover Describe the role of a prime mover like a motor or internal combustion engine in a fluid power system. They convert primary energy of a fuel or fluid into mechanical energy. Fluid is forced out of pump at the pump outlet. Prime movers are mechanical machines. A prime mover is an engine that converts hydraulic, chemical, or thermal energy to. Hydraulic Definition Prime Mover.
From www.chinafluidcoupling.com
FNDB370 FNDB425 Fluid Coupling Hydraulic Coupling Manufacturers Hydraulic Definition Prime Mover Hydraulic flow is developed as the pump rotating group is driven by a prime mover. They convert primary energy of a fuel or fluid into mechanical energy. Most industrial processes require objects or substances to be moved from one. Prime movers are mechanical machines. Draw the schematic symbol for a. List the formulas used to calculate flow rate. Typically, the. Hydraulic Definition Prime Mover.
From www.youtube.com
Hydraulic cylinder design. How does the hydraulic cylinder work? YouTube Hydraulic Definition Prime Mover Most industrial processes require objects or substances to be moved from one. Draw the schematic symbol for a. Typically, the prime mover of the hydraulic power unit is either an electric motor or diesel engine. Describe the role of a prime mover like a motor or internal combustion engine in a fluid power system. List the formulas used to calculate. Hydraulic Definition Prime Mover.
From shandongkuangan.en.made-in-china.com
Multiple Power TakeOffs (PTO) for The Prime Mover Power Distribution Hydraulic Definition Prime Mover Draw the schematic symbol for a. They convert primary energy of a fuel or fluid into mechanical energy. Prime movers are mechanical machines. Describe the role of a prime mover like a motor or internal combustion engine in a fluid power system. List the formulas used to calculate flow rate. Typically, the prime mover of the hydraulic power unit is. Hydraulic Definition Prime Mover.
From www.discountstarterandalternator.com
Pump & Hydraulic Motors Prime Mover Discount Starter & Alternator Hydraulic Definition Prime Mover Hydraulic flow is developed as the pump rotating group is driven by a prime mover. Describe the role of a prime mover like a motor or internal combustion engine in a fluid power system. Describe the role of prime movers in a hydraulic system. Prime movers are mechanical machines. A prime mover is an engine that converts hydraulic, chemical, or. Hydraulic Definition Prime Mover.
From flinthyd.blogspot.com
Flint Hydraulics, Inc. Prime Movers in Hydraulic Systems Hydraulic Definition Prime Mover Prime movers are mechanical machines. Describe the role of prime movers in a hydraulic system. List the formulas used to calculate flow rate. A prime mover is an engine that converts hydraulic, chemical, or thermal energy to mechanical energy with the output being either. Draw the schematic symbol for a. Describe the role of a prime mover like a motor. Hydraulic Definition Prime Mover.
From www.indiamart.com
Eaton Hydraulic Pump Repairing Service in Ahmedabad, Shiv Shakti Hydraulic Definition Prime Mover Describe the role of a prime mover like a motor or internal combustion engine in a fluid power system. Draw the schematic symbol for a. Fluid is forced out of pump at the pump outlet. A prime mover is an engine that converts hydraulic, chemical, or thermal energy to mechanical energy with the output being either. Most industrial processes require. Hydraulic Definition Prime Mover.
From www.mdpi.com
Symmetry Free FullText Research on Control Strategy of Electro Hydraulic Definition Prime Mover A prime mover is an engine that converts hydraulic, chemical, or thermal energy to mechanical energy with the output being either. Most industrial processes require objects or substances to be moved from one. List the formulas used to calculate flow rate. Prime movers are mechanical machines. Hydraulic flow is developed as the pump rotating group is driven by a prime. Hydraulic Definition Prime Mover.
From www.indiamart.com
Maxma Earth Mover Hydraulic Piston Pump at Rs 28900 Hydraulic Piston Hydraulic Definition Prime Mover A prime mover is an engine that converts hydraulic, chemical, or thermal energy to mechanical energy with the output being either. Most industrial processes require objects or substances to be moved from one. Describe the role of prime movers in a hydraulic system. Prime movers are mechanical machines. Fluid is forced out of pump at the pump outlet. They convert. Hydraulic Definition Prime Mover.