Bleeding Brakes Nissan X Trail . The first thing to do is turn the ignition switch off and disconnect. So your best bet is to maual bleed when doing a brake flush you must go with the bleeding sequence, might be in the manual, if. I've followed the usual procedure to bleed each. Fully depress brake pedal 4 or 5 times. You can replace the brake fluid without using a scan tool. Turn ignition switch off and disconnect electrical connectors of abs actuator and electric unit (control unit), vdc/tcs/abs. Theoretically, the sequence of bleeding your brakes shouldn't matter because it is a closed system, as long as: They may appear to be fine on the. I've replaced all 4 calipers and now struggling to get any firmness in the pedal at all. Connect a vinyl tube to rear right brake caliper bleed valve.
from carpedia.club
I've followed the usual procedure to bleed each. So your best bet is to maual bleed when doing a brake flush you must go with the bleeding sequence, might be in the manual, if. Theoretically, the sequence of bleeding your brakes shouldn't matter because it is a closed system, as long as: You can replace the brake fluid without using a scan tool. Turn ignition switch off and disconnect electrical connectors of abs actuator and electric unit (control unit), vdc/tcs/abs. The first thing to do is turn the ignition switch off and disconnect. They may appear to be fine on the. Connect a vinyl tube to rear right brake caliper bleed valve. I've replaced all 4 calipers and now struggling to get any firmness in the pedal at all. Fully depress brake pedal 4 or 5 times.
Bleeding the clutch Nissan XTrail
Bleeding Brakes Nissan X Trail They may appear to be fine on the. I've followed the usual procedure to bleed each. The first thing to do is turn the ignition switch off and disconnect. You can replace the brake fluid without using a scan tool. They may appear to be fine on the. Fully depress brake pedal 4 or 5 times. Theoretically, the sequence of bleeding your brakes shouldn't matter because it is a closed system, as long as: Turn ignition switch off and disconnect electrical connectors of abs actuator and electric unit (control unit), vdc/tcs/abs. I've replaced all 4 calipers and now struggling to get any firmness in the pedal at all. Connect a vinyl tube to rear right brake caliper bleed valve. So your best bet is to maual bleed when doing a brake flush you must go with the bleeding sequence, might be in the manual, if.
From axleaddict.com
How to Replace a Brake Caliper AxleAddict Bleeding Brakes Nissan X Trail They may appear to be fine on the. Theoretically, the sequence of bleeding your brakes shouldn't matter because it is a closed system, as long as: You can replace the brake fluid without using a scan tool. I've followed the usual procedure to bleed each. Connect a vinyl tube to rear right brake caliper bleed valve. The first thing to. Bleeding Brakes Nissan X Trail.
From www.youtube.com
How to change rear brake pads on NISSAN X TRAIL T30 [TUTORIAL AUTODOC Bleeding Brakes Nissan X Trail Connect a vinyl tube to rear right brake caliper bleed valve. Turn ignition switch off and disconnect electrical connectors of abs actuator and electric unit (control unit), vdc/tcs/abs. I've followed the usual procedure to bleed each. I've replaced all 4 calipers and now struggling to get any firmness in the pedal at all. Fully depress brake pedal 4 or 5. Bleeding Brakes Nissan X Trail.
From asgyes.blogspot.com
How To Bleed Brakes On Nissan Forklift Bleeding Brakes Nissan X Trail I've replaced all 4 calipers and now struggling to get any firmness in the pedal at all. The first thing to do is turn the ignition switch off and disconnect. Connect a vinyl tube to rear right brake caliper bleed valve. Fully depress brake pedal 4 or 5 times. Turn ignition switch off and disconnect electrical connectors of abs actuator. Bleeding Brakes Nissan X Trail.
From carfromjapan.com
How To Bleed Brakes For Cars A StepbyStep Procedure Bleeding Brakes Nissan X Trail Fully depress brake pedal 4 or 5 times. They may appear to be fine on the. I've replaced all 4 calipers and now struggling to get any firmness in the pedal at all. Turn ignition switch off and disconnect electrical connectors of abs actuator and electric unit (control unit), vdc/tcs/abs. Theoretically, the sequence of bleeding your brakes shouldn't matter because. Bleeding Brakes Nissan X Trail.
From www.youtube.com
19982000 Nissan frontier Complete Front Brake replacement and brake Bleeding Brakes Nissan X Trail I've replaced all 4 calipers and now struggling to get any firmness in the pedal at all. So your best bet is to maual bleed when doing a brake flush you must go with the bleeding sequence, might be in the manual, if. Connect a vinyl tube to rear right brake caliper bleed valve. They may appear to be fine. Bleeding Brakes Nissan X Trail.
From carpedia.club
Bleeding the clutch Nissan XTrail Bleeding Brakes Nissan X Trail Theoretically, the sequence of bleeding your brakes shouldn't matter because it is a closed system, as long as: Fully depress brake pedal 4 or 5 times. The first thing to do is turn the ignition switch off and disconnect. Connect a vinyl tube to rear right brake caliper bleed valve. They may appear to be fine on the. I've followed. Bleeding Brakes Nissan X Trail.
From carpedia.club
Bleeding the clutch Nissan XTrail Bleeding Brakes Nissan X Trail So your best bet is to maual bleed when doing a brake flush you must go with the bleeding sequence, might be in the manual, if. I've replaced all 4 calipers and now struggling to get any firmness in the pedal at all. Turn ignition switch off and disconnect electrical connectors of abs actuator and electric unit (control unit), vdc/tcs/abs.. Bleeding Brakes Nissan X Trail.
From carpedia.club
Bleeding brakes Nissan XTrail 2007 2014 Bleeding Brakes Nissan X Trail The first thing to do is turn the ignition switch off and disconnect. Connect a vinyl tube to rear right brake caliper bleed valve. Turn ignition switch off and disconnect electrical connectors of abs actuator and electric unit (control unit), vdc/tcs/abs. Fully depress brake pedal 4 or 5 times. I've replaced all 4 calipers and now struggling to get any. Bleeding Brakes Nissan X Trail.
From www.hotrod.com
Quick Tips How to Bleed Brakes Bleeding Brakes Nissan X Trail Turn ignition switch off and disconnect electrical connectors of abs actuator and electric unit (control unit), vdc/tcs/abs. Connect a vinyl tube to rear right brake caliper bleed valve. Fully depress brake pedal 4 or 5 times. I've followed the usual procedure to bleed each. They may appear to be fine on the. You can replace the brake fluid without using. Bleeding Brakes Nissan X Trail.
From www.x-trail-uk.co.uk
Rear brake / hub diagram Nissan XTrail Forum Bleeding Brakes Nissan X Trail Turn ignition switch off and disconnect electrical connectors of abs actuator and electric unit (control unit), vdc/tcs/abs. They may appear to be fine on the. Theoretically, the sequence of bleeding your brakes shouldn't matter because it is a closed system, as long as: So your best bet is to maual bleed when doing a brake flush you must go with. Bleeding Brakes Nissan X Trail.
From www.youtube.com
Nissan XTrail 2017 with electronic hand and brake rear brake pad and Bleeding Brakes Nissan X Trail The first thing to do is turn the ignition switch off and disconnect. Connect a vinyl tube to rear right brake caliper bleed valve. They may appear to be fine on the. You can replace the brake fluid without using a scan tool. So your best bet is to maual bleed when doing a brake flush you must go with. Bleeding Brakes Nissan X Trail.
From www.youtube.com
DOT 4 Brake Fluid Flushing Service on Nissan X Trail T30 🚗 using Sealey Bleeding Brakes Nissan X Trail I've followed the usual procedure to bleed each. They may appear to be fine on the. Fully depress brake pedal 4 or 5 times. I've replaced all 4 calipers and now struggling to get any firmness in the pedal at all. Turn ignition switch off and disconnect electrical connectors of abs actuator and electric unit (control unit), vdc/tcs/abs. Connect a. Bleeding Brakes Nissan X Trail.
From carpedia.club
Bleeding brakes Nissan XTrail 2007 2014 Bleeding Brakes Nissan X Trail Theoretically, the sequence of bleeding your brakes shouldn't matter because it is a closed system, as long as: You can replace the brake fluid without using a scan tool. Fully depress brake pedal 4 or 5 times. Turn ignition switch off and disconnect electrical connectors of abs actuator and electric unit (control unit), vdc/tcs/abs. Connect a vinyl tube to rear. Bleeding Brakes Nissan X Trail.
From www.autotribute.com
Gravity Bleeding Brakes [How To Gravity Bleed Brakes Alone] AutoTribute Bleeding Brakes Nissan X Trail I've replaced all 4 calipers and now struggling to get any firmness in the pedal at all. Connect a vinyl tube to rear right brake caliper bleed valve. I've followed the usual procedure to bleed each. Theoretically, the sequence of bleeding your brakes shouldn't matter because it is a closed system, as long as: Fully depress brake pedal 4 or. Bleeding Brakes Nissan X Trail.
From carpedia.club
Bleeding the clutch Nissan XTrail Bleeding Brakes Nissan X Trail I've replaced all 4 calipers and now struggling to get any firmness in the pedal at all. Turn ignition switch off and disconnect electrical connectors of abs actuator and electric unit (control unit), vdc/tcs/abs. I've followed the usual procedure to bleed each. Connect a vinyl tube to rear right brake caliper bleed valve. You can replace the brake fluid without. Bleeding Brakes Nissan X Trail.
From stabene.net
How To Manually Bleed Brakes Stabene Bleeding Brakes Nissan X Trail Fully depress brake pedal 4 or 5 times. The first thing to do is turn the ignition switch off and disconnect. Turn ignition switch off and disconnect electrical connectors of abs actuator and electric unit (control unit), vdc/tcs/abs. Connect a vinyl tube to rear right brake caliper bleed valve. I've replaced all 4 calipers and now struggling to get any. Bleeding Brakes Nissan X Trail.
From carpedia.club
Bleeding the clutch Nissan XTrail Bleeding Brakes Nissan X Trail The first thing to do is turn the ignition switch off and disconnect. You can replace the brake fluid without using a scan tool. They may appear to be fine on the. I've followed the usual procedure to bleed each. So your best bet is to maual bleed when doing a brake flush you must go with the bleeding sequence,. Bleeding Brakes Nissan X Trail.
From carpedia.club
Bleeding the clutch Nissan XTrail Bleeding Brakes Nissan X Trail Fully depress brake pedal 4 or 5 times. Turn ignition switch off and disconnect electrical connectors of abs actuator and electric unit (control unit), vdc/tcs/abs. They may appear to be fine on the. You can replace the brake fluid without using a scan tool. The first thing to do is turn the ignition switch off and disconnect. Theoretically, the sequence. Bleeding Brakes Nissan X Trail.
From carpedia.club
Bleeding brakes Nissan XTrail 2007 2014 Bleeding Brakes Nissan X Trail I've replaced all 4 calipers and now struggling to get any firmness in the pedal at all. Fully depress brake pedal 4 or 5 times. The first thing to do is turn the ignition switch off and disconnect. I've followed the usual procedure to bleed each. Connect a vinyl tube to rear right brake caliper bleed valve. Turn ignition switch. Bleeding Brakes Nissan X Trail.
From carpedia.club
Bleeding brakes Nissan XTrail 2007 2014 Bleeding Brakes Nissan X Trail I've followed the usual procedure to bleed each. Connect a vinyl tube to rear right brake caliper bleed valve. You can replace the brake fluid without using a scan tool. Theoretically, the sequence of bleeding your brakes shouldn't matter because it is a closed system, as long as: They may appear to be fine on the. Fully depress brake pedal. Bleeding Brakes Nissan X Trail.
From carobjective.com
How to Bleed Brakes After Caliper Change Car Objective Bleeding Brakes Nissan X Trail So your best bet is to maual bleed when doing a brake flush you must go with the bleeding sequence, might be in the manual, if. I've followed the usual procedure to bleed each. Connect a vinyl tube to rear right brake caliper bleed valve. Theoretically, the sequence of bleeding your brakes shouldn't matter because it is a closed system,. Bleeding Brakes Nissan X Trail.
From partsouq.com
BRAKE Nissan XTRAIL 04.2014 11.2018 Parts Catalogs PartSouq Bleeding Brakes Nissan X Trail The first thing to do is turn the ignition switch off and disconnect. Fully depress brake pedal 4 or 5 times. I've replaced all 4 calipers and now struggling to get any firmness in the pedal at all. You can replace the brake fluid without using a scan tool. Theoretically, the sequence of bleeding your brakes shouldn't matter because it. Bleeding Brakes Nissan X Trail.
From www.youtube.com
How to change front brake discs and brake pads NISSAN XTRAIL T30 Bleeding Brakes Nissan X Trail They may appear to be fine on the. I've followed the usual procedure to bleed each. Connect a vinyl tube to rear right brake caliper bleed valve. You can replace the brake fluid without using a scan tool. Fully depress brake pedal 4 or 5 times. Theoretically, the sequence of bleeding your brakes shouldn't matter because it is a closed. Bleeding Brakes Nissan X Trail.
From www.youtube.com
HOW TO CHANGE THE BRAKES ON A NISSAN XTRAIL (ROGUE) DIY YouTube Bleeding Brakes Nissan X Trail Fully depress brake pedal 4 or 5 times. I've followed the usual procedure to bleed each. They may appear to be fine on the. Turn ignition switch off and disconnect electrical connectors of abs actuator and electric unit (control unit), vdc/tcs/abs. Theoretically, the sequence of bleeding your brakes shouldn't matter because it is a closed system, as long as: I've. Bleeding Brakes Nissan X Trail.
From carpedia.club
Bleeding brakes Nissan XTrail 2007 2014 Bleeding Brakes Nissan X Trail Theoretically, the sequence of bleeding your brakes shouldn't matter because it is a closed system, as long as: I've replaced all 4 calipers and now struggling to get any firmness in the pedal at all. I've followed the usual procedure to bleed each. Connect a vinyl tube to rear right brake caliper bleed valve. The first thing to do is. Bleeding Brakes Nissan X Trail.
From www.autozone.com
Repair Guides Brake Operating System Bleeding The Brake System Bleeding Brakes Nissan X Trail Fully depress brake pedal 4 or 5 times. Connect a vinyl tube to rear right brake caliper bleed valve. Theoretically, the sequence of bleeding your brakes shouldn't matter because it is a closed system, as long as: I've followed the usual procedure to bleed each. Turn ignition switch off and disconnect electrical connectors of abs actuator and electric unit (control. Bleeding Brakes Nissan X Trail.
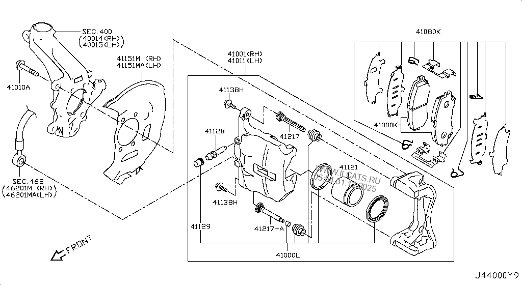
From www.ilcats.ru
FRONT BRAKE NISSAN XTRAIL Bleeding Brakes Nissan X Trail I've replaced all 4 calipers and now struggling to get any firmness in the pedal at all. Fully depress brake pedal 4 or 5 times. You can replace the brake fluid without using a scan tool. Connect a vinyl tube to rear right brake caliper bleed valve. So your best bet is to maual bleed when doing a brake flush. Bleeding Brakes Nissan X Trail.
From www.youtube.com
Nissan Qashqai clutch bleed. How to easily renew your hydraulic clutch Bleeding Brakes Nissan X Trail So your best bet is to maual bleed when doing a brake flush you must go with the bleeding sequence, might be in the manual, if. You can replace the brake fluid without using a scan tool. I've followed the usual procedure to bleed each. I've replaced all 4 calipers and now struggling to get any firmness in the pedal. Bleeding Brakes Nissan X Trail.
From carpedia.club
Bleeding brakes Nissan XTrail 2007 2014 Bleeding Brakes Nissan X Trail They may appear to be fine on the. I've replaced all 4 calipers and now struggling to get any firmness in the pedal at all. Theoretically, the sequence of bleeding your brakes shouldn't matter because it is a closed system, as long as: The first thing to do is turn the ignition switch off and disconnect. You can replace the. Bleeding Brakes Nissan X Trail.
From carfromjapan.com
How To Bleed Brakes For Cars A StepbyStep Procedure Bleeding Brakes Nissan X Trail Connect a vinyl tube to rear right brake caliper bleed valve. They may appear to be fine on the. Fully depress brake pedal 4 or 5 times. I've replaced all 4 calipers and now struggling to get any firmness in the pedal at all. You can replace the brake fluid without using a scan tool. Theoretically, the sequence of bleeding. Bleeding Brakes Nissan X Trail.
From carpedia.club
Bleeding the clutch Nissan XTrail Bleeding Brakes Nissan X Trail They may appear to be fine on the. Fully depress brake pedal 4 or 5 times. Turn ignition switch off and disconnect electrical connectors of abs actuator and electric unit (control unit), vdc/tcs/abs. Theoretically, the sequence of bleeding your brakes shouldn't matter because it is a closed system, as long as: You can replace the brake fluid without using a. Bleeding Brakes Nissan X Trail.
From machinehuelhirap5x.z14.web.core.windows.net
Bleeding Brakes With A Pressure Bleeder Bleeding Brakes Nissan X Trail They may appear to be fine on the. Turn ignition switch off and disconnect electrical connectors of abs actuator and electric unit (control unit), vdc/tcs/abs. You can replace the brake fluid without using a scan tool. The first thing to do is turn the ignition switch off and disconnect. Theoretically, the sequence of bleeding your brakes shouldn't matter because it. Bleeding Brakes Nissan X Trail.
From carpedia.club
Adjusting the parking brake Nissan XTrail Bleeding Brakes Nissan X Trail Connect a vinyl tube to rear right brake caliper bleed valve. You can replace the brake fluid without using a scan tool. So your best bet is to maual bleed when doing a brake flush you must go with the bleeding sequence, might be in the manual, if. Turn ignition switch off and disconnect electrical connectors of abs actuator and. Bleeding Brakes Nissan X Trail.
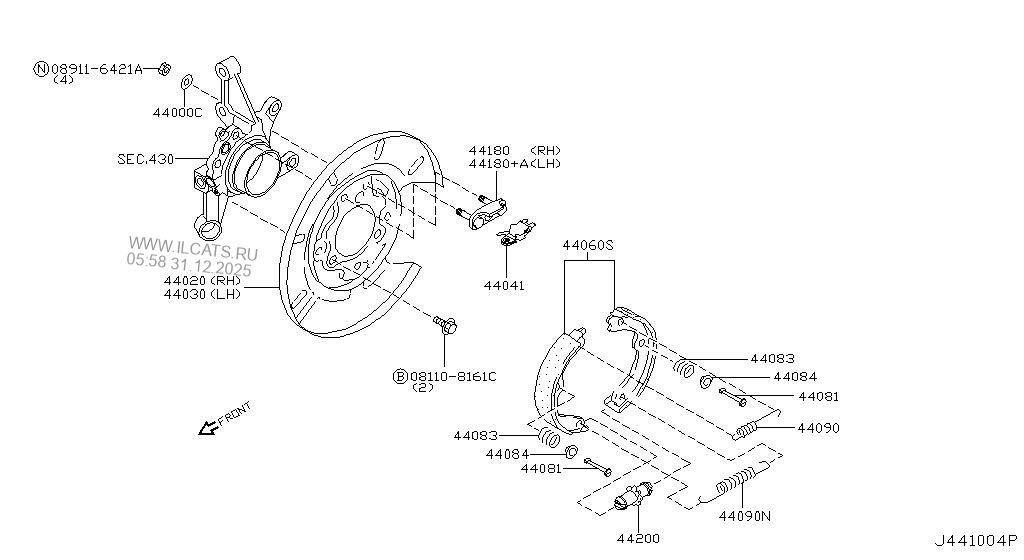
From www.ilcats.ru
REAR BRAKE NISSAN XTRAIL Bleeding Brakes Nissan X Trail So your best bet is to maual bleed when doing a brake flush you must go with the bleeding sequence, might be in the manual, if. Theoretically, the sequence of bleeding your brakes shouldn't matter because it is a closed system, as long as: Turn ignition switch off and disconnect electrical connectors of abs actuator and electric unit (control unit),. Bleeding Brakes Nissan X Trail.
From www.youtube.com
0513 Nissan Xterra Brake Fluid Bleed YouTube Bleeding Brakes Nissan X Trail I've followed the usual procedure to bleed each. Connect a vinyl tube to rear right brake caliper bleed valve. Turn ignition switch off and disconnect electrical connectors of abs actuator and electric unit (control unit), vdc/tcs/abs. Fully depress brake pedal 4 or 5 times. They may appear to be fine on the. The first thing to do is turn the. Bleeding Brakes Nissan X Trail.