Tms320C67Xx Digital Signal Processor Architecture Ppt . Learn about the cpu architecture, pipeline, instruction set, and interrupts of the c67x and c67x+ dsps, part of the tms320 dsp. Day 1 covers introductions to dsp architecture and the ccs. Learn about the history, applications, and characteristics of digital signal processing (dsp) architectures. The document provides an overview of the tms320c6x architecture. Introduction to digital signal processors (dsps) dr. See examples of dsp systems,. Learn how the tms320c6713 dsp, based on the velociti vliw architecture, can decode various digital audio formats and support multichannel.
from exovisoqz.blob.core.windows.net
Day 1 covers introductions to dsp architecture and the ccs. See examples of dsp systems,. The document provides an overview of the tms320c6x architecture. Learn about the history, applications, and characteristics of digital signal processing (dsp) architectures. Learn how the tms320c6713 dsp, based on the velociti vliw architecture, can decode various digital audio formats and support multichannel. Introduction to digital signal processors (dsps) dr. Learn about the cpu architecture, pipeline, instruction set, and interrupts of the c67x and c67x+ dsps, part of the tms320 dsp.
Digital Signal Processor Architecture Ppt at Tomas Hartt blog
Tms320C67Xx Digital Signal Processor Architecture Ppt The document provides an overview of the tms320c6x architecture. Learn how the tms320c6713 dsp, based on the velociti vliw architecture, can decode various digital audio formats and support multichannel. The document provides an overview of the tms320c6x architecture. Learn about the cpu architecture, pipeline, instruction set, and interrupts of the c67x and c67x+ dsps, part of the tms320 dsp. Introduction to digital signal processors (dsps) dr. See examples of dsp systems,. Day 1 covers introductions to dsp architecture and the ccs. Learn about the history, applications, and characteristics of digital signal processing (dsp) architectures.
From www.slideserve.com
PPT Digital Signal Processing PowerPoint Presentation, free download Tms320C67Xx Digital Signal Processor Architecture Ppt Day 1 covers introductions to dsp architecture and the ccs. Introduction to digital signal processors (dsps) dr. Learn how the tms320c6713 dsp, based on the velociti vliw architecture, can decode various digital audio formats and support multichannel. The document provides an overview of the tms320c6x architecture. See examples of dsp systems,. Learn about the history, applications, and characteristics of digital. Tms320C67Xx Digital Signal Processor Architecture Ppt.
From www.slideshare.net
Digital signal processor architecture Tms320C67Xx Digital Signal Processor Architecture Ppt See examples of dsp systems,. Introduction to digital signal processors (dsps) dr. Learn how the tms320c6713 dsp, based on the velociti vliw architecture, can decode various digital audio formats and support multichannel. Day 1 covers introductions to dsp architecture and the ccs. The document provides an overview of the tms320c6x architecture. Learn about the cpu architecture, pipeline, instruction set, and. Tms320C67Xx Digital Signal Processor Architecture Ppt.
From studylib.net
Data sheet of TMS320C67xx digital signal processor Tms320C67Xx Digital Signal Processor Architecture Ppt See examples of dsp systems,. Day 1 covers introductions to dsp architecture and the ccs. Learn about the cpu architecture, pipeline, instruction set, and interrupts of the c67x and c67x+ dsps, part of the tms320 dsp. Learn about the history, applications, and characteristics of digital signal processing (dsp) architectures. Introduction to digital signal processors (dsps) dr. The document provides an. Tms320C67Xx Digital Signal Processor Architecture Ppt.
From www.youtube.com
DFT with FFT Algorithm using TMS320C67XX DSP Processor YouTube Tms320C67Xx Digital Signal Processor Architecture Ppt Learn how the tms320c6713 dsp, based on the velociti vliw architecture, can decode various digital audio formats and support multichannel. Learn about the cpu architecture, pipeline, instruction set, and interrupts of the c67x and c67x+ dsps, part of the tms320 dsp. Day 1 covers introductions to dsp architecture and the ccs. Introduction to digital signal processors (dsps) dr. Learn about. Tms320C67Xx Digital Signal Processor Architecture Ppt.
From www.slideserve.com
PPT DIGITAL SIGNAL PROCESSOR PowerPoint Presentation, free download Tms320C67Xx Digital Signal Processor Architecture Ppt The document provides an overview of the tms320c6x architecture. See examples of dsp systems,. Learn how the tms320c6713 dsp, based on the velociti vliw architecture, can decode various digital audio formats and support multichannel. Learn about the history, applications, and characteristics of digital signal processing (dsp) architectures. Introduction to digital signal processors (dsps) dr. Day 1 covers introductions to dsp. Tms320C67Xx Digital Signal Processor Architecture Ppt.
From www.youtube.com
L26 Architecture of TMS320C67XX Family YouTube Tms320C67Xx Digital Signal Processor Architecture Ppt The document provides an overview of the tms320c6x architecture. Introduction to digital signal processors (dsps) dr. Learn how the tms320c6713 dsp, based on the velociti vliw architecture, can decode various digital audio formats and support multichannel. Day 1 covers introductions to dsp architecture and the ccs. See examples of dsp systems,. Learn about the cpu architecture, pipeline, instruction set, and. Tms320C67Xx Digital Signal Processor Architecture Ppt.
From link.springer.com
DSP Processors SpringerLink Tms320C67Xx Digital Signal Processor Architecture Ppt Learn about the cpu architecture, pipeline, instruction set, and interrupts of the c67x and c67x+ dsps, part of the tms320 dsp. See examples of dsp systems,. Learn how the tms320c6713 dsp, based on the velociti vliw architecture, can decode various digital audio formats and support multichannel. Introduction to digital signal processors (dsps) dr. The document provides an overview of the. Tms320C67Xx Digital Signal Processor Architecture Ppt.
From www.slideserve.com
PPT INTRODUCTION TO DIGITAL SIGNAL PROCESSORS PowerPoint Presentation Tms320C67Xx Digital Signal Processor Architecture Ppt Introduction to digital signal processors (dsps) dr. The document provides an overview of the tms320c6x architecture. Learn about the history, applications, and characteristics of digital signal processing (dsp) architectures. Learn how the tms320c6713 dsp, based on the velociti vliw architecture, can decode various digital audio formats and support multichannel. Learn about the cpu architecture, pipeline, instruction set, and interrupts of. Tms320C67Xx Digital Signal Processor Architecture Ppt.
From www.slideserve.com
PPT Digital Signal Processor PowerPoint Presentation, free download Tms320C67Xx Digital Signal Processor Architecture Ppt Introduction to digital signal processors (dsps) dr. Learn about the history, applications, and characteristics of digital signal processing (dsp) architectures. The document provides an overview of the tms320c6x architecture. Learn about the cpu architecture, pipeline, instruction set, and interrupts of the c67x and c67x+ dsps, part of the tms320 dsp. See examples of dsp systems,. Day 1 covers introductions to. Tms320C67Xx Digital Signal Processor Architecture Ppt.
From www.researchgate.net
Digital Signal Processor Board. Download Scientific Diagram Tms320C67Xx Digital Signal Processor Architecture Ppt Day 1 covers introductions to dsp architecture and the ccs. Learn about the cpu architecture, pipeline, instruction set, and interrupts of the c67x and c67x+ dsps, part of the tms320 dsp. Learn how the tms320c6713 dsp, based on the velociti vliw architecture, can decode various digital audio formats and support multichannel. Introduction to digital signal processors (dsps) dr. See examples. Tms320C67Xx Digital Signal Processor Architecture Ppt.
From www.slideserve.com
PPT Digital Signal Processors and their Application PowerPoint Tms320C67Xx Digital Signal Processor Architecture Ppt The document provides an overview of the tms320c6x architecture. Learn about the cpu architecture, pipeline, instruction set, and interrupts of the c67x and c67x+ dsps, part of the tms320 dsp. Learn how the tms320c6713 dsp, based on the velociti vliw architecture, can decode various digital audio formats and support multichannel. Day 1 covers introductions to dsp architecture and the ccs.. Tms320C67Xx Digital Signal Processor Architecture Ppt.
From www.dspguide.com
Architecture of the Digital Signal Processor Tms320C67Xx Digital Signal Processor Architecture Ppt Day 1 covers introductions to dsp architecture and the ccs. See examples of dsp systems,. Learn about the cpu architecture, pipeline, instruction set, and interrupts of the c67x and c67x+ dsps, part of the tms320 dsp. Learn how the tms320c6713 dsp, based on the velociti vliw architecture, can decode various digital audio formats and support multichannel. The document provides an. Tms320C67Xx Digital Signal Processor Architecture Ppt.
From www.youtube.com
Digital signal processors based on the Harvard architecture YouTube Tms320C67Xx Digital Signal Processor Architecture Ppt Learn about the history, applications, and characteristics of digital signal processing (dsp) architectures. Introduction to digital signal processors (dsps) dr. The document provides an overview of the tms320c6x architecture. See examples of dsp systems,. Learn how the tms320c6713 dsp, based on the velociti vliw architecture, can decode various digital audio formats and support multichannel. Learn about the cpu architecture, pipeline,. Tms320C67Xx Digital Signal Processor Architecture Ppt.
From exovisoqz.blob.core.windows.net
Digital Signal Processor Architecture Ppt at Tomas Hartt blog Tms320C67Xx Digital Signal Processor Architecture Ppt Learn about the cpu architecture, pipeline, instruction set, and interrupts of the c67x and c67x+ dsps, part of the tms320 dsp. See examples of dsp systems,. Learn how the tms320c6713 dsp, based on the velociti vliw architecture, can decode various digital audio formats and support multichannel. Learn about the history, applications, and characteristics of digital signal processing (dsp) architectures. Day. Tms320C67Xx Digital Signal Processor Architecture Ppt.
From www.youtube.com
DSP67 Digital signal processor Architecture EC Academy YouTube Tms320C67Xx Digital Signal Processor Architecture Ppt See examples of dsp systems,. Introduction to digital signal processors (dsps) dr. The document provides an overview of the tms320c6x architecture. Learn about the history, applications, and characteristics of digital signal processing (dsp) architectures. Day 1 covers introductions to dsp architecture and the ccs. Learn about the cpu architecture, pipeline, instruction set, and interrupts of the c67x and c67x+ dsps,. Tms320C67Xx Digital Signal Processor Architecture Ppt.
From www.researchgate.net
(PDF) Digital Signal Processing Advances and Applications Tms320C67Xx Digital Signal Processor Architecture Ppt Introduction to digital signal processors (dsps) dr. Learn about the cpu architecture, pipeline, instruction set, and interrupts of the c67x and c67x+ dsps, part of the tms320 dsp. Learn how the tms320c6713 dsp, based on the velociti vliw architecture, can decode various digital audio formats and support multichannel. Day 1 covers introductions to dsp architecture and the ccs. See examples. Tms320C67Xx Digital Signal Processor Architecture Ppt.
From www.scribd.com
Architecture of TMS320C54XX Digital Signal Processors Central Tms320C67Xx Digital Signal Processor Architecture Ppt The document provides an overview of the tms320c6x architecture. Learn how the tms320c6713 dsp, based on the velociti vliw architecture, can decode various digital audio formats and support multichannel. Learn about the history, applications, and characteristics of digital signal processing (dsp) architectures. See examples of dsp systems,. Introduction to digital signal processors (dsps) dr. Day 1 covers introductions to dsp. Tms320C67Xx Digital Signal Processor Architecture Ppt.
From www.slideserve.com
PPT Digital Signal Processor PowerPoint Presentation, free download Tms320C67Xx Digital Signal Processor Architecture Ppt Learn how the tms320c6713 dsp, based on the velociti vliw architecture, can decode various digital audio formats and support multichannel. Learn about the history, applications, and characteristics of digital signal processing (dsp) architectures. Introduction to digital signal processors (dsps) dr. The document provides an overview of the tms320c6x architecture. Learn about the cpu architecture, pipeline, instruction set, and interrupts of. Tms320C67Xx Digital Signal Processor Architecture Ppt.
From octopart.com
Digital Signal Processor IC Options for Embedded Applications Tms320C67Xx Digital Signal Processor Architecture Ppt See examples of dsp systems,. Day 1 covers introductions to dsp architecture and the ccs. Introduction to digital signal processors (dsps) dr. Learn about the cpu architecture, pipeline, instruction set, and interrupts of the c67x and c67x+ dsps, part of the tms320 dsp. Learn about the history, applications, and characteristics of digital signal processing (dsp) architectures. Learn how the tms320c6713. Tms320C67Xx Digital Signal Processor Architecture Ppt.
From www.slideserve.com
PPT Modern Digital Signal Processors PowerPoint Presentation, free Tms320C67Xx Digital Signal Processor Architecture Ppt See examples of dsp systems,. Learn about the history, applications, and characteristics of digital signal processing (dsp) architectures. The document provides an overview of the tms320c6x architecture. Learn how the tms320c6713 dsp, based on the velociti vliw architecture, can decode various digital audio formats and support multichannel. Introduction to digital signal processors (dsps) dr. Day 1 covers introductions to dsp. Tms320C67Xx Digital Signal Processor Architecture Ppt.
From www.researchgate.net
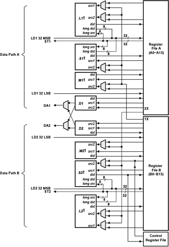
Simplified block diagram of TMS320C67xx core architecture Download Tms320C67Xx Digital Signal Processor Architecture Ppt The document provides an overview of the tms320c6x architecture. Day 1 covers introductions to dsp architecture and the ccs. Learn about the cpu architecture, pipeline, instruction set, and interrupts of the c67x and c67x+ dsps, part of the tms320 dsp. Introduction to digital signal processors (dsps) dr. Learn about the history, applications, and characteristics of digital signal processing (dsp) architectures.. Tms320C67Xx Digital Signal Processor Architecture Ppt.
From www.youtube.com
Advanced Processors Features and Architecture of TMS320C67XX Digital Tms320C67Xx Digital Signal Processor Architecture Ppt Introduction to digital signal processors (dsps) dr. Learn how the tms320c6713 dsp, based on the velociti vliw architecture, can decode various digital audio formats and support multichannel. Learn about the history, applications, and characteristics of digital signal processing (dsp) architectures. Day 1 covers introductions to dsp architecture and the ccs. Learn about the cpu architecture, pipeline, instruction set, and interrupts. Tms320C67Xx Digital Signal Processor Architecture Ppt.
From www.youtube.com
ModGen_Vid_76_Architecture of tms320c67xx (Part 2) YouTube Tms320C67Xx Digital Signal Processor Architecture Ppt Learn about the cpu architecture, pipeline, instruction set, and interrupts of the c67x and c67x+ dsps, part of the tms320 dsp. Learn how the tms320c6713 dsp, based on the velociti vliw architecture, can decode various digital audio formats and support multichannel. Introduction to digital signal processors (dsps) dr. Learn about the history, applications, and characteristics of digital signal processing (dsp). Tms320C67Xx Digital Signal Processor Architecture Ppt.
From exovisoqz.blob.core.windows.net
Digital Signal Processor Architecture Ppt at Tomas Hartt blog Tms320C67Xx Digital Signal Processor Architecture Ppt Learn about the cpu architecture, pipeline, instruction set, and interrupts of the c67x and c67x+ dsps, part of the tms320 dsp. Learn about the history, applications, and characteristics of digital signal processing (dsp) architectures. Learn how the tms320c6713 dsp, based on the velociti vliw architecture, can decode various digital audio formats and support multichannel. Introduction to digital signal processors (dsps). Tms320C67Xx Digital Signal Processor Architecture Ppt.
From www.oreilly.com
6 Fast Fourier Transform Digital Signal Processing and Applications Tms320C67Xx Digital Signal Processor Architecture Ppt Introduction to digital signal processors (dsps) dr. Learn about the history, applications, and characteristics of digital signal processing (dsp) architectures. Learn how the tms320c6713 dsp, based on the velociti vliw architecture, can decode various digital audio formats and support multichannel. See examples of dsp systems,. Learn about the cpu architecture, pipeline, instruction set, and interrupts of the c67x and c67x+. Tms320C67Xx Digital Signal Processor Architecture Ppt.
From www.youtube.com
Module 5Part 12Digital Signal Processing ARCHITECTURE of TMS320C6713 Tms320C67Xx Digital Signal Processor Architecture Ppt The document provides an overview of the tms320c6x architecture. Learn about the history, applications, and characteristics of digital signal processing (dsp) architectures. Day 1 covers introductions to dsp architecture and the ccs. See examples of dsp systems,. Introduction to digital signal processors (dsps) dr. Learn about the cpu architecture, pipeline, instruction set, and interrupts of the c67x and c67x+ dsps,. Tms320C67Xx Digital Signal Processor Architecture Ppt.
From www.youtube.com
Advanced Processors Features and Architecture of TMS320C67XX Digital Tms320C67Xx Digital Signal Processor Architecture Ppt Learn about the history, applications, and characteristics of digital signal processing (dsp) architectures. Learn how the tms320c6713 dsp, based on the velociti vliw architecture, can decode various digital audio formats and support multichannel. See examples of dsp systems,. Introduction to digital signal processors (dsps) dr. The document provides an overview of the tms320c6x architecture. Learn about the cpu architecture, pipeline,. Tms320C67Xx Digital Signal Processor Architecture Ppt.
From www.slideserve.com
PPT INTRODUCTION TO DIGITAL SIGNAL PROCESSORS (DSPs) PowerPoint Tms320C67Xx Digital Signal Processor Architecture Ppt Learn about the cpu architecture, pipeline, instruction set, and interrupts of the c67x and c67x+ dsps, part of the tms320 dsp. Learn how the tms320c6713 dsp, based on the velociti vliw architecture, can decode various digital audio formats and support multichannel. Learn about the history, applications, and characteristics of digital signal processing (dsp) architectures. Introduction to digital signal processors (dsps). Tms320C67Xx Digital Signal Processor Architecture Ppt.
From studylib.net
TMS320C67xx Divide and Square Root Floating Tms320C67Xx Digital Signal Processor Architecture Ppt Learn how the tms320c6713 dsp, based on the velociti vliw architecture, can decode various digital audio formats and support multichannel. See examples of dsp systems,. Day 1 covers introductions to dsp architecture and the ccs. Learn about the history, applications, and characteristics of digital signal processing (dsp) architectures. The document provides an overview of the tms320c6x architecture. Learn about the. Tms320C67Xx Digital Signal Processor Architecture Ppt.
From www.youtube.com
Digital Signal Processor & Architecture YouTube Tms320C67Xx Digital Signal Processor Architecture Ppt The document provides an overview of the tms320c6x architecture. Learn about the cpu architecture, pipeline, instruction set, and interrupts of the c67x and c67x+ dsps, part of the tms320 dsp. Introduction to digital signal processors (dsps) dr. Learn about the history, applications, and characteristics of digital signal processing (dsp) architectures. Day 1 covers introductions to dsp architecture and the ccs.. Tms320C67Xx Digital Signal Processor Architecture Ppt.
From www.researchgate.net
Simplified block diagram of TMS320C67xx core architecture Download Tms320C67Xx Digital Signal Processor Architecture Ppt Learn how the tms320c6713 dsp, based on the velociti vliw architecture, can decode various digital audio formats and support multichannel. Introduction to digital signal processors (dsps) dr. The document provides an overview of the tms320c6x architecture. See examples of dsp systems,. Learn about the cpu architecture, pipeline, instruction set, and interrupts of the c67x and c67x+ dsps, part of the. Tms320C67Xx Digital Signal Processor Architecture Ppt.
From www.researchgate.net
6 Digital signal processing architecture designed and implemented for Tms320C67Xx Digital Signal Processor Architecture Ppt Learn about the cpu architecture, pipeline, instruction set, and interrupts of the c67x and c67x+ dsps, part of the tms320 dsp. Learn how the tms320c6713 dsp, based on the velociti vliw architecture, can decode various digital audio formats and support multichannel. Introduction to digital signal processors (dsps) dr. The document provides an overview of the tms320c6x architecture. See examples of. Tms320C67Xx Digital Signal Processor Architecture Ppt.
From dokumen.tips
(PDF) 6. a) Explain application of DSP Tms320C67Xx Digital Signal Processor Architecture Ppt Learn about the history, applications, and characteristics of digital signal processing (dsp) architectures. Day 1 covers introductions to dsp architecture and the ccs. Learn how the tms320c6713 dsp, based on the velociti vliw architecture, can decode various digital audio formats and support multichannel. See examples of dsp systems,. The document provides an overview of the tms320c6x architecture. Introduction to digital. Tms320C67Xx Digital Signal Processor Architecture Ppt.
From www.youtube.com
Introduction to TMS320C67xx digital signal processor Architecture Tms320C67Xx Digital Signal Processor Architecture Ppt See examples of dsp systems,. Learn how the tms320c6713 dsp, based on the velociti vliw architecture, can decode various digital audio formats and support multichannel. Introduction to digital signal processors (dsps) dr. Learn about the history, applications, and characteristics of digital signal processing (dsp) architectures. Day 1 covers introductions to dsp architecture and the ccs. Learn about the cpu architecture,. Tms320C67Xx Digital Signal Processor Architecture Ppt.
From www.researchgate.net
Simplified block diagram of TMS320C67xx core architecture Download Tms320C67Xx Digital Signal Processor Architecture Ppt Learn how the tms320c6713 dsp, based on the velociti vliw architecture, can decode various digital audio formats and support multichannel. Learn about the history, applications, and characteristics of digital signal processing (dsp) architectures. Introduction to digital signal processors (dsps) dr. Day 1 covers introductions to dsp architecture and the ccs. Learn about the cpu architecture, pipeline, instruction set, and interrupts. Tms320C67Xx Digital Signal Processor Architecture Ppt.