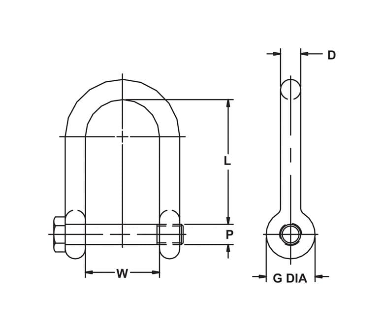
What Is A Shackle Measurement . Measuring shackles accurately is crucial for safe and efficient lifting operations. Refer to asme b30.26 for all guidelines pertaining to overhead lifting. Measure the outside diameter of the clevis in the. Shackles are a type of rigging fitting that’s used as an attachment component for lifts or suspension. This guide explains why shackles are used, how the various types of pins and bolts are used in industrial and domestic applications, and. Length measurements are based on the shackle body diameter, not the. The best way to measure a clevis shackle is with a caliper. This article provides a comprehensive guide on how to measure different types of shackles accurately. Shackles certified for lifting purposes are general stamped with the wll, manufacturers mark and batch id number.
from ashleysling.com
This guide explains why shackles are used, how the various types of pins and bolts are used in industrial and domestic applications, and. This article provides a comprehensive guide on how to measure different types of shackles accurately. The best way to measure a clevis shackle is with a caliper. Measure the outside diameter of the clevis in the. Shackles certified for lifting purposes are general stamped with the wll, manufacturers mark and batch id number. Refer to asme b30.26 for all guidelines pertaining to overhead lifting. Measuring shackles accurately is crucial for safe and efficient lifting operations. Length measurements are based on the shackle body diameter, not the. Shackles are a type of rigging fitting that’s used as an attachment component for lifts or suspension.
CM Long Reach Shackle Ashley Sling, Inc.
What Is A Shackle Measurement This article provides a comprehensive guide on how to measure different types of shackles accurately. Measure the outside diameter of the clevis in the. Shackles are a type of rigging fitting that’s used as an attachment component for lifts or suspension. This guide explains why shackles are used, how the various types of pins and bolts are used in industrial and domestic applications, and. Shackles certified for lifting purposes are general stamped with the wll, manufacturers mark and batch id number. Refer to asme b30.26 for all guidelines pertaining to overhead lifting. This article provides a comprehensive guide on how to measure different types of shackles accurately. Length measurements are based on the shackle body diameter, not the. Measuring shackles accurately is crucial for safe and efficient lifting operations. The best way to measure a clevis shackle is with a caliper.
From www.mantusmarine.com
Anchor Shackles Mantus Marine Anchor Chain Shackles What Is A Shackle Measurement Measuring shackles accurately is crucial for safe and efficient lifting operations. Length measurements are based on the shackle body diameter, not the. This guide explains why shackles are used, how the various types of pins and bolts are used in industrial and domestic applications, and. The best way to measure a clevis shackle is with a caliper. Refer to asme. What Is A Shackle Measurement.
From www.measuringknowhow.com
Essential Guide to Measure a Shackle Effectively MeasuringKnowHow What Is A Shackle Measurement This article provides a comprehensive guide on how to measure different types of shackles accurately. Measuring shackles accurately is crucial for safe and efficient lifting operations. Shackles certified for lifting purposes are general stamped with the wll, manufacturers mark and batch id number. Shackles are a type of rigging fitting that’s used as an attachment component for lifts or suspension.. What Is A Shackle Measurement.
From www.unirope.com
Selecting The Correct Shackle Unirope What Is A Shackle Measurement Measuring shackles accurately is crucial for safe and efficient lifting operations. This article provides a comprehensive guide on how to measure different types of shackles accurately. Shackles certified for lifting purposes are general stamped with the wll, manufacturers mark and batch id number. Measure the outside diameter of the clevis in the. The best way to measure a clevis shackle. What Is A Shackle Measurement.
From www.mysecuritystore.co.uk
MSS How To Measure A Padlock What Is A Shackle Measurement The best way to measure a clevis shackle is with a caliper. Shackles are a type of rigging fitting that’s used as an attachment component for lifts or suspension. This article provides a comprehensive guide on how to measure different types of shackles accurately. This guide explains why shackles are used, how the various types of pins and bolts are. What Is A Shackle Measurement.
From www.2040-parts.com
Purchase 3 PACK STAINLESS STEEL LONG SHACKLE 3/16", STAINLESS SHACKLES What Is A Shackle Measurement Measuring shackles accurately is crucial for safe and efficient lifting operations. Measure the outside diameter of the clevis in the. Shackles are a type of rigging fitting that’s used as an attachment component for lifts or suspension. Length measurements are based on the shackle body diameter, not the. The best way to measure a clevis shackle is with a caliper.. What Is A Shackle Measurement.
From www.china-manufacturer-directory.com
European Type D Shackle of Rigging Hardware Manufacturer What Is A Shackle Measurement Shackles are a type of rigging fitting that’s used as an attachment component for lifts or suspension. Shackles certified for lifting purposes are general stamped with the wll, manufacturers mark and batch id number. Refer to asme b30.26 for all guidelines pertaining to overhead lifting. Measuring shackles accurately is crucial for safe and efficient lifting operations. Length measurements are based. What Is A Shackle Measurement.
From www.measuringknowhow.com
Essential Guide to Measure a Shackle Effectively MeasuringKnowHow What Is A Shackle Measurement The best way to measure a clevis shackle is with a caliper. Shackles are a type of rigging fitting that’s used as an attachment component for lifts or suspension. Length measurements are based on the shackle body diameter, not the. Measure the outside diameter of the clevis in the. This article provides a comprehensive guide on how to measure different. What Is A Shackle Measurement.
From www.animalia-life.club
Screw Pin Shackle Chart What Is A Shackle Measurement The best way to measure a clevis shackle is with a caliper. This guide explains why shackles are used, how the various types of pins and bolts are used in industrial and domestic applications, and. Shackles are a type of rigging fitting that’s used as an attachment component for lifts or suspension. Shackles certified for lifting purposes are general stamped. What Is A Shackle Measurement.
From www.mazzellacompanies.com
Different Types of Shackles Anchor vs. Chain and Screw Pin vs. Bolt Type What Is A Shackle Measurement Measure the outside diameter of the clevis in the. Shackles are a type of rigging fitting that’s used as an attachment component for lifts or suspension. Measuring shackles accurately is crucial for safe and efficient lifting operations. The best way to measure a clevis shackle is with a caliper. Refer to asme b30.26 for all guidelines pertaining to overhead lifting.. What Is A Shackle Measurement.
From animalia-life.club
Shackles Sizes What Is A Shackle Measurement Measure the outside diameter of the clevis in the. The best way to measure a clevis shackle is with a caliper. Length measurements are based on the shackle body diameter, not the. Shackles certified for lifting purposes are general stamped with the wll, manufacturers mark and batch id number. Measuring shackles accurately is crucial for safe and efficient lifting operations.. What Is A Shackle Measurement.
From pt.slideshare.net
TYPES OF SHACKLES (With Pictures) What Is A Shackle Measurement This guide explains why shackles are used, how the various types of pins and bolts are used in industrial and domestic applications, and. Shackles certified for lifting purposes are general stamped with the wll, manufacturers mark and batch id number. This article provides a comprehensive guide on how to measure different types of shackles accurately. The best way to measure. What Is A Shackle Measurement.
From ar.inspiredpencil.com
Shackle Sizes What Is A Shackle Measurement This guide explains why shackles are used, how the various types of pins and bolts are used in industrial and domestic applications, and. Shackles certified for lifting purposes are general stamped with the wll, manufacturers mark and batch id number. Shackles are a type of rigging fitting that’s used as an attachment component for lifts or suspension. Measuring shackles accurately. What Is A Shackle Measurement.
From ashleysling.com
CM Long Reach Shackle Ashley Sling, Inc. What Is A Shackle Measurement This guide explains why shackles are used, how the various types of pins and bolts are used in industrial and domestic applications, and. This article provides a comprehensive guide on how to measure different types of shackles accurately. Shackles are a type of rigging fitting that’s used as an attachment component for lifts or suspension. Length measurements are based on. What Is A Shackle Measurement.
From www.researchgate.net
Overall shape and dimensions of a shackle [24]. The total length is of What Is A Shackle Measurement Shackles certified for lifting purposes are general stamped with the wll, manufacturers mark and batch id number. Measuring shackles accurately is crucial for safe and efficient lifting operations. Shackles are a type of rigging fitting that’s used as an attachment component for lifts or suspension. This article provides a comprehensive guide on how to measure different types of shackles accurately.. What Is A Shackle Measurement.
From www.unirope.com
Selecting The Correct Shackle Unirope What Is A Shackle Measurement Shackles are a type of rigging fitting that’s used as an attachment component for lifts or suspension. Refer to asme b30.26 for all guidelines pertaining to overhead lifting. Shackles certified for lifting purposes are general stamped with the wll, manufacturers mark and batch id number. This guide explains why shackles are used, how the various types of pins and bolts. What Is A Shackle Measurement.
From animalia-life.club
Shackles Sizes What Is A Shackle Measurement Shackles certified for lifting purposes are general stamped with the wll, manufacturers mark and batch id number. Refer to asme b30.26 for all guidelines pertaining to overhead lifting. This guide explains why shackles are used, how the various types of pins and bolts are used in industrial and domestic applications, and. The best way to measure a clevis shackle is. What Is A Shackle Measurement.
From www.unirope.com
Selecting The Correct Shackle Unirope What Is A Shackle Measurement Measuring shackles accurately is crucial for safe and efficient lifting operations. Refer to asme b30.26 for all guidelines pertaining to overhead lifting. This guide explains why shackles are used, how the various types of pins and bolts are used in industrial and domestic applications, and. Measure the outside diameter of the clevis in the. Shackles certified for lifting purposes are. What Is A Shackle Measurement.
From www.measuringknowhow.com
Essential Guide to Measure a Shackle Effectively MeasuringKnowHow What Is A Shackle Measurement The best way to measure a clevis shackle is with a caliper. This article provides a comprehensive guide on how to measure different types of shackles accurately. Refer to asme b30.26 for all guidelines pertaining to overhead lifting. Shackles certified for lifting purposes are general stamped with the wll, manufacturers mark and batch id number. Shackles are a type of. What Is A Shackle Measurement.
From qd-kailipu.com
Understand Shackle Sizes, Capacity, Dimensions and Safe Working Load.. What Is A Shackle Measurement This article provides a comprehensive guide on how to measure different types of shackles accurately. Measuring shackles accurately is crucial for safe and efficient lifting operations. This guide explains why shackles are used, how the various types of pins and bolts are used in industrial and domestic applications, and. Shackles are a type of rigging fitting that’s used as an. What Is A Shackle Measurement.
From www.pinterest.co.kr
the shackles sizes chart for each type of shackle, which is also What Is A Shackle Measurement This guide explains why shackles are used, how the various types of pins and bolts are used in industrial and domestic applications, and. Refer to asme b30.26 for all guidelines pertaining to overhead lifting. Shackles are a type of rigging fitting that’s used as an attachment component for lifts or suspension. The best way to measure a clevis shackle is. What Is A Shackle Measurement.
From www.certex.dk
Wide Body Shackle CERTEX Denmark What Is A Shackle Measurement The best way to measure a clevis shackle is with a caliper. Refer to asme b30.26 for all guidelines pertaining to overhead lifting. Measure the outside diameter of the clevis in the. Length measurements are based on the shackle body diameter, not the. Measuring shackles accurately is crucial for safe and efficient lifting operations. This article provides a comprehensive guide. What Is A Shackle Measurement.
From www.uulifting.com
Shackle Sizes & Materials What You Need to Know UU LIFTING What Is A Shackle Measurement Shackles are a type of rigging fitting that’s used as an attachment component for lifts or suspension. The best way to measure a clevis shackle is with a caliper. Measuring shackles accurately is crucial for safe and efficient lifting operations. Length measurements are based on the shackle body diameter, not the. Refer to asme b30.26 for all guidelines pertaining to. What Is A Shackle Measurement.
From www.alllifting.com.au
Commercial Galvanised Bow Shackles All Lifting What Is A Shackle Measurement The best way to measure a clevis shackle is with a caliper. Refer to asme b30.26 for all guidelines pertaining to overhead lifting. Length measurements are based on the shackle body diameter, not the. Shackles are a type of rigging fitting that’s used as an attachment component for lifts or suspension. This guide explains why shackles are used, how the. What Is A Shackle Measurement.
From www.uulifting.com
An Introduction to Different Types of Shackles UU LIFTING What Is A Shackle Measurement The best way to measure a clevis shackle is with a caliper. Shackles certified for lifting purposes are general stamped with the wll, manufacturers mark and batch id number. Refer to asme b30.26 for all guidelines pertaining to overhead lifting. Measuring shackles accurately is crucial for safe and efficient lifting operations. This article provides a comprehensive guide on how to. What Is A Shackle Measurement.
From www.fastenerdata.co.uk
Fastenerdata Metric D Shackles Steel DIN82102 More A to L What Is A Shackle Measurement Refer to asme b30.26 for all guidelines pertaining to overhead lifting. This guide explains why shackles are used, how the various types of pins and bolts are used in industrial and domestic applications, and. Measure the outside diameter of the clevis in the. Shackles are a type of rigging fitting that’s used as an attachment component for lifts or suspension.. What Is A Shackle Measurement.
From animalia-life.club
Shackles Sizes What Is A Shackle Measurement Shackles are a type of rigging fitting that’s used as an attachment component for lifts or suspension. Refer to asme b30.26 for all guidelines pertaining to overhead lifting. Measure the outside diameter of the clevis in the. Shackles certified for lifting purposes are general stamped with the wll, manufacturers mark and batch id number. Length measurements are based on the. What Is A Shackle Measurement.
From qingdaohf.com
How To Measure a Shackle What Is A Shackle Measurement Length measurements are based on the shackle body diameter, not the. The best way to measure a clevis shackle is with a caliper. Measure the outside diameter of the clevis in the. This guide explains why shackles are used, how the various types of pins and bolts are used in industrial and domestic applications, and. Refer to asme b30.26 for. What Is A Shackle Measurement.
From www.mazzellacompanies.com
Different Types of Shackles Anchor vs. Chain and Screw Pin vs. Bolt Type What Is A Shackle Measurement Shackles are a type of rigging fitting that’s used as an attachment component for lifts or suspension. Measuring shackles accurately is crucial for safe and efficient lifting operations. Measure the outside diameter of the clevis in the. This article provides a comprehensive guide on how to measure different types of shackles accurately. The best way to measure a clevis shackle. What Is A Shackle Measurement.
From animalia-life.club
Shackles Sizes What Is A Shackle Measurement This guide explains why shackles are used, how the various types of pins and bolts are used in industrial and domestic applications, and. Measure the outside diameter of the clevis in the. Length measurements are based on the shackle body diameter, not the. Shackles are a type of rigging fitting that’s used as an attachment component for lifts or suspension.. What Is A Shackle Measurement.
From www.anzor.co.nz
Stainless D Shackle Anzor Fasteners What Is A Shackle Measurement This guide explains why shackles are used, how the various types of pins and bolts are used in industrial and domestic applications, and. Refer to asme b30.26 for all guidelines pertaining to overhead lifting. Length measurements are based on the shackle body diameter, not the. Shackles are a type of rigging fitting that’s used as an attachment component for lifts. What Is A Shackle Measurement.
From animalia-life.club
Shackles Sizes What Is A Shackle Measurement Length measurements are based on the shackle body diameter, not the. Shackles are a type of rigging fitting that’s used as an attachment component for lifts or suspension. This guide explains why shackles are used, how the various types of pins and bolts are used in industrial and domestic applications, and. Shackles certified for lifting purposes are general stamped with. What Is A Shackle Measurement.
From animalia-life.club
Shackles Sizes What Is A Shackle Measurement Length measurements are based on the shackle body diameter, not the. Shackles certified for lifting purposes are general stamped with the wll, manufacturers mark and batch id number. This article provides a comprehensive guide on how to measure different types of shackles accurately. This guide explains why shackles are used, how the various types of pins and bolts are used. What Is A Shackle Measurement.
From animalia-life.club
Shackles Sizes What Is A Shackle Measurement This guide explains why shackles are used, how the various types of pins and bolts are used in industrial and domestic applications, and. This article provides a comprehensive guide on how to measure different types of shackles accurately. Length measurements are based on the shackle body diameter, not the. Shackles certified for lifting purposes are general stamped with the wll,. What Is A Shackle Measurement.
From qingdaohf.com
How To Measure a Shackle What Is A Shackle Measurement The best way to measure a clevis shackle is with a caliper. Measure the outside diameter of the clevis in the. Measuring shackles accurately is crucial for safe and efficient lifting operations. Length measurements are based on the shackle body diameter, not the. Refer to asme b30.26 for all guidelines pertaining to overhead lifting. Shackles certified for lifting purposes are. What Is A Shackle Measurement.
From animalia-life.club
Shackles Sizes What Is A Shackle Measurement Length measurements are based on the shackle body diameter, not the. Measure the outside diameter of the clevis in the. Shackles certified for lifting purposes are general stamped with the wll, manufacturers mark and batch id number. This article provides a comprehensive guide on how to measure different types of shackles accurately. The best way to measure a clevis shackle. What Is A Shackle Measurement.