How Do High Intensity Discharge Lamps Work . This guide covers how they work, benefits, considerations… — it is a gas discharge lamp and the electric arc is sent through vaporized mercury inside the inner glass tube to produce light. The arc tube is filled with metal salts and gas. — these lights work by creating an electric arc between electrodes (usually made from tungsten) located in a semi. — hid lamps have an arc which passes between two electrodes in a pressurized tube causing various metallic additives to vaporize and release.
from studylib.net
This guide covers how they work, benefits, considerations… — hid lamps have an arc which passes between two electrodes in a pressurized tube causing various metallic additives to vaporize and release. — these lights work by creating an electric arc between electrodes (usually made from tungsten) located in a semi. The arc tube is filled with metal salts and gas. — it is a gas discharge lamp and the electric arc is sent through vaporized mercury inside the inner glass tube to produce light.
High Intensity Discharge Lamps
How Do High Intensity Discharge Lamps Work — it is a gas discharge lamp and the electric arc is sent through vaporized mercury inside the inner glass tube to produce light. — it is a gas discharge lamp and the electric arc is sent through vaporized mercury inside the inner glass tube to produce light. — these lights work by creating an electric arc between electrodes (usually made from tungsten) located in a semi. — hid lamps have an arc which passes between two electrodes in a pressurized tube causing various metallic additives to vaporize and release. The arc tube is filled with metal salts and gas. This guide covers how they work, benefits, considerations…
From www.britannica.com
Electric discharge lamp High Intensity, UV Radiation & Mercury Vapor How Do High Intensity Discharge Lamps Work — hid lamps have an arc which passes between two electrodes in a pressurized tube causing various metallic additives to vaporize and release. The arc tube is filled with metal salts and gas. — it is a gas discharge lamp and the electric arc is sent through vaporized mercury inside the inner glass tube to produce light. This. How Do High Intensity Discharge Lamps Work.
From www.propertygeek.in
A Comprehensive Guide To 21 Different Types Of Lamps How Do High Intensity Discharge Lamps Work — these lights work by creating an electric arc between electrodes (usually made from tungsten) located in a semi. The arc tube is filled with metal salts and gas. This guide covers how they work, benefits, considerations… — hid lamps have an arc which passes between two electrodes in a pressurized tube causing various metallic additives to vaporize. How Do High Intensity Discharge Lamps Work.
From pressbooks.bccampus.ca
High Intensity Discharge (HID) Lamps Basic Lighting for Electricians How Do High Intensity Discharge Lamps Work The arc tube is filled with metal salts and gas. This guide covers how they work, benefits, considerations… — these lights work by creating an electric arc between electrodes (usually made from tungsten) located in a semi. — hid lamps have an arc which passes between two electrodes in a pressurized tube causing various metallic additives to vaporize. How Do High Intensity Discharge Lamps Work.
From www.thelightbulb.co.uk
Tungsram 70watt High Intensity Discharge Lamp G12 CMHT Single Ended How Do High Intensity Discharge Lamps Work This guide covers how they work, benefits, considerations… The arc tube is filled with metal salts and gas. — it is a gas discharge lamp and the electric arc is sent through vaporized mercury inside the inner glass tube to produce light. — hid lamps have an arc which passes between two electrodes in a pressurized tube causing. How Do High Intensity Discharge Lamps Work.
From inchbyinch.de
INCH Technical English pictorial highpressure discharge lamp How Do High Intensity Discharge Lamps Work — hid lamps have an arc which passes between two electrodes in a pressurized tube causing various metallic additives to vaporize and release. — it is a gas discharge lamp and the electric arc is sent through vaporized mercury inside the inner glass tube to produce light. — these lights work by creating an electric arc between. How Do High Intensity Discharge Lamps Work.
From interestpin.com.au
High Intensity Discharge Lamps InterestPin Australia InterestPin How Do High Intensity Discharge Lamps Work — it is a gas discharge lamp and the electric arc is sent through vaporized mercury inside the inner glass tube to produce light. — hid lamps have an arc which passes between two electrodes in a pressurized tube causing various metallic additives to vaporize and release. The arc tube is filled with metal salts and gas. . How Do High Intensity Discharge Lamps Work.
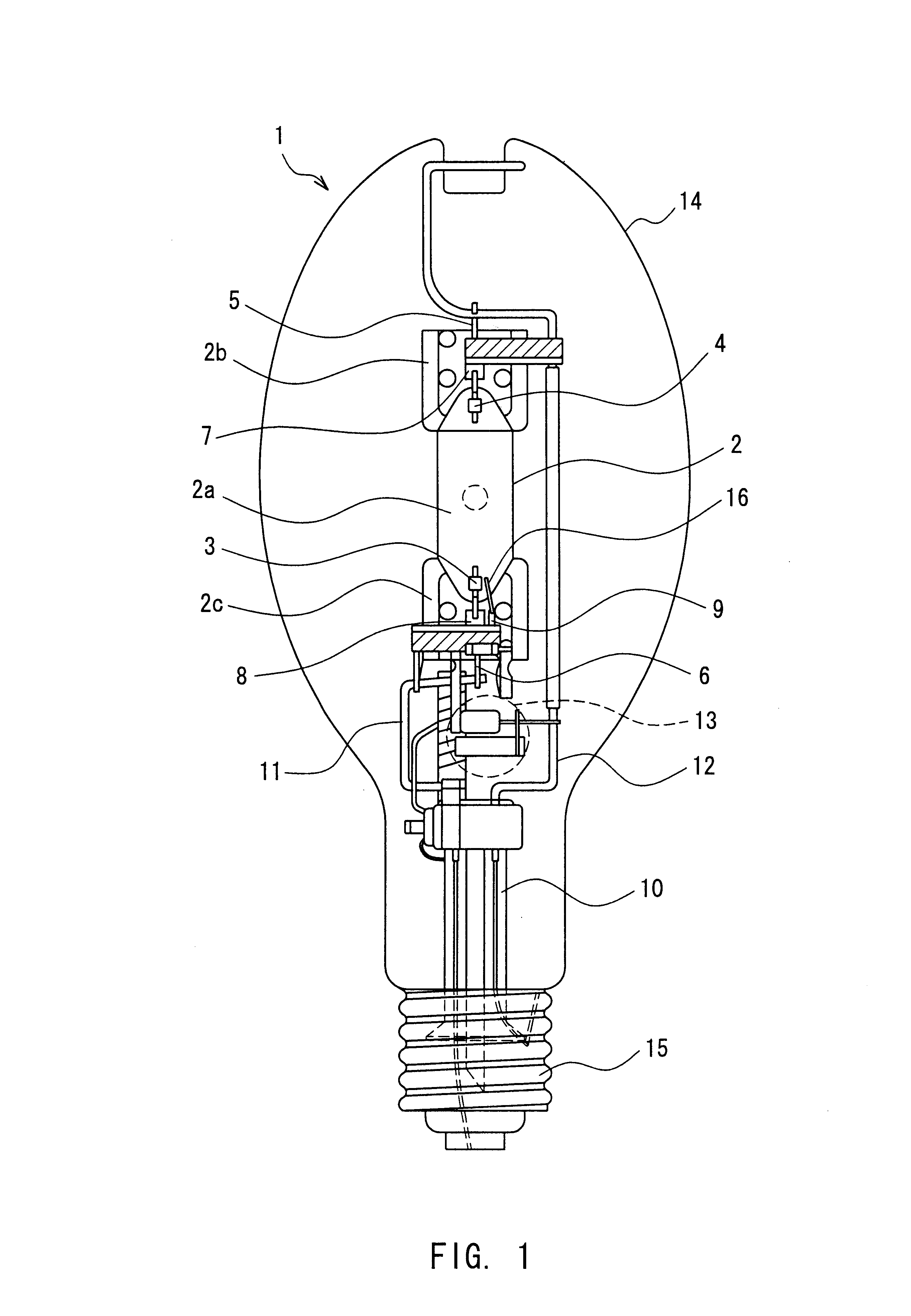
From www.google.co.uk
Patent US6563268 Highintensity discharge lamp Google Patents How Do High Intensity Discharge Lamps Work The arc tube is filled with metal salts and gas. — hid lamps have an arc which passes between two electrodes in a pressurized tube causing various metallic additives to vaporize and release. — it is a gas discharge lamp and the electric arc is sent through vaporized mercury inside the inner glass tube to produce light. . How Do High Intensity Discharge Lamps Work.
From www.lighting.philips.com
High intensity discharge lamps Philips How Do High Intensity Discharge Lamps Work The arc tube is filled with metal salts and gas. This guide covers how they work, benefits, considerations… — hid lamps have an arc which passes between two electrodes in a pressurized tube causing various metallic additives to vaporize and release. — these lights work by creating an electric arc between electrodes (usually made from tungsten) located in. How Do High Intensity Discharge Lamps Work.
From studylib.net
High Intensity Discharge Lamps How Do High Intensity Discharge Lamps Work — it is a gas discharge lamp and the electric arc is sent through vaporized mercury inside the inner glass tube to produce light. — these lights work by creating an electric arc between electrodes (usually made from tungsten) located in a semi. — hid lamps have an arc which passes between two electrodes in a pressurized. How Do High Intensity Discharge Lamps Work.
From studylib.net
High Intensity Discharge Lamps How Do High Intensity Discharge Lamps Work This guide covers how they work, benefits, considerations… — it is a gas discharge lamp and the electric arc is sent through vaporized mercury inside the inner glass tube to produce light. — these lights work by creating an electric arc between electrodes (usually made from tungsten) located in a semi. — hid lamps have an arc. How Do High Intensity Discharge Lamps Work.
From www.alamy.com
High intensity discharge lights hires stock photography and images Alamy How Do High Intensity Discharge Lamps Work — it is a gas discharge lamp and the electric arc is sent through vaporized mercury inside the inner glass tube to produce light. — these lights work by creating an electric arc between electrodes (usually made from tungsten) located in a semi. The arc tube is filled with metal salts and gas. — hid lamps have. How Do High Intensity Discharge Lamps Work.
From lighting.philips.co.in
High intensity discharge lamps Philips lighting How Do High Intensity Discharge Lamps Work — hid lamps have an arc which passes between two electrodes in a pressurized tube causing various metallic additives to vaporize and release. The arc tube is filled with metal salts and gas. — it is a gas discharge lamp and the electric arc is sent through vaporized mercury inside the inner glass tube to produce light. This. How Do High Intensity Discharge Lamps Work.
From www.alamy.com
High intensity discharge lamps hires stock photography and images Alamy How Do High Intensity Discharge Lamps Work — it is a gas discharge lamp and the electric arc is sent through vaporized mercury inside the inner glass tube to produce light. — hid lamps have an arc which passes between two electrodes in a pressurized tube causing various metallic additives to vaporize and release. The arc tube is filled with metal salts and gas. This. How Do High Intensity Discharge Lamps Work.
From dxovafpbk.blob.core.windows.net
High Intensity Discharge (Hid) Lamp at Maggie Spencer blog How Do High Intensity Discharge Lamps Work This guide covers how they work, benefits, considerations… — it is a gas discharge lamp and the electric arc is sent through vaporized mercury inside the inner glass tube to produce light. — these lights work by creating an electric arc between electrodes (usually made from tungsten) located in a semi. — hid lamps have an arc. How Do High Intensity Discharge Lamps Work.
From www.scnindustrial.com
SYLVANIA High Intensity Discharge Lamps (HID) SCN Industrial How Do High Intensity Discharge Lamps Work — hid lamps have an arc which passes between two electrodes in a pressurized tube causing various metallic additives to vaporize and release. — these lights work by creating an electric arc between electrodes (usually made from tungsten) located in a semi. This guide covers how they work, benefits, considerations… The arc tube is filled with metal salts. How Do High Intensity Discharge Lamps Work.
From dxozvnmwy.blob.core.windows.net
The Type Of HighIntensity Discharge (Hid) Lamp That Provides The How Do High Intensity Discharge Lamps Work — these lights work by creating an electric arc between electrodes (usually made from tungsten) located in a semi. The arc tube is filled with metal salts and gas. — hid lamps have an arc which passes between two electrodes in a pressurized tube causing various metallic additives to vaporize and release. This guide covers how they work,. How Do High Intensity Discharge Lamps Work.
From www.youtube.com
High Intensity Discharge Lamps 💡🌱 YouTube How Do High Intensity Discharge Lamps Work — these lights work by creating an electric arc between electrodes (usually made from tungsten) located in a semi. The arc tube is filled with metal salts and gas. — hid lamps have an arc which passes between two electrodes in a pressurized tube causing various metallic additives to vaporize and release. This guide covers how they work,. How Do High Intensity Discharge Lamps Work.
From primelite-mfg.us
Light Bulbs High Intensity Discharge Lamps Primelite Manufacturing How Do High Intensity Discharge Lamps Work — it is a gas discharge lamp and the electric arc is sent through vaporized mercury inside the inner glass tube to produce light. This guide covers how they work, benefits, considerations… — hid lamps have an arc which passes between two electrodes in a pressurized tube causing various metallic additives to vaporize and release. The arc tube. How Do High Intensity Discharge Lamps Work.
From dxozvnmwy.blob.core.windows.net
The Type Of HighIntensity Discharge (Hid) Lamp That Provides The How Do High Intensity Discharge Lamps Work The arc tube is filled with metal salts and gas. — hid lamps have an arc which passes between two electrodes in a pressurized tube causing various metallic additives to vaporize and release. — these lights work by creating an electric arc between electrodes (usually made from tungsten) located in a semi. — it is a gas. How Do High Intensity Discharge Lamps Work.
From filmlifestyle.com
What Is a HighIntensity Discharge Lamp in Film Illuminating Sets with How Do High Intensity Discharge Lamps Work This guide covers how they work, benefits, considerations… — hid lamps have an arc which passes between two electrodes in a pressurized tube causing various metallic additives to vaporize and release. — it is a gas discharge lamp and the electric arc is sent through vaporized mercury inside the inner glass tube to produce light. The arc tube. How Do High Intensity Discharge Lamps Work.
From www.lighting.philips.co.th
High intensity discharge lamps Philips หลอดไฟ โคมไฟ และระบบแสงสว่าง How Do High Intensity Discharge Lamps Work — these lights work by creating an electric arc between electrodes (usually made from tungsten) located in a semi. — it is a gas discharge lamp and the electric arc is sent through vaporized mercury inside the inner glass tube to produce light. The arc tube is filled with metal salts and gas. This guide covers how they. How Do High Intensity Discharge Lamps Work.
From www.slideserve.com
PPT Lighting Technologies Applications Energy Consumption PowerPoint How Do High Intensity Discharge Lamps Work — these lights work by creating an electric arc between electrodes (usually made from tungsten) located in a semi. The arc tube is filled with metal salts and gas. — hid lamps have an arc which passes between two electrodes in a pressurized tube causing various metallic additives to vaporize and release. — it is a gas. How Do High Intensity Discharge Lamps Work.
From www.lighting.philips.co.uk
High intensity discharge lamps Philips lighting How Do High Intensity Discharge Lamps Work The arc tube is filled with metal salts and gas. — hid lamps have an arc which passes between two electrodes in a pressurized tube causing various metallic additives to vaporize and release. — it is a gas discharge lamp and the electric arc is sent through vaporized mercury inside the inner glass tube to produce light. This. How Do High Intensity Discharge Lamps Work.
From www.slideshare.net
Highintensity discharge lamp How Do High Intensity Discharge Lamps Work — hid lamps have an arc which passes between two electrodes in a pressurized tube causing various metallic additives to vaporize and release. The arc tube is filled with metal salts and gas. — it is a gas discharge lamp and the electric arc is sent through vaporized mercury inside the inner glass tube to produce light. . How Do High Intensity Discharge Lamps Work.
From www.ledwatcher.com
HID Lights for Beginners High Intensity Discharge Lamps Explained How Do High Intensity Discharge Lamps Work — hid lamps have an arc which passes between two electrodes in a pressurized tube causing various metallic additives to vaporize and release. — these lights work by creating an electric arc between electrodes (usually made from tungsten) located in a semi. — it is a gas discharge lamp and the electric arc is sent through vaporized. How Do High Intensity Discharge Lamps Work.
From www.walmart.com
303479 150W High Intensity Discharge (HID) Lamps, Philips 303479 By How Do High Intensity Discharge Lamps Work This guide covers how they work, benefits, considerations… — it is a gas discharge lamp and the electric arc is sent through vaporized mercury inside the inner glass tube to produce light. — hid lamps have an arc which passes between two electrodes in a pressurized tube causing various metallic additives to vaporize and release. — these. How Do High Intensity Discharge Lamps Work.
From pressbooks.bccampus.ca
Gas Discharge Terms and Definitions Basic Lighting for Electricians How Do High Intensity Discharge Lamps Work — it is a gas discharge lamp and the electric arc is sent through vaporized mercury inside the inner glass tube to produce light. This guide covers how they work, benefits, considerations… — these lights work by creating an electric arc between electrodes (usually made from tungsten) located in a semi. The arc tube is filled with metal. How Do High Intensity Discharge Lamps Work.
From lightonline.com.au
A Look At High Intensity Discharge Lamps How Do High Intensity Discharge Lamps Work — it is a gas discharge lamp and the electric arc is sent through vaporized mercury inside the inner glass tube to produce light. The arc tube is filled with metal salts and gas. — these lights work by creating an electric arc between electrodes (usually made from tungsten) located in a semi. — hid lamps have. How Do High Intensity Discharge Lamps Work.
From www.thelightbulb.co.uk
Philips 20watt High Intensity Discharge Lamp PGJ5 CDMTM Single Ended How Do High Intensity Discharge Lamps Work The arc tube is filled with metal salts and gas. — it is a gas discharge lamp and the electric arc is sent through vaporized mercury inside the inner glass tube to produce light. This guide covers how they work, benefits, considerations… — these lights work by creating an electric arc between electrodes (usually made from tungsten) located. How Do High Intensity Discharge Lamps Work.
From www.ledvance.co.kr
High intensity discharge lamps How Do High Intensity Discharge Lamps Work The arc tube is filled with metal salts and gas. — these lights work by creating an electric arc between electrodes (usually made from tungsten) located in a semi. This guide covers how they work, benefits, considerations… — it is a gas discharge lamp and the electric arc is sent through vaporized mercury inside the inner glass tube. How Do High Intensity Discharge Lamps Work.
From www.google.co.ug
Patent EP0607061A1 High intensity discharge lamp Google Patents How Do High Intensity Discharge Lamps Work — hid lamps have an arc which passes between two electrodes in a pressurized tube causing various metallic additives to vaporize and release. — it is a gas discharge lamp and the electric arc is sent through vaporized mercury inside the inner glass tube to produce light. The arc tube is filled with metal salts and gas. . How Do High Intensity Discharge Lamps Work.
From www.ledwatcher.com
HID Lights for Beginners High Intensity Discharge Lamps Explained How Do High Intensity Discharge Lamps Work — it is a gas discharge lamp and the electric arc is sent through vaporized mercury inside the inner glass tube to produce light. — hid lamps have an arc which passes between two electrodes in a pressurized tube causing various metallic additives to vaporize and release. The arc tube is filled with metal salts and gas. This. How Do High Intensity Discharge Lamps Work.
From www.slideshare.net
Highintensity discharge lamp How Do High Intensity Discharge Lamps Work — these lights work by creating an electric arc between electrodes (usually made from tungsten) located in a semi. — it is a gas discharge lamp and the electric arc is sent through vaporized mercury inside the inner glass tube to produce light. The arc tube is filled with metal salts and gas. — hid lamps have. How Do High Intensity Discharge Lamps Work.
From geekyengineers.com
What is a Discharge Lamp Design, Working and Types How Do High Intensity Discharge Lamps Work — these lights work by creating an electric arc between electrodes (usually made from tungsten) located in a semi. — hid lamps have an arc which passes between two electrodes in a pressurized tube causing various metallic additives to vaporize and release. — it is a gas discharge lamp and the electric arc is sent through vaporized. How Do High Intensity Discharge Lamps Work.
From www.studypool.com
SOLUTION High intensity discharge lamp Studypool How Do High Intensity Discharge Lamps Work — these lights work by creating an electric arc between electrodes (usually made from tungsten) located in a semi. The arc tube is filled with metal salts and gas. — it is a gas discharge lamp and the electric arc is sent through vaporized mercury inside the inner glass tube to produce light. — hid lamps have. How Do High Intensity Discharge Lamps Work.