Traeger Grill No Power . if your traeger grill is not firing up, it could be due to a tripped gfci on the outlet, a faulty power outlet, a blown fuse on the controller, a damaged extension cord, or a break in the power cord. learn exactly why your traeger pellet grill is not igniting and how to quickly troubleshoot to solve the problem. if your timberline or ironwood grill isn't getting power, you'll want to try these steps. This article will walk you. We cover everything from checking your power sources and basic connections to finding the best replacements for faulty parts that may be keeping your traeger from igniting. Make sure to check these potential issues to resolve the problem. a grill not turning on usually means one of three symptoms: The controller's display is not turning on.
from www.slashgear.com
a grill not turning on usually means one of three symptoms: This article will walk you. if your timberline or ironwood grill isn't getting power, you'll want to try these steps. if your traeger grill is not firing up, it could be due to a tripped gfci on the outlet, a faulty power outlet, a blown fuse on the controller, a damaged extension cord, or a break in the power cord. learn exactly why your traeger pellet grill is not igniting and how to quickly troubleshoot to solve the problem. The controller's display is not turning on. We cover everything from checking your power sources and basic connections to finding the best replacements for faulty parts that may be keeping your traeger from igniting. Make sure to check these potential issues to resolve the problem.
Traeger Pro 780 Review Why your next pellet grill needs WiFi SlashGear
Traeger Grill No Power a grill not turning on usually means one of three symptoms: if your traeger grill is not firing up, it could be due to a tripped gfci on the outlet, a faulty power outlet, a blown fuse on the controller, a damaged extension cord, or a break in the power cord. We cover everything from checking your power sources and basic connections to finding the best replacements for faulty parts that may be keeping your traeger from igniting. Make sure to check these potential issues to resolve the problem. a grill not turning on usually means one of three symptoms: learn exactly why your traeger pellet grill is not igniting and how to quickly troubleshoot to solve the problem. This article will walk you. The controller's display is not turning on. if your timberline or ironwood grill isn't getting power, you'll want to try these steps.
From www.familyguidecentral.com
How to Turn Off the Traeger Pellet Grill (The Complete Shutdown Cycle Traeger Grill No Power This article will walk you. if your traeger grill is not firing up, it could be due to a tripped gfci on the outlet, a faulty power outlet, a blown fuse on the controller, a damaged extension cord, or a break in the power cord. learn exactly why your traeger pellet grill is not igniting and how to. Traeger Grill No Power.
From exowreogd.blob.core.windows.net
Traeger Grill Heating Element Not Working at Tabitha White blog Traeger Grill No Power a grill not turning on usually means one of three symptoms: The controller's display is not turning on. learn exactly why your traeger pellet grill is not igniting and how to quickly troubleshoot to solve the problem. if your traeger grill is not firing up, it could be due to a tripped gfci on the outlet, a. Traeger Grill No Power.
From dxg.wolterskluwer.com
Traeger Grills Pro Series 780 Wood Pellet Grill And Smoker With WIFI Traeger Grill No Power learn exactly why your traeger pellet grill is not igniting and how to quickly troubleshoot to solve the problem. if your traeger grill is not firing up, it could be due to a tripped gfci on the outlet, a faulty power outlet, a blown fuse on the controller, a damaged extension cord, or a break in the power. Traeger Grill No Power.
From www.designerappliances.com
Traeger Grill 2023 Traeger Grills Reviewed Traeger Grill No Power if your traeger grill is not firing up, it could be due to a tripped gfci on the outlet, a faulty power outlet, a blown fuse on the controller, a damaged extension cord, or a break in the power cord. Make sure to check these potential issues to resolve the problem. learn exactly why your traeger pellet grill. Traeger Grill No Power.
From www.shopsteins.com
Traeger Ironwood 885 Grill TRAEGER Stein’s Garden & Home Traeger Grill No Power We cover everything from checking your power sources and basic connections to finding the best replacements for faulty parts that may be keeping your traeger from igniting. if your timberline or ironwood grill isn't getting power, you'll want to try these steps. a grill not turning on usually means one of three symptoms: if your traeger grill. Traeger Grill No Power.
From www.simplymeatsmoking.com
Traeger Grill Startup Instructions (How To Fire Up Your Traeger Grill Traeger Grill No Power learn exactly why your traeger pellet grill is not igniting and how to quickly troubleshoot to solve the problem. The controller's display is not turning on. Make sure to check these potential issues to resolve the problem. if your timberline or ironwood grill isn't getting power, you'll want to try these steps. a grill not turning on. Traeger Grill No Power.
From www.youtube.com
Why Doesnt My Grill Power On Traeger YouTube Traeger Grill No Power if your traeger grill is not firing up, it could be due to a tripped gfci on the outlet, a faulty power outlet, a blown fuse on the controller, a damaged extension cord, or a break in the power cord. a grill not turning on usually means one of three symptoms: if your timberline or ironwood grill. Traeger Grill No Power.
From www.simplymeatsmoking.com
How To Change WiFi On Traeger Grill (3 Simple Steps) Simply Meat Smoking Traeger Grill No Power if your timberline or ironwood grill isn't getting power, you'll want to try these steps. a grill not turning on usually means one of three symptoms: learn exactly why your traeger pellet grill is not igniting and how to quickly troubleshoot to solve the problem. This article will walk you. Make sure to check these potential issues. Traeger Grill No Power.
From www.abt.com
Traeger PTG + Portable Tabletop Grill TFT17LLA Traeger Grill No Power learn exactly why your traeger pellet grill is not igniting and how to quickly troubleshoot to solve the problem. The controller's display is not turning on. if your traeger grill is not firing up, it could be due to a tripped gfci on the outlet, a faulty power outlet, a blown fuse on the controller, a damaged extension. Traeger Grill No Power.
From www.simplymeatsmoking.com
Traeger Grill Startup Instructions (How To Fire Up Your Traeger Grill Traeger Grill No Power The controller's display is not turning on. learn exactly why your traeger pellet grill is not igniting and how to quickly troubleshoot to solve the problem. We cover everything from checking your power sources and basic connections to finding the best replacements for faulty parts that may be keeping your traeger from igniting. This article will walk you. . Traeger Grill No Power.
From tiredtexanbbq.com
What Is A Traeger Grill? The Ultimate Guide to Everything You Need to Know! Traeger Grill No Power learn exactly why your traeger pellet grill is not igniting and how to quickly troubleshoot to solve the problem. We cover everything from checking your power sources and basic connections to finding the best replacements for faulty parts that may be keeping your traeger from igniting. if your traeger grill is not firing up, it could be due. Traeger Grill No Power.
From www.cookoutnews.com
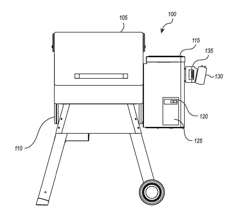
Is Battery Power the Future of Pellet Grills? Traeger Files a Patent Traeger Grill No Power a grill not turning on usually means one of three symptoms: learn exactly why your traeger pellet grill is not igniting and how to quickly troubleshoot to solve the problem. This article will walk you. Make sure to check these potential issues to resolve the problem. if your timberline or ironwood grill isn't getting power, you'll want. Traeger Grill No Power.
From bestreviews.com
5 Best Traeger Grills Sept. 2020 BestReviews Traeger Grill No Power We cover everything from checking your power sources and basic connections to finding the best replacements for faulty parts that may be keeping your traeger from igniting. The controller's display is not turning on. This article will walk you. learn exactly why your traeger pellet grill is not igniting and how to quickly troubleshoot to solve the problem. . Traeger Grill No Power.
From universidaddelsur.edu.mx
Traeger Pro 780 WiFi Pellet Grill Traeger Grills®, 46 OFF Traeger Grill No Power learn exactly why your traeger pellet grill is not igniting and how to quickly troubleshoot to solve the problem. Make sure to check these potential issues to resolve the problem. if your traeger grill is not firing up, it could be due to a tripped gfci on the outlet, a faulty power outlet, a blown fuse on the. Traeger Grill No Power.
From offerup.com
Traeger Grills TFB57CLB Century 22 Pellet Grill and Smoker, 572 Sq. In Traeger Grill No Power We cover everything from checking your power sources and basic connections to finding the best replacements for faulty parts that may be keeping your traeger from igniting. The controller's display is not turning on. a grill not turning on usually means one of three symptoms: Make sure to check these potential issues to resolve the problem. This article will. Traeger Grill No Power.
From www.slashgear.com
Traeger Pro 780 Review Why your next pellet grill needs WiFi SlashGear Traeger Grill No Power learn exactly why your traeger pellet grill is not igniting and how to quickly troubleshoot to solve the problem. if your traeger grill is not firing up, it could be due to a tripped gfci on the outlet, a faulty power outlet, a blown fuse on the controller, a damaged extension cord, or a break in the power. Traeger Grill No Power.
From gearjunkie.com
Traeger Ranger Portable WoodPellet Grill Review Traeger Grill No Power This article will walk you. a grill not turning on usually means one of three symptoms: Make sure to check these potential issues to resolve the problem. We cover everything from checking your power sources and basic connections to finding the best replacements for faulty parts that may be keeping your traeger from igniting. if your traeger grill. Traeger Grill No Power.
From www.gardengiftshop.co.uk
Traeger Pro Series 34 Electric BBQ Grill and Pellet Smoker Traeger Grill No Power if your timberline or ironwood grill isn't getting power, you'll want to try these steps. This article will walk you. learn exactly why your traeger pellet grill is not igniting and how to quickly troubleshoot to solve the problem. We cover everything from checking your power sources and basic connections to finding the best replacements for faulty parts. Traeger Grill No Power.
From loving-food.com
Traeger Grill Shutdown Cycle Explained Loving Food Traeger Grill No Power This article will walk you. We cover everything from checking your power sources and basic connections to finding the best replacements for faulty parts that may be keeping your traeger from igniting. a grill not turning on usually means one of three symptoms: learn exactly why your traeger pellet grill is not igniting and how to quickly troubleshoot. Traeger Grill No Power.
From qualityfireplace-bbq.com
Traeger Junior Elite Pellet Grill Quality Fireplace & BBQ Traeger Grill No Power We cover everything from checking your power sources and basic connections to finding the best replacements for faulty parts that may be keeping your traeger from igniting. a grill not turning on usually means one of three symptoms: Make sure to check these potential issues to resolve the problem. if your traeger grill is not firing up, it. Traeger Grill No Power.
From www.youtube.com
How Many Amps Does A Traeger Grill Use YouTube Traeger Grill No Power We cover everything from checking your power sources and basic connections to finding the best replacements for faulty parts that may be keeping your traeger from igniting. learn exactly why your traeger pellet grill is not igniting and how to quickly troubleshoot to solve the problem. The controller's display is not turning on. if your traeger grill is. Traeger Grill No Power.
From shungrill.com
How Traeger Grills Harness Power For Grilling Excellence ShunGrill Traeger Grill No Power if your traeger grill is not firing up, it could be due to a tripped gfci on the outlet, a faulty power outlet, a blown fuse on the controller, a damaged extension cord, or a break in the power cord. if your timberline or ironwood grill isn't getting power, you'll want to try these steps. The controller's display. Traeger Grill No Power.
From www.thirtyonewhiskey.com
Troubleshooting Traeger Grill Won’t Power On ThirtyOne Whiskey Traeger Grill No Power a grill not turning on usually means one of three symptoms: learn exactly why your traeger pellet grill is not igniting and how to quickly troubleshoot to solve the problem. We cover everything from checking your power sources and basic connections to finding the best replacements for faulty parts that may be keeping your traeger from igniting. The. Traeger Grill No Power.
From www.abt.com
Traeger Bronze Pro Series 34 Wood Pellet Grill TFB88PZB Traeger Grill No Power if your timberline or ironwood grill isn't getting power, you'll want to try these steps. Make sure to check these potential issues to resolve the problem. a grill not turning on usually means one of three symptoms: learn exactly why your traeger pellet grill is not igniting and how to quickly troubleshoot to solve the problem. . Traeger Grill No Power.
From rhythmcafe.net
How to Use a Traeger Grill? Rhythm Cafe Restaurant Traeger Grill No Power learn exactly why your traeger pellet grill is not igniting and how to quickly troubleshoot to solve the problem. if your traeger grill is not firing up, it could be due to a tripped gfci on the outlet, a faulty power outlet, a blown fuse on the controller, a damaged extension cord, or a break in the power. Traeger Grill No Power.
From the-gadgeteer.com
Traeger's new Pro WiFi pellet grill is smarter, faster, and smokier Traeger Grill No Power learn exactly why your traeger pellet grill is not igniting and how to quickly troubleshoot to solve the problem. a grill not turning on usually means one of three symptoms: if your traeger grill is not firing up, it could be due to a tripped gfci on the outlet, a faulty power outlet, a blown fuse on. Traeger Grill No Power.
From www.homedepot.com
Traeger Ironwood 650 Wifi Pellet Grill and Smoker in BlackTFB65BLF Traeger Grill No Power We cover everything from checking your power sources and basic connections to finding the best replacements for faulty parts that may be keeping your traeger from igniting. if your traeger grill is not firing up, it could be due to a tripped gfci on the outlet, a faulty power outlet, a blown fuse on the controller, a damaged extension. Traeger Grill No Power.
From www.legacyfeed.com
Tailgater Traeger Pellet Grill For Sale Meridian & Boise Traeger Grill No Power This article will walk you. Make sure to check these potential issues to resolve the problem. learn exactly why your traeger pellet grill is not igniting and how to quickly troubleshoot to solve the problem. We cover everything from checking your power sources and basic connections to finding the best replacements for faulty parts that may be keeping your. Traeger Grill No Power.
From shungrill.com
Understanding The Power Source Behind Traeger Grills Unveiling The Traeger Grill No Power This article will walk you. We cover everything from checking your power sources and basic connections to finding the best replacements for faulty parts that may be keeping your traeger from igniting. learn exactly why your traeger pellet grill is not igniting and how to quickly troubleshoot to solve the problem. if your traeger grill is not firing. Traeger Grill No Power.
From www.gardengiftshop.co.uk
Traeger Pro Series 22 Electric BBQ Grill and Pellet Smoker Traeger Grill No Power a grill not turning on usually means one of three symptoms: if your traeger grill is not firing up, it could be due to a tripped gfci on the outlet, a faulty power outlet, a blown fuse on the controller, a damaged extension cord, or a break in the power cord. if your timberline or ironwood grill. Traeger Grill No Power.
From www.pinterest.com
My Traeger Won’t Get Over 350? (Explained) in 2022 Traeger, Grilling Traeger Grill No Power This article will walk you. if your timberline or ironwood grill isn't getting power, you'll want to try these steps. learn exactly why your traeger pellet grill is not igniting and how to quickly troubleshoot to solve the problem. We cover everything from checking your power sources and basic connections to finding the best replacements for faulty parts. Traeger Grill No Power.
From universidaddelsur.edu.mx
Traeger Pro 780 WiFi Pellet Grill Traeger Grills®, 46 OFF Traeger Grill No Power a grill not turning on usually means one of three symptoms: The controller's display is not turning on. This article will walk you. Make sure to check these potential issues to resolve the problem. We cover everything from checking your power sources and basic connections to finding the best replacements for faulty parts that may be keeping your traeger. Traeger Grill No Power.
From www.thegrilloutlet.com
How to operate a Traeger grill Grill Outlet Traeger Grill No Power This article will walk you. We cover everything from checking your power sources and basic connections to finding the best replacements for faulty parts that may be keeping your traeger from igniting. if your traeger grill is not firing up, it could be due to a tripped gfci on the outlet, a faulty power outlet, a blown fuse on. Traeger Grill No Power.
From www.abt.com
Traeger Bronze Select Elite Wood Pellet Grill TFS60LZAC Traeger Grill No Power The controller's display is not turning on. Make sure to check these potential issues to resolve the problem. This article will walk you. We cover everything from checking your power sources and basic connections to finding the best replacements for faulty parts that may be keeping your traeger from igniting. learn exactly why your traeger pellet grill is not. Traeger Grill No Power.
From thegrillingdad.com
How Long Do Trager Grills Last? (Maximizing Your Grill's Life) The Traeger Grill No Power if your timberline or ironwood grill isn't getting power, you'll want to try these steps. Make sure to check these potential issues to resolve the problem. learn exactly why your traeger pellet grill is not igniting and how to quickly troubleshoot to solve the problem. a grill not turning on usually means one of three symptoms: This. Traeger Grill No Power.