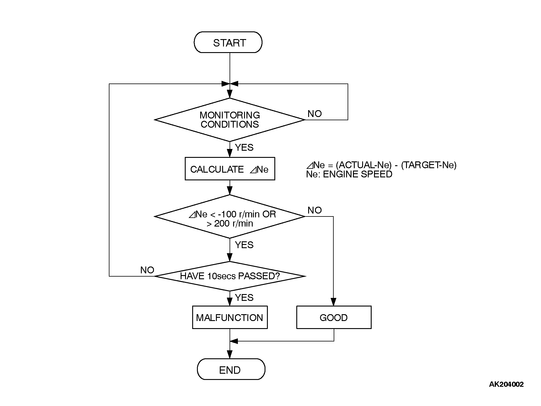
P0506 - Idle Air Control System Rpm Lower Than Expected . If you have been experiencing lower than expected idle rpm issues with your vehicle, you may have come across the p0506 code. When the p0506 diagnostic trouble code is stored by the powertrain control module (pcm), it is an indication that the revolutions per minute (rpm). This code is a generic powertrain code. The fault code p0506 indicates that the idle speed of the vehicle is lower than the target idle speed by 100 rpm or more. In this case, the p0506 dtc (diagnostic trouble code) is triggered when the pcm (powertrain control module) detects an engine idle speed. The p0506 diagnostic trouble code for volkswagen indicates that the idle air control system's rpm is lower than expected, pointing. Diagnostic trouble code (dtc) p0506 stands for “idle air control system rpm lower than expected.” it means that your. This means that when the vehicle is at a standstill, the engine is not running at the desired speed. The diagnostic trouble code p0506 stands for “idle speed control system (isc) rpm lower than expected”, an issue usually caused by.
from www.justanswer.com
When the p0506 diagnostic trouble code is stored by the powertrain control module (pcm), it is an indication that the revolutions per minute (rpm). Diagnostic trouble code (dtc) p0506 stands for “idle air control system rpm lower than expected.” it means that your. If you have been experiencing lower than expected idle rpm issues with your vehicle, you may have come across the p0506 code. In this case, the p0506 dtc (diagnostic trouble code) is triggered when the pcm (powertrain control module) detects an engine idle speed. This code is a generic powertrain code. The diagnostic trouble code p0506 stands for “idle speed control system (isc) rpm lower than expected”, an issue usually caused by. This means that when the vehicle is at a standstill, the engine is not running at the desired speed. The fault code p0506 indicates that the idle speed of the vehicle is lower than the target idle speed by 100 rpm or more. The p0506 diagnostic trouble code for volkswagen indicates that the idle air control system's rpm is lower than expected, pointing.
My 04 f150 has a truble code p0506 idleair control system rpm lower
P0506 - Idle Air Control System Rpm Lower Than Expected The p0506 diagnostic trouble code for volkswagen indicates that the idle air control system's rpm is lower than expected, pointing. If you have been experiencing lower than expected idle rpm issues with your vehicle, you may have come across the p0506 code. This code is a generic powertrain code. This means that when the vehicle is at a standstill, the engine is not running at the desired speed. When the p0506 diagnostic trouble code is stored by the powertrain control module (pcm), it is an indication that the revolutions per minute (rpm). In this case, the p0506 dtc (diagnostic trouble code) is triggered when the pcm (powertrain control module) detects an engine idle speed. The p0506 diagnostic trouble code for volkswagen indicates that the idle air control system's rpm is lower than expected, pointing. The diagnostic trouble code p0506 stands for “idle speed control system (isc) rpm lower than expected”, an issue usually caused by. The fault code p0506 indicates that the idle speed of the vehicle is lower than the target idle speed by 100 rpm or more. Diagnostic trouble code (dtc) p0506 stands for “idle air control system rpm lower than expected.” it means that your.
From themotorguy.com
Fixing Lower Than Expected Idle RPM Issues P0506 Code The Motor Guy P0506 - Idle Air Control System Rpm Lower Than Expected In this case, the p0506 dtc (diagnostic trouble code) is triggered when the pcm (powertrain control module) detects an engine idle speed. The p0506 diagnostic trouble code for volkswagen indicates that the idle air control system's rpm is lower than expected, pointing. The diagnostic trouble code p0506 stands for “idle speed control system (isc) rpm lower than expected”, an issue. P0506 - Idle Air Control System Rpm Lower Than Expected.
From www.carparts.com
P0506 Idle Air Control System RPM Lower Than Expected In The Garage P0506 - Idle Air Control System Rpm Lower Than Expected The fault code p0506 indicates that the idle speed of the vehicle is lower than the target idle speed by 100 rpm or more. When the p0506 diagnostic trouble code is stored by the powertrain control module (pcm), it is an indication that the revolutions per minute (rpm). The diagnostic trouble code p0506 stands for “idle speed control system (isc). P0506 - Idle Air Control System Rpm Lower Than Expected.
From www.troublecodes.net
P0506 Idle speed control (ISC) system rpm lower than expected P0506 - Idle Air Control System Rpm Lower Than Expected This means that when the vehicle is at a standstill, the engine is not running at the desired speed. If you have been experiencing lower than expected idle rpm issues with your vehicle, you may have come across the p0506 code. This code is a generic powertrain code. The p0506 diagnostic trouble code for volkswagen indicates that the idle air. P0506 - Idle Air Control System Rpm Lower Than Expected.
From www.youtube.com
How to Test & Fix P0506 & P0507 in 5 minutes DIY Method to Fix Engine P0506 - Idle Air Control System Rpm Lower Than Expected Diagnostic trouble code (dtc) p0506 stands for “idle air control system rpm lower than expected.” it means that your. This means that when the vehicle is at a standstill, the engine is not running at the desired speed. When the p0506 diagnostic trouble code is stored by the powertrain control module (pcm), it is an indication that the revolutions per. P0506 - Idle Air Control System Rpm Lower Than Expected.
From www.audizine.com
P0506 002 RPM Lower than Expected... Part number??? P0506 - Idle Air Control System Rpm Lower Than Expected When the p0506 diagnostic trouble code is stored by the powertrain control module (pcm), it is an indication that the revolutions per minute (rpm). This means that when the vehicle is at a standstill, the engine is not running at the desired speed. Diagnostic trouble code (dtc) p0506 stands for “idle air control system rpm lower than expected.” it means. P0506 - Idle Air Control System Rpm Lower Than Expected.
From www.carparts.com
P0506 Idle Air Control System RPM Lower Than Expected In The Garage P0506 - Idle Air Control System Rpm Lower Than Expected The diagnostic trouble code p0506 stands for “idle speed control system (isc) rpm lower than expected”, an issue usually caused by. In this case, the p0506 dtc (diagnostic trouble code) is triggered when the pcm (powertrain control module) detects an engine idle speed. This means that when the vehicle is at a standstill, the engine is not running at the. P0506 - Idle Air Control System Rpm Lower Than Expected.
From www.youtube.com
P0506 Idle Control System RPM Lower Than Expected 🟢 Trouble Code P0506 - Idle Air Control System Rpm Lower Than Expected This code is a generic powertrain code. If you have been experiencing lower than expected idle rpm issues with your vehicle, you may have come across the p0506 code. The fault code p0506 indicates that the idle speed of the vehicle is lower than the target idle speed by 100 rpm or more. This means that when the vehicle is. P0506 - Idle Air Control System Rpm Lower Than Expected.
From themotorguy.com
Fixing Lower Than Expected Idle RPM Issues P0506 Code The Motor Guy P0506 - Idle Air Control System Rpm Lower Than Expected In this case, the p0506 dtc (diagnostic trouble code) is triggered when the pcm (powertrain control module) detects an engine idle speed. Diagnostic trouble code (dtc) p0506 stands for “idle air control system rpm lower than expected.” it means that your. The fault code p0506 indicates that the idle speed of the vehicle is lower than the target idle speed. P0506 - Idle Air Control System Rpm Lower Than Expected.
From www.carparts.com
P0506 Idle Air Control System RPM Lower Than Expected In The Garage P0506 - Idle Air Control System Rpm Lower Than Expected The fault code p0506 indicates that the idle speed of the vehicle is lower than the target idle speed by 100 rpm or more. In this case, the p0506 dtc (diagnostic trouble code) is triggered when the pcm (powertrain control module) detects an engine idle speed. Diagnostic trouble code (dtc) p0506 stands for “idle air control system rpm lower than. P0506 - Idle Air Control System Rpm Lower Than Expected.
From www.carparts.com
P0506 Idle Air Control System RPM Lower Than Expected In The Garage P0506 - Idle Air Control System Rpm Lower Than Expected This code is a generic powertrain code. If you have been experiencing lower than expected idle rpm issues with your vehicle, you may have come across the p0506 code. The diagnostic trouble code p0506 stands for “idle speed control system (isc) rpm lower than expected”, an issue usually caused by. Diagnostic trouble code (dtc) p0506 stands for “idle air control. P0506 - Idle Air Control System Rpm Lower Than Expected.
From www.justanswer.com
My 04 f150 has a truble code p0506 idleair control system rpm lower P0506 - Idle Air Control System Rpm Lower Than Expected Diagnostic trouble code (dtc) p0506 stands for “idle air control system rpm lower than expected.” it means that your. The fault code p0506 indicates that the idle speed of the vehicle is lower than the target idle speed by 100 rpm or more. When the p0506 diagnostic trouble code is stored by the powertrain control module (pcm), it is an. P0506 - Idle Air Control System Rpm Lower Than Expected.
From www.youtube.com
Mazda 3 Low Idle p0506 Idle Control System RPM Lower Than Expected P0506 - Idle Air Control System Rpm Lower Than Expected The diagnostic trouble code p0506 stands for “idle speed control system (isc) rpm lower than expected”, an issue usually caused by. When the p0506 diagnostic trouble code is stored by the powertrain control module (pcm), it is an indication that the revolutions per minute (rpm). Diagnostic trouble code (dtc) p0506 stands for “idle air control system rpm lower than expected.”. P0506 - Idle Air Control System Rpm Lower Than Expected.
From www.audizine.com
P0506 Idle Air Control System P0506 - Idle Air Control System Rpm Lower Than Expected This code is a generic powertrain code. This means that when the vehicle is at a standstill, the engine is not running at the desired speed. When the p0506 diagnostic trouble code is stored by the powertrain control module (pcm), it is an indication that the revolutions per minute (rpm). The p0506 diagnostic trouble code for volkswagen indicates that the. P0506 - Idle Air Control System Rpm Lower Than Expected.
From www.repairdost.com
P0506 Code Idle Air Control System RPM Lower Than Expected P0506 - Idle Air Control System Rpm Lower Than Expected When the p0506 diagnostic trouble code is stored by the powertrain control module (pcm), it is an indication that the revolutions per minute (rpm). This means that when the vehicle is at a standstill, the engine is not running at the desired speed. The p0506 diagnostic trouble code for volkswagen indicates that the idle air control system's rpm is lower. P0506 - Idle Air Control System Rpm Lower Than Expected.
From mitsubishitechinfo.com
13DTC P0506 Idle Control System RPM Lower Than Expected P0506 - Idle Air Control System Rpm Lower Than Expected When the p0506 diagnostic trouble code is stored by the powertrain control module (pcm), it is an indication that the revolutions per minute (rpm). The fault code p0506 indicates that the idle speed of the vehicle is lower than the target idle speed by 100 rpm or more. This means that when the vehicle is at a standstill, the engine. P0506 - Idle Air Control System Rpm Lower Than Expected.
From www.autozone.com
Code P0506 Idle Air Control System RPM Lower Than Expected AutoZone P0506 - Idle Air Control System Rpm Lower Than Expected This means that when the vehicle is at a standstill, the engine is not running at the desired speed. Diagnostic trouble code (dtc) p0506 stands for “idle air control system rpm lower than expected.” it means that your. The p0506 diagnostic trouble code for volkswagen indicates that the idle air control system's rpm is lower than expected, pointing. If you. P0506 - Idle Air Control System Rpm Lower Than Expected.
From www.audizine.com
P0506 002 RPM Lower than Expected... Part number??? P0506 - Idle Air Control System Rpm Lower Than Expected This means that when the vehicle is at a standstill, the engine is not running at the desired speed. This code is a generic powertrain code. The diagnostic trouble code p0506 stands for “idle speed control system (isc) rpm lower than expected”, an issue usually caused by. Diagnostic trouble code (dtc) p0506 stands for “idle air control system rpm lower. P0506 - Idle Air Control System Rpm Lower Than Expected.
From themotorguy.com
Resolving P0506 Idle Control System RPM Lower Than Expected Code in a P0506 - Idle Air Control System Rpm Lower Than Expected The diagnostic trouble code p0506 stands for “idle speed control system (isc) rpm lower than expected”, an issue usually caused by. The fault code p0506 indicates that the idle speed of the vehicle is lower than the target idle speed by 100 rpm or more. Diagnostic trouble code (dtc) p0506 stands for “idle air control system rpm lower than expected.”. P0506 - Idle Air Control System Rpm Lower Than Expected.
From www.carparts.com
P0506 Idle Air Control System RPM Lower Than Expected In The Garage P0506 - Idle Air Control System Rpm Lower Than Expected This code is a generic powertrain code. The fault code p0506 indicates that the idle speed of the vehicle is lower than the target idle speed by 100 rpm or more. Diagnostic trouble code (dtc) p0506 stands for “idle air control system rpm lower than expected.” it means that your. This means that when the vehicle is at a standstill,. P0506 - Idle Air Control System Rpm Lower Than Expected.
From mitsubishitechinfo.com
13ADTC P0506 Idle Control System RPM Lower Than Expected P0506 - Idle Air Control System Rpm Lower Than Expected This code is a generic powertrain code. The p0506 diagnostic trouble code for volkswagen indicates that the idle air control system's rpm is lower than expected, pointing. The fault code p0506 indicates that the idle speed of the vehicle is lower than the target idle speed by 100 rpm or more. If you have been experiencing lower than expected idle. P0506 - Idle Air Control System Rpm Lower Than Expected.
From themotorguy.com
Fixing Lower Than Expected Idle RPM Issues P0506 Code The Motor Guy P0506 - Idle Air Control System Rpm Lower Than Expected When the p0506 diagnostic trouble code is stored by the powertrain control module (pcm), it is an indication that the revolutions per minute (rpm). Diagnostic trouble code (dtc) p0506 stands for “idle air control system rpm lower than expected.” it means that your. If you have been experiencing lower than expected idle rpm issues with your vehicle, you may have. P0506 - Idle Air Control System Rpm Lower Than Expected.
From obdcore.com
P0506 Obd2 Code Idle Air Control System RPM Low ObdCore P0506 - Idle Air Control System Rpm Lower Than Expected In this case, the p0506 dtc (diagnostic trouble code) is triggered when the pcm (powertrain control module) detects an engine idle speed. The p0506 diagnostic trouble code for volkswagen indicates that the idle air control system's rpm is lower than expected, pointing. If you have been experiencing lower than expected idle rpm issues with your vehicle, you may have come. P0506 - Idle Air Control System Rpm Lower Than Expected.
From mitsubishitechinfo.com
13ADTC P0506 Idle Control System RPM Lower Than Expected P0506 - Idle Air Control System Rpm Lower Than Expected When the p0506 diagnostic trouble code is stored by the powertrain control module (pcm), it is an indication that the revolutions per minute (rpm). The fault code p0506 indicates that the idle speed of the vehicle is lower than the target idle speed by 100 rpm or more. This code is a generic powertrain code. If you have been experiencing. P0506 - Idle Air Control System Rpm Lower Than Expected.
From themotorguy.com
Idle Control System RPM Lower Than Expected Symptoms of P0506 Code in P0506 - Idle Air Control System Rpm Lower Than Expected The diagnostic trouble code p0506 stands for “idle speed control system (isc) rpm lower than expected”, an issue usually caused by. In this case, the p0506 dtc (diagnostic trouble code) is triggered when the pcm (powertrain control module) detects an engine idle speed. The fault code p0506 indicates that the idle speed of the vehicle is lower than the target. P0506 - Idle Air Control System Rpm Lower Than Expected.
From workshopfixsuhrboomed.z21.web.core.windows.net
Engine Code P0506 P0506 - Idle Air Control System Rpm Lower Than Expected This code is a generic powertrain code. If you have been experiencing lower than expected idle rpm issues with your vehicle, you may have come across the p0506 code. Diagnostic trouble code (dtc) p0506 stands for “idle air control system rpm lower than expected.” it means that your. This means that when the vehicle is at a standstill, the engine. P0506 - Idle Air Control System Rpm Lower Than Expected.
From mechanicbruxelles.z19.web.core.windows.net
P0506 Code Chevy Colorado P0506 - Idle Air Control System Rpm Lower Than Expected The diagnostic trouble code p0506 stands for “idle speed control system (isc) rpm lower than expected”, an issue usually caused by. If you have been experiencing lower than expected idle rpm issues with your vehicle, you may have come across the p0506 code. Diagnostic trouble code (dtc) p0506 stands for “idle air control system rpm lower than expected.” it means. P0506 - Idle Air Control System Rpm Lower Than Expected.
From car-problems-fix.com
Fix P0506 Idle Control System RPM Lower Steps & Solutions Car P0506 - Idle Air Control System Rpm Lower Than Expected The fault code p0506 indicates that the idle speed of the vehicle is lower than the target idle speed by 100 rpm or more. In this case, the p0506 dtc (diagnostic trouble code) is triggered when the pcm (powertrain control module) detects an engine idle speed. When the p0506 diagnostic trouble code is stored by the powertrain control module (pcm),. P0506 - Idle Air Control System Rpm Lower Than Expected.
From gmundcars.com
Fixing Lower Than Expected Idle RPM Issues P0506 Code Guide Gmund Cars P0506 - Idle Air Control System Rpm Lower Than Expected When the p0506 diagnostic trouble code is stored by the powertrain control module (pcm), it is an indication that the revolutions per minute (rpm). This means that when the vehicle is at a standstill, the engine is not running at the desired speed. The fault code p0506 indicates that the idle speed of the vehicle is lower than the target. P0506 - Idle Air Control System Rpm Lower Than Expected.
From www.youtube.com
HYUNDAI SANTA FE CODE P0506 P0507 IDLE CONTROL SYSTEM CHECK ENGINE P0506 - Idle Air Control System Rpm Lower Than Expected In this case, the p0506 dtc (diagnostic trouble code) is triggered when the pcm (powertrain control module) detects an engine idle speed. This means that when the vehicle is at a standstill, the engine is not running at the desired speed. The diagnostic trouble code p0506 stands for “idle speed control system (isc) rpm lower than expected”, an issue usually. P0506 - Idle Air Control System Rpm Lower Than Expected.
From mitsubishitechinfo.com
13DTC P0506 Idle Control System RPM Lower Than Expected P0506 - Idle Air Control System Rpm Lower Than Expected The p0506 diagnostic trouble code for volkswagen indicates that the idle air control system's rpm is lower than expected, pointing. This means that when the vehicle is at a standstill, the engine is not running at the desired speed. Diagnostic trouble code (dtc) p0506 stands for “idle air control system rpm lower than expected.” it means that your. The diagnostic. P0506 - Idle Air Control System Rpm Lower Than Expected.
From www.youtube.com
DTC P0506 Overview Idle Air Control System RPM Lower Than Expected P0506 - Idle Air Control System Rpm Lower Than Expected If you have been experiencing lower than expected idle rpm issues with your vehicle, you may have come across the p0506 code. This means that when the vehicle is at a standstill, the engine is not running at the desired speed. In this case, the p0506 dtc (diagnostic trouble code) is triggered when the pcm (powertrain control module) detects an. P0506 - Idle Air Control System Rpm Lower Than Expected.
From www.carparts.com
P0506 Idle Air Control System RPM Lower Than Expected In The Garage P0506 - Idle Air Control System Rpm Lower Than Expected This means that when the vehicle is at a standstill, the engine is not running at the desired speed. If you have been experiencing lower than expected idle rpm issues with your vehicle, you may have come across the p0506 code. This code is a generic powertrain code. The fault code p0506 indicates that the idle speed of the vehicle. P0506 - Idle Air Control System Rpm Lower Than Expected.
From themotorguy.com
Resolving P0506 Idle Control System RPM Lower Than Expected Code in a P0506 - Idle Air Control System Rpm Lower Than Expected When the p0506 diagnostic trouble code is stored by the powertrain control module (pcm), it is an indication that the revolutions per minute (rpm). Diagnostic trouble code (dtc) p0506 stands for “idle air control system rpm lower than expected.” it means that your. The fault code p0506 indicates that the idle speed of the vehicle is lower than the target. P0506 - Idle Air Control System Rpm Lower Than Expected.
From obdcore.com
P0506 Obd2 Code Idle Air Control System RPM Low ObdCore P0506 - Idle Air Control System Rpm Lower Than Expected The p0506 diagnostic trouble code for volkswagen indicates that the idle air control system's rpm is lower than expected, pointing. This code is a generic powertrain code. If you have been experiencing lower than expected idle rpm issues with your vehicle, you may have come across the p0506 code. When the p0506 diagnostic trouble code is stored by the powertrain. P0506 - Idle Air Control System Rpm Lower Than Expected.
From themotorguy.com
Fixing Lower Than Expected Idle RPM Issues P0506 Code The Motor Guy P0506 - Idle Air Control System Rpm Lower Than Expected If you have been experiencing lower than expected idle rpm issues with your vehicle, you may have come across the p0506 code. Diagnostic trouble code (dtc) p0506 stands for “idle air control system rpm lower than expected.” it means that your. When the p0506 diagnostic trouble code is stored by the powertrain control module (pcm), it is an indication that. P0506 - Idle Air Control System Rpm Lower Than Expected.