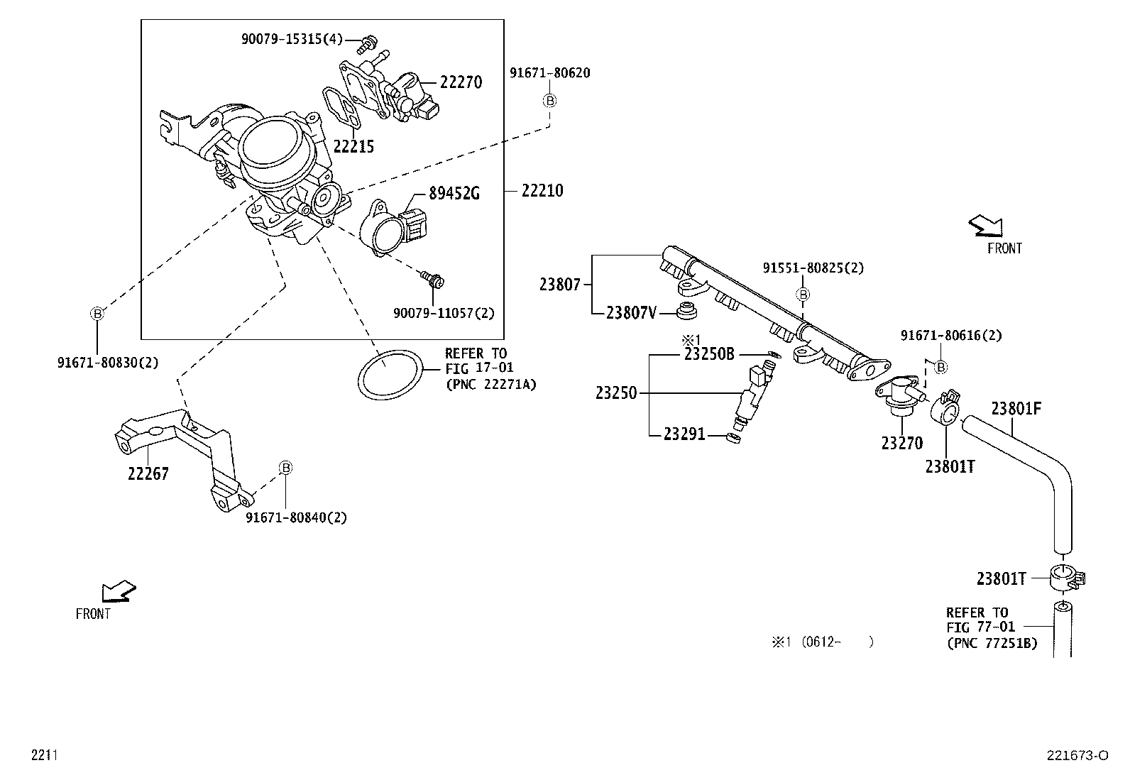
Remove Fuel Pulsation Damper Toyota . remove fuel pressure pulsation damper assembly (a) remove the 2 bolts and fuel pressure pulsation damper assembly. Apply a light coat of. I'm having problem torquing it. Remove the 2 bolts and fuel pressure pulsation damper. Etc.) in 93 toyota pickup 3vze sr5. you should be able to remove the whole fuel rail with the manifold, etc. Then you can take the dampener off. how to install fuel rail pulsation damper (torque spec's. turn the ignition key to off and remove the fuel pump check connector jumper. Check your work one more time to make sure everything is back in place.
from partsouq.com
Etc.) in 93 toyota pickup 3vze sr5. I'm having problem torquing it. Then you can take the dampener off. remove fuel pressure pulsation damper assembly (a) remove the 2 bolts and fuel pressure pulsation damper assembly. Remove the 2 bolts and fuel pressure pulsation damper. how to install fuel rail pulsation damper (torque spec's. turn the ignition key to off and remove the fuel pump check connector jumper. Apply a light coat of. you should be able to remove the whole fuel rail with the manifold, etc. Check your work one more time to make sure everything is back in place.
DAMPER ASSY, FUEL PRESSURE PULSATION 2320746021 Toyota Parts PartSouq
Remove Fuel Pulsation Damper Toyota Remove the 2 bolts and fuel pressure pulsation damper. you should be able to remove the whole fuel rail with the manifold, etc. Remove the 2 bolts and fuel pressure pulsation damper. Check your work one more time to make sure everything is back in place. turn the ignition key to off and remove the fuel pump check connector jumper. Etc.) in 93 toyota pickup 3vze sr5. Then you can take the dampener off. remove fuel pressure pulsation damper assembly (a) remove the 2 bolts and fuel pressure pulsation damper assembly. how to install fuel rail pulsation damper (torque spec's. Apply a light coat of. I'm having problem torquing it.
From www.kuanteautoparts.com
China Fuel Pressure Pulsation Damper Assy For Toyota Manufacturers Remove Fuel Pulsation Damper Toyota Etc.) in 93 toyota pickup 3vze sr5. you should be able to remove the whole fuel rail with the manifold, etc. I'm having problem torquing it. how to install fuel rail pulsation damper (torque spec's. Then you can take the dampener off. Remove the 2 bolts and fuel pressure pulsation damper. turn the ignition key to off. Remove Fuel Pulsation Damper Toyota.
From triospare.com
DAMPER ASSY FUEL PRESSURE PULSATION Toyota Camry 2007 2011 Remove Fuel Pulsation Damper Toyota you should be able to remove the whole fuel rail with the manifold, etc. I'm having problem torquing it. how to install fuel rail pulsation damper (torque spec's. Remove the 2 bolts and fuel pressure pulsation damper. Check your work one more time to make sure everything is back in place. Apply a light coat of. Then you. Remove Fuel Pulsation Damper Toyota.
From www.tsienna.net
Toyota Sienna Service Manual Components Fuel pressure pulsation Remove Fuel Pulsation Damper Toyota Apply a light coat of. Remove the 2 bolts and fuel pressure pulsation damper. Check your work one more time to make sure everything is back in place. I'm having problem torquing it. Etc.) in 93 toyota pickup 3vze sr5. remove fuel pressure pulsation damper assembly (a) remove the 2 bolts and fuel pressure pulsation damper assembly. Then you. Remove Fuel Pulsation Damper Toyota.
From www.trav4.net
Toyota RAV4 (XA40) 20132018 Service Manual Fuel pressure pulsation Remove Fuel Pulsation Damper Toyota I'm having problem torquing it. you should be able to remove the whole fuel rail with the manifold, etc. remove fuel pressure pulsation damper assembly (a) remove the 2 bolts and fuel pressure pulsation damper assembly. Check your work one more time to make sure everything is back in place. how to install fuel rail pulsation damper. Remove Fuel Pulsation Damper Toyota.
From autoparts.rickhendricktoyotasandysprings.com
Fuel Pressure Pulsation Damper Assembly 2327036031 Remove Fuel Pulsation Damper Toyota you should be able to remove the whole fuel rail with the manifold, etc. Then you can take the dampener off. Remove the 2 bolts and fuel pressure pulsation damper. remove fuel pressure pulsation damper assembly (a) remove the 2 bolts and fuel pressure pulsation damper assembly. I'm having problem torquing it. Apply a light coat of. Check. Remove Fuel Pulsation Damper Toyota.
From www.amayama.com
Buy Genuine Toyota 2327041010 (2327041010) Damper Assy, Fuel Pressure Remove Fuel Pulsation Damper Toyota turn the ignition key to off and remove the fuel pump check connector jumper. Etc.) in 93 toyota pickup 3vze sr5. remove fuel pressure pulsation damper assembly (a) remove the 2 bolts and fuel pressure pulsation damper assembly. I'm having problem torquing it. how to install fuel rail pulsation damper (torque spec's. you should be able. Remove Fuel Pulsation Damper Toyota.
From www.partsnext.com
Toyota 2320731021 DAMPER ASSY, FUEL PRESSURE PULSATION Remove Fuel Pulsation Damper Toyota turn the ignition key to off and remove the fuel pump check connector jumper. remove fuel pressure pulsation damper assembly (a) remove the 2 bolts and fuel pressure pulsation damper assembly. how to install fuel rail pulsation damper (torque spec's. Then you can take the dampener off. Apply a light coat of. you should be able. Remove Fuel Pulsation Damper Toyota.
From autoparts.toyota.com
Damper Assembly, Fuel Pressure Pulsation Part 2327036031 Toyota Remove Fuel Pulsation Damper Toyota I'm having problem torquing it. Etc.) in 93 toyota pickup 3vze sr5. you should be able to remove the whole fuel rail with the manifold, etc. Remove the 2 bolts and fuel pressure pulsation damper. Apply a light coat of. how to install fuel rail pulsation damper (torque spec's. remove fuel pressure pulsation damper assembly (a) remove. Remove Fuel Pulsation Damper Toyota.
From www.youtube.com
Leaky fuel pulsation damper Replacement Toyota Camry √ YouTube Remove Fuel Pulsation Damper Toyota Check your work one more time to make sure everything is back in place. Etc.) in 93 toyota pickup 3vze sr5. Then you can take the dampener off. how to install fuel rail pulsation damper (torque spec's. turn the ignition key to off and remove the fuel pump check connector jumper. Remove the 2 bolts and fuel pressure. Remove Fuel Pulsation Damper Toyota.
From toyota-camry.repair-car.com
Toyota Camry Fuel pulsation damper — replacement Remove Fuel Pulsation Damper Toyota Apply a light coat of. Then you can take the dampener off. turn the ignition key to off and remove the fuel pump check connector jumper. how to install fuel rail pulsation damper (torque spec's. Remove the 2 bolts and fuel pressure pulsation damper. I'm having problem torquing it. Check your work one more time to make sure. Remove Fuel Pulsation Damper Toyota.
From www.tundrasolutions.com
Fuel pulsation damper removal special tool required? Toyota Tundra Remove Fuel Pulsation Damper Toyota I'm having problem torquing it. remove fuel pressure pulsation damper assembly (a) remove the 2 bolts and fuel pressure pulsation damper assembly. Check your work one more time to make sure everything is back in place. how to install fuel rail pulsation damper (torque spec's. Apply a light coat of. Remove the 2 bolts and fuel pressure pulsation. Remove Fuel Pulsation Damper Toyota.
From www.tsienna.net
Toyota Sienna Service Manual Components Fuel pressure pulsation Remove Fuel Pulsation Damper Toyota Remove the 2 bolts and fuel pressure pulsation damper. how to install fuel rail pulsation damper (torque spec's. Then you can take the dampener off. remove fuel pressure pulsation damper assembly (a) remove the 2 bolts and fuel pressure pulsation damper assembly. I'm having problem torquing it. you should be able to remove the whole fuel rail. Remove Fuel Pulsation Damper Toyota.
From www.rav4world.com
Remove fuel line from pulsation dampener Toyota RAV4 Forums Remove Fuel Pulsation Damper Toyota Apply a light coat of. Then you can take the dampener off. you should be able to remove the whole fuel rail with the manifold, etc. I'm having problem torquing it. turn the ignition key to off and remove the fuel pump check connector jumper. Check your work one more time to make sure everything is back in. Remove Fuel Pulsation Damper Toyota.
From www.ebay.com
TOYOTA LEXUS GENUINE OEM FUEL INJECTION PRESSURE PULSATION DAMPER 23270 Remove Fuel Pulsation Damper Toyota Etc.) in 93 toyota pickup 3vze sr5. turn the ignition key to off and remove the fuel pump check connector jumper. Then you can take the dampener off. remove fuel pressure pulsation damper assembly (a) remove the 2 bolts and fuel pressure pulsation damper assembly. I'm having problem torquing it. Check your work one more time to make. Remove Fuel Pulsation Damper Toyota.
From justjdmimports.com
Toyota AE86 NEW 4AG 16V Fuel Pulsation Dampener Just JDM Imports Remove Fuel Pulsation Damper Toyota you should be able to remove the whole fuel rail with the manifold, etc. turn the ignition key to off and remove the fuel pump check connector jumper. Apply a light coat of. remove fuel pressure pulsation damper assembly (a) remove the 2 bolts and fuel pressure pulsation damper assembly. Check your work one more time to. Remove Fuel Pulsation Damper Toyota.
From www.superspares.com.au
Fuel Pulsation Dampener for Toyota Hilux Camry XV10 Avalon Prado RZJ12 Remove Fuel Pulsation Damper Toyota Remove the 2 bolts and fuel pressure pulsation damper. turn the ignition key to off and remove the fuel pump check connector jumper. Then you can take the dampener off. I'm having problem torquing it. Check your work one more time to make sure everything is back in place. Etc.) in 93 toyota pickup 3vze sr5. you should. Remove Fuel Pulsation Damper Toyota.
From yoshiparts.com
23270B1010 Damper Assy, Fuel Pressure Pulsation Toyota YoshiParts Remove Fuel Pulsation Damper Toyota remove fuel pressure pulsation damper assembly (a) remove the 2 bolts and fuel pressure pulsation damper assembly. you should be able to remove the whole fuel rail with the manifold, etc. Etc.) in 93 toyota pickup 3vze sr5. Apply a light coat of. Then you can take the dampener off. how to install fuel rail pulsation damper. Remove Fuel Pulsation Damper Toyota.
From toyota-tacoma.repair-car.com
Fuel rail and injectors — removal and installation Toyota Remove Fuel Pulsation Damper Toyota turn the ignition key to off and remove the fuel pump check connector jumper. Check your work one more time to make sure everything is back in place. Etc.) in 93 toyota pickup 3vze sr5. Apply a light coat of. Then you can take the dampener off. Remove the 2 bolts and fuel pressure pulsation damper. you should. Remove Fuel Pulsation Damper Toyota.
From www.tovenza.com
Toyota Venza Components Fuel Pressure Pulsation Damper Service Manual Remove Fuel Pulsation Damper Toyota Check your work one more time to make sure everything is back in place. Remove the 2 bolts and fuel pressure pulsation damper. Etc.) in 93 toyota pickup 3vze sr5. Then you can take the dampener off. Apply a light coat of. you should be able to remove the whole fuel rail with the manifold, etc. how to. Remove Fuel Pulsation Damper Toyota.
From autoparts.toyota.com
Fuel Pressure Pulsation Damper Assembly 2327031140 Remove Fuel Pulsation Damper Toyota I'm having problem torquing it. Then you can take the dampener off. remove fuel pressure pulsation damper assembly (a) remove the 2 bolts and fuel pressure pulsation damper assembly. you should be able to remove the whole fuel rail with the manifold, etc. turn the ignition key to off and remove the fuel pump check connector jumper.. Remove Fuel Pulsation Damper Toyota.
From toyota-camry.repair-car.com
Toyota Camry Fuel pulsation damper — replacement Remove Fuel Pulsation Damper Toyota I'm having problem torquing it. how to install fuel rail pulsation damper (torque spec's. you should be able to remove the whole fuel rail with the manifold, etc. remove fuel pressure pulsation damper assembly (a) remove the 2 bolts and fuel pressure pulsation damper assembly. Check your work one more time to make sure everything is back. Remove Fuel Pulsation Damper Toyota.
From www.partsnext.com
Toyota 2320731021 DAMPER ASSY, FUEL PRESSURE PULSATION Remove Fuel Pulsation Damper Toyota you should be able to remove the whole fuel rail with the manifold, etc. I'm having problem torquing it. remove fuel pressure pulsation damper assembly (a) remove the 2 bolts and fuel pressure pulsation damper assembly. turn the ignition key to off and remove the fuel pump check connector jumper. Remove the 2 bolts and fuel pressure. Remove Fuel Pulsation Damper Toyota.
From www.partsnext.com
Toyota 2320731021 DAMPER ASSY, FUEL PRESSURE PULSATION Remove Fuel Pulsation Damper Toyota I'm having problem torquing it. Etc.) in 93 toyota pickup 3vze sr5. you should be able to remove the whole fuel rail with the manifold, etc. Then you can take the dampener off. Apply a light coat of. Remove the 2 bolts and fuel pressure pulsation damper. how to install fuel rail pulsation damper (torque spec's. remove. Remove Fuel Pulsation Damper Toyota.
From www.trav4.net
Toyota RAV4 (XA40) 20132018 Service Manual Fuel pressure pulsation Remove Fuel Pulsation Damper Toyota turn the ignition key to off and remove the fuel pump check connector jumper. Check your work one more time to make sure everything is back in place. remove fuel pressure pulsation damper assembly (a) remove the 2 bolts and fuel pressure pulsation damper assembly. how to install fuel rail pulsation damper (torque spec's. Apply a light. Remove Fuel Pulsation Damper Toyota.
From triospare.com
DAMPER ASSY FUEL PRESSURE PULSATION Toyota Camry 2012 2017 Remove Fuel Pulsation Damper Toyota Etc.) in 93 toyota pickup 3vze sr5. remove fuel pressure pulsation damper assembly (a) remove the 2 bolts and fuel pressure pulsation damper assembly. I'm having problem torquing it. Remove the 2 bolts and fuel pressure pulsation damper. how to install fuel rail pulsation damper (torque spec's. turn the ignition key to off and remove the fuel. Remove Fuel Pulsation Damper Toyota.
From www.amayama.com
Buy Genuine Toyota 2327028050 (2327028050) Damper Assy, Fuel Pressure Remove Fuel Pulsation Damper Toyota I'm having problem torquing it. Apply a light coat of. how to install fuel rail pulsation damper (torque spec's. Check your work one more time to make sure everything is back in place. Remove the 2 bolts and fuel pressure pulsation damper. remove fuel pressure pulsation damper assembly (a) remove the 2 bolts and fuel pressure pulsation damper. Remove Fuel Pulsation Damper Toyota.
From partsouq.com
DAMPER ASSY, FUEL PRESSURE PULSATION 2320720010 Toyota Parts PartSouq Remove Fuel Pulsation Damper Toyota you should be able to remove the whole fuel rail with the manifold, etc. Remove the 2 bolts and fuel pressure pulsation damper. Apply a light coat of. Then you can take the dampener off. how to install fuel rail pulsation damper (torque spec's. remove fuel pressure pulsation damper assembly (a) remove the 2 bolts and fuel. Remove Fuel Pulsation Damper Toyota.
From parts.toyota.com
1985 Toyota Truck Extra Cab SR5 GLX 2.4L A/T Damper assembly, fuel Remove Fuel Pulsation Damper Toyota I'm having problem torquing it. how to install fuel rail pulsation damper (torque spec's. you should be able to remove the whole fuel rail with the manifold, etc. Then you can take the dampener off. turn the ignition key to off and remove the fuel pump check connector jumper. remove fuel pressure pulsation damper assembly (a). Remove Fuel Pulsation Damper Toyota.
From www.tundrasolutions.com
Fuel pulsation damper removal special tool required? Toyota Tundra Remove Fuel Pulsation Damper Toyota turn the ignition key to off and remove the fuel pump check connector jumper. you should be able to remove the whole fuel rail with the manifold, etc. Apply a light coat of. Remove the 2 bolts and fuel pressure pulsation damper. Etc.) in 93 toyota pickup 3vze sr5. Then you can take the dampener off. remove. Remove Fuel Pulsation Damper Toyota.
From partsouq.com
DAMPER ASSY, FUEL PRESSURE PULSATION 2320746021 Toyota Parts PartSouq Remove Fuel Pulsation Damper Toyota I'm having problem torquing it. Remove the 2 bolts and fuel pressure pulsation damper. you should be able to remove the whole fuel rail with the manifold, etc. Then you can take the dampener off. how to install fuel rail pulsation damper (torque spec's. remove fuel pressure pulsation damper assembly (a) remove the 2 bolts and fuel. Remove Fuel Pulsation Damper Toyota.
From www.partsnext.com
Toyota 2327028021 DAMPER ASSY, FUEL PRESSURE PULSATION Remove Fuel Pulsation Damper Toyota how to install fuel rail pulsation damper (torque spec's. Check your work one more time to make sure everything is back in place. Then you can take the dampener off. you should be able to remove the whole fuel rail with the manifold, etc. I'm having problem torquing it. Etc.) in 93 toyota pickup 3vze sr5. Apply a. Remove Fuel Pulsation Damper Toyota.
From partsouq.com
DAMPER ASSY, FUEL PRESSURE PULSATION 2327028021 Toyota Parts PartSouq Remove Fuel Pulsation Damper Toyota Then you can take the dampener off. how to install fuel rail pulsation damper (torque spec's. turn the ignition key to off and remove the fuel pump check connector jumper. Remove the 2 bolts and fuel pressure pulsation damper. you should be able to remove the whole fuel rail with the manifold, etc. Check your work one. Remove Fuel Pulsation Damper Toyota.
From yoshiparts.com
23270B1010 Damper Assy, Fuel Pressure Pulsation Toyota YoshiParts Remove Fuel Pulsation Damper Toyota remove fuel pressure pulsation damper assembly (a) remove the 2 bolts and fuel pressure pulsation damper assembly. Apply a light coat of. Check your work one more time to make sure everything is back in place. how to install fuel rail pulsation damper (torque spec's. Remove the 2 bolts and fuel pressure pulsation damper. Then you can take. Remove Fuel Pulsation Damper Toyota.
From www.tovenza.com
Toyota Venza Components Fuel Pressure Pulsation Damper Service Manual Remove Fuel Pulsation Damper Toyota Then you can take the dampener off. how to install fuel rail pulsation damper (torque spec's. Remove the 2 bolts and fuel pressure pulsation damper. turn the ignition key to off and remove the fuel pump check connector jumper. Check your work one more time to make sure everything is back in place. you should be able. Remove Fuel Pulsation Damper Toyota.
From www.garagewhifbitz.co.uk
Garage Whifbitz Supra Fuel Pulsation Dampener Removal Pipe Garage Remove Fuel Pulsation Damper Toyota turn the ignition key to off and remove the fuel pump check connector jumper. remove fuel pressure pulsation damper assembly (a) remove the 2 bolts and fuel pressure pulsation damper assembly. Remove the 2 bolts and fuel pressure pulsation damper. you should be able to remove the whole fuel rail with the manifold, etc. Check your work. Remove Fuel Pulsation Damper Toyota.