Np300 Starter Relay Location . Np300 2019 head unit connections nissan navara net. #1 · dec 20, 2023. If anyone wants it i have the full np300 workshop manual and have combined into 1 full document of 6888 pages. Fuse boxes change across years, pick the year of your vehicle: 2008 nissan np300 fuse box diagram. If you own a np300 and. 37 rows fuse box diagram (fuse layout), location, and assignment of fuses and relays nissan frontier, navara, np300, pathfinder (d22) (1997. 16 posts · joined 2023. Explore interactive fuse box and relay diagrams for the nissan np300. The nissan np300, also known as the nissan navara, is a popular pickup truck that has been in production since 1997. Link to my drop box. This np300 has 2 different fuse boxes: I'm trying to replace the starter relay in my 2018 titan to hopefully alleviate the starting. Wiring nissan np300 navara asia right wheel.
from motoincontroepoca.com
2008 nissan np300 fuse box diagram. I'm trying to replace the starter relay in my 2018 titan to hopefully alleviate the starting. #1 · dec 20, 2023. If you own a np300 and. 37 rows fuse box diagram (fuse layout), location, and assignment of fuses and relays nissan frontier, navara, np300, pathfinder (d22) (1997. Wiring nissan np300 navara asia right wheel. If anyone wants it i have the full np300 workshop manual and have combined into 1 full document of 6888 pages. This np300 has 2 different fuse boxes: 16 posts · joined 2023. Np300 2019 head unit connections nissan navara net.
Schéma de fusibles et relais pour Nissan Xterra (N50; 20052015
Np300 Starter Relay Location This np300 has 2 different fuse boxes: Fuse boxes change across years, pick the year of your vehicle: This np300 has 2 different fuse boxes: Wiring nissan np300 navara asia right wheel. Link to my drop box. If you own a np300 and. 16 posts · joined 2023. If anyone wants it i have the full np300 workshop manual and have combined into 1 full document of 6888 pages. Np300 2019 head unit connections nissan navara net. Explore interactive fuse box and relay diagrams for the nissan np300. I'm trying to replace the starter relay in my 2018 titan to hopefully alleviate the starting. #1 · dec 20, 2023. The nissan np300, also known as the nissan navara, is a popular pickup truck that has been in production since 1997. 2008 nissan np300 fuse box diagram. 37 rows fuse box diagram (fuse layout), location, and assignment of fuses and relays nissan frontier, navara, np300, pathfinder (d22) (1997.
From www.proxyparts.com
Start/Stop relay Nissan NP 300 Navara 2.3 dCi 16V 251155JK0B Np300 Starter Relay Location 2008 nissan np300 fuse box diagram. #1 · dec 20, 2023. The nissan np300, also known as the nissan navara, is a popular pickup truck that has been in production since 1997. Link to my drop box. 37 rows fuse box diagram (fuse layout), location, and assignment of fuses and relays nissan frontier, navara, np300, pathfinder (d22) (1997. Wiring nissan. Np300 Starter Relay Location.
From www.youtube.com
Motor NISSAN KA24 /Diagrama electrico ka24 NISSAN YouTube Np300 Starter Relay Location Explore interactive fuse box and relay diagrams for the nissan np300. If anyone wants it i have the full np300 workshop manual and have combined into 1 full document of 6888 pages. If you own a np300 and. 16 posts · joined 2023. Fuse boxes change across years, pick the year of your vehicle: The nissan np300, also known as. Np300 Starter Relay Location.
From technoanswers.blogspot.com
Technical Car Experts Answers everything you need where is starter Np300 Starter Relay Location If anyone wants it i have the full np300 workshop manual and have combined into 1 full document of 6888 pages. Fuse boxes change across years, pick the year of your vehicle: Link to my drop box. The nissan np300, also known as the nissan navara, is a popular pickup truck that has been in production since 1997. Np300 2019. Np300 Starter Relay Location.
From mechanicliguster46k.z21.web.core.windows.net
Diagram Of Starter Np300 Starter Relay Location Explore interactive fuse box and relay diagrams for the nissan np300. 2008 nissan np300 fuse box diagram. Fuse boxes change across years, pick the year of your vehicle: Wiring nissan np300 navara asia right wheel. If anyone wants it i have the full np300 workshop manual and have combined into 1 full document of 6888 pages. #1 · dec 20,. Np300 Starter Relay Location.
From www.carparts.com
Symptoms of a Bad A/C Compressor Relay In The Garage with Np300 Starter Relay Location 37 rows fuse box diagram (fuse layout), location, and assignment of fuses and relays nissan frontier, navara, np300, pathfinder (d22) (1997. If you own a np300 and. This np300 has 2 different fuse boxes: The nissan np300, also known as the nissan navara, is a popular pickup truck that has been in production since 1997. 16 posts · joined 2023.. Np300 Starter Relay Location.
From diagramlistsetose.z21.web.core.windows.net
How To Replace A Starter Relay Np300 Starter Relay Location The nissan np300, also known as the nissan navara, is a popular pickup truck that has been in production since 1997. Np300 2019 head unit connections nissan navara net. 2008 nissan np300 fuse box diagram. Fuse boxes change across years, pick the year of your vehicle: #1 · dec 20, 2023. This np300 has 2 different fuse boxes: 16 posts. Np300 Starter Relay Location.
From www.youtube.com
DIY Nissan Navara NP300 D23 Fuel Filter Replacement YouTube Np300 Starter Relay Location #1 · dec 20, 2023. If you own a np300 and. The nissan np300, also known as the nissan navara, is a popular pickup truck that has been in production since 1997. Fuse boxes change across years, pick the year of your vehicle: Wiring nissan np300 navara asia right wheel. Explore interactive fuse box and relay diagrams for the nissan. Np300 Starter Relay Location.
From www.youtube.com
localización Caja de fusibles diagrama fuse box location diagrams Np300 Starter Relay Location If you own a np300 and. Fuse boxes change across years, pick the year of your vehicle: I'm trying to replace the starter relay in my 2018 titan to hopefully alleviate the starting. This np300 has 2 different fuse boxes: 37 rows fuse box diagram (fuse layout), location, and assignment of fuses and relays nissan frontier, navara, np300, pathfinder (d22). Np300 Starter Relay Location.
From www.tundras.com
IG1 No. 1 Relay location? Toyota Tundra Forum Np300 Starter Relay Location 37 rows fuse box diagram (fuse layout), location, and assignment of fuses and relays nissan frontier, navara, np300, pathfinder (d22) (1997. 2008 nissan np300 fuse box diagram. #1 · dec 20, 2023. 16 posts · joined 2023. The nissan np300, also known as the nissan navara, is a popular pickup truck that has been in production since 1997. If you. Np300 Starter Relay Location.
From www.2carpros.com
The Starter Relay Does Not Click When Key Is Turned On? Np300 Starter Relay Location 37 rows fuse box diagram (fuse layout), location, and assignment of fuses and relays nissan frontier, navara, np300, pathfinder (d22) (1997. Explore interactive fuse box and relay diagrams for the nissan np300. #1 · dec 20, 2023. I'm trying to replace the starter relay in my 2018 titan to hopefully alleviate the starting. The nissan np300, also known as the. Np300 Starter Relay Location.
From www.justanswer.com
Where is the fuel pump relay located in the 2003 nissan 350z Np300 Starter Relay Location 16 posts · joined 2023. This np300 has 2 different fuse boxes: 2008 nissan np300 fuse box diagram. If anyone wants it i have the full np300 workshop manual and have combined into 1 full document of 6888 pages. Fuse boxes change across years, pick the year of your vehicle: #1 · dec 20, 2023. If you own a np300. Np300 Starter Relay Location.
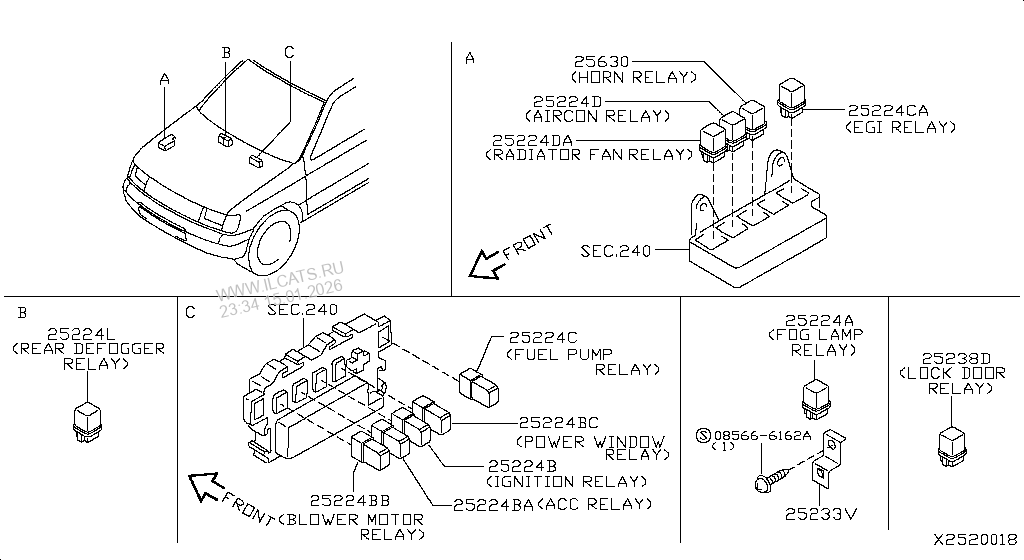
From www.ilcats.ru
RELAY NISSAN NP300 PICKUP Np300 Starter Relay Location Np300 2019 head unit connections nissan navara net. I'm trying to replace the starter relay in my 2018 titan to hopefully alleviate the starting. This np300 has 2 different fuse boxes: 2008 nissan np300 fuse box diagram. Wiring nissan np300 navara asia right wheel. If you own a np300 and. If anyone wants it i have the full np300 workshop. Np300 Starter Relay Location.
From www.f150forum.com
08 F150 Starter Relay Update !! Ford F150 Forum Community of Np300 Starter Relay Location If you own a np300 and. Explore interactive fuse box and relay diagrams for the nissan np300. Fuse boxes change across years, pick the year of your vehicle: I'm trying to replace the starter relay in my 2018 titan to hopefully alleviate the starting. Np300 2019 head unit connections nissan navara net. 2008 nissan np300 fuse box diagram. #1 ·. Np300 Starter Relay Location.
From www.youtube.com
Nissan starter replacement YouTube Np300 Starter Relay Location Fuse boxes change across years, pick the year of your vehicle: I'm trying to replace the starter relay in my 2018 titan to hopefully alleviate the starting. 2008 nissan np300 fuse box diagram. #1 · dec 20, 2023. Np300 2019 head unit connections nissan navara net. Wiring nissan np300 navara asia right wheel. Link to my drop box. This np300. Np300 Starter Relay Location.
From www.proxyparts.com
Start/Stop relay Nissan NP 300 Navara 2.3 dCi 16V 251155JK0B Np300 Starter Relay Location If you own a np300 and. Fuse boxes change across years, pick the year of your vehicle: 37 rows fuse box diagram (fuse layout), location, and assignment of fuses and relays nissan frontier, navara, np300, pathfinder (d22) (1997. #1 · dec 20, 2023. This np300 has 2 different fuse boxes: Explore interactive fuse box and relay diagrams for the nissan. Np300 Starter Relay Location.
From www.youtube.com
Nissan Sentra SR Starter Removal DIY How To Remove The Starter from Np300 Starter Relay Location 16 posts · joined 2023. If you own a np300 and. 37 rows fuse box diagram (fuse layout), location, and assignment of fuses and relays nissan frontier, navara, np300, pathfinder (d22) (1997. Link to my drop box. 2008 nissan np300 fuse box diagram. If anyone wants it i have the full np300 workshop manual and have combined into 1 full. Np300 Starter Relay Location.
From www.toyotanation.com
What does the Integration relay do? Toyota Nation Forum Np300 Starter Relay Location Wiring nissan np300 navara asia right wheel. 37 rows fuse box diagram (fuse layout), location, and assignment of fuses and relays nissan frontier, navara, np300, pathfinder (d22) (1997. If anyone wants it i have the full np300 workshop manual and have combined into 1 full document of 6888 pages. The nissan np300, also known as the nissan navara, is a. Np300 Starter Relay Location.
From www.2carpros.com
Relay Starter Replacement We Bought This Car Used with 54,000 Np300 Starter Relay Location This np300 has 2 different fuse boxes: If anyone wants it i have the full np300 workshop manual and have combined into 1 full document of 6888 pages. 16 posts · joined 2023. #1 · dec 20, 2023. I'm trying to replace the starter relay in my 2018 titan to hopefully alleviate the starting. 2008 nissan np300 fuse box diagram.. Np300 Starter Relay Location.
From www.nissanpartsdeal.com
2523079910 Genuine Nissan 2523079910 RELAY Np300 Starter Relay Location The nissan np300, also known as the nissan navara, is a popular pickup truck that has been in production since 1997. Fuse boxes change across years, pick the year of your vehicle: 2008 nissan np300 fuse box diagram. I'm trying to replace the starter relay in my 2018 titan to hopefully alleviate the starting. 37 rows fuse box diagram (fuse. Np300 Starter Relay Location.
From www.justanswer.com
Can not find the starter relay for my 2015 nissan nv200. How much is it Np300 Starter Relay Location Fuse boxes change across years, pick the year of your vehicle: Wiring nissan np300 navara asia right wheel. I'm trying to replace the starter relay in my 2018 titan to hopefully alleviate the starting. #1 · dec 20, 2023. 16 posts · joined 2023. If anyone wants it i have the full np300 workshop manual and have combined into 1. Np300 Starter Relay Location.
From www.2carpros.com
Where Is the Starter Relay Located? There May Be a Click From Np300 Starter Relay Location Np300 2019 head unit connections nissan navara net. Link to my drop box. 37 rows fuse box diagram (fuse layout), location, and assignment of fuses and relays nissan frontier, navara, np300, pathfinder (d22) (1997. I'm trying to replace the starter relay in my 2018 titan to hopefully alleviate the starting. 16 posts · joined 2023. If you own a np300. Np300 Starter Relay Location.
From www.justanswer.com
Nissan Frontier Where is the clutch interlock relay in my Np300 Starter Relay Location 37 rows fuse box diagram (fuse layout), location, and assignment of fuses and relays nissan frontier, navara, np300, pathfinder (d22) (1997. 16 posts · joined 2023. If anyone wants it i have the full np300 workshop manual and have combined into 1 full document of 6888 pages. Fuse boxes change across years, pick the year of your vehicle: #1 ·. Np300 Starter Relay Location.
From parts.nissan.ca
25230C9915 Relay 1M1B. Relay Auto Choke. Relay EGI. Relay EGR CUT Np300 Starter Relay Location If anyone wants it i have the full np300 workshop manual and have combined into 1 full document of 6888 pages. If you own a np300 and. 2008 nissan np300 fuse box diagram. The nissan np300, also known as the nissan navara, is a popular pickup truck that has been in production since 1997. Fuse boxes change across years, pick. Np300 Starter Relay Location.
From diy-electronicsprojects.blogspot.com
where is the starter relay located Starter relay location where’s the Np300 Starter Relay Location 2008 nissan np300 fuse box diagram. Wiring nissan np300 navara asia right wheel. 37 rows fuse box diagram (fuse layout), location, and assignment of fuses and relays nissan frontier, navara, np300, pathfinder (d22) (1997. Fuse boxes change across years, pick the year of your vehicle: If you own a np300 and. If anyone wants it i have the full np300. Np300 Starter Relay Location.
From www.nissan-navara.net
Help please buzzing relay Np300 Starter Relay Location Np300 2019 head unit connections nissan navara net. Wiring nissan np300 navara asia right wheel. 16 posts · joined 2023. Explore interactive fuse box and relay diagrams for the nissan np300. Fuse boxes change across years, pick the year of your vehicle: I'm trying to replace the starter relay in my 2018 titan to hopefully alleviate the starting. #1 ·. Np300 Starter Relay Location.
From www.youtube.com
INSTALLING A SMART START SYSTEM ON MY NISSAN NAVARA NP300 (WITH Np300 Starter Relay Location Fuse boxes change across years, pick the year of your vehicle: 37 rows fuse box diagram (fuse layout), location, and assignment of fuses and relays nissan frontier, navara, np300, pathfinder (d22) (1997. I'm trying to replace the starter relay in my 2018 titan to hopefully alleviate the starting. If you own a np300 and. 2008 nissan np300 fuse box diagram.. Np300 Starter Relay Location.
From manualengineguzman.z13.web.core.windows.net
1997 Nissan Pickup Radio Wiring Diagram Np300 Starter Relay Location 16 posts · joined 2023. 37 rows fuse box diagram (fuse layout), location, and assignment of fuses and relays nissan frontier, navara, np300, pathfinder (d22) (1997. Explore interactive fuse box and relay diagrams for the nissan np300. Fuse boxes change across years, pick the year of your vehicle: #1 · dec 20, 2023. If you own a np300 and. This. Np300 Starter Relay Location.
From www.wiringview.com
Nissan Navara Np300 Fuse Box Diagram » Wiring Diagram Np300 Starter Relay Location If anyone wants it i have the full np300 workshop manual and have combined into 1 full document of 6888 pages. Explore interactive fuse box and relay diagrams for the nissan np300. This np300 has 2 different fuse boxes: 16 posts · joined 2023. Wiring nissan np300 navara asia right wheel. The nissan np300, also known as the nissan navara,. Np300 Starter Relay Location.
From www.newbeetle.org
Starter relay circuit testing VW Beetle Forum Np300 Starter Relay Location Np300 2019 head unit connections nissan navara net. Link to my drop box. I'm trying to replace the starter relay in my 2018 titan to hopefully alleviate the starting. 37 rows fuse box diagram (fuse layout), location, and assignment of fuses and relays nissan frontier, navara, np300, pathfinder (d22) (1997. Fuse boxes change across years, pick the year of your. Np300 Starter Relay Location.
From www.2carpros.com
Starter Relay Location? I Need to Replace the Starter Relay and I... Np300 Starter Relay Location 2008 nissan np300 fuse box diagram. Fuse boxes change across years, pick the year of your vehicle: #1 · dec 20, 2023. Link to my drop box. The nissan np300, also known as the nissan navara, is a popular pickup truck that has been in production since 1997. 16 posts · joined 2023. If anyone wants it i have the. Np300 Starter Relay Location.
From www.titanxdforum.com
Fuse and relay locations Nissan Titan XD Forum Np300 Starter Relay Location If anyone wants it i have the full np300 workshop manual and have combined into 1 full document of 6888 pages. This np300 has 2 different fuse boxes: Wiring nissan np300 navara asia right wheel. Explore interactive fuse box and relay diagrams for the nissan np300. If you own a np300 and. 37 rows fuse box diagram (fuse layout), location,. Np300 Starter Relay Location.
From www.clubwrx.net
Starter relay, 2002 Impreza WRXthere are no good answers Subaru Np300 Starter Relay Location Explore interactive fuse box and relay diagrams for the nissan np300. 37 rows fuse box diagram (fuse layout), location, and assignment of fuses and relays nissan frontier, navara, np300, pathfinder (d22) (1997. Fuse boxes change across years, pick the year of your vehicle: Link to my drop box. Wiring nissan np300 navara asia right wheel. If anyone wants it i. Np300 Starter Relay Location.
From partsouq.com
BODY ELECTRICAL Nissan NP300 FRONTIER 05.2015 D23X Parts Catalogs Np300 Starter Relay Location Explore interactive fuse box and relay diagrams for the nissan np300. Np300 2019 head unit connections nissan navara net. This np300 has 2 different fuse boxes: 16 posts · joined 2023. Link to my drop box. Wiring nissan np300 navara asia right wheel. If you own a np300 and. 2008 nissan np300 fuse box diagram. The nissan np300, also known. Np300 Starter Relay Location.
From motoincontroepoca.com
Schéma de fusibles et relais pour Nissan Xterra (N50; 20052015 Np300 Starter Relay Location If you own a np300 and. 37 rows fuse box diagram (fuse layout), location, and assignment of fuses and relays nissan frontier, navara, np300, pathfinder (d22) (1997. Link to my drop box. This np300 has 2 different fuse boxes: The nissan np300, also known as the nissan navara, is a popular pickup truck that has been in production since 1997.. Np300 Starter Relay Location.
From wiringdiagram.2bitboer.com
Motorcycle Starter Relay Wiring Diagram Wiring Diagram Np300 Starter Relay Location Np300 2019 head unit connections nissan navara net. 2008 nissan np300 fuse box diagram. Explore interactive fuse box and relay diagrams for the nissan np300. Fuse boxes change across years, pick the year of your vehicle: 37 rows fuse box diagram (fuse layout), location, and assignment of fuses and relays nissan frontier, navara, np300, pathfinder (d22) (1997. Wiring nissan np300. Np300 Starter Relay Location.