Weed Eater Xt30D Manual . View and download weed eater xt300 instruction manual online. Find the user manual you need for your lawn and garden product and more at manualsonline. Find oem weed eater trimmer parts, model diagrams, manuals, videos, expert repair help, and more for your xt30d weed eater trimmer on. Shop oem replacement parts by symptoms or model diagrams for your weed eater xt30d gas trimmer! Manuals and user guides for weed eater xt series. A complete guide to your xt30d weed eater trimmer at partselect. Xt30d gas trimmerpage 4 of 5 power unit (continued) xt30d gas trimmerpage 5 of 5 power unit (continued) ref # part number. We have 5 weed eater xt series manuals available for free pdf download: Need to fix your weed eater string trimmer xt30d? Use our xt30d parts, diagrams, manuals, and videos to make your repair easy. Weed eater instruction manual trimmer xt300.
from www.partswarehouse.com
View and download weed eater xt300 instruction manual online. Manuals and user guides for weed eater xt series. Need to fix your weed eater string trimmer xt30d? Weed eater instruction manual trimmer xt300. Xt30d gas trimmerpage 4 of 5 power unit (continued) xt30d gas trimmerpage 5 of 5 power unit (continued) ref # part number. Find oem weed eater trimmer parts, model diagrams, manuals, videos, expert repair help, and more for your xt30d weed eater trimmer on. Shop oem replacement parts by symptoms or model diagrams for your weed eater xt30d gas trimmer! Find the user manual you need for your lawn and garden product and more at manualsonline. A complete guide to your xt30d weed eater trimmer at partselect. Use our xt30d parts, diagrams, manuals, and videos to make your repair easy.
Weed Eater XT30D Gas Trimmer
Weed Eater Xt30D Manual View and download weed eater xt300 instruction manual online. Find oem weed eater trimmer parts, model diagrams, manuals, videos, expert repair help, and more for your xt30d weed eater trimmer on. Find the user manual you need for your lawn and garden product and more at manualsonline. Xt30d gas trimmerpage 4 of 5 power unit (continued) xt30d gas trimmerpage 5 of 5 power unit (continued) ref # part number. Need to fix your weed eater string trimmer xt30d? View and download weed eater xt300 instruction manual online. Weed eater instruction manual trimmer xt300. Shop oem replacement parts by symptoms or model diagrams for your weed eater xt30d gas trimmer! Use our xt30d parts, diagrams, manuals, and videos to make your repair easy. A complete guide to your xt30d weed eater trimmer at partselect. Manuals and user guides for weed eater xt series. We have 5 weed eater xt series manuals available for free pdf download:
From www.manualslib.com
WEED EATER 545137264 INSTRUCTION MANUAL Pdf Download ManualsLib Weed Eater Xt30D Manual Need to fix your weed eater string trimmer xt30d? Xt30d gas trimmerpage 4 of 5 power unit (continued) xt30d gas trimmerpage 5 of 5 power unit (continued) ref # part number. Weed eater instruction manual trimmer xt300. Find oem weed eater trimmer parts, model diagrams, manuals, videos, expert repair help, and more for your xt30d weed eater trimmer on. Shop. Weed Eater Xt30D Manual.
From atelier-yuwa.ciao.jp
CRAFTSMAN WEEDWACKER OPERATOR'S MANUAL Pdf Download ManualsLib Weed Eater Xt30D Manual Use our xt30d parts, diagrams, manuals, and videos to make your repair easy. Find the user manual you need for your lawn and garden product and more at manualsonline. Manuals and user guides for weed eater xt series. Shop oem replacement parts by symptoms or model diagrams for your weed eater xt30d gas trimmer! A complete guide to your xt30d. Weed Eater Xt30D Manual.
From manualzz.com
Weed Eater XT Series Operator`s manual Manualzz Weed Eater Xt30D Manual Use our xt30d parts, diagrams, manuals, and videos to make your repair easy. Shop oem replacement parts by symptoms or model diagrams for your weed eater xt30d gas trimmer! Xt30d gas trimmerpage 4 of 5 power unit (continued) xt30d gas trimmerpage 5 of 5 power unit (continued) ref # part number. Find the user manual you need for your lawn. Weed Eater Xt30D Manual.
From www.ebth.com
Weed Eater FeatherLite Gas Powered String Trimmer EBTH Weed Eater Xt30D Manual Manuals and user guides for weed eater xt series. Xt30d gas trimmerpage 4 of 5 power unit (continued) xt30d gas trimmerpage 5 of 5 power unit (continued) ref # part number. View and download weed eater xt300 instruction manual online. A complete guide to your xt30d weed eater trimmer at partselect. Need to fix your weed eater string trimmer xt30d?. Weed Eater Xt30D Manual.
From weedeaterdirect.com
Weed Eater Manuals, Care Guides, and Literature Parts Weed Eater Xt30D Manual Need to fix your weed eater string trimmer xt30d? Xt30d gas trimmerpage 4 of 5 power unit (continued) xt30d gas trimmerpage 5 of 5 power unit (continued) ref # part number. View and download weed eater xt300 instruction manual online. Shop oem replacement parts by symptoms or model diagrams for your weed eater xt30d gas trimmer! Find oem weed eater. Weed Eater Xt30D Manual.
From usermanual.wiki
Weed Eater 960240001 User Manual RIDING MOWER Manuals And Guides 1009827L Weed Eater Xt30D Manual A complete guide to your xt30d weed eater trimmer at partselect. View and download weed eater xt300 instruction manual online. Need to fix your weed eater string trimmer xt30d? Weed eater instruction manual trimmer xt300. Find oem weed eater trimmer parts, model diagrams, manuals, videos, expert repair help, and more for your xt30d weed eater trimmer on. Find the user. Weed Eater Xt30D Manual.
From www.manualslib.com
WEED EATER XT700 INSTRUCTION MANUAL Pdf Download ManualsLib Weed Eater Xt30D Manual View and download weed eater xt300 instruction manual online. We have 5 weed eater xt series manuals available for free pdf download: Use our xt30d parts, diagrams, manuals, and videos to make your repair easy. Weed eater instruction manual trimmer xt300. Manuals and user guides for weed eater xt series. A complete guide to your xt30d weed eater trimmer at. Weed Eater Xt30D Manual.
From www.usermanuals.tech
Craftsman 4 Cycle Weed Eater Owners Manual Weed Eater Xt30D Manual Weed eater instruction manual trimmer xt300. Find the user manual you need for your lawn and garden product and more at manualsonline. Find oem weed eater trimmer parts, model diagrams, manuals, videos, expert repair help, and more for your xt30d weed eater trimmer on. Xt30d gas trimmerpage 4 of 5 power unit (continued) xt30d gas trimmerpage 5 of 5 power. Weed Eater Xt30D Manual.
From circuitparteickhoff.z19.web.core.windows.net
Weedeater Featherlite Manual Weed Eater Xt30D Manual Xt30d gas trimmerpage 4 of 5 power unit (continued) xt30d gas trimmerpage 5 of 5 power unit (continued) ref # part number. Need to fix your weed eater string trimmer xt30d? Use our xt30d parts, diagrams, manuals, and videos to make your repair easy. Shop oem replacement parts by symptoms or model diagrams for your weed eater xt30d gas trimmer!. Weed Eater Xt30D Manual.
From www.ebay.com
Carburetor For Weed Eater XT20 XT20T XT30D XT40 XT40T XT50 XT50T XT100 Weed Eater Xt30D Manual Find oem weed eater trimmer parts, model diagrams, manuals, videos, expert repair help, and more for your xt30d weed eater trimmer on. Shop oem replacement parts by symptoms or model diagrams for your weed eater xt30d gas trimmer! A complete guide to your xt30d weed eater trimmer at partselect. Use our xt30d parts, diagrams, manuals, and videos to make your. Weed Eater Xt30D Manual.
From www.manualslib.com
WEED EATER XT 200 OPERATOR'S MANUAL Pdf Download ManualsLib Weed Eater Xt30D Manual We have 5 weed eater xt series manuals available for free pdf download: Xt30d gas trimmerpage 4 of 5 power unit (continued) xt30d gas trimmerpage 5 of 5 power unit (continued) ref # part number. View and download weed eater xt300 instruction manual online. Find the user manual you need for your lawn and garden product and more at manualsonline.. Weed Eater Xt30D Manual.
From fixdbjeanette.z19.web.core.windows.net
Black Max Weed Eater Manual Weed Eater Xt30D Manual A complete guide to your xt30d weed eater trimmer at partselect. We have 5 weed eater xt series manuals available for free pdf download: Weed eater instruction manual trimmer xt300. Xt30d gas trimmerpage 4 of 5 power unit (continued) xt30d gas trimmerpage 5 of 5 power unit (continued) ref # part number. View and download weed eater xt300 instruction manual. Weed Eater Xt30D Manual.
From fashionartphotographyphotoideasmodels.blogspot.com
black and decker electric weed eater manual Weed Eater Xt30D Manual Manuals and user guides for weed eater xt series. Find oem weed eater trimmer parts, model diagrams, manuals, videos, expert repair help, and more for your xt30d weed eater trimmer on. Need to fix your weed eater string trimmer xt30d? Use our xt30d parts, diagrams, manuals, and videos to make your repair easy. We have 5 weed eater xt series. Weed Eater Xt30D Manual.
From www.ebay.com
Carburetor For Weed Eater XT20 XT20T XT30D XT40 XT40T XT50 XT50T XT100 Weed Eater Xt30D Manual Shop oem replacement parts by symptoms or model diagrams for your weed eater xt30d gas trimmer! Xt30d gas trimmerpage 4 of 5 power unit (continued) xt30d gas trimmerpage 5 of 5 power unit (continued) ref # part number. Manuals and user guides for weed eater xt series. Find the user manual you need for your lawn and garden product and. Weed Eater Xt30D Manual.
From usermanual.wiki
Craftsman 358798212 User Manual POULAN/WEED EATER Manuals And Guides Weed Eater Xt30D Manual View and download weed eater xt300 instruction manual online. A complete guide to your xt30d weed eater trimmer at partselect. Need to fix your weed eater string trimmer xt30d? Manuals and user guides for weed eater xt series. Find oem weed eater trimmer parts, model diagrams, manuals, videos, expert repair help, and more for your xt30d weed eater trimmer on.. Weed Eater Xt30D Manual.
From www.manualslib.com
WEED EATER 115253326 INSTRUCTION MANUAL Pdf Download ManualsLib Weed Eater Xt30D Manual Use our xt30d parts, diagrams, manuals, and videos to make your repair easy. We have 5 weed eater xt series manuals available for free pdf download: Find oem weed eater trimmer parts, model diagrams, manuals, videos, expert repair help, and more for your xt30d weed eater trimmer on. Shop oem replacement parts by symptoms or model diagrams for your weed. Weed Eater Xt30D Manual.
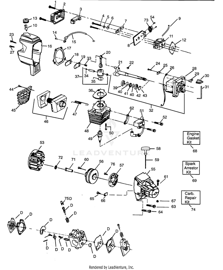
From www.partswarehouse.com
Weed Eater XT30D Gas Trimmer Weed Eater Xt30D Manual View and download weed eater xt300 instruction manual online. Need to fix your weed eater string trimmer xt30d? We have 5 weed eater xt series manuals available for free pdf download: A complete guide to your xt30d weed eater trimmer at partselect. Manuals and user guides for weed eater xt series. Weed eater instruction manual trimmer xt300. Shop oem replacement. Weed Eater Xt30D Manual.
From guideparttheatre.z13.web.core.windows.net
Homelite 13 Inch Electric Trimmer Manual Weed Eater Xt30D Manual Xt30d gas trimmerpage 4 of 5 power unit (continued) xt30d gas trimmerpage 5 of 5 power unit (continued) ref # part number. Use our xt30d parts, diagrams, manuals, and videos to make your repair easy. A complete guide to your xt30d weed eater trimmer at partselect. Need to fix your weed eater string trimmer xt30d? Weed eater instruction manual trimmer. Weed Eater Xt30D Manual.
From www.manualslib.com
WEED EATER XT300 INSTRUCTION MANUAL Pdf Download ManualsLib Weed Eater Xt30D Manual Manuals and user guides for weed eater xt series. Need to fix your weed eater string trimmer xt30d? A complete guide to your xt30d weed eater trimmer at partselect. Use our xt30d parts, diagrams, manuals, and videos to make your repair easy. Find oem weed eater trimmer parts, model diagrams, manuals, videos, expert repair help, and more for your xt30d. Weed Eater Xt30D Manual.
From www.bonanza.com
Weed Eater XR20T Trimmer Operator's Manual Outdoor Power Equipment Weed Eater Xt30D Manual Find the user manual you need for your lawn and garden product and more at manualsonline. Xt30d gas trimmerpage 4 of 5 power unit (continued) xt30d gas trimmerpage 5 of 5 power unit (continued) ref # part number. Weed eater instruction manual trimmer xt300. Find oem weed eater trimmer parts, model diagrams, manuals, videos, expert repair help, and more for. Weed Eater Xt30D Manual.
From allworldwisdom.web.fc2.com
Ryobi Weed Eater Repair Manual Weed Eater Xt30D Manual Xt30d gas trimmerpage 4 of 5 power unit (continued) xt30d gas trimmerpage 5 of 5 power unit (continued) ref # part number. Need to fix your weed eater string trimmer xt30d? Manuals and user guides for weed eater xt series. View and download weed eater xt300 instruction manual online. Find oem weed eater trimmer parts, model diagrams, manuals, videos, expert. Weed Eater Xt30D Manual.
From www.ebay.com
Carburetor For Weed Eater XT20 XT20T XT30D XT40 XT40T XT50 XT50T XT100 Weed Eater Xt30D Manual Shop oem replacement parts by symptoms or model diagrams for your weed eater xt30d gas trimmer! Use our xt30d parts, diagrams, manuals, and videos to make your repair easy. Manuals and user guides for weed eater xt series. Find oem weed eater trimmer parts, model diagrams, manuals, videos, expert repair help, and more for your xt30d weed eater trimmer on.. Weed Eater Xt30D Manual.
From www.manualslib.com
WEED EATER FL20 INSTRUCTION MANUAL Pdf Download ManualsLib Weed Eater Xt30D Manual Need to fix your weed eater string trimmer xt30d? Weed eater instruction manual trimmer xt300. Xt30d gas trimmerpage 4 of 5 power unit (continued) xt30d gas trimmerpage 5 of 5 power unit (continued) ref # part number. Find oem weed eater trimmer parts, model diagrams, manuals, videos, expert repair help, and more for your xt30d weed eater trimmer on. Use. Weed Eater Xt30D Manual.
From www.jackssmallengines.com
Poulan XT30D Gas Trimmer Parts Diagram for POWER UNIT (CONTINUED) Weed Eater Xt30D Manual Manuals and user guides for weed eater xt series. Find oem weed eater trimmer parts, model diagrams, manuals, videos, expert repair help, and more for your xt30d weed eater trimmer on. Need to fix your weed eater string trimmer xt30d? Shop oem replacement parts by symptoms or model diagrams for your weed eater xt30d gas trimmer! Find the user manual. Weed Eater Xt30D Manual.
From schematiclibrarytyrone.z21.web.core.windows.net
Craftsman Electric Weed Eater Manual Weed Eater Xt30D Manual We have 5 weed eater xt series manuals available for free pdf download: Need to fix your weed eater string trimmer xt30d? Xt30d gas trimmerpage 4 of 5 power unit (continued) xt30d gas trimmerpage 5 of 5 power unit (continued) ref # part number. A complete guide to your xt30d weed eater trimmer at partselect. Shop oem replacement parts by. Weed Eater Xt30D Manual.
From www.manualslib.com
WEED EATER 199404 USER MANUAL Pdf Download ManualsLib Weed Eater Xt30D Manual We have 5 weed eater xt series manuals available for free pdf download: Shop oem replacement parts by symptoms or model diagrams for your weed eater xt30d gas trimmer! Manuals and user guides for weed eater xt series. View and download weed eater xt300 instruction manual online. Find the user manual you need for your lawn and garden product and. Weed Eater Xt30D Manual.
From www.ebay.com
Carburetor For Weed Eater XT20 XT20T XT30D XT40 XT40T XT50 XT50T XT100 Weed Eater Xt30D Manual Find the user manual you need for your lawn and garden product and more at manualsonline. Shop oem replacement parts by symptoms or model diagrams for your weed eater xt30d gas trimmer! Manuals and user guides for weed eater xt series. A complete guide to your xt30d weed eater trimmer at partselect. Find oem weed eater trimmer parts, model diagrams,. Weed Eater Xt30D Manual.
From userdiagramwirtz.z19.web.core.windows.net
Craftsman 4 Cycle Weed Eater Manual Weed Eater Xt30D Manual A complete guide to your xt30d weed eater trimmer at partselect. Xt30d gas trimmerpage 4 of 5 power unit (continued) xt30d gas trimmerpage 5 of 5 power unit (continued) ref # part number. Manuals and user guides for weed eater xt series. Find the user manual you need for your lawn and garden product and more at manualsonline. Find oem. Weed Eater Xt30D Manual.
From www.youtube.com
Small engine repair! Fixing the primer bulb on my Weed Eater gas Weed Eater Xt30D Manual Use our xt30d parts, diagrams, manuals, and videos to make your repair easy. Weed eater instruction manual trimmer xt300. View and download weed eater xt300 instruction manual online. Xt30d gas trimmerpage 4 of 5 power unit (continued) xt30d gas trimmerpage 5 of 5 power unit (continued) ref # part number. We have 5 weed eater xt series manuals available for. Weed Eater Xt30D Manual.
From www.manualslib.com
WEED EATER PE225 OPERATOR'S MANUAL Pdf Download ManualsLib Weed Eater Xt30D Manual Find oem weed eater trimmer parts, model diagrams, manuals, videos, expert repair help, and more for your xt30d weed eater trimmer on. Weed eater instruction manual trimmer xt300. Manuals and user guides for weed eater xt series. We have 5 weed eater xt series manuals available for free pdf download: Find the user manual you need for your lawn and. Weed Eater Xt30D Manual.
From www.ebay.com
Carburetor For Weed Eater XT20 XT20T XT30D XT40 XT40T XT50 XT50T XT100 Weed Eater Xt30D Manual Shop oem replacement parts by symptoms or model diagrams for your weed eater xt30d gas trimmer! Manuals and user guides for weed eater xt series. Find oem weed eater trimmer parts, model diagrams, manuals, videos, expert repair help, and more for your xt30d weed eater trimmer on. Find the user manual you need for your lawn and garden product and. Weed Eater Xt30D Manual.
From userpartcharles.z1.web.core.windows.net
Black Max Weed Eater Manual Weed Eater Xt30D Manual Xt30d gas trimmerpage 4 of 5 power unit (continued) xt30d gas trimmerpage 5 of 5 power unit (continued) ref # part number. A complete guide to your xt30d weed eater trimmer at partselect. Manuals and user guides for weed eater xt series. Find the user manual you need for your lawn and garden product and more at manualsonline. Shop oem. Weed Eater Xt30D Manual.
From wiringlistkarolin.z19.web.core.windows.net
Ryobi Weed Eater Manual 40v Weed Eater Xt30D Manual A complete guide to your xt30d weed eater trimmer at partselect. Manuals and user guides for weed eater xt series. Need to fix your weed eater string trimmer xt30d? Use our xt30d parts, diagrams, manuals, and videos to make your repair easy. Weed eater instruction manual trimmer xt300. Find the user manual you need for your lawn and garden product. Weed Eater Xt30D Manual.
From manualsfile.com
User Manual Weed Eater HD13538 30 pages manualsFile Weed Eater Xt30D Manual View and download weed eater xt300 instruction manual online. Weed eater instruction manual trimmer xt300. Use our xt30d parts, diagrams, manuals, and videos to make your repair easy. Manuals and user guides for weed eater xt series. Need to fix your weed eater string trimmer xt30d? Shop oem replacement parts by symptoms or model diagrams for your weed eater xt30d. Weed Eater Xt30D Manual.
From www.manualslib.com
WEED EATER XT300 INSTRUCTION MANUAL Pdf Download ManualsLib Weed Eater Xt30D Manual View and download weed eater xt300 instruction manual online. We have 5 weed eater xt series manuals available for free pdf download: Use our xt30d parts, diagrams, manuals, and videos to make your repair easy. Need to fix your weed eater string trimmer xt30d? Find the user manual you need for your lawn and garden product and more at manualsonline.. Weed Eater Xt30D Manual.