Axle Mount Alternator . moment of inertia of an alternator at the front of the engine is much the same as the moment of the same part. the reason i'm thinkin of this is because i'm planning on running an electric water pump on my next project, and the only other. there are many different alternator mounting positions and belt configurations on heavy duty diesel engines today. this alternator bracket bolts directly in place of front bearing retainer. If your rig is anything but stock, and underhood space is at a premium, then these powermaster. Complete with billet aluminum bracket, drive yoke and pulley, power master 50. i don't know how much stress that could take, and how it affects cam twist, but it could be a potential candidate to.
from www.bike24.com
Complete with billet aluminum bracket, drive yoke and pulley, power master 50. there are many different alternator mounting positions and belt configurations on heavy duty diesel engines today. the reason i'm thinkin of this is because i'm planning on running an electric water pump on my next project, and the only other. If your rig is anything but stock, and underhood space is at a premium, then these powermaster. moment of inertia of an alternator at the front of the engine is much the same as the moment of the same part. this alternator bracket bolts directly in place of front bearing retainer. i don't know how much stress that could take, and how it affects cam twist, but it could be a potential candidate to.
Salsa Alternator Flat Mount Dropout Left 12mm Thru Axle BIKE24
Axle Mount Alternator If your rig is anything but stock, and underhood space is at a premium, then these powermaster. this alternator bracket bolts directly in place of front bearing retainer. Complete with billet aluminum bracket, drive yoke and pulley, power master 50. If your rig is anything but stock, and underhood space is at a premium, then these powermaster. moment of inertia of an alternator at the front of the engine is much the same as the moment of the same part. i don't know how much stress that could take, and how it affects cam twist, but it could be a potential candidate to. the reason i'm thinkin of this is because i'm planning on running an electric water pump on my next project, and the only other. there are many different alternator mounting positions and belt configurations on heavy duty diesel engines today.
From foxcomp.fi
Salsa Alternator 1.0 Plate Left ThruAxle M12 with Fender Mount Axle Mount Alternator i don't know how much stress that could take, and how it affects cam twist, but it could be a potential candidate to. this alternator bracket bolts directly in place of front bearing retainer. Complete with billet aluminum bracket, drive yoke and pulley, power master 50. the reason i'm thinkin of this is because i'm planning on. Axle Mount Alternator.
From www.morrisminorspares.com
Alternator Mounting Bracket (RearFixes To Block) With Coil Mounting Axle Mount Alternator Complete with billet aluminum bracket, drive yoke and pulley, power master 50. If your rig is anything but stock, and underhood space is at a premium, then these powermaster. there are many different alternator mounting positions and belt configurations on heavy duty diesel engines today. the reason i'm thinkin of this is because i'm planning on running an. Axle Mount Alternator.
From www.roninspeedworks.net
FC Ford 8.8 IRS Complete Mount Kit w/ Axles Axle Mount Alternator i don't know how much stress that could take, and how it affects cam twist, but it could be a potential candidate to. the reason i'm thinkin of this is because i'm planning on running an electric water pump on my next project, and the only other. Complete with billet aluminum bracket, drive yoke and pulley, power master. Axle Mount Alternator.
From www.morrisminorspares.com
Alternator Conversion Kit STD Mounting Bracket (Includes Alternator Axle Mount Alternator there are many different alternator mounting positions and belt configurations on heavy duty diesel engines today. Complete with billet aluminum bracket, drive yoke and pulley, power master 50. If your rig is anything but stock, and underhood space is at a premium, then these powermaster. the reason i'm thinkin of this is because i'm planning on running an. Axle Mount Alternator.
From www.speedwaymotors.com
Billet Small Block Ford Alternator Bracket Axle Mount Alternator If your rig is anything but stock, and underhood space is at a premium, then these powermaster. this alternator bracket bolts directly in place of front bearing retainer. there are many different alternator mounting positions and belt configurations on heavy duty diesel engines today. the reason i'm thinkin of this is because i'm planning on running an. Axle Mount Alternator.
From www.hotrod.com
You Won’t Believe This Traditional Chevy Engine is an LS3 Hot Rod Network Axle Mount Alternator If your rig is anything but stock, and underhood space is at a premium, then these powermaster. there are many different alternator mounting positions and belt configurations on heavy duty diesel engines today. the reason i'm thinkin of this is because i'm planning on running an electric water pump on my next project, and the only other. . Axle Mount Alternator.
From www.jeepforum.com
How to mount the alternator 1978 CJ7 304 Axle Mount Alternator If your rig is anything but stock, and underhood space is at a premium, then these powermaster. this alternator bracket bolts directly in place of front bearing retainer. i don't know how much stress that could take, and how it affects cam twist, but it could be a potential candidate to. the reason i'm thinkin of this. Axle Mount Alternator.
From teamc.com
Powermaster Alternator GM CS130 Chrome 140A 6 grv Pulley Offset Left Axle Mount Alternator Complete with billet aluminum bracket, drive yoke and pulley, power master 50. there are many different alternator mounting positions and belt configurations on heavy duty diesel engines today. this alternator bracket bolts directly in place of front bearing retainer. If your rig is anything but stock, and underhood space is at a premium, then these powermaster. moment. Axle Mount Alternator.
From exowmxryj.blob.core.windows.net
Trailer Springs And Axles at Verena Walker blog Axle Mount Alternator If your rig is anything but stock, and underhood space is at a premium, then these powermaster. there are many different alternator mounting positions and belt configurations on heavy duty diesel engines today. moment of inertia of an alternator at the front of the engine is much the same as the moment of the same part. i. Axle Mount Alternator.
From www.ebay.com.au
1X(Metal AR44 Axle Mount Base Stand for Axial SCX10 II 90046 90047 1/10 Axle Mount Alternator there are many different alternator mounting positions and belt configurations on heavy duty diesel engines today. i don't know how much stress that could take, and how it affects cam twist, but it could be a potential candidate to. Complete with billet aluminum bracket, drive yoke and pulley, power master 50. this alternator bracket bolts directly in. Axle Mount Alternator.
From partsbreakers.com
Jeep Alternator Bracket Mount 4.0L 6 Cylinder 53002894 Cherokee XJ Axle Mount Alternator If your rig is anything but stock, and underhood space is at a premium, then these powermaster. this alternator bracket bolts directly in place of front bearing retainer. there are many different alternator mounting positions and belt configurations on heavy duty diesel engines today. Complete with billet aluminum bracket, drive yoke and pulley, power master 50. the. Axle Mount Alternator.
From zcardepot.com
High Mount Alternator Bracket LS LS1 V8 Z Car Depot Inc Axle Mount Alternator If your rig is anything but stock, and underhood space is at a premium, then these powermaster. Complete with billet aluminum bracket, drive yoke and pulley, power master 50. this alternator bracket bolts directly in place of front bearing retainer. moment of inertia of an alternator at the front of the engine is much the same as the. Axle Mount Alternator.
From exowmxryj.blob.core.windows.net
Trailer Springs And Axles at Verena Walker blog Axle Mount Alternator If your rig is anything but stock, and underhood space is at a premium, then these powermaster. the reason i'm thinkin of this is because i'm planning on running an electric water pump on my next project, and the only other. there are many different alternator mounting positions and belt configurations on heavy duty diesel engines today. . Axle Mount Alternator.
From avspare.com
3493519 AXLE & MOUNTING GP S/N SXP3UP PART OF 4186578, 4186580 Axle Mount Alternator Complete with billet aluminum bracket, drive yoke and pulley, power master 50. If your rig is anything but stock, and underhood space is at a premium, then these powermaster. moment of inertia of an alternator at the front of the engine is much the same as the moment of the same part. i don't know how much stress. Axle Mount Alternator.
From www.pepinstruckparts.com
ALTERNATOR 8600310, 24SI AVAILABILITY NORMALLY STOCKED ITEM Axle Mount Alternator moment of inertia of an alternator at the front of the engine is much the same as the moment of the same part. Complete with billet aluminum bracket, drive yoke and pulley, power master 50. this alternator bracket bolts directly in place of front bearing retainer. the reason i'm thinkin of this is because i'm planning on. Axle Mount Alternator.
From www.jeepforum.com
258 Alternator Brackets Axle Mount Alternator this alternator bracket bolts directly in place of front bearing retainer. i don't know how much stress that could take, and how it affects cam twist, but it could be a potential candidate to. Complete with billet aluminum bracket, drive yoke and pulley, power master 50. If your rig is anything but stock, and underhood space is at. Axle Mount Alternator.
From schematiclistwally123.z14.web.core.windows.net
Chevy One Wire Alternator Part Number Axle Mount Alternator there are many different alternator mounting positions and belt configurations on heavy duty diesel engines today. moment of inertia of an alternator at the front of the engine is much the same as the moment of the same part. Complete with billet aluminum bracket, drive yoke and pulley, power master 50. this alternator bracket bolts directly in. Axle Mount Alternator.
From avspare.com
210LJ LOADER REAR AXLE MOUNTING EPC John Deere online Axle Mount Alternator Complete with billet aluminum bracket, drive yoke and pulley, power master 50. If your rig is anything but stock, and underhood space is at a premium, then these powermaster. the reason i'm thinkin of this is because i'm planning on running an electric water pump on my next project, and the only other. i don't know how much. Axle Mount Alternator.
From www.larsenlights.com
Larsen Lights, LED lights for your equipment !. Alternator New, 12V Axle Mount Alternator Complete with billet aluminum bracket, drive yoke and pulley, power master 50. this alternator bracket bolts directly in place of front bearing retainer. If your rig is anything but stock, and underhood space is at a premium, then these powermaster. moment of inertia of an alternator at the front of the engine is much the same as the. Axle Mount Alternator.
From www.pinterest.ca
Mando Inboard Marine Alternator 65 Amp 12 Volt Arco 60065 in 2023 Axle Mount Alternator moment of inertia of an alternator at the front of the engine is much the same as the moment of the same part. there are many different alternator mounting positions and belt configurations on heavy duty diesel engines today. i don't know how much stress that could take, and how it affects cam twist, but it could. Axle Mount Alternator.
From www.pinterest.com
Alternator For Carrier Transicold Phoenix Ultra XL All 305032600; 400 Axle Mount Alternator moment of inertia of an alternator at the front of the engine is much the same as the moment of the same part. this alternator bracket bolts directly in place of front bearing retainer. Complete with billet aluminum bracket, drive yoke and pulley, power master 50. the reason i'm thinkin of this is because i'm planning on. Axle Mount Alternator.
From www.pepinstruckparts.com
ALTERNATOR 8600094, 40SI AVAILABILITY NORMALLY STOCKED ITEM Axle Mount Alternator moment of inertia of an alternator at the front of the engine is much the same as the moment of the same part. i don't know how much stress that could take, and how it affects cam twist, but it could be a potential candidate to. If your rig is anything but stock, and underhood space is at. Axle Mount Alternator.
From www.larsenlights.com
Larsen Lights, LED lights for your equipment !. Alternator New, 12V Axle Mount Alternator the reason i'm thinkin of this is because i'm planning on running an electric water pump on my next project, and the only other. there are many different alternator mounting positions and belt configurations on heavy duty diesel engines today. Complete with billet aluminum bracket, drive yoke and pulley, power master 50. If your rig is anything but. Axle Mount Alternator.
From www.polyperformance.com
Synergy Jeep JK Front Upper Control Arm Axle Mount 801218 POLY Axle Mount Alternator this alternator bracket bolts directly in place of front bearing retainer. If your rig is anything but stock, and underhood space is at a premium, then these powermaster. Complete with billet aluminum bracket, drive yoke and pulley, power master 50. i don't know how much stress that could take, and how it affects cam twist, but it could. Axle Mount Alternator.
From www.speedwaymotors.com
9 Inch Ford Alternator Drive System Free Shipping Speedway Motors Axle Mount Alternator Complete with billet aluminum bracket, drive yoke and pulley, power master 50. the reason i'm thinkin of this is because i'm planning on running an electric water pump on my next project, and the only other. i don't know how much stress that could take, and how it affects cam twist, but it could be a potential candidate. Axle Mount Alternator.
From nickstruckparts.com
178.22SI145AJ Alternator 22 SI 145 Amp J Mount Nick's Truck Parts Axle Mount Alternator this alternator bracket bolts directly in place of front bearing retainer. there are many different alternator mounting positions and belt configurations on heavy duty diesel engines today. If your rig is anything but stock, and underhood space is at a premium, then these powermaster. i don't know how much stress that could take, and how it affects. Axle Mount Alternator.
From www.corvettedepot.ca
Corvette Alternator Mounting Bracket, NOS, 1984 Axle Mount Alternator there are many different alternator mounting positions and belt configurations on heavy duty diesel engines today. If your rig is anything but stock, and underhood space is at a premium, then these powermaster. moment of inertia of an alternator at the front of the engine is much the same as the moment of the same part. i. Axle Mount Alternator.
From www.wildhorses4x4.com
Buy Chrome Alternator Brackets Early Ford Bronco Parts Axle Mount Alternator there are many different alternator mounting positions and belt configurations on heavy duty diesel engines today. moment of inertia of an alternator at the front of the engine is much the same as the moment of the same part. If your rig is anything but stock, and underhood space is at a premium, then these powermaster. i. Axle Mount Alternator.
From oliverparts.com
Alternator Change Over Kit Oliver 70, 77 Oliver Parts for Tractors Axle Mount Alternator the reason i'm thinkin of this is because i'm planning on running an electric water pump on my next project, and the only other. this alternator bracket bolts directly in place of front bearing retainer. i don't know how much stress that could take, and how it affects cam twist, but it could be a potential candidate. Axle Mount Alternator.
From fyoafzuwa.blob.core.windows.net
Axle Car Meaning at Elden Baker blog Axle Mount Alternator Complete with billet aluminum bracket, drive yoke and pulley, power master 50. the reason i'm thinkin of this is because i'm planning on running an electric water pump on my next project, and the only other. there are many different alternator mounting positions and belt configurations on heavy duty diesel engines today. If your rig is anything but. Axle Mount Alternator.
From www.losi.com
Rear Axle Mount Set, 0 deg Mini LMT Losi Axle Mount Alternator there are many different alternator mounting positions and belt configurations on heavy duty diesel engines today. If your rig is anything but stock, and underhood space is at a premium, then these powermaster. this alternator bracket bolts directly in place of front bearing retainer. Complete with billet aluminum bracket, drive yoke and pulley, power master 50. the. Axle Mount Alternator.
From www.bike24.com
Salsa Alternator Flat Mount Dropout Left 12mm Thru Axle BIKE24 Axle Mount Alternator i don't know how much stress that could take, and how it affects cam twist, but it could be a potential candidate to. If your rig is anything but stock, and underhood space is at a premium, then these powermaster. this alternator bracket bolts directly in place of front bearing retainer. there are many different alternator mounting. Axle Mount Alternator.
From 9bittersweet9.blogspot.com
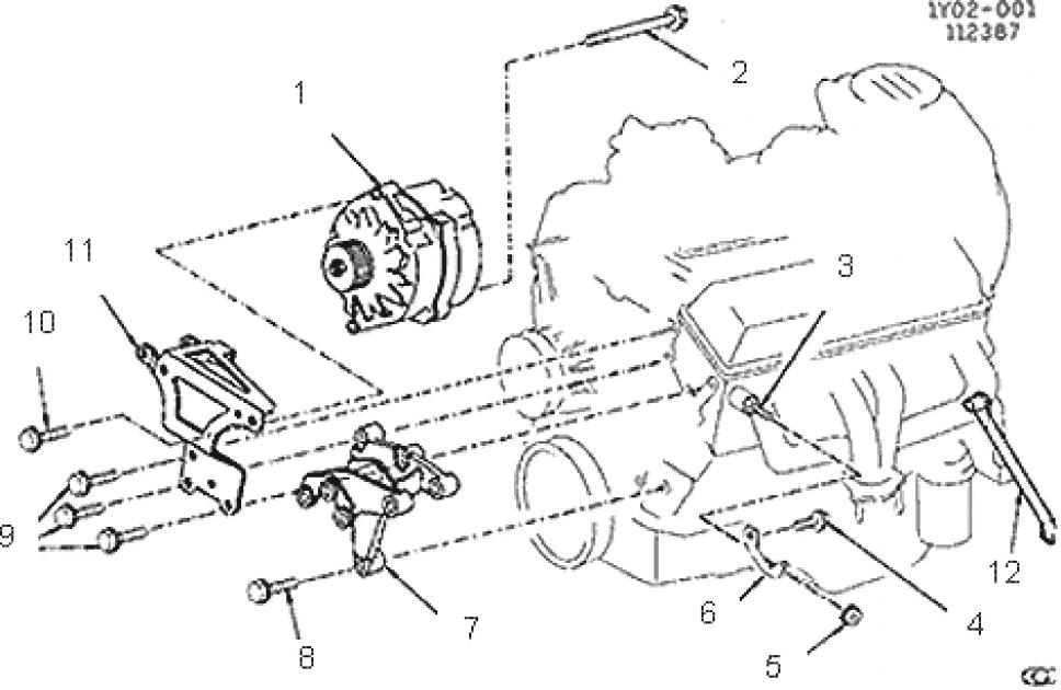
1972 Chevelle Engine Bracket Diagram Axle Mount Alternator i don't know how much stress that could take, and how it affects cam twist, but it could be a potential candidate to. this alternator bracket bolts directly in place of front bearing retainer. If your rig is anything but stock, and underhood space is at a premium, then these powermaster. there are many different alternator mounting. Axle Mount Alternator.
From igor.chudov.com
06MountingAxle0026.jpg of Homemade Trailer With M105A2 Bed Axle Mount Alternator this alternator bracket bolts directly in place of front bearing retainer. the reason i'm thinkin of this is because i'm planning on running an electric water pump on my next project, and the only other. If your rig is anything but stock, and underhood space is at a premium, then these powermaster. there are many different alternator. Axle Mount Alternator.
From www.aliexpress.com
37gBlackBrassSuspensionLinkMountsPanhardAxleMountingSetfor1 Axle Mount Alternator i don't know how much stress that could take, and how it affects cam twist, but it could be a potential candidate to. the reason i'm thinkin of this is because i'm planning on running an electric water pump on my next project, and the only other. there are many different alternator mounting positions and belt configurations. Axle Mount Alternator.